by
L.M. Nusenbaum,
Candidate of Biological Science
Introduction
Biological and technical principles of the application of fish passage and fish protection facilities represent a complex of scientific and practical factors which determine the requirements of fishery biologists and engineers for the construction and technological conditions of their utilization.
Fishways are designed for fish passage over dams. They are constructed on migration pathways of anadromous fish and of resident fish as well. Many resident fish spread over a wide area during feeding and spawning migrations. For instance ide (Leuciscus idus L.) pike (Esox lucius L.) and Acipenser ruthenus L. migrate over a long distance, 400 to 600 km, in one of the largest Siberian rivers, the Ob. The Novosibirsk hydroelectric power station built on the Ob is an obstruction for the migration of, not only Ob sturgeon and inconnu (Stenodus leucichthys nelma Pallas), but of the above species as well.
Fish screens are designed to protect fish from being drawn into the hydraulic turbines and especially into the intake installations supplying water for build up areas, thermo-electric power stations, various industrial units and for irrigation purposes. The problem of passing fish over dams and preventing fish mortality in various intake installations and hydraulic turbines has its history. But application of biological and technical principles of fish passage and fish protection facilities is still in the process of development, being far behind the rate of power development on fishery water bodies.
Practical achievements in utilization of fishways and fish screens indicate that the erection of these structures, together with other fish culture measures, will solve the problem of natural reproduction of valuable fish species while hydraulic turbines and intake installations are in service.
Work on fish protection while passing over dams in the U.S.S.R. is connected with the activities of the State Research Institute on Lake and River Fisheries (GosNIORKH).
Complex research on mechanical and electrical screens for fish and fishways facilities of a lock type is carried on by biologists and engineers of the Laboratory of Fish Passage and Fish Protection Facilities of the Institute. Experts of this laboratory are of the opinion that these types of facilities particularly should be investigated and utilized due to the present status of biological and technical principles of fishways and fish screen applications. Fish locks and mechanical and electrical fish screens should be improved and find further utilization.
Scientific principles of fishways and fish screen application are realized by the author to be a complex of knowledge: firstly knowledge of patterns of all forms of fish behaviour; then of fish distribution in water bodies depending upon hydrological conditions and the type of body, as well as hydraulic phenomena caused by the operation of hydroelectric stations and intake installations. This complex includes knowledge attained in the process of investigation, design and operation of hydroelectric stations and water intake installations as well. Surely no rational construction of fishways and fish screens can be done without taking this complex into account.
Large scale utilization of fishways and fish screens requires the development of technical standards and conditions for their design, which in turn is connected with the solution of the problem of economic efficiency. Therefore scientific principles for the use of fishways and fish screens should be based on largely factual material proving the operating efficiency of the structure being used.
These principles serve as the basis for investigations on fishways and fish screens applications carried on by GosNIORKH which are necessary to solve the problem of the regulation of natural fish reproduction when erecting dams and intake installations. Otherwise the use of fishways and fish screens to protect and increase fish stocks in inland water bodies along with power development is senseless.
The report contains some initial principles and results of investigations and practical work of GosNIORKH on fish locks and mechanical and electrical screens for fish.
A description of the installation built on the Volga hydroelectric station named after the 22nd Congress of the C.P.S.U. is given as an example of a fish lock device.
The construction peculiarities of the mechanical and electrical fish screens developed in the U.S.S.R. are described in the report.
The Principles of Application of Fish Passage Facilities
Literature dealing with fishery engineering problems accepts a division into two groups of systems for the passage of fish from tail water to head water:
facilities for independent passage from lower to upper level, known as fishways,
fishway construction for the lockage or transfer of fish from tail water to headwater in special containers; these are classified in the U.S.S.R. as fish locks.
The first fish locks in the U.S.S.R. were built at the Tsymla hydroelectric station on the Don River and then at the hydroelectric station named after the 22nd Congress of the C.P.S.U. on the Volga river.
Fish locks have a number of advantages over the other types of fish passage facilities. A large volume of water can pass through fish locks, so wide entrances are built. Fish of different size and behavior can easily pass through these entrances into the facility. While passing to headwater fish do not become fatigued. It is important to note that man can regulate the behavior of fish in fish locks, i.e., he guides the fish movement when they pass from tail water to headwater. We believe the possibility of guiding fish during their passage through a fish lock is a most important feature distinguishing this type of facility from others.
Fish are guided by means of impelling lattices. By moving these lattices onwards, the fish are transferred from the lower part of a fish lock to the upper one.
Figures 1 and 2 show principal schemes of fish lock devices for high, middle and overflow dams recommended at the present time by GosNIORKH. Impelling lattices are necessary for the effective operation of fish locks. Their application permits determination of the exact period of time required for the passage of fish accumulated in the fish collector and assurance that all fish will be released from the fish collector, lock chamber and outlet chute into headwater.
Movement of the impelling lattices is done in the fish collector and outlet chute, accompanied by a water flow, giving the fish a better orientation.
For a long time the opinion was that conditions for fish in fish passage devices should be brought closer to those in nature. This opinion still exists. For instance, some experts consider that the successful and quick passage of fish through the fish lock may be obtained just by guiding the flow of water without using impelling lattices. However, special tests carried out on the Volga fish lock have shown that more than 90 percent of the fish stay in the fish collector and do not enter the fish lock, even under the best conditions, when operating without impelling lattices.
The problem of the location of fish passage facilities at dams is not yet completely solved. Nor is the number of fish locks at a dam necessary for the passage of a specific amount of fish determined yet. In this relation, the GosNIORKH does, however, give recommendations for particular cases. It is believed that by combining the erection of 2 to 3 fish locks with the installation of a fish screen in the outlet flow of a hydroelectric station, one may manage the attraction of a major amount of fish accumulating in the lower part of a dam zone into the fish collector (see Figure 3).
The description of the fish facility built at the Volga hydroelectric station and some results of its work are given below as an example of a fish lock device.
The fish lock is placed almost in the middle of the general line of an overflow dam (which includes an overflow dam and a powerhouse). The overflow dam is located to the left of the fish lock and the release of water over it takes place only during the flood discharge in spring. A powerhouse is situated to the right of the lock behind the training wall.
Fish pass through fish locks mainly from June to September, i.e., during the period when the discharge of water through an overflow dam does not occur. Thus the fish lock is placed as if on the border of a powerful flow passing through hydraulic turbines of a hydroelectric station and of a large water area with whirlpool zones, located under the overflow dam.
This fish lock may be shown schematically as a device consisting of four main elements:
twin fish collectors (inlet chutes) placed in the tail water
twin lock chambers
one outlet chute located in the headwater
a turbine with a generator.
As water for the attraction of fish to fish collectors is being supplied through a hydro-energetic arrangement, the fish lock in this case may be considered as a relatively small hydroelectric station specially accommodated to fish passage over dams. The capacity of the arrangement installed on the fish lock is 11.0 mgW.
Figure 4 shows a scheme of a fish lock design.
The passage of fish from tail water to headwater is done, as mentioned above, by using impellent lattices and fish locking.
The water flow passing through a draft tube into one of the lock chambers and a fish collector adjacent to it attracts the fish to enter the fish lock. When determining technological conditions of the lock operation, it was supposed that fish would pass mainly along the border of water flow towards the lock in the bypass of the hydroelectric station. Moving along this border fish are attracted by a stronger current in the bypass but, encountering high speeds of the water flow near the training wall and their unequal distribution over the deep layers of the water flow, the fish will choose a weak and even water flow going out of fish collectors.
Shortly after accumulating, the fish are induced to enter the fish lock with the help of a vertical lattice in the fish collector that moves along it (see Figure 4). Then the fish in the chamber are locked and simultaneously impelled upward due to the rise of a horizontal lattice. The lattice moves at some distance from the surface as the water level is rising in the lock chamber so that during the period of locking the fish can stay in the deep water. After filling the chamber up to the level of headwater and lifting the horizontal impellent lattice, the upper gate of the lock chamber is opened and fish are free to pass to the outlet chute. The vertical impellent lattice, moving from the back wall of the chamber towards the outlet chute, is used to prevent delay of fish at the exit of the lock chamber. Fish leave the outlet chute by themselves through the three exits in the left wall of the chute.
This is a principal scheme of fish passage from tail water to headwater.
Fish are usually attracted and accumulated in fish collectors in two hours. The passage time from tail water to headwater is about 40 minutes.
The draft tube of hydraulic turbine is divided into two parts by a pier, which may in turn be overlapped with slide gates. This allows guiding the water flow for the attraction of fish alternately to the left and right fish collector so they can work in turn and not hamper the work of the hydraulic turbine. Cage screens preventing the access of fish to a a draft tube are installed at the exits of a draft tube into lock chambers.
Lower gates of lock chambers are equipped with rotary screens connected to the gates with rods. When the gate is raised the screen is in its horizontal position, when it is lowered the screen comes into a vertical position, driving the fish in from the space between the lower gate of the chamber and its inner wall.
The length of fish collectors from their entrances to the lower gate of the lock chamber is 80.1 m. The width of every fish collector is 8.5 m. A platform carrying the impellent lattice moves on rails along the fish collectors a distance of 57 m. The lowering and lifting of the screen and movement of the platform is accomplished with winches installed on the platform. The platform is equipped with a rope drive. The size of lock chambers in horizontal projection is 8.5 × 8.5 m. The height of the chamber provides for locking fish at a designed maximum head. The horizontal impellent screen is about 72 m2. It is made of plates of stainless steel with holes of 15 mm in diameter. The screen is lifted with electric winches located under shafts.
The outlet chute is 95 m long and 12 m wide. The width of each of the three through which fish are released into the reservoir is 4.8 m. The intake is placed in the upstream chute. It is equipped with a pipeline which supplies water for filling the lock chamber. When emptying, water passes into fish collectors through a dewatering conduit beginning in a draft tube. It enables washing off the lattice fixed at the exit of the draft tube into the lock, at every emptying.
The fish lock on the Volga hydroelectric station is designed for the passage into headwater of migrating sturgeon, herring and other species of fish which accumulate temporarily in a dam zone. Lock operation since 1961 has shown that all species of sturgeon: beluga (Huso huso (L.)), Russian sturgeon (Acipenser güldenstädti Brandt), sevruga (Acipenser stellatus Pallas), and sterlet (Acipenser ruthenus L.) pass throughout this installation. Great numbers of herring as well as other species accumulating in a dam zone: sheatfish (Silurus glanis L.), bream (Abramis brama L.), pikeperch (Stizostedion lucioperca (L.), wild carp (Cyprinus carpio L.), Aspinus aspinus (L.), Leuciscus idus (L.), Pelecus cultratus (L.), perch (Perca fluviatilis L.) and other fishes pass through this lock. It is stated that a great number of fish can pass through a dam at one time, for example 500 to 600 specimens of sturgeon and 12–15,000 herring passed during one locking, the period of attraction being two hours.
Every year 25,000 sturgeons, 1 million herring and some quantity of other fish pass through a fish lock during a working season.
The intensity of the fish run varies within the season. The peak in sturgeon and herring passage is in August and June respectively. The intensity of the run of various species of fish varies throughout the day. Sturgeon, for instance, enter the lock mainly when it is dark. Some hundreds of fish can pass during one locking when attracted in darkness. Herring as a rule pass only in the daylight. Sheatfish pass mainly in the evenings, ide and pike in the morning. Thus biological characteristics of various fish and their behavior in a dam zone determine a seasonal and diurnal schedule of passage of definite species through a fish lock.
Around-the-clock duty of ichthyologists - observers is maintained at the fish lock. They record the fish passed visually. The author of the report proposes a more exact method for a record of the fish - photographing them on the impelling screen dried for a short time for this purpose.
Practice of power development in the U.S.S.R. has shown that most fishes (spawners and young fish of valuable species, predators eating these valuable fish and trash fish) accumulate in tail water of hydroelectric stations.
The construction of a dam can have a variety of effects on the reproduction of fish stocks. It affects the reproduction not only as an obstacle in the pathway of migrating fish. Moreover a reservoir formed due to weiring reduces spawning areas in headwater. Damming has a strong and, as a rule, negative effect on conditions for the propagation of fish in tail water. This influence is spread, in some cases, over hundreds of kilometers downstream. Thus fish accumulated under the dam cannot participate in natural reproduction.
Taking into account this phenomenon, the author concluded that fish passage facilities to be used should be the ones of more universal design. They should be designed for the passage of valuable species of fish and for rational distribution of young fish and mature specimens of some fish on the feeding areas of headwater. Fishways allow selection of spawners for fish culture purposes. It is of extreme importance in selection of valuable species of fish, sturgeon, for instance, and lastly it is possible to remove the unwanted trash fish and some predators.
These proposals are taken into consideration when designing new fish passage facilities on the water bodies of the U.S.S.R. Fish locks will be used on all big plain rivers and under other conditions for passage of various species of fish into headwater.
The Principles of the Application of Fish Screens
Investigation and practice on applications of fish screens have two important aspects, biological and technical. The biological aspect involves the study of the basic patterns of fish behavior in natural water bodies with water intakes and dams being used and ascertaining the causes of drawning fish into the intake installations. The technical aspect implies the further development of the designs of various types of screens. When exploring these the task is to find the best engineering solution, with the aim of using this means for governing the behavior of fish.
The experts of GosNIORKH laboratory believe that the phenomenon of fish entering intake installations is to be considered in close correlation with biology of fish and not as a casual circumstance occuring due to drawing of fish into intake installations by the waterstream.
As a rule, fish enter intake installations regularly, preferring at certain periods of their life to move downstream. This is characteristic of young anadromous fish at the time of their descent. The fields of velocities created at the entrances into intake installations disorient fish, eventually, they approach the installation and enter it. Similar, disorientation may cause adult fish to enter intake installations, for instance, during the spawning migration. Spawners of some species using flooded lands as spawning grounds are known to enter intake installations in a number of rivers in the U.S.S.R.
Due to climatic conditions, peak entry of fish into the intake installations occurs in spring and summer in the U.S.S.R. Seasonal periodicity of fish entering the above installations shows that this phenomenon is normally determined by the peculiarities of biology of fish. Diurnal periodicity of fish entry into the intake installations, as observed by the author of the report, is rather typical as well.
Observations of many years conducted by the GosNIORKH laboratory have shown that the young, and even fry of some fish enter the irrigation channels and pump stations in large quantities only during the night (See Figure 5).
The intensity of drawing fish into intake installations may be dependent on hydrological conditions of water bodies. According to observations conducted on the intake installation of the thermal-electric plant taking water from the Kura River, reduction of water level in the river resulted in intensive descent of the young wild carp, due to which they entered net chambers and revolving nets of this intake in large quantities. Figure 6 shows the dependence of the quantity of young fish that entered the intake installation on the fluctuation of the water level in the river.
Thus one may conclude that fish entering the intake installations is caused by the peculiarities of their migration behavior and the influence of the intake installations on fish is the more ruincus, the more strongly they affect the regime of a water body.
The patterns of fish migration behavior as of other animals, are established historically in the process of species formation. Therefore, to speak about the governing of a complicated form of fish behavior - migration behavior - we may do so only figuratively, considering that knowledge of the patterns of fish migration behavior may enable us to prevent fish entry and mortality in intake installations.
The problem of construction of water intake installations on large fishery water bodies is under consideration in the U.S.S.R. Recommendations are to construct either definite types of intake installations or fish protection devices. The place of these in the construction of the intake is being determined.
When analyzing the method of developing a biological engineering basis for designing the intake installations, it is important to note that this basis has been established in accordance with the requirements for the protection of the installations from trash, alluvium and suspended matter, sludge, ice, phenomena of erosion, etc. Safe operation of intake installations is obtained with a complex of measures. Most important are the choice of the site for intake construction, utilization of the phenomenon of natural and artificial controlled cross circulation of flow to prevent entry of alluvium and suspended matter into the intake, control of flow on the distant approaches to the installation and other means for the protection of intake installations from conditions unfavorable for their operation.
Taking into consideration the character of fish biology and fish distribution in different layers of a water body, one may conclude that utilization of these means of protecting intake installations (accomplished on the basis of the analysis of hydrological phenomena and hydraulics of the facilities) guarantees, to some extent, the protection of fish from entry into the intake installations. If there is a satisfactory solution to the problem involving protection of the intake from alluvium, then it partly helps prevent the entry of the young fish swimming in bottom layers of water. Successful solution of control of ice and sludge and trash drifting on the surface of the water, helps somewhat to prevent entry of the young fish in the surface water layers.
One may now conclude that some existing types of intake installations with low flow velocities at their entrances, will, to a considerable degree, meet the requirements keeping out fish. The intake arrangements with a broken stone filter are highly effective keeping out fish.
The GosNIORKH, as stated above, deals with scientific and practical problems on the application of electrical and mechanical fish screens.
Choice of these types of screens is not casual. During the power station construction period, the electric screens may often be the only means of preventing fish entry to the dangerous sections of the water bodies. The system of electrodes creating an electrical field in water do not hinder the water flow and do not become obstructed with debris. Thus, electrical screens have no disadvantages typical of other screens. However, electrical screens are effective only for preventing fish movement against the water flow but do not guarantee the absolute prevention of fish entry, especially the young, into the intake installations.
Mechanical screens are more difficult to design but they provide safe passage of fish and prevent fish entry and mortality in intake installations. In a number of cases, for instance, on the intake installations for fish farms and hatcheries only mechanical screens should be used.
The trend of research carried on by GosNIORKH does not exclude the study of possible utilization for screen arrangements of light, sound, aromatizers and other irritants permitting regulation of fish behavior.
For the time being, application of all these means does not give any practical results. Some academic institutes of the U.S.S.R. carry on investigations in the field.
Electric screen application is based on the supposition that fish, on entering the electric screen, at a certain distance from the electrode system, suffer pain which forces them to change the initial direction of their movement and leave the zone of electric screen action. Such behavior is characterized as an avoiding reaction. It is supposed that fish, as if orienting in the heterogenous electric field by the pain feeling, move to the zones of lower potential gradient, avoiding the zones where they are subjected to a stronger influence of the electric field. The efficiency of an electric screen depends on the way the fish “solve” this problem.
The experiments showed that the efficiency of fish screen application and consequently the ability of fish to orient in the electric field of the screen depends both on the physiological condition of fish and on the electrotechnical parameters of the screen. The efficiency of the electric screen is to be considered in connection with concrete conditions and causes inducing fish to move towards the source of the electric field.
Careful consideration is given to the space characteristics of the field, this being of extreme importance for fish orientation within it. In this respect, an electric screen, ERZU - I type, developed by GosNIORKH has the advantage over a number of existing types of electric screens. An alternating current of commercial frequency, interrupted in a definite regime to increase the efficiency of electric screen action on fish behavior has been used in the screen. The screen has one row of electrodes.
Configuration of the ERZU - I electric screen is characterized by an especially smooth decrease of potential gradient value in case of gradual removal from the system of electrodes. Such alteration of potential gradient is to contribute to a better fish orientation in the heterogenous electric field.
Figure 7 shows electric fields of various electric screens. Figure 8 represents the curves of the alteration of the potential gradient of the electric field being gradually moved off the system of electrodes. It is not difficult to conclude that the electric field of the ERZU - I type screen is better by its space characteristics than that of the McMillan's screens used in the U.S.A. which have one or two rows of electrodes.
The ERZU - I type screen is characteristic of a smooth alteration of gradient curve of an electric field. Due to this fact, a zone where fish responded to the effect of the electric field, were not yet depressed and were capable of moving, is several times larger than that of McMillan's screen with two rows of electrodes (see Figure 7).
The scheme of supplying and connection of the electrode system used in the ERZU - I type screen is shown in Figure 9. It shows the adjacent electrodes in half the section are under different potentials, due to which an electric field typical for this screen configuration is being created in water.
For the last five years a number of mechanical screens for fish have been constructed in the U.S.S.R. They are of two types, drum screens and flat screens.
Drum screens are designed for the fixed pump stations and the floating pump stations, the capacity of some pumps being about 1,000 l/sec. The screens developed are characterized by hydraulic cleaning, where the drifting trash is removed with jets of water without lifting up the screen.
The application of drum screens is limited. They are designed for intake installations of low capacity (up to 1 m3/sec.).
Flat screens are being designed now for water intake installations of high capacity, including those designed for power plants and large irrigation systems.
To avoid fish crowding at the screens for a long time, which results in injuries and death, the GosNIORKH laboratory suggests setting flat screens at a certain angle to the direction of flow so that young fish stopped at the screen and debris aggregated there could be diverted away from the intake installations back into the water body through a special fish outlet (See Figure 10). These technological conditions for flat screen applications are directly related to the peculiarities of fish migration behavior patterns. After entering the intake, fish do not remain, as in a blind alley, which may cause their death, but continue to migrate and return to the water body through a fish outlet.
These conditions are actually not taken into account at almost all big modern intake installations. Therefore GosNIORKH considers that, for the sake of better fishery management, the accepted technical conditions and methods of designing intake installations should be revised.
The principle of diverting fish from intake installations with louver fish screens is used in the U.S.A. Their schematic design is similar to that of flat net screens with fish outlets. However, louver fish screens do not completely prevent fish passage through the louver system, whereas flat net screens may be highly effective at various types of intake installations.
In conclusion the author wishes to note that the problems of development of biological and technical principles for the application of fish passage and fish protection facilities require cooperation in the work of biologists and engineers based on the knowledge of all the peculiarities of fish behavior and the knowledge gained in the practice of hydrotechnical construction.
BIBLIOGRAPHY
Nusenbaum, L.M., 1958 On the fish behavior in the electric field in connection with their protection during the power station construction. “Trans.of Conf. on Fish Physiology”, 132, Edition of the Academy of Science in the U.S.S.R., Moscow.
Nusenbaum, L.M., 1961 On the fish behavior in the dam zone in connection with construction of the fish passage and fish protection facilities. “Trans. of Ichtyol. Com.Conf. of the Academy of Science of the U.S.S.R.”, 10, 235, Moscow.
Nusenbaum, L.M., 1963 Study of the biological and technical bases for construction of the fish passage and fish protection facilities. Collected articles “Fisheries in the inland waters of the U.S.S.R.”, 218, Edition of the Academy of Science of the U.S.S.R., Moscow.
Nusenbaum, L.M., 1964 Fish protection facilities at the intake installations. “Trans. of the Coord. Meeting on the Hydraulic Engineering”, XI, 76, Edition “Energy”, Leningrad.
Nusenbaum, L.M., 1965 Fish behavior in connection with disturbance of their migration pathways. Collected articles “Biol. importance and functional determination of the migrating animals behavior”, 67, Edition “Science”, Moscow-Leningrad.
Nusenbaum, L.M. and A.P. Kulish, 1960 On the diurnal schedule of the young fish run in connection with their entry the intake installations. “Scient.-Tech.Bull. of the GosNIORKH”, 11, 64, Leningrad.
Nusenbaum, L.M. and L.N. Lapitskaya, 1961 First results of the fish elevator operations at the Volga Hydro-power Station named after The 22nd Congress of the C.P.S.U.", “Fisheries”, 11, 13, Moscow.
Strakhov, V.A. and L.M. Nusenbaum, 1959 Electric fish screen, type9P3y- I. Edition “Fisheries”, Moscow.
Tikhiy, M.I. and P.V. Viktorov, 1940 Fish stocks and hydraulic engineering works. Moscow.

Figure 1. Scheme (cross section and plan) of the fish lock for high and middle flow dams.
h.w. - water level of headwater
t.w. - water level of tail water
A - inlet chute (a fish collector)
B - lock chamber (a shaft)
C - outlet chute
D - water supply
1 - the initial, and 1 - final positions of the vertical impellent lattice
2 - the initial, and 2 - final positions of the horizontal impellent lattice of the lock chamber
3 - the initial, and 3 - final positions of the vertical impellent lattice of the outlet chute.

Figure 2. Scheme (cross section and plan) of the fish lock on an overflow dam
h.w. - water level of headwater t.w. - water level of tail water
B - lock chamber operating as the outlet chute and a water supply
1 - the initial, and 1 - final positions of the vertical impellent lattice
A - Entrance chute (fish collector)

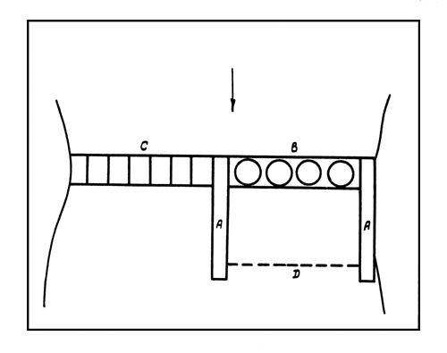
Figure 3. Scheme of fish passage facilities location on a dam:
A - fish lock
B - powerhouse
C - overflow dam
D - electrical screen for fish

Figure 4. Cross section and plan of the fish lock of the Volga hydroelectric station.
1 - the initial, and 1 final positions of the vertical impellent lattice of the fish collector; 2 - the initial, and 2 - final positions of the rotary lattice connected to the low gate of the fish chamber; 3 - the initial, and 3 - final positions of the horizontal impellent lattice; 4 - the initial and 4 - final positions of the vertical impellent lattice of the lock chamber; 5 - cage lattice on the exit from draft tube of the dam.

Figure 5. Diurnal periodicity of passage of the young fish of some species from the reservoir into the irrigation channel (data of around-the-clock observations conducted during July).
1 - pike perch; 2 - bream; 3 - Neogobius melanostomus (Pallas); 4 - Clupeonella delicatula caspia Svetovidov;
t - the time of the day;
%% - the quantity of fish caught in the channel for a month.

Figure 6. Dependence of the entering of juveniles of Cyprinus carpio into the net chambers (1) and revolving nets (2) of the water intake of the thermal-electric Station on the fluctuations of water level (3) of the Kura River.
VII - July VII August, IX September.
n. quantity of juveniles of Cyprinus carpio caught by net during the first observation
t. days of the month
mabs. absolute height of the level of water in Kura River

Figure 7. The comparison of the pictures of electric fields of the ERZU - I type electrical screens (I), McMillan screen with two rows of electrodes (II) and one-row McMillan screen (III).
d - distance between neighbor electrodes.

Figure 8. The curves of the alteration of the potential gradient of an electric field of various types of electric screens:
ERZU - I type (1) and McMillan screen with two rows of electrodes (2).
E - potential gradient in v/cm
X - distance from the electrodes row in meters

Figure 9. The principal scheme of electrodes connection and supply of the ERZU - I type screen
d - the distance between the neighbor electrodes
Uo - the potential difference between two lines of the electrodes system supply.

Figure 10. Scheme of the mechanical fish screen of the flat net type with a fish outlet.
1 - net,
2 - fish outlet,
3 - cleaning unit,
4 - the way of guiding the cleaning device
5 - electric winch for moving the cleaning device.