Ole A. Mathisen
College of Fisheries
University of Washington
Washington, U.S.A.
Hydroacoustic methods for stock assessment are relatively new. They are based on instruments which emit pressure waves in the water and detect part of this energy reflected back by fish targets.
The roots of hydroacoustics date back to the early thirties when echo sounders were built to register bottom depths, and incidentally, schools of fish were detected in mid-water. Anti-submarine warfare during the last world conflict provided a tremendous impetus for development of the hydroacoustic technology. Upon cessation of hostilities, the techniques for detection of submarines could be used immediately for fish detection and in exploratory fishing in the fifties. However, with a decline of many large fisheries in the sixties the accent was placed on exact quantification for regulatory purposes. On this basis, hydroacoustic assessment methods are finding a place in the present-day management of aquatic fish resources by providing rapid and accurate estimations of stock changes. However, a discussion of possibilities and limitations of this new technology necessitates a brief look at the theoretical basis.
Sound waves are propagated in water by a to- and fro- movement of particles in the same direction as propagation of energy (Figure 9.1). The linear distance between two pressure peaks is termed the wave length, λ. The time needed for a particle to undergo the full movement from a pressure crest through a pressure trough and back to pressure crest is designated by T. Consequently, the number of oscillations, f, which take place in a second is f = 1/T. One oscillation per second is termed one hertz (Hz), and 1000 Hz are designated as one kilohertz (kHz). The frequencies used in hydroacoustic assessment range from 38 kHz to 120 kHz and occasionally to 200 kHz.
The sounders are operative in bursts lasting from .1 ms to .6 ms, or occasionally to 1 ms. Since velocity of propagation of sound in freshwater, denoted by c, approximates 1500 m/sec, the pulse length, τ generated range in length from 0.15 m to 1.5 m (Figure 9.2).
Although we are measuring voltage instead of its equivalent pressure, the main interest centres on the energy transmitted into the water and reflected back to the transducer from the fish targets. Sound intensity (I) is related to the pressure, (p) by the equation:

where p is the peak pressure, p is the density of the medium, and c is the velocity of the propagation of sound in water. The mean pressure or rms pressure p is related to peak pressure by:

where p i the peak pressure, p is the density of the medium, and c is the velocity of the
propagation of sound in water. The mean pressure or rms pressure
is related to peak
pressure by:

Just as in air, the range can be from a barely audible whisper to a thunderous roar, and hence Bell introduced a logarithmic scale for measuring sound intensities. The unit decibel is defined as:

where I0 is a reference level selected to be unity. Some ranges of sound intensities are illustrated in Figure 9.3. From the relation above, it may be seen that pressure is given as 20 log p in dB units.

Figure 9.1 Diagram of successive compressions and rarefactions of water molecules during passage of a sound wave and changes in pressure amplitudes. (Reproduced with permission from Oceanus)

Figure 9.2 Resolution as a function of pulse length
A short pulse length can separate between two closely spaced targets or a target close to the bottom
A long pulse length will penetrate deeper water; but it fails to separate between adjacent targets or targets close to the bottom
Illustrates the transmitted pulse
Gives the corresponding echogram
The advantage of the dB system is that multiplicative factors such as gain become additive when expressed in logarithmic scale. It follows from straight geometry that in an isotropic medium the energy at a distance R from the sound source emitting in space is reduced by a factor 1/R2 or the geometric spreading loss (Figure 9.4). In salt water the intensity is further linearly reduced by attenuation due to absorption of energy in water. For practical purposes this source of propagation loss can be omitted in freshwater.
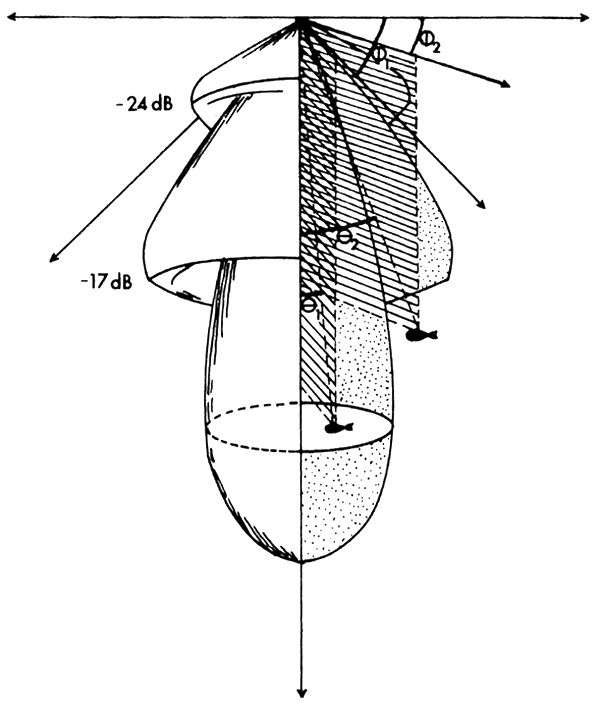
Transducers convert electric energy into pressure waves, and conversely, incoming pressure waves to voltages. The older types were built of ferro-magnetic material or certain crystals. Today most transducers are constructed from ferro-electric material bonded with suitable material to form ceramic transducers. In many cases a transducer is a composite of many single elements combined to achieve a directionality of transmitted energy and receiving sensitivity around the acoustic axis of the array (Figure 9.5).
Source Level, SL, expresses the energy emitted by a transducer. It is determined both by the power of the system and the construction of the transducer.
Part of the energy which reaches a fish target is reflected back, and this reflected energy follows the same spreading loss as discussed for the energy emitted from a transducer.

Figure 9.3 The logarithmic scale for sound pressure, showing pressure levels from 10-5 to 10+7 dynes per cm2, corresponding to 0 to 240 decibels re 1 micropascal. (Reproduced with permission from Oceanus)

Figure 9.4 The intensity is evenly distributed over a spherical surface at a distance of R meters from the emitting source. When the distance is doubled, the surface is quadrupled and the intensity reduced fourfold according to the geometric spreading loss

Figure 9.5 Transducer directivity pattern. The main energy is contained within a 26° sector volume around the acoustic axis while energy emitted along the two sidelobes represents only a very small fraction of total energy emitted
Target Strength, TS, measures the reflecting properties of the target. It usually increases with length of the fish, but is also dependent on presence or absence of a swim bladder, fish density, and may be affected by other factors such as the swimming speed of the fish. Target strength is the most important and the most difficult parameter to measure directly. It can also be determined indirectly from test fishing or from oscilloscope voltage measurements in low density situations.
Fish in the range 20 to 50 cm may have a TS ranging from -35 dB to -20 dB. An error of ±3 dB means that the population estimate either is cut in half or doubled.
Very few fish are found on the acoustic axis. Since the acoustic energy emitted by the transducer decreases away from this axis, the returning signals are reduced accordingly, but a correction for this can be introduced by the beam pattern function, or the term 20 log b (θ, ø). In the case of symmetric transducers the rotation angle, ø, can be integrated out (Figure 9.6). Pressure of the energy reflected from a fish target is given by the basic sonar equation, expressed in decibels:
EL = SL + TS - 40 log R + 20 log b (θ, ø)
EL is here the echo level (dB) of the incoming pressure wave returned from the fish target and hitting the face of the transducer, which now acts as a receiver, after correction for geometric spreading loss and departure from acoustic axis.

Figure 9.6 Three-dimensional picture of the beam pattern function of a transducer having the directivity pattern shown in Figure 9.5
This train of pressure waves will produce a low voltage or the reverse process of applying a voltage to the transducer. Usually this voltage is too small to be measured directly and it must be amplified in the neighbourhood of one million times in the receiving system. The amplified signal, V, measured from a returning fish signal can then be expressed as:
20 log V = G + SX + EL
Where G is the amplification or gain expressed in decibels and SX a factor for conversion of pressure to electric energy.
Since there always is noise in a system there will be a depth, the so-called detection level (DT) where the noise level (NL) equals the echo level (EL). Electric noise is generated by the ignition system of the engine, and any lines carrying electric current. Acoustical noise can also be produced in the environment by wind, waves, rain, or by the boat hull, the propeller, and other agencies. Finally, many organisms emit sound waves, such as fish, shrimp, and others. All fish targets beyond the detection level are masked by the ambient noise, so, in the end, the distribution of the detection level (DT) in space determines the size of the effective sample volume. Various techniques exist to determine the effective sample volume. However, many times this can be determined from the polar diagram of the transducer furnished by the manufacturer in conjunction with the dynamic range within which the system is capable of operating.
The efficiency of a system is measured by the ratio of signal strength to noise. The same expressed in decibels is termed the dynamic range and is usually in the range of 40 dB to 60 dB or a hundred-fold to a thousand-fold difference in Target/Noise amplitudes.
Early methods of acoustic stock assessment did not employ any methods of calibration of the data acquisition system. Variability was introduced due to changing voltage in the power supply, drift in the electric components, and lack of a reference point for measuring sensitivity of the system. The amplitude of the incoming signals, either as seen on echograms or read on an oscilloscope are, however, directly related to the gain or amplification of the system.
This has largely been overcome by installing a stable calibration oscillator, which essentially maintains both frequency of oscillations and the voltage amplitude within very narrow limits. Consequently, the gain of the system can be set to produce the same voltage at a given reference depth from transect to transect or from survey to survey.
A time varied gain, TVG, is an amplifier where the gain increases with depth and compensates for the geometric spreading loss. A 20 log R will compensate for a one-way spreading loss, or the loss from transducer to target, while a 40 log R compensates for a two-way spreading loss, or the entire loss from transducer to target and back.
Small, inexpensive sounders are seldom, if ever, built with an adequate TVG and should not be used for acoustic stock assessment. If a TVG is incorporated, it is usually only a one-way or 20 log R TVG. Only large expensive sounders have both a 20 and a 40 log R TVG. But even these are seldom perfect and the results need to be corrected from readings made on the oscilloscope. A picture of the calibration oscillator as seen on the oscilloscope is given in Figure 9.7. If the TVG had been perfect, the calibration curve should have been a straight line, a ramp function from any selected reference depth to origin. However, discrepancies can be measured and corrected for by the factor of the ratio of observed to expected voltages.

Figure 9.7 The calibration oscillation curve as seen on the oscilloscope. Depth is measured along the abscissa while voltages are read along the ordinate. Deviations by the actual curve from the theoretical straight line ramp function can be corrected by the factor:
![]() | for each depth |
In this case the TVG is very good over the operational interval 3–100 m after which the dynamic range is expended.
The power or source level with which energy is emitted into the water and the sensitivity with which incoming signals are received represent two basic system parameters that remain fairly stable in well-built echo sounders but should be recalibrated at least once a year in a laboratory equipped for measuring source level and receiving sensitivity.
In most of the freshwater applications, the demand is for a portable system which can be transferred from one lake to another. Figure 9.8 is a photograph of such a portable system. The transducer is installed in a towing vehicle and suspended on the side of the boat. The towing vehicle can be made of plywood with a stabilizing fin. Figure 9.9 is a photograph of a more refined towing fin made of plastic. While hull-mounted transducers can be justified in larger ships, they are inconvenient in that they require slipping of the ships for calibration procedures. It is probably correct to assume that they will be replaced in a number of cases by one of many types of towing vehicles available for installation of not only one but possibly more transducers operating on different frequencies.

Figure 9.8
Photograph of a Ross 105 kHz portable data acquisition system consisting of a transducer mounted in a towing fin, a transmitter, and a receiver combined into a transceiver, an interface amplifier, a tape recorder, a chart recorder and a monitoring oscilloscope

Figure 9.9 Lightweight acoustic fin with 120 kHz transducer

Figure 9.10 Block diagram of data acquisition system
The returning signals can be preserved either in the form of an echogram or they can be recorded on magnetic tape. Because of response limitations of the magnetic tape, it is necessary to convert the signal output of the Ross echo sounder to 5 kHz which is compatible with the tape recorder. This is accomplished by passing the signals through an interface amplifier.
Recently the SIMRAD Company has started production of lightweight echo sounder Model EY which operates on a basic frequency of 70 kHz. A 10 kHz envelope can be extracted directly from the existing electronics for tape recording, which eliminates the need of an interface unit. Power requirements of the transistorized unit are small and are provided from a 12 V storage battery. A block diagram of a data acquisition system is outlined in Figure 9.10.
Both the echo sounder and the tape recorder have upper limits on incoming voltages, beyond which saturation and distortion of signals occur. These limits will vary with the equipment used and must be rigorously maintained. In most freshwater situations the fish densities are not high enough to create a serious problem with saturation of the echo sounder. The gain of the tape recorder can be set high enough just to avoid saturation of the largest targets. Usually this is explored on the oscilloscope prior to transcribing and recording.
The reflected energy in terms of signals must be processed and quantified. This can take place in three principal ways:
Visual counts of fish targets on echograms
Oscilloscope counts
Computer processing based either on:
electronic counts of echos; or
echo integration
Echogram paper is electro-sensitive carbon paper and sparks across the paper will blacken it. Signals from a fish will form a V-shaped signal if the fish is insonified or covered by several consecutive transmission. The accuracy of visual counts is limited by the system itself and the size of the targets. The latter ones must exceed a minimum size before the voltages of the returning echo signals are sufficient to spark across the paper. More serious are restrictions imposed by the depth of the fish. The reflected signals decrease inversely with the second power of depth of the fish, as described above. A complete compensation calls for a 40 log R which counteracts transmission loss both of the emitted signals and of the reflected energy. Nevertheless, a straight counting of fish marks or a visual assessment of the blackening of the echogram paper gives a first assessment of abundance. Some typical examples are shown in Figures 9.11a and 9.11b. If visual counts are made on echograms produced with constant gain settings, comparable records are always obtained, especially if counted by restricted depth intervals.
The trace of the signals as seen on the oscilloscope is illustrated in Figures 9.12a and 9.12b. Since signals are symmetric about the axis, only half of the signals need to be studied. The transmitted pulses which identify the surface and the very large bottom signals are easily identified while intervening fish signals appear as spikes of different amplitudes corresponding to the different sizes and depths of the fish targets.

Figure 9.11a Echogram of dagaa (Stolothrissa tanganacia) in Lake Tanganyika, May 1975

Figure 9.11b Echogram of juvenile sockeye salmon (Oncorhynchus nerka) in Babine Lake, British Columbia; October 1975

Figure 9.12a Oscilloscope trace with single fish targets. Juvenile sockeye salmon, Babine Lake, British Columbia

Figure 9.12b Oscilloscope trace of schools of fish (anchovetta) off the coast of Peru
It has been stated earlier that reflected energy, measured on the oscilloscope trace in the form of a voltage amplitude, has undergone a two-way geometric transmission loss. This can be compensated for by a 40 log R factor expressed in dB units. It is to be expected that in the future all echo sounders equipped for stock assessment will at least have a reliable 20 log R - TVG built into the sounder. Visual oscilloscope counting can be accomplished by establishing a counting threshold, VT, on the oscilloscope which introduces a 20 log R correction for the return signals for an echo sounder which only has a 20 log R - TVG. Theoretically this curve is the reciprocal of depth, 1/R. However there is always a background noise which at a given depth will equal signals from fish targets, which then becomes the maximum counting depth.
Let VT = K/R where K is a constant, which can be determined as follows. The background noise can be considered constant. The returning echo level as well as the noise level is amplified in the same manner and increasingly with depth of target. At one point the noise level will equal that of the signal level from the fish target. Consequently no targets can be identified below this depth, and all fish signals are masked by the noise level if the target strength, TS, of the fish is constant. An increase in target strength will naturally allow discrimination at a greater depth.


Figure 9.13 Corrected counting threshold for visual enumeration of targets where maximum depth is 100 ms, corresponding to a real depth of 40 fms or about 72.8 m [Further explanation in the text]
In Figure 9.13 the noise level at a depth of 100 ms is VN = 0.05 V and equals voltage
strength of returning signal VT. Thus,
or the normalizing proportionality
factor K = 5.0. Thus the expected counting threshold equals
.
A perfect log 20 R - TVG curve is a linear ramp function which seldom is realized.
There may ne an under-compensation over one depth range and an over-compensation over another
depth range. This can be corrected for by drawing a straight line from origin to the point
on the TVG curve corresponding to the maximum depth of interest as in the given example
100 ms. This line represents the theoretically correct TVG. By displaying the actual TVG
on the oscilloscope screen deviation ratio
from unity can be corrected by multiplying
with
. The counting threshold can therefore be constructed from the equation

Practically the threshold can be drawn directly on the oscilloscope screen or cut out from cardboard and overlaid on the screen.
From a great number of application in freshwater, countings of targets on the oscilloscope screen will suffice since targets do not overlap but appear as separate individual targets.
The necessary equipment then consists of an echo sounder with a calibration oscillator and at least a 20 log R - TVG incorporated in the circuit. Second, a tape recorder or a cassette recorder is needed. Depending upon the sounder employed it might be necessary to have an interphase unit between the sounder and the tape recorder in order to produce a frequency which the tape can record without distortion.
Finally, an oscilloscope is an indispensable item, preferably a dual beam scope which permits monitoring both the signal which comes out from the echo sounder and those which have been recorded on the tape. A more advanced version of scope is the storage scopes which permit the image to linger on the screen and thereby facilitate any reading of voltage amplitude.
Counting in the discussed manner will give the number of fish detections exceeding or equalling in amplitude those represented by the detection threshold level at maximum depth of interest. At lesser depth smaller targets will exceed the noise level, but because of the imposed counting threshold they will not be included in the counts. This represents a distinct difference and advantage from direct visual counts of echograms. Depending upon the fish targets of interest, different counting thresholds can be imposed and the fish can be sorted out by size categories, or a counting threshold can be used to separate adult sockeye salmon from the immature juveniles.
Before the density of fish can be estimated by acoustic methods, the volume of water that is acoustically illuminated to the extent that targets are detectable above the ambient noise level must be determined. A pulse volume is the volume of water insonified above some minimum intensity level by a single ping of the echo sounder. The effective boundary limits of an insonified continuum are proportional to the amount of power propagated into the water, the size of the fish, and the sensitivity of the echo sounder receiver which can be adjusted by the selection of appropriate receiver gain levels.
The effective dimensions of a sample volume can be measured empirically from the average number of times fish are consecutively insonified at specific depths and the distance the boat moves between transmitted pings.
When a transducer is moved across the surface of a body of water with its acoustic axis normal to the surface, fish will be detectably insonified in increasing numbers of times with depth because of overlap of consecutive pulse sample volumes with depth. The path of each fish at any specific depth as it is passed through the moving acoustic cone describes a chord to the circle. The average path length is equivalent to the expected chord length of the circle, or π/2 r. This can be computed also from the observed average number of insonifications, boat speed, and transmitter repetition rate. These two expressions equated give means for estimating r.
Finally, when the directivity of a transducer element is symmetrical (circular element), the volume of water within which fish are detectably insonified by a single ping can be calculated when each depth stratum is approximated by a frustum. The total effective sample volume for any depth stratum and transect length is simply equal to the product of one pulse sample volume and the total number of pings of interest.
The preceding pages have attempted to describe briefly the theory of hydroacoustic stock estimation, and the practical application through oscilloscope counts. It should be clear that not only is the proper equipment needed, but the operator must also possess an understanding of the underlying theory in order to use the correct gain settings and proper counting thresholds.
It has been the experience on the west coast of North America that it is difficult to acquire the necessary skill from books alone. Instead, short courses have been offered, usually of one week's duration, in introductory acoustic stock assessment. It is recommended that such courses be organized in appropriate centres, e.g. in Europe.
Computer technology, developed during the last decade, has permitted two new acoustic estimation techniques. One method is based on electronic counts of individual targets in low density situations. The other approach integrates both single and overlapping signals, either in analog or digital form.
In marine investigations with large research vessels the computers may be placed aboard for direct on-line processing. This is of interest only in very few cases and locations at the present time in freshwater studies. But a discussion is warranted here since data acquired and stored on tape may conveniently be shipped to regional centre for processing and analysis. Not only is capital investment and cost kept at a minimum but a few trained operators can process data from lakes and streams over a large region.
The second justification is the rapid development of microprocessors, which soon can be used for analysis of hydroacoustic data. The size of such computers will be such that they easily can be brought into the field. Power is derived from a storage battery or even a few dry cells. The projected cost is so low that spare circuit boards can be brought along and replaced in the field in case of failure. The bottleneck one can envision at this time is qualified personnel to operate all new equipment arriving on the scene, which might be eliminated by proper training courses suggested above.

Figure 9.14a Block diagram of echo counting system

Figure 9.14b Signal processing prior to counting of targets

Figure 9.14c Typical signals modified by noise which at times exceeds the threshold level and will be counted (from Ehrehberg, 1976a)
(a) Echo counting
The echo sounders emit pulse trains of oscillations in bursts which may last from 0.5 ms to 1.0 ms, or in general τ ms. Since the sound propagates at a speed of about 1470 m/sec, depending upon the temperature, in general it can be denoted by c m/sec.
Two fish, respectively, R1 and R2 meters away from the transducer will appear as two
separate targets only if
. Otherwise the pulse train from the deeper fish will
be returned before the pulse train from the shallower fish has cleared and the two signals
will coalesce. Neither fish needs to be on the acoustic axis as long as it is inside the
sample volume acoustically illuminated. Their position will reflect itself in the amplitude
of the returned signals.
A block diagram of the echo counting system is given in Figure 9.14a. A range gate sets the depth interval to be surveyed. One might want to slice the water column in equal parts, say 10 m deep each, or one might want a finer gradation in the layers where fish are found. For design reasons, this can seldom be less than 2m, but modern computer technology permits one to look at individual strata as small as 2 m. These can vary individually in size and can be as many as 50 strata, as long as they are contiguous. Normally, a 40 log R correction factor is introduced which keeps the echo levels from the individual fish approximately equal along the same axis since the attenuation loss can be ignored in freshwater. A detector removes the carrier part of the signals and retains the envelope (Figure 9.14b). Each time this crosses a fixed threshold value corresponding to the noise level, a count will be made (Figure 9.14c). Finally, a record is kept of the volume surveyed acoustically and division of counts by volume produces the desired density estimate.
In computing the volume, one must take into account the beam pattern of the transducer being used, the target strength, and the noise background which is entered as a detection level. However, the noise can be minimized by increasing the energy emitted and thus the strength of the returning signals, or by reducing the band width of the receiver. Concomitant with this, there is an increase in pulse length resulting in more overlapping signals. Two adjacent fish now will be counted as one, and the net result is an underestimate of the fish density. If the transducer beam angle, and thus the sampled volume, is decreased, the same effect is achieved, but the statistical reliability of the population estimate is reduced. This is of some concern in freshwater where much of the sampling is done in relatively shallow water.
(b) Echo integration
In high density situations, such as for example are encountered in tropical lakes and reservoirs, most signals overlap, but the area under the detection envelope represents a relative measure of the biomass. By a high sampling rate of voltage measurements the analog signals can be converted into digital form. These voltages are squared and summed and provide a relation measure of biomass. Signal processing is diagrammed in Figure 9.15.
The underlying alogarithm of integration may be expressed as:

| where, | 2R1,R2 | = | the average squared voltage for the depth layer from R1 - R2 |
| λ | = | the desired fish density per unit volume | |
| σ | = | average scattering cross-sections per single fish (or per unit biomass). Target strength TS is realted to σ by TS = 10 log ![]() |

Figure 9.15 Top - Black diagram of signal processing in a digital data analysis unit
Bottom - Modification and analysis of signals
All the other symbols represent physical constants or system parameters which are known (Ehrenberg, 1976).
Thus, the real critical unknown element is that of determining target strength, provided that the fish surveyed are uniform in size. Ehrenberg and Lytle (1977) have developed a method for determination of target strength in situ where targets are not overlapping. The principle is simple but the actual execution is much more difficult. Other direct methods are to count the signals over a transect and afterwards integrate the same distance. From the linear regression of integrated values versus actual counts, a conversion algorithm can be made. The same is true if test fishing is employed instead of direct counts on the oscilloscope.
The hydroacoustic assessment technique discussed on the previous pages is yielding very satisfactory data for single species populations of uniform size and evenly distributed in intermediate water layers, from 10 to 40–50 m and occasionally to 80 m. Such ideal conditions are seldom encountered in real situations.
In perhaps the majority of the cases in freshwater, one encounters mixed communities. At the present time there exists no practical way to separate species acoustically. Accordingly, this must be done by test fishing using one of the pelagic nets or gear discussed elsewhere in this manual. The degree to which fishing gear samples mixed populations representatively both in regard to species composition and size distribution determines largely the accuracy with which abundance parameters can be estimated.
Behaviour traits of the fish likewise affect the efficiency of hydroacoustic assessments. A number of pelagic species will school up during daytime or retreat to the bottom, especially in smaller lakes. Unless a fish is more than half a pulse length removed from the bottom or a distance of C.τ/2 m, it will not appear as a separate target, neither on the echogram nor on the oscilloscope screen. If the bottom is soft from layers of sediment or mud, reverberations make it impossible to detect fish close to the bottom even with a white line built into the echo sounder.
However, toward dusk the same fish usually move into the pelagic zone and feed here singly rather uniformly distributed within a well-defined and often narrow depth stratum. Toward dawn the reverse process takes place, as illustrated in Figure 9.11a. The feeding dagaa in Lake Tanganyika is in the process of forming schools in the morning after a night's feeding.
The upper boundary of the stratum with feeding fish is often controlled by temperature. In northern lakes such as in Alaska, the feeding juvenile sockeye salmon will often be found in the heaviest concentration within one meter from the surface. Here a vertically looking sounder becomes inefficient since the first 3-m depth stratum from the transducer must be considered as a blind space, mainly due to the small volume.
In deep lakes, such as many of the East African lakes, a bottom echo may return from the preceding transmitter pulse after the next transmission has started and superimpose the bottom echo in the zone of interest on fish returns. In signal processing such a depth stratum must be eliminated. The easiest remedy is to reduce the rate of transmission to give the bottom echo time to clear.
Intuitively, a zigzag sampling pattern has been adopted in the past; or in small lakes, a series of transects across the entire lake placed in a systematic fashion is usually preferred. The integration technique permits a transect to be subdivided, for example, in 2-minute sections. But these sequential density estimates are not independent and the sampling variance must include a correction for this.

Here S1 is the variance of the means and ρi the covariance with a lag of i transmissions. The same condition exists if adjacent depth zones are estimated by themselves.
Generally speaking, an estimator based on mean of transect (cluster) means is recommended for small bodies of water. Even though these may be placed in a systematic fashion, one can assume that the fish targets are randomly distributed with respect to the fixed transect lines. An alternative way is to have the appropriate length transects of 2 to 5 minutes' duration at a survey speed of 4 to 6 knots. Either the lake is considered as one homogeneous stratum, or a subdivision into relatively homogeneous strata is undertaken. A second stratification can be by depth. Within each stratum the starting point and the direction of the transects are selected by a random procedure.
The cluster ratio estimator gives an estimate of the mean density
R:

| Here, | Nij | : the number of fish targets in the ith transect and in the jth depth stratum |
| Vij | : the volume surveyed in the ith transect and in the jth depth stratum |
The associated variance of the cluster ratio estimator is given by:

Confidence limits can then be established by using a normal approximation to the distribution of the mean, or that:
In a low density situation it might be more appropriate to consider a Poisson distribution for the random variable.
The accuracy obtainable is illustrated in Figure 9.16 with replicated population estimates made during one year, of juvenile sockeye salmon. The interesting aspect is that the highest accuracy was attained during the winter when the fish stayed in the deeper layers of this lake. The two point estimates were nearly always identical, which means that the hydroacoustic assessment techniques described here give reproducible results.

Figure 9.16 Replicated population estimates and confidence intervals for salmon targets surpassing the -42 dB counting threshold. Only one survey was conducted in December 1972 and 1973 (from Lenberg, 1975)
Because of considerable success in assessing limnetic stocks of fish, the same technique has been tried in many other situations, noticeably over shallow shelf areas or in streams. The results have not always been encouraging because a large part of the water body is not illuminated acoustically. Next, a boat and a transducer which travel in shallow water can easily scare the fish away. Evidence of the reality of this is now accumulating rapidly.

Figure 9.17 Diagram of an array of transducers placed on a river bottom looking upward
A new development with an array of transducers placed at the bottom and looking upward is finding diversified use, especially in locales where the fish are moving. This can be in a stream or at the intake of a turbine or a water-cooling system (Figure 9.17).
An upward-looking transducer can also cover the space next to the water surface where some fish aggregate at night. A towed body can even be built with one transducer looking down and another looking up. The remaining problem is to construct a towed body which will veer out from the propeller backwash and the air bubbles formed and forced into the water The high reflective property of air bubbles is similar to that of a fish's swimbladder. This problem is encountered in swift streams and can even render an acoustic assessment impossible.
The Bendix Corporation has solved the problem of assessing smolts migrating to sea by measuring acoustically the density of the passing smolt schools and converting it into numbers on a readout. Arrays of transducers are placed on the river bottom (Figure 9.18). A 150 μs pulse of 119 kHz is transmitted by each transducer. Every other transducer is pointed directly up and the alternate transducers are pointed upward at a 20-degree angle to the river bottom. An adult salmon counter takes advantage of the relative constant distance between a migrating salmon and the river bottom, regardless of the water level. Therefore, the salmon can be brought to cross a submerged beam and counted acoustically by using transducers having an opening angle of only 2 or 4 degrees.
The field of side-looking sonars is still relatively new to the fishery biologists. But the promise is great and the next decade may see a variety of devices employed in acoustic stock assessment.

Figure 9.18 Photograph of Bendix Smolt Counter Array
Clay, C.S. and H. Medwin, 1977 Acoustical oceanography, principles and applications. New York, John Wiley & Sons, Inc., 544 p.
Cushing, D., 1973 The detection of fish. Oxford, Pergamon Press, 200 p.
Ehrenberg, J.E., 1976 Echo counting and echo integration. Notes prepared for short course on hydroacoustic stock estimation. Seattle, University of Washington, 8 p.
Ehrenberg, 1976a The University of Washington data collection and echo integration system. Seattle, University of Washington, 9 p.
Ehrenberg, J.E. and D.W. Lytle, 1977 Some signal processing estimates for reducing the variance in acoustic stock abundance estimates. Rapp.P.-V.Réun.CIEM, 170:205-13
Forbes, S.T. and O. Nakken (eds), 1972 Manual of methods for fisheries resource survey and appraisal. Part 2. The use of acoustic instruments for fish detection and estimation. FAO Man.Fish.Sci., (5):138 p.
Harvey, D. and M.E. Thompson, 1975 Investigations of survey sampling designs for the survey of the fish population of the Nova Scotian shelf by acoustical methods. Waterloo, Ontario, University Waterloo, Department of Statistics
Lembert, N.A., 1975 Hydroacoustic assessment of the 1973 sockeye salmon escapement into Lake Quinault, Washington. M.S. Dissertation. Seattle, University of Washington, 78 p.
Nickerson, T.B. and R.G. Dowd, 1977 Design and operation of survey patterns for demersal fishes using the computerized echo counting system. Rapp.P.-V.Réun.CIEM, 170:232-6
Nunnallee, E.P., 1973 A hydroacoustic data acquisition and digital data analysis system for the assessment of fish stock abundance. Univ.Wash.Fish.Res.Inst.Circ., (73-3):47 p.
Nunnallee, E.P., 1975 An operator's manual for the hydroacoustic data collection system. Univ.Wash.Sea Grant Publ., (75-1):28 p.
Thorne, R.E., E.P. Nunnallee and J.E. Green, 1972 A portable hydroacoustic data acquisition system for fish stock assessment. Univ.Wash.Sea Grant Publ., (72-4):13 p.
Urick, R.J., 1967 Principles of underwater sound. New York, McGraw-Hill Book Company, 384 p.