Ils se composent de trois essais de base:
I. PREMIER ESSAI
Objet: Identifier la résistance des cultivars de riz à la salinité dans les différents stages de développement.
Local: Station expérimentale pour la riziculture à Caboxanque.
Saison de culture: Saison des pluies (juin - décembre 1987)
Variation:
4.1. Témoin: Non-entrée d'eau saumâtre
4.2. Entrée d'eau saumâtre au stage d'après le tallage (60 jours
après le repiquage)
4.3. Entrée d'eau saumâtre au stage d'initiation de panicules
4.4. Entrée d'eau saumâtre au stage de floraison.
4.5. Entrée d'eau saumâtre au stage de mi-maturation (15 jours avant
la moisson)
Variété: Rock 5
Répétition: une répétition (si possible, 3 répétitions) Schéma: une répétition

Superficie: - Pour chaque parcelle 10 m × 5 m = 50 m2
- Surface de riz repiqué d'une répétition : 50 m2 × 5 = 250 m2
- Surface totale, y compris digues et canaux: 51 m × 16 m = 816 m2
Préparation du terrain: Mai 1987. Canal avec largeur 2 m, profondeur 0,6 m, digue avec hauteur plus élevée que la plus haute marée. Préparation des billons comme tradition. Mettre en dehors du terrain d'essai les terres de l'horizon 40–60 cm.
Observations: Pour chaque variante, effectuer les indices suivantes:
9.1. Tous les trois jours, prendre la température de l'eau de surface et du fond du canal, à un endroit fixe, à 8 heures du matin et à 15 heures du soir.
9.2. Tous les 7 jours, mesurer le pH de l'eau dans un endroit fixe. Mesurer le pH de l'eau avant et après l'entrée d'eau saumâtre dans les cinq variantes et aussi dans la partie extérieure de l'expérience.
9.3. Mesurer le degré de salinité dans les mêmes conditions que 9.2
9.4. Analyser la teneur en nitrogène, phosphore, potassium, aluminium libre, fer libre aux temps suivants: avant le repiquage, avant et après avoir laissé entrer l'eau saumâtre.
9.5. S'il y a des symptômes différentes entre les variantes, il faut faire les mesures et les analyses citées ci-dessus, pendant 3 jours consécutives.
9.6. Récolte & évaluation générale. Rendement Kg de paddy par parcelle, Kg de paddy par hectare, Pourcentage de grains abortives. Si l'on peut réaliser trois répétitions, la calculation d'erreur peut se faire.
Conclusion et proposition
II. DEUXIEME ESSAI:
Objet: Identifier la méthode de préparation des billons.
Local: Station expérimentale de Riziculture de Caboxanque
Saison de culture: Saison de pluies 1987 (juin - décembre)
Variation:
4.1. Billons comme tradition (billon 0,4 m + espace entre billon 0,5m, deux lignes de riz/billon, espace entre 2 lignes de riz 0,25 m.)
4.2. Billon double - billon double 0,9m de large + espace entre billons 0;98m. Quatre lignes de riz/billon. Espace entre lignes de riz 0,25 m.
4.3. Billon triple - billon triple de 1,5m de large + espace entre billon 1,43m. Six lignes de riz/billon. Espace entre lignes de riz 0,25m.
Variété: Rock 5
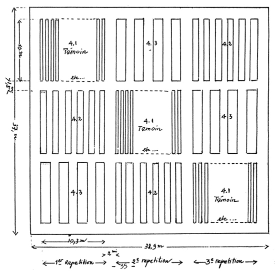
Répétition: Trois répétitions.

Superficie: surface par parcelle: 10,3 m × 10 m = 103 m2
surface par répétition: 103 × 3 309 m2
surface totale: 38,9 m × 37 m = 1.439,3 m2
Préparation du terrain: mai 1987. Canal de contour 2m de large, 0,6m de profondeur. Canal entre répétitions: 2m de large, 0,6m de profondeur. Canal entre parcelles d'une répétition: 1,5m de large et 0,4m de profondeur. Il faut faire attention au repiquage pourque la quantité de touffe repiquée dans chaque variante soit égale. Distribuer régulièrement à la surface des parcelles les sols des canaux creusés. Mettre en dehors du terrain d'essai les terres de l'horizon 40–60 cm.
Observations: Choisir une répétition et pour chaque variante, effectuer les indices suivantes:
9.1. Capacité de tallage. Pourcentage d'efficace d'épis par touffe. Fixer 5 ou 10 touffes repiquées successives sur la deuxième ligne de riz du deuxième billon dans les variantes d'une même répétition, avec les mêmes plantules par touffe. Au vingtième jour après le repiquage, puis tous les 7 jours/ une fois dans une période de 40 jours et une fois avant la floraison, il faut mesurer le nombre de branches (rameaux) par touffe. Mesurer le nombre d'épis. Calculer la moyenne en divisant le nombre de branches, d'épis par 5 ou 10 touffes fixées.
9.2. Mesurer la hauteur de de la plante, la longueur de l'épis de ses touffes et prendre la moyenne.
9.3. Compter la quantité de graines, prendre la moyenne par épis. Peser le poids de 1000 grains (en grammes)
9.4. Prendre le pourcentage des grains abortives (par poids ou par grains).
9.5. Récolte et évaluation. Kg de paddy/parcelle, Kg de paddy/hectare.
9.6. Calculation de probabilité.
Conclusions et propositions.
III. TROISIEME ESSAI:
Objet: Identifier les cultivars les plus résistants à la salinité.
Local: Station expérimentale pour la riziculture à Caboxanque.
Saison de culture: Saison de pluie 1987 (juin - décembre)
Variation: (On peut aussi appliquer méthode de bloc - Fisher)
4.1. Témoin: Rock 5 ou un autre cultivar tradidionel de la région.
4.2. Un des cultivars du VietNam
4.3. --- id ---
---- --- id ---
4.15. --- id ---
Répétition : 3 répétitions (Voir schéma page suivante).
Superficie: surface par parcelle: 4m × 3m = 12m2
surface par répétition: 12 × 15 cultivars = 180m2
surface totale: 63m × 18 m = 1.134m2
Préparation du terrain: mai 1987. Canal de contour 2m de large, 0,6m de profondeur. Canaux intérieurs 1,0m de large et 0,4m de profondeur. Billon et espace comme tradition.
Indice d'observation: en plus des indices 9.1 à 9.4 déjà mentionnées dans “deuxième essai”, et après les avoir numérotées de nouveau de 8.1 à 8.4, il faut ajouter:
8.5. Jour de floraison (50% des épis).
8.6. Jour de maturité biologique
8.7. Jour de moisson
8.8. Capacité de résistance contre les insectes, maladies, et autres
influences sur la végétation.
8.9. Récolte et évaluation: Kg de paddy/parcelle, Kg de paddy/hectare
8.10. Calculation de probabilité
Conclusions et propositions.
