1. Biology of Major Cultivated Fishes
China has a vast area of water, with a distribution of inland rivers, lakes, reserviors and ponds throughout its territory, and hence it is rich in fishery resources. There is an ample variety of fishes, of which more than 50% are carps. Up until now, there have been about 20 species cultured in ponds in integrated fish farms. The introduction here focuses on the four main well-known carps: Silver carp, Bighead, Grass carp and Black carp, and other good stocks------Common carp, Crucian carp, Chinese bream (Wuchang fish), Mud carp and Tilapia etc.
Understanding the habits of fish, mastering the laws of their growth, development, propagation and feeding and satisfying their ecological requirements accordingly will be of great practical significance to the development of fishery production, to the application of farming techniques and to the increase of fish yield.
1) Morphology
Silver carp (Hypophthalmichthys molitrix) (Fig. 1---1)
Silver carp belong in taxonomy to Family Cyprinidae, Subfamily Hypophthalmichthyinae. Body: compressed Scales: small, Mouth: in front, with lower jaw slightly slanting upward. Eyes: comparatively small, situated below the horizontal axis of body. Gill membrane: unconnected to isthmus. Gill rakers: dense, interlaced and connected, covered with a sponge-like membraneous sieve. Abdominal keel: extending from the base of pectoral fins to the anus. Pectoral fin: its terminal tip does not exceed the base of ventral fin. Pharyngeal teeth: one row in 4/4, with fine lines and tiny grooves on surface. Intestinal length: 6---10 times that of body length. Colour of body: silvery white while alive; colour of dorsal, very dark brown. The largest body so far discovered is about 20 kg.

Fig. 1--1 Hypophthalmichthys molitrix
Big head (Aristichthys nobilis Fig. 1---2)
Bighead are similar to Silver carp in shape. They belong to the same genus Hypophthalmichthys. Head: bigger. Snout: short and blunt. Eyes: small, situated below the horizontal axis of body. Gill membrane: unconnected to isthmus. Gill rakers, dense and separated; without spongelike sieve. Abdominal keel: between the bases of ventral fins and the anus. Pectoral fin: the terminal tip reaches 1/3---2/5 of the base of ventral fin. Pharyngeal teeth: one row in 4/4, surface flat. Intestinal length: about 5 times that of body length. Colour of body: while alive, dorsal and upper sides, light black, scattered with irregular yellowish black spots; ventral surface, silvery white. The largest body so far found is about 40 kg.
Fig. 1--2 Aristichthys nobilis

Grass carp (Ctenopharyngoden idellus) (Fig. 1---3)
Grass carp are larger-size fish in sub-family Leuciscinae of family Cyprinidae. Body shape: almost cylindric, with flat head and round abdomen. Scales: big. Mouth: in front; lower jaw, shorter. Gill membrane: connected to isthmus. Gill raker: small and short, in scattered arrangement. Pharyngeal teeth: 2 rows in 2,5/4,2 compressed like combs. Intestinal length: 2.3---3.3 times that of body length. Colour of body: while alive, dorsal, grey; abdomen, light grey; sides, greenish yellow; fins, a lighter colour. The largest body so far found is about 35 kg.
Fig. 1--3 Ctenopharyngodon idellus

Black carp (Mylopharyngodon piceus) (Fig. 1---4)
Black carp are more close to Grass carp among Cyprinidae. Body shape: like Grass carp with a pointed head. Scales: big and circular. Mouth: arc-shaped in front. Eyes: medium size, situated in the middle part of head sides. Gill raker: short. Gill membrane: connected to the isthmus. Pharyngeal teeth: one row in 5/4, big, short and molar-like; surface smooth. Intestinal length: 1.2---2 times that of body length. Colour of body: while alive, greenish black; dorsal darker; abdomen light grey; Fins, black. The largest body so far discovered is about 70 kg.

Figure 1---4 Mylopharyngodon piceus
Common carp (Cyprinus carpio) (Fig. 1---5)
Body: compressed. Dorsal: projected in arch-shape. Abdomen: round. Mouth: slightly downwards with a long blunt snout and with two pairs of barbels on upper jaw; lower pair a little longer. Dorsal fin: long. Scales: big and thick. Pharyngeal teeth: 3 rows in 1,1,3/3,1,1; teeth on inner sides, molar like. Intestinal length: 1.5---2 times that of body length. Colour of body: while alive, varying with different living conditions, usually dark grey or yellowish brown on dorsal; sides golden yellow; lower part of caudal fin, red. The largest body so far discovered is about 40 kg. China has a long history of culturing Common carp, which have a wide distribution and strong adaptability. There are a lot of morphological variations through artificial breeding and natural selections, such as Scale carp, Mirror carp, Wu Yuan red purse carp, Xing Guo red carp etc.

Figure 1--5 Cyprinus carpio
Crucian carp (Carassius auratus) (Fig. 1--6)
Crucian carp are very close to Common carp. Body: compressed and relatively thick. Abdomen: round. Head: small and short. Snout: blunt. Mouth: arc-shaped in front. Lip: thick without barbels. Pharyngeal teeth: compressed, one row in 4/4. Intestinal length: 2.7--3.2 times that of body length, some even reaching 5 times. Colour of body: silvery grey when alive; darker on dorsal and lighter on abdomen. The largest body found is about 1.5 kg.
They have a wide distribution and a strong adaptability. They can live in different water body such as rivers, lakes, ponds and ditches with some variations and differentiations in characteristics.
Carassius auratus gibelio are sub-species of Crucian carp. Body: higher than usual Crucian carp. Abdomen: round. Colour of body: bluish grey with silvery white on abdomen. The largest body is about 3 kg. Japanese Crucian carp originated from Lake Pipa in Japan and was introduced into China in 1976. They grow faster than Carassius auratus gibelio. A large variety of golden fish are bred out through long period of artificial breeding.

figure 1--6 Carassius auratus
Chinese bream, or Wuchang fish (Megalobrama amblycephala) (Fig. 1---7) Chinese bream belong to subfamily Abramidinae. Body: high, compressed and lozenge-shaped. Head: small and short Mouth: slanting. Abdominal keel: extending from the base of pelvic fin to the anus. Pharyngeal teeth: 3 rows arranged in 2,4,5/4,4,2. Intestinal length: 2.7 times that of body length. Colour of body: dark grey while alive, darker on dorsal; scale, dark grey in the middle and lighter on its edge. The largest body so far caught, is about 3 kg.

Figure 1--7 Megalobrama amblycephala
(8) Mud carp (Cirrhina molitorella) (Fig. 1--8)
Mud carp belong to family Cyprinidae, subfamily Barbinae, genus Cirrhina. Body: long and compressed. Abdomen: round and slightly flat. Snout: short, round and blunt. Mouth: inferior and transverse, with two pairs of barbels; snout barbels, strong and thick; jaw barbels, small and short. Caudal fin: deeply separated with upper part a little longer than the lower one. Lateral line: from the upper part of the pectoral fin around the lateral line, there are 8--12 scales with dark dots at their bases which form lozenge-shaped spots. Fins: dark-grey. Pharyngeal teeth: 3 rows in 2,4,5/5,4,2. Intestinal length: about 14 times that of body length. The largest body caught is about 4 kg.

Figure 1--8 Cirrhina molitorella
(9) Tilapia (Fig. 1--9, Fig. 1--10)
Tilapia belong to order Perciformes, family Cichlidae, genus Tilapia. This genus comprises more than 100 species including subspecies. At present, 15 of them are taken as cultured fishes all over-the world. In China, mainly Tilapia mossambica and T. nilotica etc. are reared.
Body of T. mossambica: short and compressed. Dorsal: a little higher. Shape: similar to Crucian carp. Mouth: bigger. Lip: thick, with lower jaw a little long than upper jaw. Scales: circular. Lateral line: disjointed. The intestinal length about 7 times that of body length. Colour of body: dark grey while alive; during spawning stage, body colour of male fish, dark green; edges of dorsal, anal and caudal fins, obvious red; female, greyish yellow. The largest body weight so far discovered is about 0.5 kg.
![]() | ![]() | |
| Figure 1--9 Tilapia mossambica | Fig. 1--11 A male | Fig. 1--11 B female |
Colour of T. nilotica: changing with external conditions, light black; abdomen white, with 9 longitudinal black stripes on body surface, of which, 7 below dors; fins and 2 on the peduncle; caudal fin with 10 clear vertical black stripes for life. Scales: ctenoid. The largest body weight is 2.5 kg.

Figure 1--10 Tilapia nilotica
Nuptial colour can be found on the male and the female of Tilapia at reproductive period. But their external genital organs are different in appearance. The male has two pores; anus in front and cloaca in the rear (Fig. 1--11 A). The female, 3 pores i.e. anus in front, genital pore in the middle and excretory pore in the rear (Fig. 1--11B)
2) Feeding habits
Although Silver carp, Bighead, Grass carp, Black carp, Common carp and Mud carp, belong to Cyprinidae, they have formed their respective ways of food in-take and their respective food chains at different stages of the development, It is due to their long-term adaptations to ecological conditions, the restrictions of water body environment and the perfection of body structure as well as the development of foodintake and digestive organs along with their growth.
(1) The main natural food Silver carp and Bighead feed on are plankton. Silver carp mainly feed on zooplankton at larval stage, whereas their feeding turns to phytoplankton after grown-up. Bighead feed on zooplankton mainly all their life. The differentiation of feeding habits are caused by the structure and the density of their filtering organs------ gill rakers.
The gill rakers of Silver carp and Bighead are situated in the operculum with 4 pairs on either side, and the 5th pair of gill arch which was specialized into inferior pharyngobranchial. The gill arch bone is the base to which gill rakers and gill filaments attach.
The gill rakers of Bighead are delicate and sabre-shaped, each consisting of a neck, a stem and a base. The neck is narrow and short. The stem is the principal part of the gill raker. The dorsal part of it is thicker, while the ventral part thinner. On either side, there is a row of wartlike protuberance, so to speak, lateral protuberance. The lateral protuberance of a gill-raker is interwoven with the next one in serration. Occasionally there are opposite protuberances, their triangle-shaped bases cling to the gill arch bones. Besides, gill rakers can be divided into two kinds, broad and narrow ones. There exists one broad gill raker every 3---6 narrow gill rakers. (Figs. 1---12 A and B)

Figure 1---12
The gill rakers of Silver carp are different from that of Bighead. The gill rakers are inter-connected by minute bony bridges, which are covered with spongy sieve membranes. The density of gill rakers is higher than that of Bighead's gill raker (Fig. 1---13)

inner gill raker
bony bridge
gill raker
lateral protuber
Fig. 1--13 Structure of the gill raker of Silver carp
The newly hatched Silver carp and Bighead fry nourish themselves with egg yolk and begin to take in plankton in the water when their body length reaches 7---9 mm, 3---4 days after hatching.
The food-filtering organs are imperfect with short and sparse gill rakers before the body length reaches 15 mm. At that time, both Silver carp and Bighead eat the same food.
The major groups of zooplankton that Silver carp and Bighead eat are rotifera, nauplius of copepods and tiny cladocera.
The shape and structure of filtering organs of fry about 20–30 mm in body length, are generally the same as those of adult fish's. The fry of Silver carp will take in phytoplankton as its main foods, since it has nearly 200 gill rakers, 1 mm in length each, with minute bony bridges between them Sieve membranes covering the bridges form a fine. The gill rakers of Bighead fry, short and sparse, are separated with larger spaces and difficult to detain tiny phytoplankton. As a result, their main food changes from tiny zooplankton to all sorts of zooplankton.
Beside the filtering organs------gill rakers, Silver carp and Bighead have accessary organs------palatine folds, that is, inter-gill raker folds. Palatine folds, located at the apex of mouth cavity, consist of 9 vertical ridges of mucus membrane, four on either side and one in between. The middle ridge is very short like an inverted letter Y with the branched end backwards. Palatine folds act in coordination with gill rakers, to get the food through filtering.
Under culture conditions, Silver carp and Bighead can also feed on commercial feeds such as cakes, brans, dregs and wastes.
(2) Feeding habits of Grass carp and Black carp
The fry of both fishes under 15 mm in body length have the same feeding habits, mainly feeding on zooplankton. But the feeding habits of the fry above 20–30 mm in body length will differentiate. The fry of Grass carp start to take in tender aquatic plants, while the fry of Black carp eat Benthos such as snails and corbicula spp. etc. Grass carp are typical herbivorous species taking in all sorts of aquatic and land grasses, hence, the pharyngeal teeth are well developed, tough and strong (tooth formula: 2,5/4.2). The teeth are shaped like choppers with saw-toothed edges. Pharyngeal teeth at both sides are interlaced with each other. They are against callous pad of the basioccipital, grinding food into pieces for digestion in intestines. Grass carp are voracious eaters, feeding amount usually could reach 40%. But the plant cellulose could not be digested and utilized.
Black carp are carnivorous fish, and usually feed on molluscs like snails, clams and corbicula spp. By using pharyngeal teeth and callous pad, they crush hard shells, then swallow the meat. Their pharyngeal teeth are strong and tough and molar-shaped (tooth formula: 4/5).
Under culture conditions, both fishes tend to be more or less omnivorous, feeding on oil seed cakes, brans, dregs and animal feeds like silkworm pupae, earthworm, animal entrails.
(3) Feeding habits of Common carp and Crucian carp
At the larval stage, feeding habits of the two are basically similar. They chiefly feed on rotifer, cladoceran, copepoda, chironomid larvae and other insects' larvae. Common carp and Crucian carp about 50 mm in body length tend to be omnivorous. Common carp are inclined to be more carnivorous, whereas Crucian carp more herbivorous. Both have feeding habits of phagotrophy.
The pharyngeal teeth of Common carp are relatively developed, molarshaped in 3 rows, with transverse grooves on the rest of the inner row except the first tooth, which is smooth. Common carp display a wide adaptation to foods. Their common natural foods are benthos such as snails, young clams, corbicula spp. cladocera, copepod, chironomid larvae, shrimps and insects' larvae. Also they take certain amount of detritus of higher aquatic plants and plant seeds.
The nasal bone of Common carp is well developed so that their premaxilla and mandible could be projected out like a tube to dig the mud for organic detritus.
Foods for Crucian carp are chiefly large amounts of detritus, diatom, filament algae, aquatic grasses and plant seeds, including a certain amount of cladocera, copepod, chironomid larvae and water earthworm etc. Under culture conditions, Common carp and Crucian carp also like to take commercial feeds such as oil seed cakes, brans, crops and silkworm pupae, etc.
(4) Feeding habits of Chinese Bream Wuchang fish
At larval stage, Chinese bream feed mainly on zooplankton such as cladocera and copepod, whereas, at adult stage, mainly on aquatic grass such as Vallisneria spiralis, Hydrilla verticillata, and Potamogeton malainus and secondarily on Potamogeton crispus, Myriophyllum spicatum, Spirogyra and plant detritus. With a mouth small in size, and the pharyngeal teeth and callous pad small and weak, the ability and intensity of food intake of Wuchang fish fail to come up with Grass carp.
(5) Feeding habits of Mud carp
With a small mouth, transverse in inferior position, under the natural conditions, mud carp use the bony edges of upper and lower jaws to scrape diatom, green algae chlamydomonas and filament algae etc. attached to stones and something else. Not seldom, they take detritus of higher plants, bottom humus and a little zooplankton as feeds.
Under culture conditions, they like to eat commercial feeds such as seedcakes, dregs, brans, and animal manures.
(6) Feeding habits of Tilapia
Tilapia are omnivorous fish, with a tendancy to be herbivorous. Tilapia feed mainly on zooplankton at larval stage. The scope of food enlarges with the growth. The usual common foods are all kinds of planktonic, benthic and epiphytic algae, tender higher aquatic plants, all organic detritus and a little animal feeds such as earthworms, small shrimps and aquatic insects.
Tilapia nilotica, possessing denser gill rakers (24---31), are more likely to feed on phytoplankton and could utilize the green algae Chlorophyta and blue algae Cyanophyceae which can not be digested by other fishes, but detritus occupies greater proportion among the natural feeds for Tilapia mossambica because they only have 14--- 19 gill rakers.
Under culture conditions they can utilize all kinds of vegetable leaves tender grass, animal manures brans, seed cake and pelleted feeds if applied. At a proper temperature, they ability and intensity of their food intake are much higher.
3) Growth
The growth rate is an important criterion to evaluate production efficiency. Silver carp, Bighead, Grass carp, Black carp and Common carp, with the features of large size and speedy growth, have been taken as the dominant cultured species for polyculture in Chinese integrated fish farms, whereas Crucian carp, Wuchang fish and Mud carp, owing, to smaller size and slower growth are usually regarded as a secondary species for polyculture so as to raise per-unit fish yield. As a mass production, the latter are well-known species for high yields.
The growth rate of every kind of fish involves genetics of species, besides, it's also closely related to water quality, water temperature, nourishment, stocking density and management. As a rule, the growth of body in length and weight is absolutely the fastest before the first sexual maturity, then it will slow down and even stop.
(1) Growth of Silver carp and Bighead
It is the second year that Silver carp grow the fastest. After the fourth year the growth rate decreases during th period of the 3rd ---- 6th years, Silver carp gain the maximum weight.
Bighead have the fastest growth during the period of the 2nd ---- 3rd year, and gain the maximum growth in weight in the 3rd year.
(2) Growth of Grass carp and Black carp
Grass carp have the fastest increase in length during the period of the 1st ---- 2nd years, and gain the maximum growth in weight during the period of the 2nd ---- 3rd years.
Black carp have the fastest increase in length during the period of the 1st ---- 2nd years, and gain the maximum growth in weight during the period of the 3rd ---- 4th years.
(3) Growth of Common carp, Crucian carp and Wuchang fish Common carp have the fastest increase in length during the period of the 1st --- 2nd years. The female fish grow faster than the male fish, and Common carp gain the maximum growth in weight during the period of the 4th --- 5th years.
Crucian carp, have the fastest increase in length in the first year and gain the max growth in weight during the period of the 4th --- 5th years.
Wuchang fish have the fastest growth during the period of 1st --- 2nd years, afterwards, the growth rate decreases gradually, and they gain the max growth in weight in the second year.
| Species | Silver carp | Bighead | Grass carp | Black carp | Common carp | Crucian carp | Wuchang fish | |
| age | ||||||||
| item | ||||||||
| max increase in length | 2 | 2--3 | 1--2 | 1--2 | 1--2 | 1 | 1--1 | |
| max growth in weight | 3--6 | 3 | 2--3 | 3--4 | 4--5 | 4--5 | 2 | |
Table 1--1 Relationship between the age and the growth of main cultured fish
(4) Growth of Mud carp
Mud carp have the fastest increase in length but gain the minimum growth in weight in the 1st year. The increase in length will slow down gradually. Sexual maturity begins in the 3rd year with the continuation of gaining weight (Table 1---2)
Table 1---2. Growth rate of Mud carp reared in ponds
| age | 1 | 2 | 3 | 4 | 5 | 6 | |
| item | |||||||
| body | absolute measurement | 14.5 | 23.4 | 26.1 | 29.2 | 33.6 | 36.5 |
| length (cm) | annual increase | 14.5 | 8.9 | 2.7 | 3.1 | 4.4 | 2.9 |
| body | absolute measurement | 70.9 | 257.9 | 354.5 | 499.1 | 739.3 | 969.5 |
| weight (g) | annual increase | 70.9 | 187.0 | 96.6 | 144.6 | 240.2 | 230.2 |
4) Natural reproduction
(1) Propagation of Silver carp, Bighead, Grass carp, Black carp and Mud carp
The natural spawning grounds of Silver carp, Grass carp and Black carp are vastly distributed in Pearl River, Qiantangjiang River, Changjiang River, Huaihe River, northwards up to Heilongjiang River systems, while those of Bighead mainly in Changjiang River, Huaihe River and Pearl River. Mud carp, as a subtropic species have the spawning-ground distribution in the southern part of China like Hainan Island, Guangdong, Guangxi, Fujian and Yunnan. Among all these river systems mentioned above, the spawning grounds of Changjiang River and Pearl River are the biggest. Quantities of fry of Silver carp, Bighead, Grass carp and Black carp proliferate in Changjiang River & Pearl River systems. Chinese carps usually like to stay in the lower reaches of rivers, or river branches or lakes for fattening, where the water current is slow and the water is fertile with abundance of food. When the spawning season is drawing near, the spawning schools begin to gather schooling and to migrate toward the middle and upper course spawning grounds. At that time, the gonads of the broodfish have, in a great majority of cases, reached Stage IV while the gonads of the male fish have reached Stage V. If the ecological conditions in the spawning grounds are suitable for reproduction, they will proceed to spawn.
As for the main cultivated fishes in China, the spawning time in different river systems varies with the climatic conditions, but all in the summer. In Changjiang River drainage, Silver carp and Grass carp generally start spawning in late April to early May and Bighead in mid or late May, whereas in Pearl River Drainage, the spawning season begins in mid or late April, a little later for Bighead. As a rule, the North is later than the South by 1---2 months. After July, the fry production is apparently reducing. During this period, the matured brood fish are ready to spawn in the spawning places when the water level of rivers rises and the temperature goes above 18°C below 30°C. Anyhow, the optimum temperature for spawning is 22°C---28°C. As a subtropic species, Mud carp need a little higher temperature for spawning with the optimum temperature of 26°C---30°C, starting from late May through August and September.
Under the stimulation of proper ecological conditions (generally for about 20 hours). Spawning behaviours could be seen when the spawning schools of Silver carp and Grass carp arrive in spawning grounds. There are two common forms ------ on water surface and under water. Spawning on water surface is termed “floating spawning” and the latter “muffled spawning”. In “floating spawning”, the estrus could be seen that males chase females excitedly, often bumping against the abdomen of the female with their head in swift swimming, jumping out of the water, then splashing in waves. Sometimes, the male and female would float on their backs with their pectoral fins vibrating violently.
When it reaches the climax of the estrus, the female & male discharge eggs and milt respectively. The eggs will be fertilized in the water. As for “muffled spawning”, the action would take place under the water. Occasionally waves aroused by chasing could be seen on the surface. More often than not, the male fish are the overwelming majority in spawning schools (Table 1---3). For Silver carp the male are 93.7% on average and for Grass carp 77.5%.
Table 1---3. Sex composition of Silver carp and Grass carp in spawning schools
| Drainage | Changjiang River | Xijiang River | Songhuajiang River | ||||||||
| Sex ratio | number (ind.) | ♂ (%) | ♀ (%) | number (ind.) | ♂ (%) | ♀ (%) | number (ind.) | ♂ (%) | ♀ (%) | average | |
| ♂ (%) | ♀ (%) | ||||||||||
| Species | |||||||||||
| Silver carp | 149 | 97.2 | 2.8 | 33 | 88 | 12 | 172 | 96 | 4 | 93.7 | 6.3 |
| Grass carp | 112 | 77.7 | 3.3 | 40 | 75 | 25 | 80* | 20* | 77.5* | 22.5* | |
The age and body weight of spawning schools vary with regions: In Pearl River drainage, smaller in size; earlier in maturity, generally, one year earlier than in Changjiang River drainage. and in Heilongjiang River 1---2 years later than in Changjiang River. (Table 1---4).
Table 1---4. Age and size of spawning schools of Silver carp, Bighead, Grass carp, Black carp (in Changjiang) and Mud carp (in Pearl River)
| Species | Silver carp | Bighead | Grass carp | Black carp | Mud carp | |||||
| Sex | ♀ | ♂ | ♀ | ♂ | ♀ | ♂ | ♀ | ♂ | ♀ | ♂ |
item | ||||||||||
| age | 4 | 3 | 3–10 | 3–7 | 4 | 3 | 4–15 | 3–10 | 3 | 2 |
| body weight (kg) | 7–14 | 5–13 | 9–25 | 7–21 | 5–19 | 4–13 | 15–30 | 10–25 | 0.53 | |
The brood amount of Silver carp, Bighead, Grass carp and Black carp is great and the measurement is usually done by way of sampling. It consists of the absolute and the relative brood amounts. The former refers to the total quantity of eggs borne by a fish in one spawning season, while the latter means the quantity of eggs per gram of female body weight in one spawning season. There is no relation-ship between eggs/g of ovary and fish size.
Table 1---5. Brood amount of Silver carp, Bighead, Grass carp and Black carp (Changjiang River)
| Item | Average body weight (g) | Average ovary weight (g) | Average absolute brood amount (piece) | Average relative brood amount (piece) | Eggs/ovary (g) | Average maturity coefficient (%) |
| Species | ||||||
| Silver carp | 7,900 | 1,190 | 1,035,000 | 131.0 | 869.7 | 15.1 |
| Bighead | 19,900 | 2,710 | 1,925,000 | 96.7 | 710.3 | 13.6 |
| Grass carp | 9,200 | 1,310 | 830,000 | 90.2 | 633.4 | 14.2 |
| Black carp | 22,900 | 2,520 | 2,131,000 | 93.1 | 845.1 | 11.0 |

The eggs of Silver carp, Bighead, Grass carp, Black carp and Mud carp are separated and non-adhesive, The discharged eggs expand by absorbing the water through egg membrane and become plump, transparent and elastic. With a bigger specific gravity than water, they will sink to the bottom in still water and yet, they are semibuoyant in the currents, floating in the water till the fry come into being.
The incubation of eggs requires about the same temperature as needed in the spawning of brooders, between 18°c and 30°c with the optimum temperature of 22°---28°c. The speed of embryonic development is in positive proportion with water temperature.
(2) Propagation of Common carp and Crucian carp
With the wide distribution, Common carp and Crucian carp do not require strict environmental conditions in the development of gonads and in the process of reproduction; therefore, their natural propagation can be easily found in the still or running waters of the South and the North.
Their spawning season generally comes at the end of March to early April in the southern part of China, April---May in the northern part of China, and June in the northeast part of China; however, it begins as early as in late December in Pearl River basin. Although the spawning season makes its start at different times, the demand for water temperature is identical, 18°c above for Common carp and 20°C above for Crucian carp. As the eggs of Common carp and Crucian carp are adhesive, the fundamental condition for spawning is the materials (aquatic plants or resemblances) for the eggs to adhere to.
The spawning is in full flourish from midnight till dawn. But it's possible that they could spawn in the whole day if environmental conditions are favourable. In estrus, two to three, males chase one female, and the male will hit their head against the female's belly time and again so as to make the female lying on its side towards the aquatic plants. In a minute, the female spawns while the male discharges milt. The action of spawning repeats so many times, that the matured eggs could be discharged in large amounts. And then the eggs could stick to the aquatic plants in water.
The age of individual fish's sexual maturity and its body size vary with different environments and climates. In Changjiang and Yellow River basins, Common carp and Crucian carp generally reach maturity at the age of 2 full years. In northeastern part of China, it takes more than 2 years with bigger size. The brood amount is related with fish size. The average brood amount of Common carp, is 244,000 pieces for 3-year old fish of 44---48 cm in body length and 1.9---2.75 kg in body weight, 447,000 eggs for a 5-year old fish of 54 cm in body length and 3.5 kg in body weight. That of Crucian carp is 200,000---300,000 eggs for a fish of 0.5---1 kg in body weight.
At 20°c, the fertilized egg of Common carp takes 101---104 hour to incubate into fry; at 25°c, 49---53 hours; at 30°c, 47---50 hours.
5) Habitus
(1) Water layer for habitat
Silver carp, Bighead, Grass carp, Black carp, Common carp, Crucian carp and Mud carp live in different water layers. It's due to their different feeding habits. Silver carp and Bighead chiefly feed on planktons. They dwell mostly in the upper layer where there is abundant plankton. Grass carp and Wuchang fish like to search for their food in the upper and middle layers, or near the river bank, lake side or pond dikes, Grass carp, Common carp, Crucian carp and Mud carp, like to stay in the bottom layer, because they are all benthos-feeders.
(2) Water temperature
To a great extent, fish are poikilothermal or cold-blooded animals. The metabolism of fish is controlled by temperature. The appetite of the above mentioned fish is obviously diminishing when the temperature drops below 15°c and they stop eating below 5---7°c. As a whole, these fish except Mud carp have a wide-ranged adaptation to temperature. They can live in the temperature between 0.5°---38°c with the optimum of 25°--- 32°c and yet, the optimum for food intake and growth is 25°---32°C (30°--- 32°c for Mud carp). Silver carp, Bighead, Grass carp, Black carp and Wuchang fish begin to die when the temperature is below 0.5°c or above 40°c. Mud carp, T. nilotica and T. mossanbica will often freeze to death below 7°c, 8°c, 12°c respectively.
(3) Water quality
Silver carp, Bighead, Mud carp and Tilapia, feed on plankton and habituate themselves to the fertile water where there is plenty of plankton. Grass carp and Wuchang fish feed on grasses. Since Black carp feed on molluscs they'd like to stay in sheer water. Common carp and Crucian carp can live in all kinds of waters with their strong adaptation.
(4) pH value and dissolved oxygen
The four main Chinese carp require certain amount of pH value in the water, generally 7.5---8.5 pH, with light alkalinity as optimum. Living in the water of 6.0---10.0 pH for a long time will retard the growth of a fish.
In addition, a fish must carry out normal gas exchange in water and demands a certain amount of dessolved oxygen in water. The higher the D.O, content the greater the feeding intensity. With D.O. above 4---5 mg/L, the feeding intensity of these fish is great, the growth fast, food conversion coefficient low. With D.O. below 2 mg/L, the fish lose their appetite, and below 1 mg/L, the fish will stop feeding and will gasp for air, and when the oxygen level drops further to below 0.5 mg/L, it will normally cause suffocation and death.
2. Biology of Artificial Propagation
The artificial propagation means a series of processes from sexual maturity, ovulation, spawning upto incubation of fry under control by man.
Gonads are also termed genital glands. The gonad of female fish is ovary, that of male fish testis. The eggs and sperms develop into maturity respectively in ovaries and testes when fish get to the age of sexual maturity.
The gonads have cyclic variance in development, and in the process of it, they are controlled by internal endocrine and nervous systems and external ecological conditions. The two factors are associated and restricted each other.
1) Structure of ovary and ovum, stage division of ovary
(1) structure of ovary
The ovaries are in pairs, symmetric and sac-like. Their walls are formed by connective tissues and smooth muscles. The inner wall of ovary protrudes above septum, named as ovum-producing plate, where ova are turned out. Following maturity, the ova break follicular membranes and drop into the ovary cavity, the end of which adjoins a short oviduct with an opening to the exterior of body. There are blood vessels and nerve branches on the ovary tissue.
(2) structure of ovum
Just like other animals' eggs, fish's ova possess the common features of body cells, consisting of cytoplasm (ovum cytoplasm), cell nucleus (ovum nucleus) and cell membrane (egg membrane).
At the initial stage of development, the sphere-shaped egg cells only have nucleus and cytoplasm. In further development, the egg will accumulate egg yolk materials by and by. The amount of egg yolk is much larger than that of egg cytoplasm. Polarization appears in their distribution, thus the egg is called polarized yolk egg thereby. The egg is topped by the so-called animal pole. Except for the yolk, most of the egg constituents such as cytoplasm and nucleus are concentrated near this pole. The yolk concentration increases toward the opposite, vegetal pole because of its larger granule and specific gravity. After fertilization, the first mitotic division of the cell cytoplasm and nucleus will take place and embryonic development will begin. Egg yolk neither takes part in nor hinders the process of mitotic division. Egg yolk contains protein, fat, glycogen and vitamin etc., which are the nutritional materials for embryonic development. The nucleus consists of nuclear membrane, nucleole, nuclear fluid and chromosome. The nucleus is sphere-shaped but often leaf-shaped. Its function is to maintain genetic materials (DNA) and cell metabolism, passing the genetic material on to one generation after another.
The cell membrane is a membrane structure covering the exterior of egg cell, that can be divided into 3 kinds in accordance with the materials.
Primary cell membrane or yolk membrane is made of cell's own plasm, with lots of radiant duct-like pores, so-called radiant belt, which are helpful for the absorption of nutrients and the discharge of metabolic wastes.
Secondary cell membrane or chorion is secreted by follicle cells in ovary. The secondary cell membrane of fish is normally adhesive. It is very common in adhesive eggs of Common carp, Crucian carp and Wuchang fish etc..
Tertiary cell membrane is composed of the secretion from glands in oviduct, such as gummy cell membranes of frog and cuttlefish.
Fish do not have all the three above-mentioned membranes. Silver carp, Bighead, Grass carp and Black carp have just the primary cell membrane and Common carp, Crucian carp and Wuchang fish primary and secondary membranes.
(3) The development stages of the ovary
The development stages of ovary maturity can be judged by visual observation or histologic survey. The development of fish gonad may be generally divided into six stages according to its appearance, colour, size, weight, and the distribution of blood vessels and the maturity of ova. Nowadays, the classification of the development stages of ovary adopted by each country is not identical. Five stages are admitted in India, Japan and the United Stages of America. Several countries prefer seven stages, whereas China does six. Set Silver carp as an example:
Stage I ovary
By visual observation, the gonads are located at the lower part of air bladder, closely attached to the coelomic membrane, lineal in shape, transparent, flesh-white in colour and it's impossible to distinguish them into different sexes by the naked eye.
Tissue slice: cells tiny, diameter 12--22 um; nucleus rather big, occupying more than half of oocyte's diameter; very few nucleoli in the center of the nucleus. (Fig. 1--14)

Fig. 1--14 Tissue slice of Stage I ovary of Silver carp Stage II ovary
By visual observation, ribbon-shaped, flesh-white in colour and semitransparent. It is impossible to distinguish ova one after another by the naked eye, and yet small eggs are visible when examined under a magnifyingglass; petaline-shaped when in fixation. It is possible to distinguish sexes. The maturity coefficient is about 1--2%.
Tissue slice: cell in multiangular shape or sphere-shape with a diameter of 90--300 um. A thin layer of ribbon-shaped follicles surrounds cell membrane surface. The nucleoli closely attach to the nuclear membrane (Fig. 1--15).

Fig. 1--15 Tissue slice of Stage II ovary of Silver carp
Stage III ovary
By visual observation, the capacity of the ovary has become conspicuously enlarged. It is due to the appearance of melanotic pigment so that it turns greenish grey in colour. Eggs are visible with the naked eye but not easily separable. The distribution of blood vessels is clear. The maturity coefficient of ovary is 3--6%.
Tissue slice: The follicular membrane in oocyte is bilayer. The egg yolk begins to form. One or two layers of vacuoles appear on the edge of the cell. The cell is 250--500um in diameter. The nucleus in the centre is irregular or oval-shaped. Greater part of nucleoli are distributed on the edge of nuclear membrane and small part scattered in the center.
The gonads of matured brooders are generally at stage III in winter. (Fig. 1--16)

Fig. 1--16 Tissue slice of Stage III ovary of silver carp
Stage IV ovary
By visual observation, it is long and sac-lake, occupying 1/3---1/2 of coelomic cavity. Eggs are plump and greenish grey or light yellow in colour and easy to separate. Ovary is fully distributed with blood vessels. The maturity coefficient is 12---22%.
Tissue slice: egg yolk granules fill almost all the space outside nucleus with only a little cytoplasm spreading around nucleus and near egg membrane. The egg is enlarged to 800---1580 um in diameter. Nucleus edge looks like waves in shape with a few nucleoli inserted in the troughs and most of nucleoli moving to the centre.
This stage can be further separated into 3 stages in the light of occyte's diameter and nucleus location. Early stage IV: egg diameter about 800 um, nucleus in the centre; middle stageIV: egg diameter about 1000 um nucleus in the centre or inclined to move to animal pole; late stage IV: egg diameter about 1580 um, nucleus having moved to animal pole, which is so-called polarized phenomenon.
Lots of experiments and practices have proved that no matured eggs can be obtained by inducement as the oocytes of silver carp, Bighead, Grass carp and Black carp are at early stage IV. Only in case of middle and late stage IV when the nucleus is eccentric or polarized, matured eggs can be acquired, and then the artificial estrualization will succeed. These stages could last as long as 1---2 months, even 3 months for some cases, providing that proper ecological conditions for spawning are not available during that period of time or no artificial propagation is performed. (Fig. 1---17)

Fig. 1--17 Tissue slice of Stage IV, ovary of Silver carp
Stage V ovary
By visual ovservation quantities of oocytes come out from follicular membranes into ovary cavity, and eggs are in a state of flowing. The ovary and the belly are very soft. The eggs would flow out from cloacal opening by way of a slight pressure upon belly.
Tissue slice: the yolk granules start to fuse into a lump. The cytoplasm and the nucleus have already moved to animal pole. The nucleoli concentre in the centre of the nucleus, whereas the nuclear membrane has dissolved through perforation. The nucleus looks transparent.
When oocytes proceed to their maturity, the epithelial cells of follicles secrete a sort of substance which can dissolve and absorb tissues between the follicular and the egg membranes; thus the eggs can easily be released out from follicles thereby. The eggs are in a state of flowing in the saclike. ovary. This process is called ovulation. The eggs, which are in a state of flowing, are released from the fish body, this process is termed spawning. The oocytes proceed very fast from stage IV to maturity (stage V). In nature, the process may be fulfilled in 20---40 hours after the rising of water in the rivers. Under artificial estrualization, it can generally be fulfilled within 10 to 20 hours or even in several hours. If the follicles discharged inmatured eggs ahead of time, the rate of fertilization would be affected. In another case, if the follicles could not release matured eggs in time, the eggs might be suffocated or degenerate by virtue of overripe and the rate of fertilization would be certainly affected too. Even if part of these eggs might become fertilized, the embryos could not develop normally. In other words, the success of either natural spawning or artificial insemination depends upon knowing exactly the maturity stage and the spawning time of a fish.
If the matured eggs missed the chance of being released, the oocytes would degenerate and be absorbed.

Fig. 1--18 Tissue slice of Stage V egg of Silver carp
Stage VI ovary
By visual observation, the major portion of eggs has already been laid. There are still some phase-4 oocytes which have remained in the ovary. The ovary is slack and its size has been reduced conspicuously. Blood vessels have become enlarged with lump-shaped extravasated blood.
Tissue slice: After ovulation, there are lots of follicular membranes and undischarged mature eggs in ovary. The undischarged eggs will soon degenerate and be absorbed, forming a semi-transparent and irregular structure, orangeyellow in colour. Besides there are still many interim oocytes in it. (Fig. 1--19)

Fig. 1--19 Tissue slice of Stage VI ovary of Silver carp After spawning
2) The structure of the testes and sperm and the development stage of the testes
(1) The structure of the testes
The testes are paired and tubular. They are situated on both sides of the air bladder, attached to the ceolomic wall. Mature testes are white in colour. There are a lot of ampullae arranged irregularly inside. The spaces between ampullae are full of connective tissues. The ampullae are composed of many spores or seminal vesicle sacs (spermatangium spermatogonia). Spore sacs are separated by a thin layer of follicular cells. In one spore sac there is plenty of synchronously-developing germ cells, and in different spores sacs, germ cells vary in developmental stages. The centre of the ampullae forms a hollow cavity. After the formation of sperms, spore sacs dissolve and the sperms enter the cavity of the ampullae. The terminal end of the testis is connected to a short seminal duct with an opening to the exterior of the body.
(2) the structure of sperm
A sperm cell of Chinese carps consists of a head, a neck and a tail. The sperm head of Silver carp is almost spherical, 2.2--2.5 um in diameter, consisting of an apex and a nucleus. The apex is situated at the front part of the head. It is also called penetrator for its function of penetrating into egg. The neck is very short and is situated between the head and the tail. The sperm neck of Silver carp is about 1.1 um in length. The tail, narrow and long, is many times more than the head in length. The sperm tail of Silver carp is about 35um in length. The tail is the metabolic centre and motor organ.
Mature sperms congregate in ampullae cavities because of the disintegration of spore sacs. Sperms will mix with the fluid secreted by the interstitial cells in sperms and the testis, forming so-called milt. The milt may be exuded or pressed out of body at the climax of brooders' estrus. 1 ml of Silver carp's milt holds approximately 48 million sperms. The total amount of milt could reach 30--40 ml. (Fig. 1--20)
![]() |
1. apex 2. nucleus 3. neck 4. middle part 5. end-ring 6. spindle filament 7. plasm sheath 8. knots (front & rear) 9. flagellum |
Fig. 1--20 Structure of a sperm
(3) The development stages of the testis
Just as the ovary, the development of the testes may be divided into six stages according to its appearance and tissue slice observation.
Stage I testes: Testes are lineal in shape, transparent, attached closely to ceolomic wall. It is impossible to distinguish sexes. On the tissue slice, scattered spermatogonia, 16um in diameter may be observed. The nucleus is big and round, 9 um in diameter. Ampulli and seminal vesicles are still under formation; therefore, there is no clear fixed arrangement of sperm cells. Stage II testes: Testes are lace-like, transparent or non-transparent. Blood vessels are not clear. Histologic characteristics of this stage are multiplication of spermatogonia, formation of seminal vesicles which are arrayed in bundles. At this stage, ampulli are solid and separated by connective tissues.
Stage III testes: Testes are rod-shaped, pink or yellowish, elastic on surface with clear distribution of blood vessels. On the tissue slice, a hollow cavity may appear in the middle of solid ampullae with one or several layers of seminal vesicles on ampullar walls.
Stage IV testes: Testes are milky white in colour with a clear distribution of blood vessels on the surface. It is impossible to squeeze out milt at early stage, but possible at late stage. On the tissue slice, some larger primary spermatocytes, some smaller secondary spermatocytes and the smallest spermation can be observed. All these above-mentioned cells congregate on the walls of seminal vesicles with a small number of sperms.
Stage V testes: Testes are white in colour and full of milt. The milt will flow out through cloacal opening if a male fish's head is taken up and its belly slightly pressed. A large number of sperms and sperm cells in different stages could be seen inside ampulli on tissue slice.
Stage VI testes: The capacity of the testis has greatly decreased after milt exudation, yellowish-white or pink in colour on tissue slice. Only spermatogo nia, a little primary spermatocytes and connective tissues remain in seminal vesicles. After exudation, the testies of the male fish is turning back to stage III and will develop on.
3) Sexual cycle and maturity age of fish
There is a certain sexual cycle in the development and maturity of the gonads of fish. When fish reach the maturity age and have their first spawning or milt discharging, their gonads will develop cyclically on without ceas in the light of season changes which is termed sexual cycle. In pond culture, the sexual cycle of Silver carp, Bighead, Grass carp, Black carp and Mud carp are basically the same. But, in nature, they spawn once a year, so the sexual cycle is one year. In the southern part of China, the climate is rather warm. Through intensive culture, pond-reared spawners after spawning in spring can again reach maturity in the same year and be induced to spawn 2–3 times a year.
The sexual maturity and the gonad development of fish are tightly associated with environmental conditions that is water temperature, feeds, oxygen etc. Accordingly, there is a variance of fish sexual cycle in different regions. Even in the same region, the gonad development could not be totally the same owing to various conditions.
(1) Cyclic variance of ovary development
(gonad development of pond-reared Silver carp in Zhejiang Province) In winter (November---next January), the ovary is at stages I---III with average maturity coefficient 5---6%. Huge amount of lipid in fish body occupies about 3.5% of the body weight. Eggs of old generation are at the stage of degeneration and absorption, some of them have already been absorbed. The new oocytes begin to accumulate egg yolk.
In spring (February---April); the ovary is at stages III---IV with the maturity coefficient 5---10%. The lipid content of fish body decreases gradually while the new oocytes continuously accumulate egg yolk. From early April, egg cells begin to grow fast with the fish belly expanded. The ovary enters stage IV.
In summer (May---July), the ovary grows fast with obvious increase of weight, having passed through stage IV------maturity stage with maturity coefficient 17---20%. The lipid content of fish body reduce sharply; the belly is soft and expanded. If water temperature is favourable, inducement may be conducted.
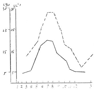
In autumn (August---October), already after ovulation, the ovary is in atrophy with the maturity coefficient around 10%. The majority of those ovaries that have not ovulated show apparent degeneration, returning quickly from stage IV to stage II. In winter, ovaries will develop again from stage II or stage III. The nutritive materials such as lipid will be gradually accumulated for the next sexual cycle. As Mud carp are subtropical fish, the gonad development requires higher temperature. The gonad develops slowly in winter when ovary is at stage II. Upto next April (water temperature 26°C in the southern part of China), the gonad develops quickly into stage IV. (Fig. 1---21)

Fig. 1--21 Annual variation of the development of the ovary of Silver carp cultured in ponds
(2) Cyclic variance of testis development
The development of male fish's testis is earlier than that of female's ovary. Generally speaking, it has already reached stage III in water and could exude a little milt under pressure in early spring and before reproduction season. In autumn, after milt-discharging, the sperms remaining in testis will be absorbed through degeneration. The spermatocytes of a new generation begin to grow. The testis takes another new sexual cycle. (Fig. 1---22)
| Fig. 1--22 Annual variation of the development of the testis of Silver carp cultured in ponds | ![]() |
(3). Maturity age
Under different geographical and ecological conditions, the maturity age of the same species is widely different. The maturity age of Silver carp, Bighead and Grass carp in the southern part of China is 1---2 years earlier than that in the northern part of China both for the male and female. (Table 1---7). And yet, even in the same region, it differs more or less under variant ecological conditions, for instance, in Jiangsu and Zhejiang Provinces, the maturing age for female Silver carp is 4 years, for Grass carp and Bighead 5 years, Black carp 7 years. If ecological conditions are suitable, the maturing age could be one year in advance. The males generally mature 1 year earlier than the females.
Table 1--- 7. Maturity age of Silver carp, Bighead, Grass carp and Black carp reared in pond (year)
| area | South China | Central China & East China | North China | North eastern China |
| species | ||||
| Silver carp | 2--3 | 3--4 | 3--4 | 5--6 |
| Bighead | 3--4 | 5 | 5--6 | 6--7 |
| Grass carp | 3--4 | 4--5 | 5--6 | 6--7 |
| Black carp | - | 5--7 | 7--8 | above 8 |
4) Fecundity
It refers to the number of mature eggs of a female fish before spawning or individual fecundity. The assessment of the fecundity of fish is based on maturing age, sexual cycle, brood amount, effective production of eggs and the survival rate of fry, etc.
Emphasis here is laid on the brood amount and spawning amount of pondreared Silver carp, Bighead, Grass carp and Mud carp.
(1) Chinese carps bear a great number of eggs and in many ways the eggs have similar features, for example, their maturity coefficient of ovaries is generally between 15---20%. The relative number of eggs is about 110---140 pieces. The brood amount does not apparently relate to regions, but to culture management (mainly nutrients) (Table 1---8)
| item | average body wt. (g) | average ovary wt. (g) | average absolute amount (piece) | average relative amount (piece) | maturity coefficient (%) |
| species | |||||
| Silver carp | 4,461 | 896.6 | 627,620 | 141 | 20.1 |
| Bighead | 8,640 | 1,540 | 1,078,000 | 124 | 17.8 |
| Grass carp | 6,310 | 1,079 | 755,300 | 120 | 17.1 |
| Black carp | 21,950 | 3,446 | 2,412,500 | 114 | 15.6 |
| Mud carp | 850 | 136 | 204,000 | 240 | 16 |
(2) Production of eggs: Under artificial propagation, the average egg production of Silver carp, Bighead, Grass carp and Black carp is 50 pieces per gram of body weight. The highest is 100 pieces/g. The average amount of Mud carp is a bit higher because the eggs of Mud carp are much smaller. (Table 1---9).
Table 1---9. Egg production of Black carp under artificial peopagation
| Item | statistical | highest amount per gram of body weight | average amount per gram of body weight |
| species | |||
| Silver carp | 50 | 75.4 | 51.8 |
| Bighead | 29 | 77.6 | 58.8 |
| Grass carp | 76 | 103.0 | 47.7 |
| Black carp | 27 | 125 | 49.3 |
| Mud carp | - | 211 | 77.9 |
5) Relationship between endocrine system and gonad development
Just like other vertebrates, all physiological activities inside the body will be regulated and controlled principally by nervous system and endocrine system, of which the pituitary gland or hypophysis, gonad and thyroid are closely associated with the gonad development of fish.
(1) Structure and function of hypophysis
The hypophysis of fish is located below on the ventral side of the thalamencephalon and attached to the hypothalamus. It's divided into two parts: the neuro hypophysis and the adenohypophysis. the neuro hypophysis is directly connected to hypothalamus with its nervous fibres and blood vessels planted deep into the adenohypophysis. The adenohypophysis could be divided into anterior lobe (pro-adenohypophysis), the transitional lobe (meso-adenohypophysis) and the posterior lobe (mota-adenohypophysis). The anterior lobe is situated nearest to the thalamencephalon where there is a little distribution of nervous branches and blood vessels. The transitional lobe is situated at the lower front of the anterior lobe and the posterior lobe is situated at the lower front of the transitional lobe. (Fig. 1--23)
![]() |
1. meso-adenohypophysis 2. pro-adenohypophysis 3. mota-adenohypophysis 4. neurohypophysis |
Fig 1--23 Illustrated vertical section of Grass carp's hypophysis
The meso-adenohypophysis of the hypophysis of fish contains a sort of basophils which can secrete sexual hormone, i.e. FSH (Follicle stimulating Hormone). These agents can stimulate the growth, development, maturity and ovulation of eggs. They can either promote the synthesis secretion or estrogen or the formation of sperm and the secretion of antrogen.
The sex stimulating hormone of the hypophysis of fish varies with the ages and seasons. As a rule, the secreted amount of hormone by mature fish is great er than by immature fish and higher before spawning than after spawning. Not only the hypophysis of the same species can be used for estrualization but also that of the same genus can be basically applied to one another and the hypophysis of most of the same family can be adopted reciprocally. For example Common carp and Silver carp do not belong to the same genus but do to the same family. If the hypophysis of Common carp is used to induce Silver carp for spawning, it is effective and vice versa.
(2) Gonad: The gonads of fish produce germ cells --sperm cells and eggs and secrete sexual hormone as well. The male sex hormone secreted by the testes is called antrogen. The female sex hormone secreted by the ovary is called estrogen. The hormone causes the development of subsidiary sexual organs and secondary sexual character and the appearance of sexual behaviour. Other endocrine glands affect the development of gonads directly or indirectly, e.g. the thyroid gland secretes thyroxine which can provide the indispensable energy for spawning under low temperature; adrenal cortex (internal tissue) secretes adrenal cortex hormone which can regulate the metabolism of carbonhydrates and also function in the control of salt and water balance.
6) Function of nervous system in propagation
Propagation of fish is a rather complicated process, which demands that a living organism have a continuous balance between the internal make-up and the external ecological conditions, only by which can the organism survive. The realization of this balance relies upon the coordination of nervous system and body fluid regulatory system and their mutual restriction.
The whole process of the gonad development of fish is to a great extent, con trolled by the hypophysis, whereas the secretion of the hypophysis is in turn controlled by the external factors through nervous system.
In nature, the spawning of Silver carp, Bighead, Grass carp and Black carp from the relative stage IV to spawning stage V is fundamentally controlled by the external ecological conditions during the natural reproduction process It is easy to understand by the following block diagram.
(Figure 1--24)

Fig. 1--24 Sketch of fundamentals of natural propagation for Chinese carps
It shows that when certain ecological conditions-- light intensity, water temperature, running water and opposite sex stimulate the external sense organs--skin, lateral, senses of sight & hearing, the nerves of these organs will give impulses immediately, which will be conveyed into the central nervous system and they will in turn, urge hypothalamus to release a hormone or polypeptide, i.e. LRH. This hormone stimulates through the portal vein or the hypophysis, the basophilous cells in the hypophysis to release (LH) leutinizing hormone and follicle stimulating hormone (FSH), then these hormones flow into the gonad through blood circulation, promoting the growth and development of gonads. Meanwhile, gonads also secrete a sort of sexual hormone, which can affect the hypothalamus and the hypophysis in return making the spawners and the milters perform sexual activities of chasing each other an estrus, natural courtship, spawning or releasing milt.
7) Influence of ecological conditions on gonad development
Owing to their continuous adaptation to external environments over their long period of evolution, fish have formed their respective demands for different ecological conditions. Fish will demonstrate a fine growth and development if ecological conditions are favourable. If the relevant ecological conditions are lacking, the growth and development will, to some extent, be restricted; if the conditions are excessively unfavourable, fish will die.
The principle ecological requirements are nutritions, temperature, current, dissolved oxygen and light intensity etc. These conditions lay a constant and comprehensice effect on the growth of fish and the development of gonads.
(1) Nutrition
Only under a rational nutritional condition can the gonads of fish develop well; hence, at the early developmental stage (stages II & III) of the ovary, the maturity coefficient is generally 5--6%. The nutrient substance, the egg yolk starts to accumulate, therefore, fish obtain protein and fat from outside for the development of gonads and convert the excessive surplus energy to fat for storage. As a result, fish are quite fat at that time. In late spring i.e. late April or early May with the rising of temperature, the ovary grows quickly the maturity coefficient rapidly increases to 12--20%. The fish have accumulated large amount of nutrient substance for the egg yolk and continue to absorb nutrition from outside for maintaining normal living activities, then they transform the stored nutritional fat into egg yolk nutrients for the growing & development of gonads.
The facts above-mentioned show that if the broodfish have good rearing conditions and are able to accumulate sufficient nutrient substance in autumn after spawning season, furthermore, the nutrition level and good conditions are maintained in spring, the gonad of fish would mature earlier and the broodamount would be great; if not, the development of the gonads of fish might be restricted or even the gonads could not reach maturity.
Among the nutrients such as protein, fat, carbohydrates, vitamin and minerals, the most needed for the development of the gonads is vitamin E. On the basis of practices, better results come from the supplies of feeds full of vitamin E in early spring, like wheat sprouts, rice sprouts, lettuce leaves and Lactuca Indica etc. (Table 1--10)
Table 1--10 Relationship between feeds and the fecundity of Grass carp
| fine feeds g/day/ind | green feeds g/day/ind | statistical nr | egg production per kg of body wt. | |
| corn, ricebran | 125 | 577 | 51 | 38,214 |
| wheat sprout rice sprout soybean peanut dreg | 45 | 800 | 22 | 57,500 |
| rice rice minced barnyard grass seed | 57 | 260 | 52 | 20,446 |
| rice rice minced barnyard grass seed rice bran | 105 | 240 | 65 | 27,236 |
However, the blind offering of abundant feeds with a neglect of other living conditions will make the fish rather fat, while the development of the gonads will be restrained; therefore, the nutrition is not the only factor. It must be combined with other conditions so that the gonads can have a better development and reach maturity.
(2) Water temperature
Water temperature is a significant factor affecting the metabolic rate of fish. The maturing age of fish is also closely with water temperature. It also affects the developmental rate of the gonads of fish. Table 1--11 shows such relationship.
Table 1--11 Relationship between maturity age and water temperature and total heat
| Province | Guangxi | Guangdong | Jiangsu | Heilongjiang |
| Item | ||||
| growth period (month) | 12 | 11 | 8 | 5.5 |
| Average water temperature (°C) | 27.2 | 25 | 24.1 | 20.0 |
| Total heat degree/day | 9.792 | 8.250 | 5.780 | 3.333 |
| Maturity age | 2 | 2–3 | 3–4 | 5–6 |
| Total heat maturity period degree/day | 19.584 | 16.500 – 24.750 | 17.340 -- 23.120 | 16.665 -- 19.998 |
| Average total heat maturity period degree/day | 19.584 | 20.625 | 20.230 | 18.315 |
Remarks:
The growth period is counted when the monthly average water temperature is above 15°C.
Total heat during the growth period, the formula is as follows: Total heat = average water temperature during the growth period × days
The formula : Total heat during the maturity period = total heat during the growth period × maturity age
Owing to diferrent water temperatures and the growth periods in South China and North China, Silver carp have different maturity ages; anyhow, the total heat needed for maturity is basically identical, about 18,000–20,000 degree/day. This shows a positive relationship between the gonad developmental rate and the water temperature (heat). To raise the water temperature is an effective measure to mature the gonad and to get early estrualization during the broodfish culture period in the North.
(3) Running water
The letting-in of fresh water into broodfish rearing ponds at definite or indefinite time can keep water quality good which makes fish comfortable and is benefitial to the growth of fish. At the same time it can regulate the composition of the natural feed, in order to make it more reasonable and to raise the nutritional level of the broodfish. The stimulation of running water has a marvelous effects on the development of the gonads, especially when the germ cells develop to stage IV. It will accelerate the process of metabolism and the process of transformation from stored nutrients to the gonads. Furthermore, according to experiments, it may stimulate hypothamamus to synthesize and release large amounts of LRH, which will further stimulate hypophysis to release sex stimulating hormone, then the spawners are induced to estrualize and lay eggs. (Table 1--12)
Table 1--12 Effects of running water on spawning and fertilization of spawner's eggs
| Item | Total body wt. of spawner (kg) | egg amount (piece/kg) | spawning rate (%) | fertilization (%) | letting- in of freshwater |
| species | |||||
| Silver carp | 121 | 10.9 | 90 | 82 | before spawning |
| Ditto | 215 | 13.0 | 100 | 82 | slight all year |
| Ditto | 169 | 6.7 | 85 | 50 | no |
| Grass carp | 101.5 | 10.1 | 100 | 89 | slight all year |
| Ditto | 108.5 | 11.6 | 100 | 88 | before spawning |
| Ditto | 60 | 6 | 91 | 30 | no |
Slight running water all year round is very effective to Silver carp. Slight running water all year round and letting-in of fresh water before spawning have the same effects on Grass carp, but no running water is not so good for spawning of Silver carp and Grass carp and fertilization of eggs.
4) Dissolved oxygen:
Oxygen is one of the most elementary living factors for fish. It guarantees the metabolism of fish through their respiration. When the dissolved oxygen content is 2 mg/L in ponds, the normal physioligical activities are sharply affected with fish gasping for air. The excessive consumption of energy inside fish body will harm the development and maturity of the gonads of spawners. In such case, most of the induced brood fish fail to spawn properly. Especially as spring comes, the demand for oxygen is becoming urgent, usually above 4--5 mg D.O./L. If the water is clear with rich D.O.C., the brooders spawn normally. In brood fish culture, due attention must be paid to manuring, feeding amount, stocking density and the timely letting-in of fresh water and continuous improvement of fish living conditions.
Besides the aforementioned ecological factors--nutrients, water temperature, dissolved oxygen, which promote the development and maturity of the gonads of fish, there are also light intensity, salanity, and the presence of opposite sex etc. Each of these is part of comprehensive factors which control the progress of the sexual cycle of fish.