Acting Chief, Crop Protection Division,
Bureau of plant industry (BPI), Department of Agriculture,
692 San Andres St., Malate, Manila, Philippines
ABSTRACT
In 1952, the national rat control drive unknowingly started Integrated Pest Management (IPM) in the Philippines using control strategies with a wide range of methods. However, it was only in 1978 that the Philippine Department of Agriculture, through the Bureau of Plant Industry, formally introduced IPM to educate the farmers on the concept and practice of need-based insecticide spraying. Subsequently, recognizing that IPM is information-based and decision-intensive, the IPM programme departed radically from the dominant crop protection approach of calendar spraying. In May 1986, through a presidential pronouncement by then President Corazon C. Aquino, the Philippines adopted IPM as the core of crop protection policy in agriculture. Since then, IPM has evolved into a dynamic, practical and farmer-driven activity, aiming at countering the overuse of chemical insecticides that has resulted in many undesirable problems and causing deep concern over a number of issues relating to ecology, environment and the human health.
The IPM training approaches prior to late 1980s followed the concept of pedagogy, or the art and science of teaching children, using the traditional lecture or didactic approach to learning. However, in 1991, the andragogic approach to IPM extension education was launched in Antique Province through the Antique Integrated Area Development Program with assistance from the FAO Intercountry Programme for Integrated Pest Control in Rice in South and Southeast Asia. The approach, patterned after that of the Indonesian National IPM Programme, was discovery-based, experiential and participatory in nature. It applied the art and science to help adults learn.
On 3 May 1993, former President Fidel V. Ramos launched a revitalized National IPM Programme through Memorandum Order No. 126. Dubbed as Kasagaanna ng Sakaban At Kalikasan or KASAKALIKASAN, it is the Philippine government's commitment to Agenda 21 of the United Nations Conference on Environment and Development in promoting sustainable agriculture and rural development. The National IPM Programme aims to make IPM the standard approach to crop husbandry and pest management in major areas of rice, corn and vegetables in the Philippines. KASAKALIKASAN, using the andragogic approach, trains farmers and empowers them to become experts in their own fields by developing their ability in making critical and informed decisions, rendering crop production systems more productive, profitable and sustainable.
Today, KASAKALIKASAN takes a new flight as the National IPM Programme expands its reach, sharing its experiences to other field of endeavour. Likewise, the Philippines takes the lead in establishing the ASEAN IPM Knowledge Network as its initiative for regional cooperation in sustainable development. The electronic, Internet-like, and wide-area network seeks to help ASEAN countries improve the effectiveness of IPM implementation by making knowledge sharing easy among national IPM programmes.
INTRODUCTION
KASAKALIKASAN, the local name for the Philippine National Integrated Pest Management (IPM) Program, stands for Kasaganaan ng Sakahan at Kalikasan. In was launched by then President Fidel V. Ramos on 3 May 1993 to train farmers in order to empower them to become experts in their own fields by developing their ability to make critical and informed decisions, as well as, to render crop production systems more productive, profitable and sustainable. It aims to make IPM the standard approach to crop husbandry and pest management in rice, corn, and vegetable production in the Philippines.
Through the Farmer Field Schools (FFSs), the programme has been extraordinarily successful in applying an experiential learning approach to enable farmers to practise IPM. Its training strategy involves getting farmers into the field over the entire season to grow a healthy crop. The training process is predicated on farmers' experiences and capabilities to discover and master scientific management skills.
Test results of knowledge, attitude, and practice (KAP) of FFS farmers in rice, corn, and vegetable production showed significantly higher ratings compared to an assigned passing mark. Majority of the FFS farmers applied the IPM principles they have learned in the FFSs, such as, the use of appropriate varieties and the practice of sound cultural management that includes proper land preparation, water and nutrient management, and control of insect pests and weeds. Results indicated that the participatory, experiential, and discovery-based learning technique used by KASAKALIKASAN was effective in enhancing farmers' ecological knowledge and skills in growing healthy crops.
On the whole, KASAKALIKASAN has ushered in a significant shift in the paradigm of agricultural extension in the Philippines. It has significantly reduced the use of insecticides, as shown by the increased number of insecticide non-users and the reduced frequency of insecticide application by users after the FFS. The impact of the FFS can be seen in the shift among farmers from using extremely toxic to least toxic insecticides. Yields in rice, corn and vegetables in almost all the provinces covered by an impact study also exhibited modest to substantial increases and resulted in attractive economic returns. The FFS has put in place a mass of skilled and dedicated farmers, who along with the local governments, are mobilizing local resources and support for IPM programme. Today, KASAKALIKASAN takes a new flight as the Programme shares its experiences and expands its reach to other fields of endeavour.
HISTORY OF PLANT PEST MANAGEMENT CURRICULUM
Before 1970s to Late 1980s
The national rat control drive in 1952 unknowingly started the IPM implementation in the Philippines. Control strategies included a wide range of conventional reductional methods, which include physical, cultural, biological, chemical and legislative control. Following the introduction and increased demand for agro-pesticides after World War II, many issues were raised concerning ecological balance and human health. This was because pesticides misuse have resulted in widespread loss of beneficial and non-target species and increased the buildup of pesticide resistance and incidence of pest resurgence. All these have led to major pest outbreaks in rice and vegetables (Sumangil et. al., 1991).
The period of 1970s in Philippine agriculture was identified with the effective control of ricefield rats, brown planthopper resurgence, pesticide resistance and heightened endeavour to establish national self-sufficiency in rice through the Masagana 99 Program. Under the Masagana 99 Rice Production Program (M-99), pesticide provision came along with a package of technology (POT) as a condition to avail production loan. The technoguide ‘Sixteen Steps for Masagana 99 Rice Culture’ recommended that rice farmers apply pesticides 6–9 times per cropping season as a preventive measure on a calendar basis. However, it was subsequently found that yields were not paying off because of the heavy use of pesticides which was not only unnecessary but also extremely expensive (Callo, Jr., 1990). Moreover, it was even harmful in causing pest outbreaks because the intensive chemical treatments killed natural enemies of pests (Kenmore, et. al., 1986).
In 1978, the Philippine Department of Agriculture (DA), through the Bureau of Plant Industry (BPI) formally introduced IPM to educate the farmers on the concept and practice of need-based insecticide spraying. This radically departed from the dominant crop protection method of calendar spraying since the IPM programme was information-based and decision-intensive.
In May 1986, through a presidential pronouncement of then President Corazon C. Aquino, the Philippines adopted IPM as the core of crop protection policy in agriculture. Since then IPM has evolved into a more dynamic, practical and farmer-driven activity.
A low pest profile and absence of contemporary pest outbreaks characterized the 1980s. It was during this period when separate IPM technologies for black bug and the golden apple snail were developed. Additional technologies on economic threshold levels (ETLs), pest monitoring, judicious use of pesticides and enhancement of endemic beneficial insects have helped to adjust the earlier national IPM recommendations. To best mobilize all Philippine resources to achieve the goals of the IPM programme through strengthening and applying community-based knowledge, strong collaborative efforts by both the government and private sectors in research, training and extension at the regional level (moving quickly to the local levels subsequently) was necessary. In the training component, the training needs of the different target groups were found to differ. The target groups included subject matter specialists (SMS), municipal experts and village extension trainers (pesticide dealers, field agents, and paramedics), plantation workers and the farmers. Thus, development of the various training curricula need to consider the following (Callo, Jr., 1990):
Types of training courses. During this period, the IPM training courses were of four types. These were: (i) Specialized Training Courses for National Trainers (NTs), Research and Extension Specialists (RES); (ii) SMS Training Course; (iii) Training Courses for Municipal Experts and Village Extension Trainers (MEVET); and (iv) Training Courses for Farmers and Farmer-Leaders (FFL).
Training content and plans. The subject matter content and training plans were prepared based on the results of baseline surveys which assessed the actual local problems and priorities. Regardless of the type of training course, the activities consisted of 60% fieldwork, 15% laboratory work, 20% classroom work and 5% self-study. The specialized training course had a duration of four weeks or approximately 200 contact-hours; SMS training course had time frames of 12–14 days or 72–96 contact-hours; MEVET training course usually lasted for 5–7 days or 42–50 contact-hours; and farmers' training course had a duration of 3–5 days or 30–35 contact-hours.
Selection of training participants. In the case of participants in training of farmers, the selection started with farmer-leaders, opinion leaders within farmers' associations and out-of-school youths. These people were perceived as more effective agents of change than were the other members in the community. On the other hand, only full-time extension agents who have shown interest and commitments in the IPM programme were selected as participants in MEVET training course. In practice, only participants who excelled in MEVET training course were selected to undergo the SMS training. Participants who excelled in SMS training were then selected to undergo NTS or RES training.
Training methodologies. Regardless of the type of training course conducted, direct teaching and extension methods were employed. The former involved demonstration, practice, test, monitoring and impact evaluation. The extension methods made use of: (a) field walks to trouble shoot pest problems, (b) labelling results of demonstrations, (c) field and home follow-ups, and (d) informal group discussions. For NTS, RES, SMS and MEVET training courses, additional extension methods were used, namely: (a) practice teaching, (b) establishing action research and results from demonstrations, (c) conducting baseline surveys, and (d) conducting training classes for agricultural production technicians (APTs) and for farmers. The activities illustrating each training methodology are summarized in Table 1.
Motivational procedure. Regardless of the type of training course conducted, the participants were motivated in IPM technology through scaring sessions and lecture-discussion on the profitability of IPM technology. Scaring sessions usually included topics, such as: (a) fear arousal in pesticide usage and (b) locally available alternatives for pesticides. On the other hand, the profitability and other benefits of the IPM technology were discussed by comparing yields and profits, including the incentives when the IPM technology was employed.
Table 1. Training methodologies and activities under each type of IPM training course, Philippines 1990.
Activities or methods used in a training course
Activities or methods not included in a training course
Early 1990s Torrent
Since 1991, a pilot IPM project in Antique, Central Philippines, has been extraordinarily successful in applying an experiential approach which enabled farmers to use IPM in growing rice and other associated food crops. The project was carried out with technical assistance and supplemental funding from the FAO Intercountry Programme for Integrated Pest Control in Rice in South and Southeast Asia (Medina and Callo, Jr., 1999). This was patterned after the training strategy that was developed by the Indonesian National IPM Programme. It involved getting trainers and farmers into the actual crop for an entire season to learn and grow the crop by practical experience. The training contents were predicated on the assumption that farmers needed a better understanding of the factors affecting crop growth as part of the crop-field agroecosystem. Farmers, through the field training, became equipped to make their own assessments of the balance between pests and their natural enemies in their own fields; hence they were able to make the rational decisions on how to manage their crops.
On 3 May 1993, the former President Fidel V. Ramos launched a revitalized National IPM Programme through Memorandum Order No. 126. Dubbed as Kasaganaan ng Sakahan At Kalikasan or KASAKALIKASAN, it is the Philippine government's commitment to Agenda 21 of the United Nations Conference on Environment and Development in promoting sustainable agriculture and rural development. The programme aims to make IPM the standard approach to crop husbandry and pest management in major rice, corn and vegetable areas in the Philippines (Binamira, 1999). Specifically, the programme's objectives are to:
Enhance a farmer's knowledge and skills in using IPM in crop production through field-based experiential learning activities, field-testing of IPM technologies in agricultural crops and incorporating them into training activities;
Establish firmly the continuation of non-formal education (NFE) in crop protection for farmers at the provincial up to the municipal level; and
Put in place the policy and legislative framework that will facilitate the long-term success of the programme activities.
KASAKALIKASAN trains farmers and empowers them to become experts in their own fields by developing their ability in making critical and informed decisions, including making crop production systems more productive, profitable and sustainable. The training approach is essentially andragogic. Hence, it is experiential, discovery-based, group-oriented, involves critical thinking and adopts a horizontal relationship among learners and trainers. Its learning process revolves around the following basic practices:
Growing a healthy crop by using resistant varieties, better seed selection process and efficient nutrient, water and cultural management;
Conserving beneficial insects like predators and parasitoids; and
Observing fields weekly to determine management actions necessary to produce a profitable crop.
The above practices do not disrupt the agroecosystem, allowing natural pest control to take place. They also minimize pesticide usage such that it is economical and is relatively safer for humans and the environment.
The training process is based on farmers' experience and their capabilities to discover and master scientific crop management skills. Evaluations have shown that farmers involved in the pilot project used significantly less pesticide, obtained equal or better crop yields and earned higher incomes from their crops. Of even greater significance in the long term was the awakening of farmers' interest in crop ecology. This enabled them to quickly adapt into their local conditions any new agricultural innovations that they perceived to be beneficial (Philippine National IPM Programme, 1993).
Types of training activities. Under KASAKALIKASAN, the current Philippine National IPM Programme supports four distinct training activities to institutionalize this new IPM training philosophy at the local levels. These training activities are:
Training of Trainers (TOT) for field workers as IPM trainers. A cadre of selected field workers from local government units (LGUs) and non-government organizations (NGOs), including farmer-leaders, in the targeted provinces are given intensive training (three days a week) over a season-long TOTs of 4–5 months. Upon graduation, these trained field workers are relocated on a full time basis to train farmers in FFSs in their respective communities or villages.
Training of Specialists (TOS) for IPM specialists. Selected IPM trainers undergo an intensive season-long TOSs (4–5 months; six days a week). Upon graduation, they are deployed as IPM Field Officers, who in turn are responsible in conducting TOTs in their respective provinces. The Philippine Rice Research Institute (PhilRice), the University of Southern Mindanao (USM) and Benguet State University (BSU) are the lead agencies in the TOSs for rice, corn and vegetables, respectively.
Farmer Field School for farmers' training by IPM trainers. In an FFS, farmers meet in a ‘learning field’ (of at least 1,000 sq m) for half-day a week in a season-long training of 4–5 months. IPM Training Teams, composed of two trainers in conjunction with at least two extension workers, undertake four FFSs every cropping season. Each FFS consists of 25–30 farmers. In addition to training at FFSs, these teams, in partnership with LGU extension workers, will make regular follow-up activities of FFS farmer-graduates, particularly on the farmers' field investigations and to update them on new IPM and related technologies and to foster group cohesion and farmer empowerment.
Training of Farmer Trainers (TFT) for farmer-to-farmer training. After an FFS, volunteer farmer-graduates are trained as IPM farmer-facilitators to undertake FFSs among fellow farmers.
Characteristics of the approach. A season-long IPM training brings farmers and trainers together to carry out an intensive training on IPM methods and issues over the life cycle of the crop. The FFS trains farmers to become IPM experts in their own fields. An FFS is located in the area where the IPM trainer normally works. In teams of two, the IPM trainers manage two farmers' groups with the assistance of two extension workers already working in the area or village on a long-term basis. Each FFS meets for half-day each week over the duration of the crop production season. The IPM Training Team meets once a week to plan the following week's FFS activities. Before the FFS begins, extension workers in the area should have already received one week of FFS orientation. The orientation focuses on IPM principles and methods, as well as the roles of IPM trainers and extension workers in conducting the FFS. During the orientation, the extension workers assist the trainers in planning two FFSs and in developing the FFS follow-up plans in the extension workers' areas. The principles that guide an FFS learning process are:
The field is the primary learning resource. All learning activities take place in the field or are based on what is happening in the field. The field becomes the main reference, the primary learning materials and the focus of learning.
Experience form the basis of learning. All learning is based on the farmers' experience in the field. The activities that take place in the field form the basis for discussion and analysis by farmers who arrive at concepts which they test and improve through further field activities.
Decision-making guides the process. Training is focused on the agroecosystem analysis (AESA) of the crop. This analysis helps farmers gain insights into the ecological interactions in the field. The combination of analytical methods, ecological insights and basic IPM principles, such as growing a healthy crop, provides farmers with a wide knowledge base that helps them gain confidence in their decision-making skills.
Training lasts the entire growing season of the crop. Each FFS lasts the entire growing season of the crop. Farmers acquire a firm understanding of the relevant IPM concepts for each stage of the crop growth; from planting to harvest. Thus, farmers learn the factors that influence decision-making in pest control at all stages of the plant growth.
Curriculum development is well-coordinated with the local field conditions. The FFS curriculum is based on the materials used for the TOT. The materials selected are based on appropriateness to the FFS, local conditions of the FFS, and the problems and needs of the farmers participating in the FFS.
The FFS curriculum. FFSs are based upon a solid, field-tested curriculum and material package that cover an entire crop production season and directly incorporate key IPM principles. The IPM trainer has experienced and practised all the activities used in the FFS during his/her own intensive season-long IPM training. The materials used for IPM training, namely ‘Field Guide of Discovery-Based Exercises for (Rice, Corn or Vegetables) IPM’, ‘Handbook of Non-Formal Education and Team Building Exercises for Integrated Pest Management’ and ‘KASAKALIKASAN, The National IPM Program Document’, provide the basis for the FFS curriculum. These materials are used based on their appropriateness to the FFS conditions. A typical day for an FFS is divided into three parts as shown in Table 2.
During the 14–16 weeks, which typically cover the crop season, farmers in an FFS will have the opportunity to observe a crop in every stage of its growth and development. Field monitoring activities in small groups will result in an agroecosystem drawing that is used for analysis. This is related to plant growth, agronomy, crop-field ecological issues (e.g., effects of soil fertility, water, weeds, etc.) and decision-making questions that would serve as discussion guide. These are treated in both small and big group discussions.
The small group discussions get farmers to talk about their ideas on what is happening in the field and why these things are happening. The training team circulates among the groups and helps them to examine their ideas by posing problems and various scenarios. The large group discussion is the time when small groups can present their ideas to the full group. During discussion time, the trainers help farmers clarify their thinking by posing ‘what if’ scenarios. The trainers also use this time to present any additional information related to plant growth and ecosystem issues that have been missed out in the discussions.
Table 2. Typical schedule for any given day of a farmer field school on integrated pest management, Philippines 2000.
| TIME | ACTIVITY/TOPIC |
|---|---|
| 07:00–08:00 | • Field Monitoring in Small Groups |
| 08:00–09:00 | • Agroecosystem Analysis (AESA) and Discussions in Small Groups |
| 09:00–10:00 | • Large Group Discussions |
| 10:00–10:15 | • BREAK |
| 10:15–10-45 | • Group Dynamics Activities in Large or Small Groups |
| 10:45–11:45 | • Special Topics Activities in Large or Small Groups |
| 11:45–12:00 | • Evaluation of the Week's Activities and Planning for Next Week's Activities |
Group dynamics activities are included in the FFS. These activities help to develop the participants into a closely-knit IPM team. They establish a learning climate that is enjoyable and less formal. They also help participants to experience and identify various aspects of team work, such as mutual support, importance of individual role to the team's success and the behaviours that can build or hinder team work. Likewise, they may help the participants experience what can be accomplished by working together.
The special topic sessions might concern particular issues such as rat damage or they may be involved in a field study being carried out in the FFS learning field. These special topics usually vary from FFS to FFS and reflect the individual FFS needs. Some of the topics are planned in advance of the FFS while others are developed as the FFS progresses. A schedule for special topics in a season-long FFS might look like those shown in Table 3.
Table 3. Sample schedule for special topics in a season-long farmer field school on integrated pest management, Philippines 2000.
| WEEK | SPECIAL TOPIC |
|---|---|
| 1st Week | • Pre-test |
| • What is this? (Functional roles in the ecosystems) | |
| 2nd Week | • Integrated Soil Management |
| 3rd Week | • Parasitoids and Chemical Pesticides |
| 4th Week | • Predators and Insect Zoos |
| 5th Week | • Insect Pathogens and Biological Pesticides |
| 6th Week | • Life Cycles and Food Webs |
| • Rodent Population Dynamics | |
| 7th Week | • Organizing Community-based Rodent Management Strategies |
| 8th Week | • Designing an IPM Decision-making Tool |
| 9th Week | • Pest Resurgence and Pesticide Resistance |
| 10th Week | • Weeds and Weed Management |
| 11th Week | • Diseases and Disease Culture |
| 12th Week | • Folk Media and Field Day |
| 13th Week | • Varieties and Seed Production |
| 14th Week | • Harvest and Post-Harvest Management |
| 15th Week | • Marketing and Cost-Return Analysis |
| 16th Week | • Post-Test |
Selecting the FFS site. The IPM trainers make a map of the area in which they plan to work. On this map, they identify where their office will be situated, outline the extension areas for which they are responsible, and identify the extension worker(s) responsible for each aspect of work. Each of these extension areas is then evaluated on the basis of a set of criteria. These include: (i) extent of intensively cropped fields within an extension area, (ii) accessibility of the area from the trainers' and extension workers' rural extension center, (iii) sufficient number of participating farmers, including the presence of active farmers' groups in the extension area, and (iv) competency of the extension workers assigned in the area. Extension workers, working with the IPM trainers, are to help determine which farmers' groups will be the sites for FFS. They also help to develop a curriculum and plan for FFS activities based on the local conditions and issues.
Selecting the participants. Each extension worker works with 5–10 farmers' groups. The extension worker selects two farmers' groups from his or her extension area and the participants for the FFS are selected from these groups. The farmers' groups are generally selected on the basis of the extension workers' knowledge of the group, how active the group is, and the advice of local government officials. Participation of local government officials in the selection of the farmers' group is important. They are first briefed on the goals of IPM and the FFS. Their support of the FFS will help eliminate any misunderstanding at the local level.
The IPM Training Team then meets with the leaders of the selected farmers' groups to brief them on the purposes of IPM and the goals of the FFS. Final selection of the participants is carried out with their help. Only 25–30 farmers may participate in the FFS. The following criteria are crucial for selection of FFS participants:
The participant must be an active farmer. This means that the participant has access to land which he or she actively farms. Of lesser importance is the extent of the land being farmed or whether the land is actually owned by the participant;
The participant must be able to attend all of the FFS sessions. The participant must have the time to attend every session as each session builds on earlier sessions and on the growth of the crop; and
The participant must be willing and able to act as informant about IPM for the rest of the members in his or her farmers' group. Implied in this criterion is the ability and willingness of the farmer to communicate with others and his/her willingness to accept the responsibility of helping his or her neighbours.
THE REFORM OF CURRICULUM
Pedagogical (Before 1970s to Late 1980s)
Essentially, the IPM training approaches or methodologies used before 1970s to late 1980s were pedagogical in nature. These approaches and methodologies approximated the concept of pedagogy, which means the art and science of teaching children to learn (Medina and Callo, Jr., 1999). It used the traditional lecture or didactic approach to learning.
Attitudinal relationships in this approach were nearly always on the parent-child, teacher-pupil, professor-student, or guru-disciple level. The teacher or trainer was an authority figure; he/she was the centre and the star in the learning process. It meant drawing conclusions from accepted or already known principles, concepts, generalizations, as well as theories, and to infer from them so as to expand the principles further. The main objective of learning was to increase or change the factual knowledge, with the hope that the latter will be applied to life. Training approaches and methodologies during this period conformed very well with the obsolete Training and Visit (T&V) extension system espoused by the academe, particularly the National Crop Protection Center (NCPC) of the University of the Philippines in Los Baños (UPLB) between 1970s and 1980s. This was the chief extension strategy of the Philippine Masagana 99 Rice Production Program in the early 1970s.
Masagana 99, the green revolution for rice and the apparent forerunner of IPM in rice in the Philippines, advocated the use of short, early maturing, high yielding pest resistant varieties to complement pest-suppressing cultural and physical practices. The strategy also demanded an increase in use of fertilizers and pesticides; the latter as preventive measure by calendar applications that have resulted in more pest outbreaks and higher crop loss ultimately. The inadequacy of the T&V method in IPM extension work highlighted the need for a more comprehensive extension approach that would permit proper use of pesticides and adaptation of improved crop protection technologies (Sumangil, et. al., 1991).
Introducing farmers to IPM practices has proved to be difficult. Conventional extension methods that were classroom-based could not be adapted to the local conditions, allowing only one-way flow of information from extension agents to the farmers. The latter received the same pre-determined advice regardless of the diversity of the agroecological environment and the pest problems.
Andragogical (Early 1990s to the present)
In contrast, the IPM training approaches or methodologies used in the late 1990s are andragogical in nature. These approaches and methodologies approximate the concept of andragogy, which means the art and science of helping adults learn (Medina and Callo, Jr., 1999).
In the learning process, a set of individual cases or circumstances is presented for study. From their own empirical observations, participants formulate concepts, establish general principles, and perhaps evolve theories that will provide greater clarity to the understanding of these cases or circumstances. The learning process is evocative, dialogic, participatory and experiential.
The andragogic approach to IPM extension education that was successfully piloted in 1991 was essentially discovery-based, experiential and participatory in nature and has the following features:
The learning process was aimed at building farmers' capabilities in internalizing crop management skills through discovery and experience;
Trainers, acted more as facilitators, and farmers were considered partners, hence nobody dominated the learning process;
Trainers and farmers learned together by practical experience in the field in one whole cropping season;
Learning was founded on the concrete analysis of the crop-field agroecosystem; and
Farmers, who were facilitated by trainers, made their own assessments on the balance between pests and the beneficial organisms.
Andragogy as a learning strategy uses mostly NFE methods and approaches. NFE methods and approaches, as knowledge management strategies, bring about sharing of knowledge and the creation of new knowledge, and in the process empowers the participants. Activities focus on allowing participants to observe, discuss, interact, brainstorm, as well as perform analysis, including making critical decisions and solve problems (Callo, Jr., et. al., 1999).
Essentially, NFE is a participatory educational process based on the assumptions that the adult learners can contribute to the learning process. When adult learners decide to participate in any learning activity, they bring along a wealth of experience, knowledge and skills. They are armed with their own beliefs, values, and convictions. They have their own perceptions, biases and feelings. With such a background, the adult learner is the richest resource in the learning process (Ortigas, 1997).
NFE methods and approaches encourage participants to see themselves as an important source of information and knowledge about the real world. When they are encouraged to work with the knowledge they have gained from their own experiences, they can develop strategies together to change their immediate situations. Such learning experiences may take place in several ways as described below (Society for Participatory Research in Asia, 1987):
Existing popular knowledge is recognized and valued. The learning process starts with the assumption that participants already possess some knowledge. Participants do not start with a clean slate. In this approach, the synthesis of popular knowledge with existing scientific knowledge strengthens the learning experience of the participants.
New knowledge is built on the existing knowledge. In the learning process, the starting point for creating new knowledge is the existing knowledge that people already have, in particular the fundamental elements. As people begin to appreciate what they already know, they are more open to seek new information. This desire to seek new information and knowledge enhances the learning process.
Participants learn to exercise control. The learning process puts emphasis on the active participation of participants in generating their own knowledge. This encourages them to take the responsibility for their own learning. It is this active posture which constitutes a powerful impetus for learning and for learners to exercise control over their learning.
Learning becomes a collective process. One of the elements of NFE is the promotion of collective responsibility for seeking new knowledge. As a result, participants learn to get together, collectively seeking and analyzing information.
Learning creates informed options. The very process of collectively analyzing a given situation throws up various alternatives. As part of the process of analysis, options are debated on the basis of concrete information. As a result, participants are able to accept and reject options on an informed basis. This creates a sense of empowerment, which is based on the confidence that the information has been understood and interpreted.
Actions emerge out of this analysis. The very act of involvement in the process of analyzing a given reality creates a sense of ownership of that knowledge and a willingness to transform that situation. The participants are then able to take concrete actions.
Guided by the above, where possible, facilitators should create a learning situation where adults can discover answers and solutions for themselves. People remember the things they have said themselves best, so facilitators should not speak too much. They need to give participants a chance to find solutions before adding important points that the group has not mentioned (Hope and Timmel, 1994).
The institutionalization of andragogy as a learning approach in Philippine agricultural extension is one of IPM's lasting legacies. In every assessment of the Philippine National IPM Programme, the very high degree of success attained by the programme activities was attributed to the participatory, experiential and discovery-based learning approaches in the FFS.
CURRICULUM DEVELOPMENT IN AGRICULTURAL UNIVERSITIES
AND RELATED INSTITUTES OF THE PHILIPPINES
The National Crop Protection Center of the University of the Philippines at Los Baños
The NCPC of UPLB was created under Presidential Decree (PD) No. 936 issued on 21 May 1976 in response to the need of the country to have a unified approach to research, training and extension programme in crop production (Davide, 1990). However, at the conception of NCPC, the T&V extension system was the main extension strategy in agricultural development, such as the Masagana 99 Rice Production Programme and Masagana Corn Production Program, which included crop protection as an important programme component. At that time, agricultural extension was also a function of the DA and the academe, including the UPLB.
During this period, DA was dependent on the academe for development, packaging, and to some extent, even in the implementation of crop protection programmes of the government. For this reason, curriculum development in crop protection was more often patterned after the pedagogical learning methods, which the academe were more familiar with. Thus, even the mandate of NCPC were developed to reflect the traditional didactic approach to crop protection, such as:
To undertake problem analysis, developmental research and planning required to develop crop protection systems against pests of major economic crops;
To develop and implement manpower training programmes designed to upgrade the pool of manpower required to meet the complex pest control needs of the country;
To undertake information exchange and extension to provide farmers and the public with coordinated information about the varied facets of pest control and to emphasize the urgent need for safe and effective pest control practices;
To establish adequate linkages between research and operational phases at the farm level in order to ensure that the changing research needs of operational activities are met and that operational activities are based on the most recent and applicable findings; and
To provide scientific advice to government planners for the formulation of policies and regulatory programmes necessary for dealing with the complex pest control technologies essential for the protection of crops.
In the 1980s, however, a series of reorganization took place in the Philippine agricultural extension system. Firstly, the once centralized DA was decentralized, moving many research, training and extension functions from the central to the DA regional offices. Secondly, commodity agencies were created to do research, training and extension functions for various commodities. These included the Philippine Coconut Authority, Philippine Cotton Research and Development Institute, Philippine Tobacco Research and Training Institute, Fiber Industry and development Authority, Sugar Regulatory Administration, and Philippine Rice Research Institute, among others. Thirdly, a new Local Government Code was passed into law devolving the extension function of the DA to the LGUs and NGOs.
The Bureau of Plant Industry's Crop Protection Division and Regional Crop Protection Center of the Philippine Department of Agriculture.
With the abolition of the Philippine Bureau of Agriculture and the birth of the BPI in 1930, Crop Protection Division (CPD) underwent a series of reorganization (Panganiban, 1981). Under the same PD 936, which created NCPC in 1976, the CPD Chief became its ex-officio Deputy Director. One of the functions of the CPD was to provide technical assistance, coordination, and where necessary, supervision over regional facilities of the Regional Crop Protection Centers (RCPCs) and the Surveillance and Early Warning Systems (SEWS). It also included curriculum development in crop protection for the local communities in close collaboration with the RCPCs and LGUs.
In 1986, when IPM was proclaimed as the core crop protection policy in Philippine agriculture, CPD assumed a more important role in enhancing local implementation of applied research, training and extension programmes in crop protection. During this period, although the training approach was less participatory and experiential, many field-based activities were already conducted using hands-on and demonstration methods, which more or less approximated the current discovery-based approach of the FFSs.
Progressing from the failure of the traditional T & V extension system to that in which complex IPM messages were delivered effectively to farmers was truly a period of reckoning. It was also the transition period between the KAP approach and the current participatory, experiential and discovery approaches of the FFS that was espoused by the FAO Intercountry Programme for Integrated Pest Control (IPC) in Rice in South and Southeast Asia. However, compared to the T & V extension approach, the KAP approach was a more revolutionary way in developing farmers' skills. The latter approach, for instance, has enabled farmers (mostly under paddy conditions) to achieve in 3–5 days the capacity to separate out natural enemies from the key rice pests, understand and use action thresholds, and to apply insecticides judiciously (Bautista and Sumangil, 1987).
CURRICULUM DEVELOPMENT OF IPM TRAININGS
Use of Non-Formal Education or Farmer Field School Approach
Paticipatory and cooperative approach
The concept of FFS is centred on farmer participation and empowerment. It is concerned with improving decision-making skills and stimulating organized action. Through empowerment, “farmers learn to stand on their own and think for themselves … farmers learn to do their own field observations, make their own discoveries, make their own decisions, and take action on their own” (FAO, 1997). Hence, the core of the IPM learning process is made up of farmers engaged in self-discovery, finding solutions to technical and social aspects of crop production.
From a philosophical perspective, participation makes IPM farmers see themselves as unique individuals, and at the same time, active members of the farm community. Accepting participation as a basic human need implies that participation is a human right, and that it should be accepted and fostered for itself alone and for its results. Farmer participation is not simply a fringe benefit that authorities may grant as a concession, but a human being's birthright that no authority can deny him of. The institutionalization of farmers' participation in agricultural development requires a change in mindset. This is quite possible if the basic paradigms on which agricultural institutions are currently built undergo significant change. Since the Philippine National IPM Program concept is participative and empowering, it also calls for a programme approach that is participative, collaborative, flexible, and network-based (Medina and Callo, Jr., 1999).
Discovery-based methods
Essentially, the heart of the Philippine National IPM Programme is the FFS. An FFS is a ‘school without walls’, bringing farmers together to undergo an intensive training on IPM over the entire life cycle of the crop. Thus, FFS farmer-participants meet for 14–16 weeks (a whole cropping season), from land preparation to harvest. Each FFS has at least 1,000 sq m to 2 ha ‘learning field’. Each week, farmers practise AESA in the ‘learning field’ which includes plant health, water management, weather, nutrient management, weed density, disease surveillance, as well as, observation and collection of insect pests, beneficial predators, and parasitoids. Through direct experience and critical analysis, farmers interpret their observations in the AESA to make field management decisions. An FFS therefore trains farmers to become experts in their own fields.
Experiential learning approach
In small group discussions, farmers share their ideas on what have been happening in the field and why these things are happening. Facilitators circulate among the group and help farmers analyze their observations by posing problems and create different scenarios. In the large group discussions, the small groups share their ideas with the whole FFS group. Facilitators help participants in the discussion, posing ‘what if’ scenarios. They also share additional information related to plant growth and ecosystem not covered by the group discussions.
Capacity and Capability Building for Implementation of Local IPM Programmes
Building field extension confidence through competence
KASAKALIKASAN trains a cadre of extension workers from the LGUs and NGOs, including farmer-trainers, in season-long IPM TOTs. The TOT course requires trainee-participants to grow several fields of rice, corn or vegetable crops, and perform all the tasks, including land preparation, planting, weeding, fertilizing, managing pests and harvesting the crop. The trainee-participants conduct specific field studies addressing local field problems and share discovery activities that illustrate basic IPM principles. Trainees learn about experimental methods, statistics, economic analysis, and ecosystem analysis, so that they can better assist farmer groups in implementing local field studies.
Group dynamics emphasizing horizontal communication and group cooperation are also part of the core of TOT curriculum. Trainees test their facilitating skills in FFSs, which are conducted as integral part of the TOT. They guide farmers in making observations and analyses, and in conducting comparative IPM plots and other IPM study activities.
Through hands-on training, extension workers become competent ‘farmers’ with better agronomic and analytical skills, building within a sense of self-confidence and respect for farmers as partners in development.
Strengthening farmer organizations
The National IPM Program is revitalising farmer organizations and farming communities by organizing and conducting IPM FFSs. Discovery-based learning techniques, experiential learning methods and cooperative approaches bring about creation of new knowledge, the sharing of knowledge and empowerment of farmers. The FFSs provide the farmers' first experience with experimentation based on ecological principles, participatory training and NFE methods. Once the foundation is laid, farmers are better able to act on their own initiatives and to sharpen their observations, research and communicative skills.
Reshaping public opinion through programme advocacy
The National IPM Program takes a proactive stance in reshaping public opinion on pesticides by providing field orientation and information to national and local government officials and policy makers, journalists, NGOs and consumer groups.
At the village (barangay) level, farmers promote IPM through ‘horizontal communication’ activities. These include field days, folk media presentations, IPM fairs and exhibits, farmer-government dialogues and IPM farmer congresses.
PROSPECTS
Community-based IPM Programmes
Today, KASAKALIKASAN takes a new flight as the Program expands its reach, sharing its experiences to other fields of endeavour (Binamira, 1999). In response to the demands of the Program's stakeholders, KASAKALIKASAN carries out the following developmental activities:
Building management expertise of LGUs on IPM for secondary and migrant pests, especially, the Malayan rice black bug, locusts, golden apple snail and rats.
The expansion of the farmer-managed participatory technology development (PTD) activities through the BPI.
The conduct of pilot FFFSs on backyard livestock production with the Bureau of Animal Industry.
The conduct of FFSs on child nutrition and maternal care with the National Nutrition Council.
The expansion of the IPM farmer-to-farmer extension approach within agrarian reform centers with the Department of Agrarian Reform.
The conduct of pilot FFSs on social reforestation with the Department of Environment and Natural Resources.
A joint participatory and community-based health monitoring programme involving agricultural high school students with the Department of Education, Culture and Sports, and the Department of Health.
International Collaboration and Knowledge Networking
KASAKALIKASAN has learned a great deal from other countries in the ASEAN region. Its training methodologies were first used in Indonesia through the FAO Intercountry Programme for IPC in Rice in South and Southeast Asia. Field studies have been adapted from research activities undertaken at various international research organizations, such as, the International Rice Research Institute (IRRI) and the CABI International Institute of Biological Control (CABI-IIBC). Collaboration continues, as experiences and new approaches developed in the Philippines are now being shared with other national programmes.
The Philippine model, with its strong policy support, commitment of resources, emphasis on human resource development, ecological perspective and participatory training methodologies, is being closely watched by other countries. Policy makers and field training teams from more than forty countries have visited the Philippines to learn what can be adapted from KASAKALIKASAN.
KASAKALIKASAN continues to maintain its strong linkages with the FAO Programme for Community IPM in Asia through the implementation of community-based IPM activities as follow-up to FFSs. Building from its collaboration with the FAO Farmer-centered Agricultural Resources Management Program, the Programme continues to support integrated soil management (ISM) initiatives under the FAO Special Programme for Food Security.
The Programme has built and expanded its cadre of IPM trainers, providing technical assistance in the conduct of IPM training activities in Asia (viz: Bangladesh, Cambodia, India, Loa PDR, Sri Lanka and Thailand) and in Africa (viz: Ghana and Kenya).
Today, the Philippines takes the lead in establishing the ASEAN IPM Knowledge Network as its initiative for regional cooperation in sustainable development. The electronic, Internet-like, and wide-area network seeks to help ASEAN countries improve the effectiveness of programme implementation by making knowledge sharing easy among national IPM programmes.
REFERENCES
Bautista, A. V. and Sumangil, J. P. 1987. Status of integrated pest management in the Philippines. Paper presented for the Workshop on Integrated Pest Management and Integrated Nutrient Management held on 28–29 July 1987 at the International Rice Research Institute, Los Baños, Laguna. 15 pp.
Binamira, J. S. 1999. KASAKALIKASAN Country Report of the Philippines. Pp 5– 14. Paper presented at the Meeting of the Programme Advisory Committee of the FAO Programme for Community IPM in Asia held on 16–18 July 1999 at Yogyakarta, Indonesia.
Callo, Jr., D. P. 1990. The Department of Agriculture's Training Program in the Extension of Integrated Pest Management Technology. Pp 135–141. In: Proceedings National Conference and Workshop on Integrated Pest Management in Rice, Corn and Selected Major Crops held on 01–03 March 1990 at the National Crop Protection Center, University of the Philippines Los Bafios, College, Laguna.
Callo, Jr., D. P., Cuaterno, W. R., and Tauli, H. A. (eds.). 1999. Handbook of Non-Formal Education and Team Building Exercises for Integrated pest Management. SEAMEO Regional Center for Graduate Study and Research in Agriculture, College, Laguna, Philippines. 206 pp.
Davide, R. G. 1990. The Role of National Crop Protection Center in the Development and Institutionalization of Integrated Pest Management Programme. Pp 207–214. In: Proceedings National Conference and Workshop on Integrated Pest Management in Rice, Corn and Selected Major Crops held on 01–03 March 1990 at the National Crop Protection Center, University of the Philippines Los Baños, College, Laguna.
FAO. 1997. Project Development: Report of the Food and Agriculture Intercountry Integrated Pest Control Programme in Rice in South and Southeast Asia. Makati City, Philippines. 54 pp.
Hope, A. and S. Timmel. 1994. Training for Transformation 1: A Handbook for Community Workers. Mambo Press, Gweru, Zimbabwe. 147 pp.
Kenmore, P. E., Litsinger, J. A., Bandong, J. P., Santiago, A. C., and Salac, M. M. 1986. Philippine rice farmers and insecticides: thirty years of growing dependence and new options for change. Unpublished Report. 13 pp.
Medina, J. R., and Callo, Jr., D. P. (eds.). 1999. Empowering Farmers: The Philippine National Integrated Pest Management Programme, Second Edition. SEAMEO Regional Center for Graduate Study and Research in Agriculture, College, Laguna, Philippines. 146 pp.
Ortigas, C. D. 1997. Training for Empowerment. Office of Research and Publication, Ateneo de Manila University, Loyola Heights, Quezon City. 156 pp.
Panganiban, D. F. (ed.). 1981. Fifty Years of the Bureau of Plant Industry. Bureau of Plant Industry, Malate, San Andres, Manila. 353 pp.
Philippine National IPM Programme. 1993. Kasaganaan ng Sakahan at Kalikasan, The Philippine National IPM Programme Document. National Agricultural and Fishery Council, Department of Agriculture, Diliman, Quezon City, Philippines. 52 pp.
Society for Participatory Research in Asia. 1987. Participatory Training for Adult Educators. Society for Participatory Research in Asia Publication, New Delhi, India. 105 pp.
Sumangil, J. P., Dancel, A. J., and Davide, R. G. 1991. National IPM in the Philippines: A Country Report. Pp 28–31. Conference on Integrated Pest Management in the Asia-Pacific Region held on 23–27 September 1991 at Kuala Lumpur, Malaysia.
Director of Biological Agriculture Branch,
Office of Biological Agriculture and Farmers Field School,
Department of Agriculture Extension,
2143/1 Phahonyothin Road, Chatuchak, Bangkok
ABSTRACT
The concept of Integrated Pest Management (IPM) in Thailand has been established prior to 1975, mainly to cope with pest problems, intensive use of pesticides and environmental concerns. Manuals for rice, vegetables, soybean, mung bean and cotton have been produced to train extension workers in IPM concepts, pests and their natural enemies, economic threshold analysis and control measures. In 1992, a curriculum for season-long training in rice was first drafted, but it was not widely used in the extension system. In 1994, the Integrated Pest Management in Selected Fruit Trees Project introduced “The IPM Extension Programme” and produced the curricula for durian and mango. These were for extension workers to use as guides in their work with fruit growers. However, in 1998, a more recent approach to IPM in rice and vegetables was developed under the Royal Initiative. It introduced a training process focusing on human resource development and using the experiential learning and empowerment approach. The curricula for trainers and for farmers are being developed for use in Training-of-Trainers courses and in Farmer Field Schools.
INTRODUCTION
Around 1969, during the period of “Green Revolution”, the Thai Government's policy on agriculture was to increase crop production, which also led to the increasing use of fertilizers and pesticides. Thus, the concept of Integrated Pest Management (IPM) was established even prior to 1975, mainly to cope with pest problems, intensive use of pesticides and related environmental concerns. The early IPM strategies focused mainly on field scouting, pest forecasting and spraying decisions based on economic threshold analysis of the major pests. Most of the research was oriented towards the development of spraying thresholds and on integrating other control tactics.
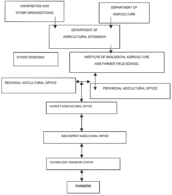
From the 1980s onward, the design for IPM focused on on-farm trials and the strategy to transfer useful concept and technologies (Figure 1). The use of economic threshold analysis to assist decision on chemical control has been shown to be profitable when compared to calendar pesticide application. However, this approach with threshold analysis did not work well with farmers due to its complexity. Moreover, most farmers, as well as the extension workers, have long been accustomed to using pesticides on a prophylactic basis and so found it difficult to adopt the threshold analysis concept. Thus, for effective IPM transfer, it was evident that there must be intensive and adequate training for both the extension agents and the farmers.
Figure 1: Technology Transfer in Extension System

CURRICULUM DEVELOPMENT IN AGRICULTURAL EXTENSION
In 1981, pest management in rice was carried out largely through the Surveillance and Early Warning System (SEWS). After modification in 1984, this system was practised nationwide. The manual for the SEWS training course was produced to train Plant Protection Specialists in IPM concepts, pest and natural enemy identification, economic threshold analysis and the relevant control measures. Farmers were also trained to sample their fields using standard procedures. This concept was applied also to other crops, such as, vegetables, soybean, mung bean and cotton. The manuals were produced to serve as guidebooks for extension workers to transfer the pest management technologies to farmers. In 1990, the methods for implementing IPM in rice were modified through the technical assistance of the Food and Agriculture Organization of the United Nations (FAO). It was carried out under the FAO Inter-Country Programme for Integrated Pest Control in Rice in South and Southeast Asia. A Working Group for launching the IPM strategy was established and curriculum development workshops were held. In 1992, the first rice IPM curriculum for farmers was developed and used by the extension workers. The contents of the curriculum, which was designed for season-long training, included activities for field-based learning. The curriculum also served as a model for learning rice ecology in primary schools under the Office of Primary Education Commission, Ministry of Education.
Since 1996, manuals for IPM in fruit crops, including durian, mango, tangerine, and pomelo, were published to serve as guidebooks for Subject Matter Specialists (SMSs), extension workers and farmer leaders. Later, the IPM field guides on durian, mango and soybean were distributed to extension workers nationwide.
CURRICULUM DEVELOPMENT FOR IPM TRAINING
1. IPM Training in Selected Fruit Trees.
In late 1989, the Department of Agriculture Extension (DOAE) and the Department of Agriculture (DOA), in cooperation with the Thai German Project (GTZ), initiated the IPM Programme in Selected Fruit Trees. The crops included durian, mango, pomelo and tangerine. During the first phase of two-and-a-half years, the project emphasised pest monitoring and collecting data on pests, natural enemies and the economic parameters. In the second implementation phase, from 1994 onwards, the project focused on extension strategies and launched the IPM extension programme in the Eastern Region of Thailand. This programme took on a participatory learning approach, with emphasis on how to work together with the durian and mango growers. The respective Working Groups produced the curricula for these crops. Members of the Working Groups comprised of SMSs from Provinces in the Eastern Region, staff of the Regional Plant Protection Office, and personnel from the Plant Protection Service Division. The curricula consisted of extension unit modules, each dealing with a specific topic. All unit modules described the steps and methods to help growers learn and to apply what they have learnt. In practice, field-level extension agents (or Kaset Tambol) and SMSs learned together with the fruit growers. The former has the responsibility to facilitate the meetings, which were held regularly with the fruit growers in the orchard where the learning took place (Figure 2).
Figure 2. Elements of Participatory Learning and Action.
(Source: Arthur DelVecchio, 1995)

2. IPM Training in Rice and Vegetables
This more-recent approach to IPM in rice and vegetables has been implemented nationwide. It started in 1998 under the Royal Initiative with technical assistance from the FAO Programme for Community IPM in Asia and the Inter-Country Programme for the Development and Application of Integrated Pest Management in Vegetable Growing in South and South-East Asia. In this approach, there are four basic principles in the practice of IPM, namely, (1) Grow a healthy crop, (2) Observe the field weekly to determine management actions, (3) Conserve natural enemies, and (4) Farmers become experts in their fields. The IPM paradigm shifted from technology components to ecosystems. An important concept of this new approach is to develop human resource capacities through season-long training for farmers in the so-called Farmer Field Schools (FFS) and for extension agents in Training-of-Trainer (TOT) courses. The strategies to this approach are:
2.1 Curriculum Development for Trainers:
Curricula in rice and vegetables (cabbage), consisting of learning processes and skills needed to facilitate farmers, are produced for the season-long training.
2.2 Training of the Trainers (TOT):
TOT courses are designed to prepare the trainers and extension agents to conduct FFS training. In the conventional training, the role of the extension agents is to deliver the messages and instructions to farmers. Under this new strategy, the extension agents will have to change their role from instructors to facilitators. The methods used during the TOT training are the same as those to be used in facilitating the farmers. Essentially, they are trained to develop technical and facilitation skills in order to lead the learning-by-doing activities with farmers. The training schedule consists of three days at the training site and the other two days conducting FFS in a selected farm.
2.3 Farmer Field Schools (FFS):
The FFS is a school without walls, where farmers come together on a weekly basis to learn about IPM. The duration of the FFS training is for the whole cropping season, from planting to harvest. Farmers work in different groups to conduct agro-ecosystem analysis, including data analysis and presentation, make field observations, study special topics and participate in group dynamics. Special topics are discovery learning activities based on the needs of the farmers or on the immediate problems in the fields.
2.4 The Field Guide:
The Field Guide is the curriculum for farmer training developed from the experiences gained in conducting FFS by facilitators. It is the collection of discovery-based exercises using experiential learning and empowerment approaches.
At present, a total of five TOT courses have been conducted, three in rice, and two in vegetables (cabbage and chinese kale). The facilitators comprised of 100 graduates from the DOAE and 15 others from the Department of Non-Formal Education. Under the DOAE, a total of 76 FFSs have been conducted throughout the country, 64 in rice and 12 in vegetables.
PROSPECTS
1. By this year, expansion of the training activities will include:
2. The concepts of the new IPM approach (grow healthy crops, observe field weekly, conserve natural enemies, and farmers understanding ecology as experts in their own fields) will be expanded to other economic crops such as tomato, yard bean and soybean.
3. Farmer graduates from FFSs will organize Farmer-to-Farmer training for other local farmers.
4. Problem-solving experiments and ecological knowledge developed by trained farmers to be disseminated among the farmer communities to help sustain IPM agricultural practices.
REFERENCES
DelVeecchio, Arthur. 1995. Participatory Learning and Action. Department of Agriculture, Department of Agricultural Extension, Deutsche Gesellschaft fur Technische Zusammenabeit (GTZ) GmbH.
Van de Fliert, Elske. 1993. Integrated Pest Management: farmer field school generate sustainable practices. A case study in Central Java evaluating IPM training. Wageningen Research Programme on Knowledge Systems for Sustainable Agriculture. 304 pp.
Napompeth, B. 1981. Pest management in Thailand. Biological control as a key component in integrated pest management system. Procs. Symp. Pest Ecol. and Mgmnt. BIOTROP, Bogor, Indonesia.
Napompeth, B. 1982. Biological control research and development in Thailand. Pp. 301–323. Procs. International Conference on Plant Protection in the Tropics. MAPPS, Serdang.
Rumakom M., et al. 1991. National IPM in Thailand. Pp. 201–236. Procs. Conference on Integrated Pest Management in the Asia-Pacefic Region, 23–27 September 1991. Kuala Lumpur, Malaysia.
Instructor, Department of Entomology,
Faculty of Agriculture, Kasetsart University,
50 Phahonyothin Road, Bangkhaen,
Chatuchak, Bangkok 10900, Thailand
ABSTRACT
Kasetsart University (KU), a state university among the present 24 public and 43 private universities and institutions in Thailand, has established seven campuses that are distributed to cover the main regions of the country. The teaching curricula include many subject areas covering agriculture, science, arts, social science, humanity, education, engineering, and architecture. Recently, the university has also included medicine and health science.
The Faculty of Agriculture consists of nine departments offering various undergraduate and post-graduate study programmes. For the four-year undergraduate programmes, seven kinds of degree courses are offered. Pest Management, an inter-departmental programme, is one. It is designed for students with a career interest in science and technology in pest management. The students conduct inter-disciplinary studies with insects, plant diseases, weeds and other pests, with an emphasis on management systems that are sustainable, as well as, ecologically and economically sound.
Since establishment in 1986, the pest management curriculum at KU has been evaluated a number of times. The problems of students are: (i) they lack agriculture practical training, (ii) they found difficulty in writing scientific papers, (iii) they have problem with foreign language training, and (iv) they have limited choice in the subjects they want. The new four-year Pest Management curriculum, established in 1998, requires a total of 139 credit hours; 31 credits for general education, 102 credits for specific requirements and 6 credits for free electives.
INTRODUCTION
Kasetsart University (KU) was established on 2 February 1943 with the prime aim of promoting subjects related to agricultural sciences. It is a state university within the present 24 public universities and institutions and 43 private universities and institutions in Thailand. (For more information, please see the website http://www.inter.mua.go.th and http://www.ku.ac.th). KU has revised its curricula and expanded the subject areas to cover science, arts, social science, humanity, education, engineering and architecture. Recently, the university has also included medicine and health science. KU has established seven campuses that are distributed to cover all the major regions in Thailand. At present, the number of enrolled students at all levels of study is 23,000. Today, KU has 13 faculties, a graduate school, several institutes and a number of offices, including the Australian Studies Center (ASC) that was set up in late 1994.
The Faculty of Agriculture is one of the faculties of KU established at its inception in 1943. It currently conducts teaching and carries out research in both the Bangkhaen and the Kamphaengsaen campuses. The Faculty consists of nine departments, i.e. Agricultural Extension and Communication, Agronomy, Animal Science, Entomology, Farm Mechanics, Home Economics, Horticulture, Plant Pathology and Soil Science. Through these departments the faculty offers various undergraduate and graduate study programmes with a total of about 3,000 students. For the undergraduate programmes, seven four-year curricula are being offered. One is the degree of Bachelor of Science in Agriculture with seven fields of emphasis (Agricultural Extension and communication, Animal husbandry, Agronomy, Entomology, Horticulture, Plant Pathology and Soil Science). Others are degrees for Bachelor of Science in Animal Science, Agricultural Chemistry, Agricultural Biotechnology, Farm Mechanics and Home Economics. There is also an interdepartmental programme leading to a Bachelor of Science in Pest Management. Presently in Thailand, the King Mongkut's Institute of Technology Ladkrabang and Prince of Songkla University also offer Bachelor degree programmes.
The Pest Management programme in the Faculty of Agriculture at KU is designed for students with a career interest in the science and technology of pest management. Students in the programme conduct inter-disciplinary studies on insects, plant diseases, weeds and other pests, emphasizing the development of management systems that are sustainable, ecologically acceptable and economically sound. The inter-disciplinary nature of the programme is reflected in the involvement of, and sponsor by, several relevant and different departments, in particular Agronomy, Entomology, Horticulture and Plant Pathology.
Graduates are expected to have a broad knowledge on matters in agriculture and horticulture, including the major pests of important plants. They should be able to diagnose pest problems and recommend acceptable management measures to overcome the problems. They should be well versed in the pest management concept, capable of identifying pests and their injury symptoms, and are able to understand economic implications when making decisions on follow-up actions. Moreover, graduates are made aware of up-to-date and technologically advanced pest management tactics, and are guided to become skillful in applying them. Students educated in pest management may find employment opportunities with government agencies, agricultural chemical companies, or other concerns that produce, process, and market the nation's food and fiber. They may also work directly with farmers or in other farm level activities.
The old pest management curriculum at KU was established in 1986. Students must complete 149 credit hours and undergo at least 300 hours of training programme. Table 1 summarizes the curriculum for the Pest Management course.
Table 1. Structures of the old (1986–1997) and new (1998-up to date) Pest Management Curriculum.
| No. | Courses | Credits | |
|---|---|---|---|
| old | New | ||
| 1 | General Education | 64 | 31 |
| 1.1 Science and Mathematics | 37 | 7 | |
| 1.2 Language | 9 | 12 | |
| 1.3 Social Science and humanity | 16 | 10 | |
| 1.4 Physical Education | 2 | 2 | |
| 2 | Specific Requirements | 76 | 102 |
| 2.1 Core Courses | 33 | 56 | |
2.1.1 Science group, 31 Cr. | - | ||
2.1.2 Agricultural group, 25 Cr. | - | ||
| 2.2 Major courses | 31 | - | |
| 2.3 Minor courses | 12 | - | |
| 2.4 Specific courses | - | 37 | |
| 2.5 Specific electives (4 groups) | - | 9 | |
| 3 | Free Electives | 3 | 6 |
| 4 | Training Course | 6 | * |
| Total minimum requirement | 149 | 139 | |
* These are already included in other specific courses.
Over the last few years, the Pest Management programme has encountered a number of problems. For students in particular, they (i) lack agriculture practical training, (ii) found difficulty in writing scientific papers, (iii) have problem with foreign language training, and (iv) have limited choice in the subjects they want. These have been recognized by both the faculty members and the university administration. Even though the pest management curriculum at KU has been evaluated a number of times since establishment in 1986, a review was again made in 1996 to examine the courses and requirements to ensure that students can fully benefit from the new Pest Management curriculum. The new four-year Pest Management curriculum, finalized in 1998, requires a total of 139 credit hours; 31 credits for general education, 102 credits for specific requirements and 6 credits for free electives. Students need to maintain a grade point average of at least 2.00 (or better) on the scale of four points in order to qualify for the degree in Bachelor of Science (Pest Management). More details of this curriculum are as shown in Table 2.
Table 2. Curriculum for Bachelor of Science (Pest Management) with total minimum requirement of 139 credits.
| 1. | Basic Requirement | (31 credits) | |||
| 1.1 | Science and Mathematics, 7 credits | ||||
| - 420119 | Abridged Physics, 4 credits | ||||
| - 999xxx | Integrated course in Science and Mathematics group, 3 credits | ||||
| 1.2 | Language | (12 credits) | |||
| - 355111 | Foundation English I (do not count for the credit) | ||||
| - 355xxx | English, 9 credits | ||||
| - 999021 | Thai Language for communication, 3 credits | ||||
| 1.3 | Social Science and Humanity | (10 credits) | |||
| - 102181 | Introduction to Economics, 3 credits | ||||
| - 371111 | The use of Library Resources, 1 credit | ||||
| - 999xxx | Integrated courses in Social Science, 3 credits | ||||
| - 999xxx | Integrated course in Humanity, 3 credits | ||||
| 1.4 | Physical Education | (2 credits) | |||
| - 175xxx | Physical Education activities, 1, 1 credits | ||||
| 2. | Specific Requirement | (102 credits) | |||
| 2.1 | Core Courses, (56 Credits) | ||||
| 2.1.1 | Science groups, 31 credits | ||||
| - | 401114 General Botany, 3 credits | ||||
| - | 403111 General Chemistry, 4 credits | ||||
| - | 403112 Laboratory in General Chemistry, 1 credit | ||||
| - | 403221 Organic Chemistry, 4 credits | ||||
| - | 403222 Laboratory in Organic Chemistry, 1 credit | ||||
| - | 416311 Principles of Genetics, 3 credits | ||||
| - | 417116 Elementary Applied Mathematics, 4 credits | ||||
| - | 419211 General Microbiology, 3 credits | ||||
| - | 419214 Laboratory in General Microbiology, 1 credits | ||||
| - | 422111 Principles of Statistics I, 3 credits | ||||
| - | 424111 Principles of Biology, 3 credits | ||||
| - | 424112 Laboratory in biology, 1 credit | ||||
| 2.1.2 | Agricultural groups | (25 credits) | |||
| - | 015111 Overview in Agriculture, 1 credit | ||||
| - | 015151 Computer for Agricultural Science, 2 credits | ||||
| - | 015211 Agricultural Extension and Technology Transfer, 3 credits | ||||
| - | 015221 Animal Science and Technology, 3 credits | ||||
| - | 015231 Crop Science and Technology, 2 credits | ||||
| - | 015241 Introduction to Entomology, 3 credits | ||||
| - | 015251 Agricultural Machinery and Equipment, 3 credits | ||||
| - | 015261 Soil Science, 3 credits | ||||
| - | 015271 Horticultural Science and Technology, 2 credits | ||||
| - | 015281 Introductory Plant Pathology, 3 credits | ||||
| 2.2 | Specific courses | (37 credits) | |||
| - | 004312 Economic Entomology, 3 credits | ||||
| - | 003419 Weed Biology, 2 credits | ||||
| - | 008481 Diagnosis of Plant Diseases, 3 credits | ||||
| - | 011399 Practice in Pest Management I, 2 credits | ||||
| - | 011411 Fundamental of Pest Management, 3 credits | ||||
| - | 011451 Ecology of Crop Pests, 3 credits | ||||
| - | 011471 Pesticides and Their Application, 4 credits | ||||
| - | 011497 Seminar, 1 credit | ||||
| - | 011498 Special Problems, 2 credits | ||||
| - | 011499 Practice in Pest Management II, 2 credits | ||||
| - | 119111 Introduction to Agricultural Economics, 3 credits | ||||
| - | Choose 9 credits from the following courses | ||||
- 011431 Vertebrate Pests of Agricultural Crops, (3 credits) | |||||
011432 Natural Enemies of crop pests and Management (3 credits) | |||||
| - | 011433 Plant Protection Laws (2 credits) | ||||
| - | 011441 Management of Economic Crop Pest, (4 credits) | ||||
| - | 011443 Postharvest Pest Management, (3 credits) | ||||
| 011452 Forecasting of Pest Outbreaks and Crop Loss Assessment, (3 credits) | |||||
| - | 011472 Pesticide Application Technology, (3 credits) | ||||
| 011491 Research Methodology in Pest Management, (3 credits) | |||||
| - | 011496 Selected Topics in Pest Management, (1–3 credits) | ||||
| 2.3 | Specific electives | (9 credits) | |||
| Choose 1 branch from the total of 4 branches. | |||||
| 2.3.1 | Agribusiness branch | (9 credits) | |||
| Choose 9 credits from the following courses: | |||||
| - | 009221 Principles of Farm Management | ||||
| - | 119331 Principles of Agricultural Marketing | ||||
| - | 119371 Introduction to Agribusiness | ||||
| - | 119372 Agribusiness Process | ||||
| - | 131211 Business Finance | ||||
| - | 132111 Principle of Management | ||||
| - | 132141 Introduction to Business Law | ||||
| - | 145111 Principles of Marketing | ||||
| - | 355233 Correspondence | ||||
| 2.3.2 | Research branch | (9 credits) | |||
| Choose 9 credits from the following courses: | |||||
| - | 011491 Research Methodology in Pest Management | ||||
| - | 355224 Technical English | ||||
| - | 401351 Introductory Plant Physiology | ||||
| - | 402311 Biochemistry I | ||||
| - | 402312 Laboratory in Biochemistry I | ||||
| - | 402312 Statistical Analysis and Experimental Designs | ||||
| - | 422427 Statistical Analysis Using Statistical Packages | ||||
| 2.3.3 | Agricultural Environment branch | (9 credits) | |||
| Choose 9 credits from the following courses: | |||||
| - | 003421 Plant Climate | ||||
| - | 004461 Insect Ecology | ||||
| - | 009422 Soil and Plant Relationship | ||||
| - | 009472 Soil and Water Conservation | ||||
| - | 009481 Soil Pollution and Its Management | ||||
| - | 119405 Economics of Sustainable Agriculture | ||||
| - | 301201 Resource and Environmental Conservation | ||||
| - | 355224 Technical English | ||||
| - | 401481 Plant Ecology | ||||
| - | 422411 Statistics for Environmental Science | ||||
| 2.3.4 | Specific person branch | ||||
Choose 9 credits from any courses in KU. Students wishing to choose this branch must plan the courses with the advisor. After consultation with the advisor, the Chairman of Pest Management and Dean of Faculty of Agriculture will be assigned, depending on the interest of the student. The student should finish this process within first semester of the third year programme.
| 3. Free elective | 6 credits |
In conclusion, it is pertinent to point out that to many Thai educators today, an adequate Agricultural Education means students should at least be able to understand both the pure and applied scientific research in agriculture in support of the National Economics and Social Development Plan. Also, during their undergraduate education they should have sufficient exposure beyond their specialist areas. The necessary steps in restructuring the Pest Management Curriculum have been made to ensure that these main goals can be achieved.