by
HILMAR KRISTJONSSON
Chief, Fishing Operations Branch
Fishery Resources and Exploitation Division
Department of Fisheries, FAO
Rome, Italy
TECHNIQUES OF FINDING AND CATCHING SHRIMP IN COMMERCIAL FISHING
Abstract
The equipment and methods used for finding and catching shrimp are described for some of the world's main shrimp fisheries. Shrimp trawling gear is particularly emphasized and detailed specifications and design drawings of commercially important trawl types are given. The use of echo sounding and other fish finding methods for locating shrimp is described and illustrated with a number of echograms with shrimp traces. An attempt has been made to relate behaviour patterns of various shrimp species to capture.
TECHNIQUES EMPLOYEES PAR LA PECHE COMMERCIALE POUR LA DETECTION ET LA CAPTURE DE CREVETTES
Résumé
Description du matériel et des méthodes utilisés pour la localisation et la capture des crevettes dans certaines des principales pêcheries du globe. L'auteur s'attache particulièrement aux chaluts à crevettes, fournissant les caractéristiques détaillées et les plans de modèles en usage dans les pêches commerciales. Il décrit diverses méthodes de détection employées, notamment le sondage aux ultrasons, et reproduit plusiers échogrammes où figurent des tracés de crevettes. Enfin, il s'efforce d'établir un rapport entre les comportements de diverses espèces de crevettes et leur capture.
TECNICAS PARA LOCALIZAR Y CAPTURAR CAMARONES EN LA PESCA COMERCIAL
Extracto
Se describen el equipo y los métodos empleados para localizar y capturar camarones en alguinas de las principales pesquerías camaroneras del mundo. Se dedica attención especialmente a los artes de pesca al arrastre de camarones, ofreciéndose descripciones detalladas y dibujos del diseño de los tipos de artes arrastreros comercialmente importantes. Se describe el empleo del sondeo por eco y otros métodos para localizar camarones y se ilustra este procedimiento mediante algunos ecogramas con señales de camarones. Se intenta relacionar las formas de comportamiento a la captura de las distintas especies de camarones.
In the past the approach to finding and catching shrimp has been largely empirical, and shrimping has been intuitive fishing. Here intuition means a ‘knowledge’ or ‘feeling’ born of innumerable past observations, most of which were too vague to be explainable alone but which with time add up to a ‘conviction’. However, in the last couple of decades considerable advances have been made towards formulating fishing technology and with time the intuitive approach can be replaced at least partially by technical fishing.
Through the application of engineering methods one can now design trawls to assume the underwater shape one wants and to behave as calculated. However, such ‘hybrid’ gear does not always bring the hoped for increase in catch rates over traditional nets. The main stumbling block is our very incomplete knowledge and understanding of the behaviour of shrimp (and fish), as well as of other biological and environmental factors. This is, of course, also a major problem in locating shrimp grounds and in finding concentrations of shrimp when fishing.
It is hoped that the documentation and discussions at the present meeting will help to sum up existing knowledge of these factors and to identify gaps in our knowledge towards which research must be directed in the future.
One objective of this paper is to serve as a background to the discussion on shrimp in relation to its environment and availability for capture. Another objective is to describe in considerable detail the gear and mode of operation employed in the major commercial shrimp fisheries, in the hope that this may be of help to beginners in shrimping and possibly of interest to old-timers who are curious to know the equipment and methods of others.
Before discussing the present techniques of finding shrimp in commercial fisheries, it may be useful to list here the main factors which one knows or suspects may affect the presence and availability of shrimp (Table I).
It is clearly beyond the scope of this paper to attempt to deal separately with all the factors listed in the table except to indicate to what extent they are now taken into account in exploratory and/or day-to-day fishing, and whether they could yield further clues, especially if they were better understood. Many of them are touched upon in the following chapters describing commercial shrimping operations but at this stage a selected few may warrant a separate examination here.
2.1 Environmental factors
When exploring for shrimp in virgin areas, the geographic factors (the first four listed in Table I) often provide the first clue. Among the oceanographic factors, perhaps temperature and turbidity provide the most commonly useful clues. Daylight/darkness, moonlight and eventually cloud cover are perhaps those of the meteorological factors which seem to affect catch rates most obviously in the short run and, of course, the climatological/oceanographic conditions in the long run.
Our understanding of the interaction between meteorological and hydrographic factors has reached the level where short term (‘hydropsis’) and long term (hydroclime) forecasts can be made of environmental changes affecting fishing conditions (Hela and Laevastu, 1962), and these will in due time become more directly helpful to fisheries, when we gain a better understanding of the influence of the environment on fish behaviour and fish abundance. In the meantime the required background data are becoming more readily available, thanks to centralized world weather watch. Already now computer centrals receive daily thousands of data of weather and sea conditions, both from land and sea-based observation posts, as well as from satellites. In a matter of minutes the computers can transmit by telex or facsimile (charts) the following products:-
synoptic analysis of weather and sea conditions (by regions and by local areas);
forecasts of short, medium (3–6 days) and long range of weather and sea conditions, including sea temperature, depth of thermocline, surface currents;
anomaly computations (e.g., local anomalies, anomalies from longterm mean, etc.), and forecasts of anomalies.
TABLE I Factors which may affect the presence and availability of shrimp
| Used as guide in shrimp ground exploration | Used as guide in day-to-day commercial fishing | Could give more guidance if observed or better understood | How? | |
| Environmental factors | ||||
| Rivers, run-off from the land | Yes | Yes | Better understanding of effect of environmental conditions on shrimp stocks | |
| Lagoons, bays, fjords undersea valleys | Yes | Yes | -do- | |
| Mud or clay bottom | Yes | Yes | Yes | Through better use of suitable echo sounders |
| Depth | Yes | Yes | Yes | Through better knowledge of bathymetric distribution |
| Temperature, including thermocline | ? | Through better knowledge of tolerance | ||
| Salinity | ? | -do- | ||
| Oxygen | ? | -do- | ||
| Turbidity | Yes | Yes | Yes | Through better understanding of effect on movement patterns |
| Currents and tides | Yes | Yes | -do- | |
| Echo sounding and ranging conditions | Yes | Affects need for tuning acoustic equipment to compensate for change in range and sensitivity | ||
| Daylight, darkness | Yes | Yes | Yes | Through better understanding of effect on movement patterns |
| Moonlight | Yes | Yes | Yes | -do- |
| Cloud cover | Yes | Yes | Yes | -do- |
| Rain, short term effect on turbidity and light level in inshore waters due to run-off | Yes | Yes | Through better understanding of effect on vertical movement | |
| Wind | Yes | Yes | -do- | |
| Seasonal aspects | Yes | Yes | Yes | Affects choice of fishing grounds and rigging of gear |
| Weather affecting oceanographic (fishing) conditions, short term : (‘hydropsis’) | Yes | Yes | -do- | |
| Climatological changes affecting oceanographic (fishing) conditions, long term : ( hydroclime ) | Yes | Yes | Yes | Affects choice of fishing grounds and rigging of gear |
| Biological factors | ||||
| Species | Yes | Yes | ||
| Age and sexual cycle (phase) | Yes | Yes | Yes | Through better knowledge of migration and behaviour patterns |
| Seasonal migration | Yes | Yes | -do- | |
| Food supply | ? | Short term prediction of occurrence | ||
| Range of sensory capacities; response to stimuli | Yes | Through better fishing tactics based on better knowledge of these factors | ||
| Swimming speed and endurance, as affecting ability to evade the gear | Yes | -do- | ||
| Schooling behaviour: demersal - pelagic | Yes (in Japan) | Yes | -do- | |
| Presence or absence of predators | ? | Might affect shrimp behaviour? | ||
| Technological factors | ||||
| Boats, range, power | ||||
| Gear - capable of catching shrimp under various fishing conditions, including in midwater | Yes (mainly in Japan so far) | Yes | Through greater versatility | |
| Fish finding equipment | Yes | Yes | Yes | Through better acoustic equipment and better training in its use |
| Communications and navigational equipment (R-T; D-F; Loran; Decca) | Yes | Yes | Yes | Through use of more and better equipment and better training |
| Human factors | ||||
| Training and experience are the ones particularly pertinent to the subject under discussion here | * | Yes | * Vocational training in the techniques of finding and catching shrimp and fish is lacking in most countries |
In some parts of the world the shrimp fishing industry could already make far better use of such services (i) and (ii) as guidance in day-to-day operations, and (iii) for longer range planning. The latter can, for instance, give a valuable clue as to the likely effect of drought or periods of heavy rain on shrimp abundance in nearby coastal waters months later. An example of this is the great slump in Indian shrimp production due to the severe drought caused by failure of the southwest monsoon rains in 1965.
2.2 Biological factors - behaviour
Among the biological factors, the one which is perhaps the most variable and most affected by changes in the environmental conditions is the schooling behaviour, demersal-pelagic state. As a result of better fish finding equipment, midwater trawls and other pelagic fishing methods, one steadily gains better knowledge of the pelagic behaviour of shrimp. However, it goes without saying that much remains to be learned about this. The same can be said about other species of fish. Species which have been classified as demersal, and have traditionally been caught mainly on the bottom, are now known to be pelagic in a certain phase or under certain environmental conditions, and are now being caught with essentially pelagic fishing methods. Thus cod, for instance, is now caught in purse seines. The converse is also true; herring and sardine are increasingly caught in bottom trawls. Consequently, the terms demersal and pelagic are more descriptions of behaviour at a given time than general classifications of species. In this context, shrimp is more pelagic than was generally realized before. Perhaps we could say that shrimp is as pelagic as it needs to be to forage, and as it dares to be from the point of view of visibility to predators, as affected by water turbidity and light intensity.
The major problems in studying the behaviour of shrimp are caused by low visibility in its habitat, and the difficulty of receiving acoustic signals from it due to its small size and the absence of a swim bladder.
About a decade ago, shrimp fishing in the Gulf of California failed suddenly for a couple of years. At the time there was much speculation as to the causes: Overfishing? Sudden decline in stock strength due to natural causes? Some people in the industry wondered whether the shrimp was still there but staying in midwater, due to changed oceanographic conditions, and therefore unavailable to capture in bottom trawls? FAO received a request from Mexico for technical assistance in investigating the last-mentioned hypothesis, by means of diver observation or underwater TV and midwater trawling. Direct or TV underwater observation had to be ruled out on the grounds of low visibility in the turbid waters on the shrimping grounds, and midwater trawling was then still in an early experimental stage. At any rate, blind midwater trawling, without knowing the depth of the schools, is fairly hopeless. Enquiries brought to light that shrimp schools had not been detected in midwater by echo sounding in these areas. Consequently no action could be taken purposefully at that time along the lines proposed by those who believed that the shrimp was in midwater and could be caught there if we had the right tools and techniques. Fortunately the shrimp returned to its former habits and bottom trawling became productive again.
But what would the situation be today if we were again faced with such a problem? Midwater trawling gear and techniques have now been developed to the stage where the net can be aimed at the right depth to intercept the schools, if the shrimp can be detected acoustically. Such gear and techniques are described in a following chapter on Japan. The solution to the problem would seem to hinge on the effectiveness of echo sounding.
2.3 Technological factors - echo sounding
It is hardly a controversial statement to say that echo sounding is generally of
great help in locating a mud or soft clay bottom. However, detecting shrimp is another
and more difficult problem. Apart from their small size, shrimp are basically poor
echo sounding targets because of the absence of an air bladder, which in fish accounts
for much of the target strength. In theory high frequency sounding should be more
effective than the medium frequencies commonly used in most fisheries (outside Japan)
for detecting small targets like shrimp, because of the shorter wave length. The
formula
relates the wavelength (λ) speed (c) and frequency (f) of sound:
50 kc/s therefore corresponds to a wavelength of
and
200 kc/s corresponds to a wavelength of
The wave length of 7.5 mm should be particularly suitable for the detection of such small targets. However, reasonably dense shrimp schools, and possibly big size shrimp, can under certain circumstances be detected clearly with medium frequency (38.5 to 50 kc/s) echo sounders - properly used - as illustrated in Figs. 1, 2 and 3.
High frequency echo sounders are not yet in general use outside Japan, but there they are commonly used in the shrimp fisheries (and also for other fishing). Many of the boats are equipped with both high frequency, 100 to 200 kc/s, and medium frequency, 20 to 50 kc/s, or dual frequency sounders of high power. Having two frequencies helps to correctly interpret the traces observed since the medium frequency sounders are less sensitive to small organisms, and also give better bottom penetration. Some of the Japanese shrimp fisheries rely heavily on echo detection of the shrimp since the depth of the trawl must be adjusted to intercept the shrimp schools off the bottom or in midwater. This applies particularly to midwater trawling for Penaeus orientalis in the Yellow Sea and East China Sea.
The echograms in Figs. 4, 5 and 6 are all recorded on moist paper with 200 kc/s echo sounders of medium size and power. Most of these shrimp schools are recorded in depths of 35 to 85 m (19 to 46 fm). A further echogram showing dense schools of shrimp (Penaeus orientalis) in the Yellow Sea is shown in Fig. 45.
Fig. 6 shows clearly the settling of shrimp schools towards the bottom at dawn between 0630 and 0730 hours in February at Hokkaido.
These echograms of shrimp schools may surprise some people in commercial shrimping or research. It is useful to realise to what extent shrimp can be detected with present day acoustic equipment. It is also necessary to realise the great need for further development in this field. Even with the present state of knowledge of acoustics and electronics, it should be possible to produce specialized equipment with greater capability for detecting shrimp under less than ideal conditions. Bearing in mind that shrimping is already a very big business and is rapidly becoming a bigger one, it would seem to be worthwhile for echo sounder manufacturers to cater for this market.

Fig. 1 Shrimp school (Pandalus borealis) at the bottom in 90 fm (165 m), sounder range 0 – 260 fm (0–475 m) in Skagerak, near Hvaler, Norway. The catch was 200 lb (91 kg) of large shrimp.
| Echo sounder: | SIMRAD Mod EH2C | Paper speed: | 5 mm/min |
| Frequency: | 38.5 kc/s | Sensitivity: | 5 |
| Pulse length | 5 millisec | Moist paper |

Fig. 2 Schools of shrimp, probably Penaeus indicus, detected at the bottom in a depth of 6 to 10 fm (10–18 m) with a SIMRAD echo sounder Model 512-15 WL (white line) in the Persian Gulf, October, 1963.
| Scale: | 0–40 fm (0–73 m) | Paper speed: 7 mm (¼ in) per min |
| Frequency: | 38.5 kc/s | Dry paper |
| Pulse length: | 1 millisec | Note that the echogram paper has been used twice |
| Rate of soundings: | 180 min |

Fig. 3 Sergestes lucens rising to the surface lured by white incandescent light at night, February 1960, near Yaizu, Shizuoka Prefecture, Japan. Recorded on echo sounder model NJA-150 (NMD-231), 50 kc/s with side board mounted transducer on 5 ton wooden boat.

Fig. 4 Upper echogram shows recording of shrimp, Pandalus
kessleri or P. borealis, at Wakkanai, Hokkaido in March
1963. Sea depth 83 m, recorded on echo sounder F-807,
with white line which helps to distinguish shrimp echoes
near the seabed. The dark line through the middle of
the echogram shows the headline height of a trawl
recorded by netsonde.
Lower echogram shows shrimp schools in midwater in
Suruga Bay, Japan in February 1966. Depth range
160 m, depth of shrimp schools approximately
50 to 60 m, recorded on echo sounder F-803, 200 kc/s,
moist paper.

Fig. 5 Shrimp schools, Sergestes lucens, in midwater in Suruga Bay, Japan, February 1966, recorded on echo sounder F-830, 200 kc/s, moist paper, depth range 0–250 m.

Fig. 6 Shrimp (Pandalus kessleri) settling towards the bottom at dawn between 06.30 h (upper left hand corner) to 07.30 h (lower right hand corner) recorded on Furuno echo sounder F-807, 200 kc/s, moist paper, in February 1961 at Wakkanai, Hokkaido, Japan.
2.4 Human factor
No matter how good fish finding equipment is, its usefulness still depends on the operator. Perhaps one can say that the echo sounder is like a blind man's seeing-eye dog. The user needs training with the tool to get good results.
Fish finding equipment is offered in the market in a great variety of different models with different characteristics, and it is a highly complex matter to select the unit best suited to the fishing conditions under which it is to be used. As the equipment becomes more sophisticated the models acquire more control knobs. These need to be correctly adjusted for proper tuning of the equipment and for proper functioning under each given set of circumstances. It might be technically feasible to build fully automatic units with no controls apart from an on/off switch, but this will surely be uneconomic in the foreseeable future. In the meantime the fishermen must learn how to cope with the complexities.
Capitalization and use of complex equipment for finding and catching fish calls for organized training of fishermen, as for other trades and professions. It is simply not economic any longer to learn exclusively on-the-job by trial and error. Quicker results can be obtained by a suitable combination of on-the-job training and teaching on shore, where better explanation can be given by printed texts, visual aids, fishing simulator and other means of organized training. It is plainly too expensive to use vessels costing tens of thousands of dollars for skippers to learn by their own mistakes how to utilize modern equipment effectively - and perhaps never learning it well enough. Training should pay-off in proper selection of gear and its rigging, selection of suitable fish finding equipment and effective use of it, and a keen understanding of costs and earnings, of ultimate profit to fisherman and vessel owner.
The techniques and equipment used for finding and catching shrimp in a few of the world's shrimp fisheries will be described below. The Gulf of Mexico shrimping is described in rather greater detail than the other fisheries, not only because it is the world's biggest in terms of production, but because the gear and methods used there have also found application elsewhere.
Annual production from this area (including the southeast U.S.A.) during 1965 was approximately 120,000 t - 19 percent of the world's total. Of this, about 100,000 t were landed in the U.S.A. and 20,000 in Mexico (this excludes the 40,000 t landed on Mexico's Pacific coast).
3.1.1 Grounds and species fished Three species of shrimp constitute practically the entire commercial catch in this area; pink shrimp (Penaeus duorarum), brown shrimp (Penaeus aztecus), ahd white shrimp (Penaeus setiferus). In addition. lesser quantities of royal red shrimp (Hymenopenaeus robustus) and sea-bobs (Xiphopenaeus kroyeri) are taken.
The pink shrimp is taken off Florida's east coast, in the east Gulf from Pensacola, Florida, south along the Florida coast, and on the Campeche Bank to Ciudad del Carmen, Mexico. The type of bottom in these areas is characterized by sand, shell and coral gravel, and by live coral overlying white, calcareous mud (Springer and Bullis, 1954). Within these areas there are extensive grounds with coral, rock and loggerhead sponges which make trawling with standard gear impossible. The normal fishing depths for this species range from 5 to 35 fm (9 to 64 m). An active fishery exists the year round but is definitely seasonal with regard to effort and catches. In the northeast Gulf the best fishing season extends from early spring to late autumn. On the Tortugas (off south Florida) and Campeche grounds peak production is during the winter months.
The brown and white shrimp fisheries are off Georgia and Florida's east coast, and from northeast Florida west and south to Ciudad del Carmen, Mexico. The bottom types consist primarily of terrigenous mud with sand out to about 30 fm (55 m). Mud lumps and large coral-rock structures are common beyond the 50 fm (91 m) curve, out to the edge of the shelf (Springer and Bullis, 1954).
The depth range of the brown shrimp fishery is out to 50 fm, whereas the white shrimp are taken within the 20 fm (37 m) curve. Both brown and white shrimp fisheries are seasonal, particularly the whites. These are taken almost entirely during the late autumn and winter. The brown are fished the year round with major production occurring in the late summer and autumn.
Royal red shrimp production is still very small and is taken almost entirely from one area off Florida's east coast, although the species is found throughout most of the Gulf of Mexico in the 175 to 250 fm (320 to 457 m) depth range. In addition to these grounds, the U.S. Bureau of Commercial Fisheries has also located potential commercial concentrations off Dry Tortugas, Florida and off the mouth of the Mississippi River (Bullis, 1956). Large scale utilization of these resources is probably contingent upon introduction of gear better suited for operation in these much deeper waters.
3.1.2 Vessels The vessels, gear, and methods of operation have changed drastically over the years, due primarily to increasing availability of reliable power units and the need to operate on deeper and/or more distant grounds. The early shrimp trawlers were open skiffs 15 to 25 ft (5 to 8 m) long, powered with gasoline engines. By the twenties they were decked over, the engine placed forward, and a pilothouse added forward. This arrangement remains the standard for today's shrimp trawlers. In the thirties the diesel engine was introduced and average size increased somewhat. During the forties and fifties the need for larger vessels to exploit offshore grounds resulted in construction of much larger vessels. Average vessel length increased to about 60 ft (18 m) with many in the 70 to 90 ft (21 to 27 m) range (Captiva, 1967). Of particular interest during this period was the success of production line model shrimp vessels (Fig. 7), built to standard specifications with design emphasis on minimum cost. They were 67 ft (20 m) hulls powered with 150 to 200 hp engines and characterized by a very high freeboard. This together with the ample sheer fore and aft provided a very dry working deck (Ringhaver, 1960). During the sixties the trend has been towards larger, better equipped and more powerful vessels, capable of long distance operations. Most vessels are well fitted with electronic equipment. These include radio-telephones, automatic pilots, echo sounders, and frequently loran receivers and radio direction finders. A trend in recent years has been to increasing use of citizens band transceivers for short range communication (up to 60 mi or 100 km).
3.1.3 Double-rig otter trawling The first attempts to develop the doublerig method in the Gulf of Mexico were made by shrimp fishermen at Rockport, Texas, late in 1955 (Knake et al., 1958). Since then the technique has been virtually universally adopted by fishermen in the southeastern United States and Mexico. It has also been adopted as the standard method by fishermen in recently exploited areas such as Central America, the northeast coast of South America, the Persian Gulf and Nigeria.
The rapid acceptance of double rigging by the American fishermen stemmed from recognition of a number of advantages inherent in the method. The most significant of these is the claim of increased catches per vessel. While only estimates of increased catches can be made, many vessel operators believe a 15 to 30 percent increase is realized (Knake et al., 1958). The reasons advanced for the superiority of the method are that two small nets sweep a wider path (have greater horizontal spread) than one big net of equal towing resistance, and also fish more efficiently on an uneven bottom.

Fig. 7 A 67-ft double-rigged shrimp trawler (courtesy of Diesel Engine Sales Co. Inc., St. Augustine, Florida).
Another advantage claimed for the double-rig is that losses of time, labour, and money spent on gear are lessened. This is because, in many instances, only one small trawl need be repaired or replaced rather than a large one. Also, vessel crews favour the double-rig because they benefit financially from larger catches and because less effort is required to operate the gear than with the much larger single trawl.
The basic double-rig system (Figs. 8 and 9) consists of two outrigger booms mounted usually on the port and starboard side of the mast 5 to 7 ft (1.5 to 2 m) above the deck. The outriggers are stayed fore and aft as well as vertically. The length of outriggers ranges from 24 to 40 ft (7 to 12 m) on the larger vessels, and are rigged to operate at an angle of 20 to 30 degrees from the horizontal. In addition to serving as towing points for the trawls they are used to suspend stabilizer planes. The stabilizers are normally suspended from the ends of the booms and operate 15 to 20 ft (4.5 to 6 m) below the surface of the water. The purpose is to dampen the roll of the vessel. They are particularly effective when the vessel is anchored in rough water.
A typical double-rigged vessel of 60 to 70 ft (18 to 23 m) operates with a crew of three. This may be increased to four or reduced to two depending on the workload involved. Such a small crew for a fishing unit is possible because of the relatively low volume production of a valuable species, a minimum of product handling, and simplicity of vessel equipment.
3.1.4 Trawl gear The only shrimp fishing gear of significance in this are is the otter trawl. The first commercial shrimp trawls were introduced sometime between 1912 and 1915 off Florida's east coast. These were patterned after the otter trawls then being used by the U.S. Bureau of Fisheries at Beaufort, North Carolina (Anderson, 1958). They were rapidly adopted and by 1917 had displaced the traditional haul seine as the standard commercial gear (Captiva, 1967).
In the Gulf of Mexico there are two principal trawl designs, with numerous variations of each. These are the flat trawl and the 4-seam semi-balloon. In addition, the 2-seam balloon and western jib designs are used, but not nearly so generally. Sizes of trawls vary from 30 to 90 ft (9 to 27 m) (headline) with the 40 to 60 ft (12 to 18 m) size range most common. Trawl size is designated by the headline length, excluding the leg lines.
Synthetic netting primarily nylon, is used almost exclusively, due to its strength, resistance to deterioration and relatively low cost. After assembly, nets are tarred to reduce wear due to abrasion and as a stiffening agent. This is repeated periodically while in use, usually every six to twelve weeks.
The use of each design is not restricted to specific geographic areas or species as might be expected, but instead all are used on all grounds. It is a common belief that a flat trawl has inherently a wide spread and a low opening height and that the balloon trawl opens high. This is not necessarily so. Although all types could be rigged by the individual fisherman to fish either with a relatively high opening or with a maximum horizontal spread, the latter is normally emphasised. All types are rigged at various times to fish either light or hard on the ground.
Measurements by the U.S. Bureau of Commercial Fisheries of 40 ft (12 m) trawls in operation revealed that the semi-balloon nets had a wider spread (32 ft) (10 m) and a lower headline (4 ft) (1.2 m) than the other two designs. The flat trawl spread to 28 ft (8.5 m) and headline height was about 5 ft (1.5 m). The 2-seam balloon trawl configuration was intermediate to these. The measurements are only approximate since the configurations varied widely under different towing conditions; however, the relationships between the three designs under similar conditions were as described.

Fig. 8 A diagrammatic representation of double-rig shrimp trawling (Courtesy U.S. Bureau of Commercial Fisheries).

Fig. 9 Rigging arrangements for double-rig Shrimp Trawling
A - towing boom or outrigger; B - towing boom topping stay; C - topping lift tackle;
D or D-1 - towing boom outrigger back stay; E - towing boom outrigger bow stay;
F - modified boom; G - boom back stays - ratline structure; H - boom back stay plate
on transom; J - boom topping lift stay; K - single block tackle; L - single block
tackle; M - trawl winch; N - heads, two on trawl winch; O - centre drum for trynet
warp; Q - warp; R - leading block for trynet; S-1, S-2, S-3 - trynet lead block;
T - main fish tackle tail block; U-1, U-2, U-3 - trynet lead block; any one may be
used to accord with selection of S-1, S-2 or S-3; V - boom shrouds; W - chain stoppers
for outriggers. (Courtesy of the U.S. Bureau of Commercial Fisheries).
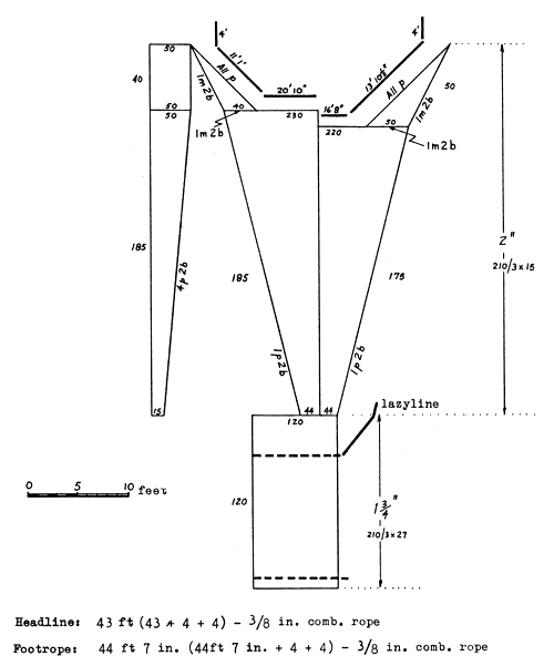
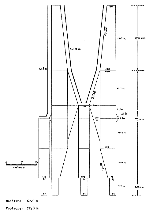
3.1.4.1 Flat trawl Gulf of Mexico trawls have been described by Bullis (1951) and Fuss (1963) and are briefly summarized here. Design drawings with material specifications of flat trawls of 43 ft (13 m) and 66 ft (20 m) headline lengths are shown in Figs. 10 and 11 respectively. Both nets are drawn to the same scale; note the great difference in size. The flat trawl is made from four panels of netting; top, bottom and two sides. The top and bottom panels are each made up of three sections, a large body section and two corner pieces. The corner pieces in the flat trawl are referred to as “jibs”. This design differs from the others in the construction of the jibs. Each is fashioned roughly in the shape of 120° - 30° - 30° triangle by cutting two edges on a 1 mesh, 2 bar taper. The long untapered side of the jib is the hanging edge. This method of cutting and assembly results in towing strain running along the bars of the jib meshes rather than in a straight twine direction.
It is standard practice to provide a “set-back” of the bottom panel. The purpose of this is to obtain a cover of netting (overhang) above the footrope to prevent upward escapement of shrimp. The overhang of the net in Fig. 10 is obtained by setting the bottom body section back 10 meshes and by hanging the netting to the headline with more slack than to the footrope. To compensate for the shorter bottom body the bottom jibs are made longer. These features result in a footrope 44 ft 7 in (13.6 m) long and a headline 43 ft (13.1 m) long. In operation the center (bosom) of the footrope of this trawl tows approximately 2 ft (0.6 m) behind the center of the headline.
The major modification to this design is the use of untapered side panels. In this case the (top and bottom) body panel tapers are continued back to points so that the total number of meshes around the funnel in front of the codend remain approximately the same as in the standard design. This construction feature is illustrated by the trynet shown in Fig. 12.
3.1.4.2 Semi-balloon trawl The semi-balloon trawl (Fig. 13) is also constructed from four panels similar to those of the flat trawl. The principal difference being the shape of the corner pieces and the much greater set-back. The corner pieces are right isosceles triangles, cut all-bars on the hanging edges (inside edges). It has been found that increasing the taper of the corner piece near the bosom provides a shape which better distributes the towing strain in this high stress zone.
3.1.4.3 Western jib trawl This design is similar to the flat trawl in that it is of 4-seam 4-panel construction. The pertinent feature is the shaping of the corner piece or jib. It is cut as shown in the in-set in Fig. 12. The primary advantages of this are that the netting is stronger in the corners, with the strain distributed in the twine direction rather than along the bars. Consequently less labour and expense is involved in re-hanging and repairs. V.L. Harris and R.C. Rhodes were granted United States patent 2,816,386 for this invention in 1957.
3.1.4.4 Two-seam balloon trawl The two-seam design (Fig. 14) is constructed from two panels which are joined forming a single seam on each side of the trawl. In addition to only two seams, this design is characterized by the way the corner pieces and bodies are shaped. The corner pieces are cut all-bars along the hanging edge and all points along the forward and back edges. The outer edge has the same taper as the body. To compensate for the absence of side panels, the top and particularly the bottom panels are much wider than for a similar size trawl of other designs.
3.1.4.5 Accessory gear To obtain satisfactory bottom tending performance the trawl footrope is weighted with chain. The size used is usually ¼ in (6 mm) diameter on smaller trawls, ranging up to 3/8 in (10 mm) on larger ones. It is secured directly to the footrope in loops (Fig. 15). The loop sizes are variable ranging from 15 in (40 cm) of chain on 12 in (30 cm) spacings to 36 in (90 cm) of chain on 27 in (70 cm) spacings. The amount of chain (number of loops) used is extremely variable. Usually a few loops are placed at the forward ends of the wings, a few adjacent to the junction of the corner pieces and bosom, and a few in the center of the bosom. The use of continuous loops around the entire footrope is generally restricted to some vessels operating in the northern Gulf of Mexico.

Fig. 10 Gulf of Mexico 43 ft Flat Trawl.

Fig. 11 Gulf of Mexico 66 ft flat trawl.

Fig. 12 Gulf of Mexico 16 ft trynet.

Fig. 13 Gulf of Mexico 60 ft semi-balloon trawl.

Fig. 14 Gulf of Mexico 40 ft two-seam balloon trawl.
The tickler chain is an innovation introduced in the Gulf shrimp fishery in the fifties and is used by virtually all vessels today. It is a chain of ¼ to 3/8 in diameter rod (6 to 10 mm), 2 to 3 ft (60 to 90 cm) shorter than the footrope. It is secured at the trawl boards or wings of the trawl and tows on the bottom ahead of the footrope for most of its length (the chain takes the form of a catenary, but the footrope shape is closer to a parabola). The purpose is to frighten shrimp off the bottom into the oncoming trawl. In addition to increasing the catch, the use of a tickler chain permits fishing the net a greater distance (higher) off bottom, reducing the trash catch.
Some fishermen use a “Texas drop-down” chain which serves both as a device for footrope weight and as a tickler chain. It is a chain running between the doors, much as a tickler chain, but is secured to the footrope at about 3-foot intervals by short lengths of “drop-down” chain. The drop-down lengths are usually equal in length for a given trawl but this length is variable depending upon fishing conditions. It is generally agreed that this is more effective than a tickler chain (when properly adjusted) but because its effectiveness is reduced by small increases in the chain length (due to wear and/or stretching) it has not been widely adopted.
The use of headline flotation is a minor factor in Gulf of Mexico shrimp fishing. The average number of plastic floats used is only 3 per trawl (Juhl, 1961).
In the north and western Gulf there are grounds where accumulation of mud in the trawls is a serious problem. In the past “mudropes” were used to alleviate this. These devices were constructed of rope or wire wrapped with used netting to a diameter of 5 or 6 in (about 15 cm) and secured directly to the footrope. In 1958 plastic mud rollers (Fig. 15) were introduced and have replaced the mudropes. These are cylindrical hard-shell plastic floats which have been drilled to eliminate floatation and they are strung on a line. The line is secured at intervals to the footrope. This device allows trawling on soft mud bottom but is not nearly as cumbersome as the heavy mudrope. Also “flying saucers” are used by some fishermen to combat the mudding problem. These are plywood discs 8 to 10 in in diameter reeved on the footrope at 6 to 8 ft (about 2 m) spacings. They serve to prevent bogging by causing the net to fish very light. Another aid is the use of very wide mud-shoes on the trawl boards.
All fishermen use chafing gear to protect the codend. In the southern Gulf, where the bottom is particularly abrasive due to shell and coral, the chafing gear is constructed from large mesh (4 in) (10 cm) codend cover made of polyethylene netting. Strands of about No. 18 to 36 polyethylene twine 18 in (45 cm) long are tied (at their mid point) to each knot of the codend cover. The cover completely envelopes the codend and is commonly referred to as a “hula skirt” (Fig. 16).
Trawl boards used in the Gulf of Mexico have changed little in design over the years, except that there is a trend toward larger boards for given trawl sizes. For example, some years ago 5 × 2.5 ft (1.5 × 0.7 m) boards were used on trawls in the 45 to 50 ft (14 to 15 m) class, 7 × 3 ft (2 × 0.9 m) boards on trawls to 80 ft (25 m) and 9 × 3.3 (2.7 × 1 m) boards on trawls to 100 ft (30 m). Today trawls of 40 to 50 ft (12 to 14 m) are fished with 7 × 3 ft (2 × 0.9 m) boards weighing about 200 lb (91 kg); 50 to 55 ft (15 to 17 m) trawls with 8 × 3.3 ft (2.4 × 1.0 m) boards; 55 to 65 ft (17 m to 20 m) trawls with 9 × 3.4 ft (2.7 × 1.0 m) boards and 70 ft (21 m) trawls with 10 × 4 ft (3 × 1.2 m) boards.

Fig. 15 Mud rollers and footrope chain.

Fig. 16 “Hula skirt” chafing gear used in the Gulf of Mexico.
It is characteristic of the Gulf shrimp fishery for the boards to be slightly longer than twice their height. Chain bridles are still used for achieving the desired towing attitude. Normally the upper chains are one or two links longer than the lower ones, which gives the boards an outward tilt and downward thrust.
In double-rig trawling the trawl boards of each net are joined to the single towing warp with a bridle. The bridle length is approximately 25 fm (46 m) for nets in the 40 to 50 ft ranges, 40 fm (73 m) for nets to 60 ft and progressively longer for larger trawls. Bridle wires are ¼ to ½ in diam., and wire sizes for towing warps range from ¼ to 5/8 in. Warp and bridle wire are of 6 × 7 preformed galvanised plow steel.
Most vessels in the Gulf area use 3-drum winches; one drum for each trawl warp and one for the trynet warp. They are normally powered from the main engine, either by direct mechanical drive or hydraulically. In recent years, some vessels have been equipped with 2-drum winches for the trawls and a separate small winch for the trynet.
3.1.5 Modes of operation Fishing operations in the Gulf of Mexico area can generally be classified as either local or long range. In local operations, vessels fish on grounds near ports of landing and return to these ports after an 8 to 12 day period to discharge catches and to re-provision. These are not necessarily the home ports of the vessels. Long range operations are those in which the vessels travel to distant grounds, where catches cannot be landed locally, and operate for periods from 6 to 12 weeks. In this case shrimp are shipped back to the home port every 6 to 8 days by other shrimp vessels which are completing their trips. Each vessel upon completing its last 6 to 8 day fishing period, prior to departing, loads shrimp from other vessels still operating. Commonly, stores such as fuel, ice, water and equipment are delivered to vessels on the grounds by vessels arriving from the home port. Vessels specifically for transporting shrimp and supplies are not used.
In addition to the migratory fleet described, there is a significant number of vessels (usually in the smaller size group) which seldom leave the grounds near their home ports. When yields fall to uneconomic levels they stop shrimping but may participate in other local fisheries.
3.1.5.1 Shrimp location The seasonal pattern of each fishing area of the Gulf is well known to the fishermen and is the primary factor in determining the area of operation at any given time. Generally, the migratory vessels follow a pattern of working the north and western Gulf during the summer and autumn and the Campeche and/or Tortugas grounds during the winter and spring. Timing of moves between general fishing areas is determined by communication with vessels already on the grounds and general knowledge regarding seasonal factors. Locating shrimp once the vessel is on a given ground is largely through experience, communication with other vessels and use of the trynet. Lighter marker buoys are used to mark exceptionally high shrimp concentrations. Location of shrimp through detection by echo sounders is not used, nor is inference of occurrence made through measurement of oceanographic parameters. However, all vessels use echo sounders to locate trawlable bottom, to remain in desired depths and to avoid trawling obstructions.
3.1.5.2 The fishing operation The major shrimp fisheries for brown and pink shrimp are largely night operations, because these shrimp burrow in the substrate during daylight and cannot be captured by conventional shrimp trawls. Normally fishing starts at sunset and stops at sunrise. During a tow, the trynet is hauled about every 20 to 30 min. This permits an estimate of both the trash and shrimp catch. On the basis of the trynet catches, a captain is able to stay in relatively high concentrations of shrimp or to move away from poor areas. Also, exceptionally large fish catches can be avoided; this is important since the fish slows down sorting of the saleable catch (and is discarded at sea).
Towing time is about 3 h on the average (but may range from 1 to 6 h), after which the trawls are hauled and the codends retrieved with the lazy-line. The lazy-line runs back from the inner trawl board to encircle the codend just behind the funnel (Fig.8). When the boards come up to the towing block on the outrigger boom, the lazy-line is reached with a long boathook and a bight of the line is hauled on a warping head on the winch. The codend is lifted with a whip line, the catch released on deck and the gear shot again immediately.
The catch is sorted by removal and simultaneous beheading of the shrimp. The trash consisting of miscellaneous fish species, sponges and crustaceans, is returned to the water. The shrimp tails are thoroughly washed and iced in the hold. If catches are very big, the shrimp are not beheaded but are iced heads-on. When this occurs the catch must be landed within 7 days, due to rapid deterioration of the shrimp resulting from the action of enzymes in the “head”.
The fishery for white shrimp, in contrast to pink and brown shrimp, takes place largely by day. Whether the behaviour of white shrimp of foraging during daylight is a specific difference or is caused by environmental influences, such as water turbidity, is unknown. Except for the daytime factor, the method of operation and the gear is essentially the same as in the other fisheries. When the seasons and geographic areas are suitable, fishermen sometimes will work offshore at night for brown shrimp and inshore during the day for whites.
3.1.6 Major trends The major trend in this area is to larger, more powerful and better equipped vessels. Whereas the typical new vessel ten years ago was a 67 ft (20 m) wooden hull powered with 150 to 200 hp, today it is a 72 to 73 ft (22 m) hull with 250 to 300 hp. Also, 80 to 90 ft (24 to 27 m) vessels with engines to 500 hp are not uncommon in new construction today. Although wooden construction predominated in the past at a ratio of about 8:1, all-welded steel vessels are now reported to constitute 50 percent of new construction. The primary reason for this lies in the inherent ability of steel vessels to carry more fuel and water because the tanks can be built into the hull. Other reasons are the added strength-to-weight factor and availability of more effective anticorrosive compounds (Captiva, 1967). Other notable trends are the increasing use of hydraulic power for winches, steering and other units, better crew accommodation and freezing of the catch at sea.
Although introduced in the Gulf shrimp fishery during the fifties, it is only in recent years that freezing on board has been utilized to any extent. Two systems are presently in use, immersion freezing and static air freezing. The immersion systems utilize tanks on deck, for quick freezing and glazing in solutions such as salt and sugar. The air freezing system provides first for freezing, then for glazing after freezing is complete. The advantages of freezing on board are higher quality product (some freezer vessels receiving a premium price for their catch), increased fishing time since frequent unloadings are not necessary, and reduced crew labour in handling the catch.
Expanded polyurethane, instead of styrofoam, is being used to insulate fish holds, especially on the freezer vessels; and polyester clad combination rope is being introduced as material for headlines and footropes, replacing wire-manila.
3.1.7 New developments For a number of years both the United States Bureau of Commercial Fisheries and private industry have been working on the development of an electrical shrimp trawl (Wathne, 1964). The purpose of this system is to permit trawling for shrimp during daylight when they are normally buried and unavailable to conventional trawls (Fuss, 1964; Fuss and Ogren, 1966). The principle of the method is to stimulate the shrimp electrically so that they leave their burrows and can be taken in the trawl.
The various experimental designs have consisted of three basic system components: a source of electrical energy, a pulse generator for converting the source energy to the desired form, and an electrode array within the trawl gear to distribute the energy into the substrate.
Fishing results with the gear have been variable. In the north and west Gulf, daytime catches with an electric trawl have been consistently greater than 70 percent of night catches using standard gear in the same area. In the southeast Gulf (Tortugas grounds), daytime electric trawl catches have been generally only 30 to 50 percent of the night catches. The reasons for the different results in the two areas, as well as for the less than 100 percent effectiveness, are apparently directly related to response patterns exhibited by the shrimp under conditions of relatively high light level and visibility which enables them to avoid capture. There are hopes of resolving this problem, and development work continues.
Historically the shrimp fisheries in this area (Guyana, Surinam, French Guiana and northeast Brazil) have been confined to inshore grounds near or within the many major river drainage systems of the coast. The principal species taken in these inshore fisheries is the sea bob (Xiphopenaeus kroyeri). In addition, Penaeus aztecus and Penaeus schmitti are taken in most of the areas. There is also a significant fishery for two very small shrimp, Palaemon schmitti and Hippolysmata oplophoroides, in Guyana, and it is largely restricted to this area (Lindner, 1957). Marketing of catches from all of these inshore fisheries is local, the shrimp being mostly dried or semi-dry. The larger species are marketed fresh.
The traditional inshore fishery depends largely on static gear of various types, including Chinese trap nets and stop seines. The trap nets are pyramid-shaped, measuring 15 to 20 ft (4.5 to 6 m) square at the mouth tapering to 2 or 3 ft (0.6 to 0.9 m) at the bag. The sides of the mouth are suspended between two fixed vertical poles, and the bottom edge is pushed into the mud and held with poles. Suitable bracing of the vertical structures is provided by additional members. Normally several of these nets are constructed adjacent to each other and are fished on both incoming and outgoing tides. The stop seines consist of a series of upright stationary poles, between which is strung a wall of netting, usually 500 to 600 fm (about 900 to 1,100 m) long and 8 or 9 ft (2.4 to 2.7 m) high. It is fished only on the outgoing tide (Lindner, 1957).
In 1957 and 1958 the U.S. Bureau of Commercial Fisheries conducted two exploratory fishing surveys in the international waters of this area. The first cruise covered the general region extending from Trinidad to the Amazon River, and the second cruise was largely devoted to a more detailed investigation of a smaller area off the coasts of Guyana (British Guiana), Surinam, and French Guiana (Bullis and Thompson, 1959). As a result of this survey, industry initiated trawling operations and has established processing plants in the three countries bordering the grounds, and also in Trinidad and Barbados. The current fleet working the grounds numbers over 200 modern shrimp vessels.
In contrast to the inshore fisheries, those offshore are primarily for pink shrimp (Penaeus brasiliensis) and to a lesser extent brown shrimp (P. aztecus). Fishing depths in the offshore grounds range from about 20 to 40 fm (37 to 73 m).
Due largely to the very strong currents and relatively heavy seas which characterize this area, “typical” vessels are larger and more powerful than in the Gulf of Mexico fishery. Vessels initially used were mostly of the 67 ft (20 m) class powered with up to 200 hp, but newer vessels coming into the fleet are largely 73 ft (22 m) hulls with up to 300 hp; 80 to 90 ft (24 to 27 m) vessels with up to 500 hp are not uncommon. The fishing gear is essentially as described for the Gulf of Mexico, the primary difference being that smaller otter boards and trawls are used for a given horsepower than in the Gulf. Trawls of 40 to 45 ft (12 to 14 m) (double-rig) on 7 × 3 ft (2.1 × 0.9 m) doors are common for 72 to 73 ft (22 m) vessels powered with up to 300 hp. It has been found that, in the strong currents and heavy seas, the smaller gear produces better catches than the larger gear which a vessel of the same size would use in the Gulf of Mexico. The method of operation is similar to that described for long range operations in the Gulf of Mexico. Fishing trips are usually 6 to 8 weeks and shrimp are shipped back for processing every 8 to 10 days. At present, vessels are working grounds as far south as the Amazon River. Due to the increasing distances between grounds and processing plants, the obvious advantages of freezing at sea are being recognized for the longer range operations. A number of vessels based in Trinidad have recently installed freezing systems. Virtually the entire pack is for the export market.
Shrimp fishing on a commercial scale started in 1959 with a fleet of seven boats based in Kuwait. These fishing units were transferred from the Gulf of Mexico, and both the boats and gear were of the type described on previous pages. By 1961 the production was estimated at about 3,000 t of frozen tails, and by 1964 about 6,000 t. By now there are three fishing companies with about 80 shrimp fishing vessels based in Kuwait. Many of the vessels have operated in Iranian waters under the terms of a special concession.
Lately shrimp fishing is also being conducted from Saudi Arabia, Bahrain, Qatar and Trucial Coast. The past few years have seen a rapid increase in foreign fishing vessels operating in international waters of the Gulf and today there are probably about 150 vessels engaged in shrimp fishing in the Persian Gulf area. These will soon include fleets of catcher boats of 70 ft (21 m), based on factoryships of up to 4,500 t. The total production in 1966 has been estimated at about 12,000 t ready frozen product.
Some of the vessels are small ones from 40 to 60 ft (12 to 18 m), operating mostly in the coastal waters and delivering their catch to motherships or to freezing plants ashore. These vessels carry their catches on ice and most of them have no mechanical refrigeration facilities.
Quite a number of vessels ranging from 70 to 180 ft (21 to 55 m), (Figs. 17 to 29), have modern freezing equipment and pack and freeze their catches on board the vessels. Some of these vessels also not as motherships for the smaller ones which do not have freezing facilities. The vessels are generally fitted with sorting troughs and automatic shrimp graders on deck, and freezing equipment below deck. Some of the boats have brine chilling tanks for shrimp caught in excess of freezing capacity (Fig. 20).
3.3.1 Fishing areas and seasons The best known shrimping areas in the Gulf lie along the Iranian side, although productive grounds are also found along the Arabian coasts and out in international waters. Fishing areas exploited so far are mostly in shallow waters from inside 4 fm (7 m) out to 50 fm (91 m) and mainly fairly close to shore.
In the best shrimping areas the bottom is muddy and the water turbid. Shrimp have also been found from time to time on hard bottoms with rock and coral, but fishing there is difficult due to heavy gear damage.
There seems to be a connection between the water temperature and the catches obtained, but so far the correlation has not been well established, except that shrimp are difficult to find during the very hot summer months and also during the coldest season in mid-winter.
| Fig. 17 15 shrimp trawlers of widely different types and sizes undergoing repairs in Kuwait harbour. | ![]() |
| Fig. 18 A few of the shrimpers are built as side trawlers but all ships are fitted for Gulf of Mexico type double-rig trawling. | ![]() |
| Fig. 19 Note small bobbins on footrope. | ![]() |
| Fig. 20 Shrimp grader installed on deck. The boys sit on brine tank used for chilling shrimp caught in excess of freezing capacity of plate freezer below deck. | ![]() |
| Fig. 21 One of a fleet of several 84 ft Norwegian-built shrimpers from Kuwait. | ![]() |
| Fig. 22 When prospecting, these trawlers operate a flat trawl (60 ft footrope) on one side, a semi-balloon or balloon trawl (55 ft footrope) on the other side, and a small trynet over the stern. | ![]() |
| Fig. 23 The small davit on the stern is for the trynet warp. | ![]() |
| Fig. 24 Ready to lower the gear. | ![]() |
| Fig. 25 Trawl boards squaring off. | ![]() |
| Fig. 26 The codend hauled on the lazy-line. | ![]() |
| Fig. 27 The catch is sorted and heads torn off good-sized shrimps on two sorting troughs arranged along the railing on either side. | ![]() |
| Fig. 28 Note automatic size grader in background. | ![]() |
| Fig. 29 Transfer of provisions at sea. | ![]() |
The grounds which are found to be highly productive in one season one year often give practically no catch the next year. There also seem to be drastic changes in catch rates in the same areas from day to day and the ships operating offshore are constantly exploring. Fishing goes on both night and day. The best fishing is usually during spring and autumn, although the 1966 spring season was comparatively poor. Catch rates from this region are generally the highest in the world.
3.3.2 Shrimp finding No systematic exploratory fishing has been carried out, and hardly any exchange or pooling of information takes place between the companies. Consequently knowledge of major seasonal migrations is scattered among the various skippers, who generally seem to feel that the less they tell the better they are off. Yet, two or more vessels from the same company often exchange information while fishing.
Various methods of locating fish are used in the area. Most, or perhaps all, of the vessels are equipped with echo sounders, and these, in conjunction with trynets, are the major shrimp finding tools. It takes an observant skipper to interpret the echo traces correctly. An experienced man can in most cases decide whether the echo sounder shows shrimp or fish, or whether a difference in the bottom echo is due to a change in bottom conditions or a layer of shrimp at the bottom. However, broadly speaking, it is probably fair to say that in shrimp location the best results are obtained when echo records are interpreted in close conjunction with indications obtained with the trynets, coupled with exchange of information over the radio telephone among vessels operating together. Fig. 2 illustrates an unusually clear recording of shrimp on or near the bottom obtained with an echo sounder with white line feature working at 38.5 kc/s. Even when shrimp traces are not obtained, a white line echo sounder may give good guidance in the location of likely shrimp fishing grounds through bottom discrimination.
A few of the most modern vessels have Decca Navigation equipment and Track Plotters which greatly help to relocate positions of shrimp schools limited to a very small area.
3.3.3 The shrimp The catches comprise all sizes from less than 15/lb (33/kg) headless, to about 150 to 200/lb (330 to 440/kg). Only sizes down to 51/60 headless/lb (112 to 132/kg) are utilized for the U.S.A. market. Smaller shrimp have so far been mostly thrown overboard, but some of the shrimping operators are now starting to utilize the smaller size shrimp for other markets. As the big shrimp give the best price, it is only natural that fishing activities concentrate on these. Landing statistics are not available, nor is reliable information about species composition.
3.3.4 The gear Flat trawls of Gulf of Mexico type are used, in sizes ranging from 40 to 110 ft (12 to 34 m), semi-balloon and balloon trawls from 54 to 75 ft (16 to 23 m); also Scandinavian shrimp trawls of 2-seam and Danish design are used. Most of these trawls are described in the preceding chapter on the Gulf of Mexico and a later chapter describing Norwegian shrimping.
The geographic features of Africa's west coast from Dakar to the Congo River and the results of limited exploratory work suggest that a significant potential for a shrimp trawl fishery may exist in this large area. In several of the West African countries, shrimp constitutes a part of the trawl catch in inshore waters, as well as being taken by various traditional local fishing gears, such as beach seines, traps, etc. So far the only specialized, modern shrimp trawl fishery is in Nigeria, and this is briefly described here below. The trap fishing gear used in the Dahomey lagoons also warrants description as an illustration of traditional shrimp catching methods.
3.4.1 Nigeria In 1956 a fleet of inshore trawlers, varying in number from one to thirteen, worked out of Lagos and took small quantities of penaeid shrimp incidental to the fish catches (Raitt and Niven, 1965). However, it was not until May 1964 that otter trawling specifically for shrimp was initiated. At that time the Spanish trawler VILLA SANTA POLA was supplied with a Gulf of Mexico shrimp trawl by the United States Agency for International Development, and the method of working the gear was demonstrated by an FAO fishing technologist. Initial fishing trials were very successful and led to commercial shrimp fishing operations in which several vessels now engage.
At present, the only species taken in significant quantities is the pink shrimp (P. duorarum) although small quantities of a small species (Parapenaeopsis atlantica) are taken on shallower grounds off Lagos. Pink shrimp are known to occur along the entire coast inside 25 fm (46 m) although the heaviest concentrations have been found in the 5 to 15 fm (9 to 27 m) depth range. Also, quite promising catches of red prawn (Plesionika sp.) have been made during exploratory fishing activities in water depths from 400 to 600 m (220 to 330 fm) (Raitt and Niven, 1965). On the basis of present knowledge it is estimated that about 3,000 square miles (7,500 km2) of trawlable grounds exist off Nigeria within the 25 fm (46 m) curve. In addition, an unknown shrimp potential exists in deeper waters.
The newly established inshore shrimp trawl fishery is a year-round one, with peak production occurring during the rainy season and the following months (June-December). Fishing operations are productive both night and day. However, during the dry season (February-May) night catches are up to 60 percent greater than during the day. This is especially the case on clear moonlight nights. Just preceding and during the rainy season, when the sea becomes more turbid, day and night results are similar. Also, it has been found that during this season night catches are increased by using high-opening trawls.
Shrimp appear to occur in local concentrations on the grounds. Catch rates have varied considerably on the same grounds during the same day. This is consistent with patterns found in other penaeid shrimp fisheries, and is a strong argument for use of the trynet if yields are to be maximized.
3.4.1.1 Fishing vessels and gear At present, the fishery is a small one with only 9 or 10 double-rigged vessels. These range in size from a 71 ft (22 m) 220 hp vessel to a 110 ft (34 m) 835 hp freezer trawler. Six of the vessels are equipped to grade and freeze the catch aboard. The other vessels ice the shrimp tails and deliver them to port each 2 to 3 days. The fleet is now being expanded with new and modern vessels.
The trawling gear is similar in design and construction to that described for the Gulf of Mexico area.
In contrast to most other shrimp fisheries, the catch of marketable fish constitutes a very significant part of total revenues. It is estimated that these vessels are now taking approximately 30 to 36 t of shrimp and 120 t of marketable fish monthly. The total value of the fish is about half that of the shrimp.
In addition to the above mentioned exploratory and development work off Nigeria, some very limited but promising tests have been made recently with a Gulf of Mexico trawl off the Ivory Coast. Trawling with a 60 ft (18 m) semi-balloon trawl produced about 1,700 lb (770 kg) of shrimp in two days and one night of fishing, with higher catch rates during the day. The daytime rates of shrimp catch were 3 to 10 times greater than locally based commercial trawlers, fishing for market fish and shrimp with European type trawls, were getting in the area at the time.
3.4.2 Dahomey In Dahomey a system of traps is used in lagoons to capture shrimp which are migrating to the sea. Fig. 30 shows the arrangement of the fishing units and the layout of each trap within a unit. Each trap system is made up of approximately 25 individual traps. The leads or wings on each trap are constructed from palm leaves framed with palm sticks which are secured in the bottom. They taper back to a trap chamber, above which is placed a parafin lamp for attracting the shrimp. The traps face the ebb tide and fishing is only at night when the shrimp are active. In the largest lagoon in Dahomey there are 160 trap systems comprising about 4,000 individual traps. Each system catches approximately one ton of shrimp (P. duorarum) and a similar amount of crabs per year. Very few fish are taken.
The trap system used in Dahomey is similar to other lagoon shrimp fisheries in Africa.
India is a good example of a tropical country where shrimp trawling has been introduced in recent years, and the commercial fishery is still in a stage of early evolution.
With shrimp production estimated at 50,000 to 80,000 t annually, India was already one of the world's leading shrimp producers before mechanized fishing was introduced - mainly in the last 10 years. The bulk of the shrimp catch, was and still is, caught in ponds, backwaters, canals, lagoons, and close inshore waters, and a big proportion of this is very small juvenile shrimp, much of which is sun dried. During the spring, at the beginning of the southwest monsoon, shrimp schools are observed on the surface, especially off the southwest coast, and have been traditionally caught in lampara-like nets (Kolli-Vala, Thuri-Vala). These nets have a long floatline but a relatively short leadline, so the net forms a kind of apron under the fish, when the wings are hauled to the canoes or log rafts.
In 1955 an FAO Technical Assistance expert conducted experimental shrimp trawling with a 22 ft (6.7 m) 10 hp open motorboat off the Malabar Coast, using a Gulf of Mexico type flat trawl of 32 ft (9.7 m) headline. He obtained consistently impressive catch rates of shrimp in shallow inshore waters, in from 2 to 10 fm (4 to 18 m) depth. The slope of the bottom there is only about 1 to 1½ fm per mile (about 1 to 1.5 m/km), so that this was a fairly broad belt, and he found good shrimp catches everywhere along the 110 miles (200 km) stretch of the coast which he explored from Calicut to Mangalore. This was duly recorded in monthly reports sent by the expert and FAO to the competent authorities, but without creating any noticeable interest. FAO then issued a press release which, in the title, heralded these shrimp grounds as a “Gold Mine”. This echoed through the world press and appeared in some 400 to 600 newspapers and periodicals, causing a parliamentary enquiry in India and a widespread interest in international shrimp business circles. This new-found realization of the shrimp trawling potential in fishing grounds, which had for ages been yielding impressive catches by primitive traditional methods, coincided with a governmental development program calling for the building of a considerable number of small motor boats, 25 to 30 ft (8 to 9 m), to be operated out of river mouths, havens and harbours on the Indian coasts. Fairly soon the first shrimp freezing plants were put into operation in Cochin and elsewhere on the Malabar Coast, and now there are perhaps around 2,000 small motor boats, mainly of 25 to 36 ft (8 to 11 m) in length, and 20 to 60 hp, trawling for shrimp. The bulk of the frozen shrimp is exported, yielding an annual revenue of about US.$10 million. Thus, the title of the “Gold Mine” press release proved prophetic. This story illustrates that often it is not enough to conduct exploratory or experimental fishing and record the results in technical reports. In this instance publicity was needed to start the ball rolling.

Fig. 30 Shrimp trap system used in Dahomey and other west African countries.
Fishing is still confined to within 15 fm (27 m), and even largely within 10 fm (18 m), not only due to the small size of the boats but mainly because lower unit catches of shrimp have been obtained so far in deeper waters. This seems to be fairly common in tropical countries. It must, however, be stressed that in India and many other tropical areas, deeper waters beyond 40 to 50 fm (73 to 91 m) have not yet been explored to any extent, either for shrimp or fish.
Shrimp species caught are: Penaeus indicus, P. monodon, P. merguiensis, Metapenaeus dobsoni, M. affinis, M. monoceros, and various species of Parapenaeopsis.
Figs. 31 and 33 illustrate the boats and deck arrangements commonly used in India. These boats are being series-built in great numbers in several shipyards both on the west, south and east coasts. So far only a few of the boats have mechanically-driven winches. On most boats the nets are towed by ropes instead of wire warps and are hauled by hand.
The trawls illustrated in Figs. 32 and 34 are commonly made of locally produced cotton twine, although nylon is gaining ground. The nets are variants of Gulf of Mexico type nets with minor modifications. Boats of 30 to 32 ft (about 9 m) and 30 hp normally use flat nets of 40 to 45 ft (12 to 14 m) with 24 × 42 in (61 × 107 cm) otter boards weighing 70 to 80 lb (32 to 36 kg). The bigger boats of 36 ft (11 m) and 60 hp use nets of 60 to 70 ft (18 to 21 m) with 25 × 55 in (0.63 to 1.40 m) otter boards weighing 100 to 120 lb (45 to 54 kg).
These small, decked motorboats of 25 to 36 ft (8 to 11 m) do not normally carry ice but bring in the catch each evening. Fishing is almost entirely limited to daytime. This day fishing pattern limits drastically the range of the boats to a small area near their home port. Plans call now for building bigger shrimp trawlers of 45 to 55 ft (14 to 17 m) which can stay at sea for a few days, ice the catch in insulated holds and exploit virgin grounds outside the small heavily-fished areas in the immediate vicinity of the harbours.
Shrimp is found along almost the entire west coast of India and West Pakistan, and on such areas in the east coast as have been explored so far.
The following description of shrimp fishing in Norway applies to a large extent also to shrimping elsewhere in Scandinavia and Greenland for Pandalus borealis.
3.6.1 Grounds and shrimp species Single-rig otter trawling for shrimp started in 1899 as a result of research by scientists of the Norwegian government (Hjort and Ruud, 1938). Until 1945, the fishery remained concentrated in southern Norway, but after World War II spread northward as far as the grounds bordering on the Atlantic Ocean between 70° to 71°N. Exploratory fishing by both government research vessels and the fishing industry is continuing.
While some other species of shrimp are also found in Norwegian waters, Pandalus borealis is the only one of commercial value. The habitat of this species is in cool deep water with occasional occurrences in shallow areas. Commercial fishing is conducted in depths from 30 to 300 fm (55 to 550 m), but experimental fishing has shown that shrimp occur down to at least 500 fm (910 m). They are primarily found on soft clay or mud bottom in deep fjords or in depressions on offshore banks. The temperature range of occurrence is 2 to 8°C but there are geographic optimums within this range. In the south it is 6 to 8°C, in the north 4 to 6°C, and in the Arctic (off Spitsbergen) 2 to 4°C. The shrimp are very sensitive to rapid temperature changes. If there is a sudden inflow of cold water at the bottom, as occurred in southern Norway in 1965 when the temperature fell 2°C, the shrimp leave the area but may gradually return when the temperature conditions become normal. In the Arctic the shrimp will leave an area when the temperature falls below 0°C.
![]() | ![]() |
Fig. 31 A 32 ft Indian shrimp trawler, powered by a 30 hp engine. | |
Fig. 32 A 47 ft four-seam shrimp trawl, India. |

Fig. 33 A 36ft 60 hp shrimp trawler as used in India.

Fig. 34 70 ft Four-Seam Trawl Net as used in India.
3.6.2 Shrimp finding Although it is known that P. borealis is a cold water species occurring at temperatures below 8°C, bottom temperatures are not used as a guide by the fishermen. Also, echo sounding is not employed directly for shrimp location but is used to evaluate likely bottom types. Strong echo sounders working at medium frequency (30 to 50 kc/s) with good bottom penetrating ability are of great help. The likeliest bottom often shows several layers of soft clay or ooze. Although in general, the shrimp schools are not located by echo sounding, they have in many instances been recorded short distances above the bottom (Fig. 1). This happens particularly during dusk and darkness when the shrimp rise from the bottom and become pelagic. In the early morning the shrimp settle again and are difficult to detect by echo sounder in the relatively deep water.
3.6.3 Mode of operation Because of the pelagic nocturnal behaviour of the shrimp, the Norwegian fishery is a daytime operation. Generally the boats start fishing early in the morning and deliver the catch that evening. However, on distant grounds a trip may last from two to three days. According to regulations it is forbidden to keep shrimp on board for more than two days, and during April to September ice must be used if the trip lasts for more than one day.
All fish are sorted from the catch by hand, the shrimp washed in sea water, and then sorted by a sieve. This is a box with horizontal bars in the bottom, spaced at 7 and 9 mm. The large shrimp are washed again and dumped in lots of about 30 lb (14 kg) into boiling sea water. When the water boils again, after a few minutes, the shrimp is ladled out and cooled in wire baskets on deck. The smaller size group are landed uncooked. The very small shrimp which passed through the 7 mm sieve are returned to the sea.
The cooked shrimp are marketed locally or exported iced in plastic containers. The smaller uncooked shrimp are peeled and either canned or frozen in consumer packages. The incidental fish catch is generally very small. In southern Norway it consists mainly of non-marketable species which are sold for mink feed. In northern Norway the fish catch at times include cod, haddock and redfish which are sold for human consumption.
3.6.4 Fishing gear Until recently the main, or perhaps only, type of shrimp trawl was the one shown in Fig. 35. The design is of the type as commonly used in the Mediterranean for general bottom trawling for fish and shrimp. In recent years other trawl types, as illustrated in Fig. 36, have also become popular.
In the Mediterranean one can hardly talk about shrimping as a separate fishery. On the other hand, shrimp is a financially important part of the catch in many trawl fisheries there. In some shallow bays, like the Gulf of Iskenderun in the eastern Mediterranean, there are relatively good shrimp grounds in shallow waters, less than 15 fm (27 m). Shrimp also makes up a sizeable part of the total catch by volume in deeper waters outside such bays.
It is a characteristic feature of Mediterranean trawling that boats of modest size, say 60 ft (18 m) with engines of only 150 to 200 hp, commonly fish at depths of 550 to 700 m (300 to 380 fm).
At all depths shrimp is of some economic importance in the catch and the following stratification holds approximately true for the central part of the Mediterranean: Penaeus kerathurus between 0 and 100 m; Parapenaeus longirostris between 200 and 400 m; Aristaeomorpha foliacea (Red shrimp) and Aristeus antennatus between 400 and 700 m (Bourgois and Farina in FAO/UN, 1961).

(R. Larsen, FAO Catalogue of Fishing Gear Designs, No. 119)
Fig. 35 A 34 m Shrimp trawl as used in Denmark.

Fig. 36 Norwegian “wing” trawl.
Trawling is conducted in deep water for two reasons; one is higher catch rates by weight (fish and shrimp); the other is the presence of the two last named shrimp species which form an important but not dominant part of the catch by value.
Virtually throughout the Mediterranean the same gear is used, i.e. the net illustrated in Fig. 35, in the chapter on Norwegian shrimping. This net is used in Scandinavia specifically as a shrimp trawl, while in the Mediterranean it is used as a general purpose trawl, usually with very long sweeplines, i.e. 80 to 120 fm (145 to 220 m) combination rope (25 to 32 mm diameter) between the net wings and the otter boards. These sweeplines have a rather modest angle of attack, normally less than 9° (Scharfe, 1959), allowing fish and perhaps also shrimp sufficient time to be herded into the path of the oncoming net. Contrary to common belief, such long sweeplines account for only a very modest part of the total towing resistance of the gear, i.e. about 8 percent at a towing speed of about 3 knots. The last 4 to 5 fm of the sweeplines, nearest to the trawl wing, are wrapped with coir rope to form ‘mudropes’ of about 50 to 75 mm (2 to 3 in) diameter. The sweeplines and the mudropes are believed to greatly increase the catching power of the trawl gear by herding the fish into the net.
The otter boards used are relatively small for 120 to 150 hp. Boards of 1.60 by 0.92 m, equalling 1.5 sq m, are commonly used. The otter boards (Fig. 37) are normally fitted with broad mud shoes, especially for deep water trawling where semiliquid muddy ooze is often encountered. With an angle of attack of about 20 to 30°, these otter boards spread about 70 to 80 m at 3 knots towing speed, with 200 m sweeplines and very small-meshed net of approximately 30 m headline/35 m footrope (Fig. 38). The total pull in the towing blocks might then be 1,300 to 1,400 kg; the warps and otter boards accounting for 24 percent (310 to 340 kg), the sweeplines 8 percent (110 kg) and the net 68 percent (890 to 950 kg), (Scharfe, 1959).
The shrimp fishery of Western Europe yields a significant total catch of over 50,000 t a year. The main species taken are Crangon crangon and Pandalus borealis, although several other species are also taken in smaller quantities.
A considerable variety of gear is used, ranging from fykenets and stownets in estuarine waters to beam trawls and otter trawls of several different types. Fig. 39 shows a typical French otter trawl used by small shrimp trawlers.
The most notable feature of Western European shrimp trawling is the rather recent trend to double-rig beam trawling, as illustrated in Fig. 40. Many of the important shrimp grounds in this region are in estuarine and inshore waters, with very strong tidal currents, and this is no doubt the main reason for using beam trawls. The advantages claimed (Verhoest and Maton, 1964) for these over otter trawls under these conditions are that they are less affected by the current: (i) the influence of tidal currents is much less on a beam trawl than on an otter trawl since the opening is fixed regardless of speed through the water, whereas otter boards lose their effectiveness when speed through the water is low; (ii) the length of warp has much less influence on the operation of a beam trawl than on an otter trawl; (iii) the opening of the otter trawl changes during course alterations and when the bottom consistency changes, whereas the beam trawl opening is fixed.
The beam trawl sizes range up to 10 m (beam) and the vessels are generally 12 to 20 m in length and of 40 to 125 hp.
![]() | ![]() |
Fig. 37 A typical Mediterranean trawl board with broad mud ski and of light construction. | |
Fig. 38 Mediterranean trawl gear drawn to scale: Vessel 18 m, engine 130 hp, warps 400 m, sweeplines 200 m, spread between otter boards 70 m and between wingtips of trawl 16 m. |

Fig. 39 French shrimp trawl for small vessels.

(FAO Catalogue of Fishing Gear Designs, No. 121)
Fig. 40 Dutch Double-Rig Beam Trawl.
The greatest variety of shrimp catching gear and techniques is probably found in Japan. The main methods are trawling and Danish seining; other methods are bottom driftnetting, purse seining, fishing with dip nets, with brushwood shelters and various types of traps.
3.9.1 Trawling In the Yellow Sea and East China Sea there is a considerable trawl fishery for Penaeus orientalis, mainly in depths of 90 to 180 m. The shrimp is caught both on the bottom and in midwater. Yellow croaker is also a prominent species in this fishery (Hirano and Noda, 1964).
Side trawlers of 350 to 500 gross tonnage and 700 to 850 hp use four-seam type nets made of black polyethylene knotless netting. Figs. 41 and 42 show a typical net of 44 m headline and 55 m footrope which can be fished either on the bottom or in midwater. Bull trawlers of 70 to 130 gross tonnage, 200 to 300 hp, also operate on these grounds with nets having extremely long wings (Figs. 43, 44).
In 1959/60 echo sounding techniques revealed that the shrimp schooled well off the bottom during a part of the year. Some boats then started trawling in midwater, and by 1964 some 200 of the above fishing units were regularly engaged for about five months of the year in midwater trawling for Penaeus orientalis and yellow croaker, both with otter trawls and bull trawls.
Many of these ships were equipped with high frequency echo sounders (100 kc/s or 200 kc/s) or dual frequency echo sounders of 28 to 50 kc/s and 100 to 200 kc/s for detecting the shrimp and croaker schools (Figs. 45, 46).
The nets were aimed at the right fishing depth by the use of headline mounted transducers linked to the shipboard echo sounder recorder with electrical cable (Fig. 47) or wireless acoustic telemetry (Fig. 49). The shrimp schools were often found about 10 m above the bottom, but sometimes as high as 30 to 40 m.
When the nets need to be lowered or raised slightly to intercept a school, this is achieved by slowing or increasing the speed. The curved (Suberkrub) otter boards (Fig. 42) are so balanced as to develop a lift when the speed is increased. If a very considerable depth change is needed, it is necessary to haul or veer the warps as well.
The netsonde and the curved Suberkrub otter boards were discussed at the first FAO Gear Congress in Hamburg in 1957 and described in Modern Fishing Gear of the World, 1959 (Scharfe, 1959; Suberkrub, 1959; Woodgate, 1959). The Japanese were the first to adopt aimed midwater trawling in commercial fishing (for shrimp in the Yellow Sea and East China Sea) by combining these two features. Years later it was introduced in herring midwater trawling in Northern Europe.
After 1964 shrimp was not found to any great extent in midwater in the Yellow Sea, perhaps due to a change in oceanographic conditions, and midwater shrimp trawling was therefore largely discontinued there for the time being.
The same type of high curved otter boards, and the headline transducer equipment, with or without cable (Figs. 47, 49), are also widely used in Japanese bottom trawling for fish as well as shrimp. The headline transducer gives a continuous indication of the opening-height of the net, which often is of critical importance (Fig. 48) and always a useful tell-tale sign.
In very shallow water, say inside 10 fm (18 m), bull trawling may have inherent advantages as compared to single-rig otter trawling. Under these conditions, otter trawl warps must be relatively very long in relation to water depths, and consequently they may disturb the bottom in front of the otter boards, tending to drive the fish and shrimp out of the path of the net. When otter trawling in shallow water, the propeller wake may also be felt several fathoms down; propeller noise may also possibly be a disturbing factor. In the latter instance it is noteworthy that five-bladed propellers are popular in Gulf of Mexico shrimpers and believed to be ‘smoother’. These matters are worth further consideration, particularly since in the tropics the most productive shrimp grounds are often found very close inshore in 1 to 10 fm depth.

(FAO Catalogue of Fishing Gear Designs, No.124)
Fig. 41 Midwater shrimp trawl for 850 hp Otter Trawler.


Fig. 42 Upper: Construction details of curved high otter boards used with Japanese
midwater and bottom trawls.
Lower: Schematic description of single-boat midwater trawling using a netsonde.

Fig. 43 Japanese bull trawl used by two 75 t 250 hp vessels for shrimp (Penaeus orientalis) and yellow croaker in the Yellow Sea.


Fig. 44 Japanese bull trawling gear.

Fig. 45 Echo chart showing a large school of Penaeus orientalis that rose from the bottom of the Yellow Sea at dusk on January 9, 1962. Depth of water 75 m. The highest layer of the school 44 m and the lowest layer 7 m above the bottom.

Fig. 46 Traces of a school of the shrimp entering the net as seen on the screen of the cathode ray tube. Height of the net mouth 7.5 m.

Fig. 47 Component parts of a complete headline sounding unit (Sanken ‘NET VISION’ Model NV 4–500). Switchboard, main receiver unit housing the paper recorder, cathode ray tube, and amplifier and impulse generator are shown in the upper row. A spares box, recorder paper containers, converter, headline transducer, shimp's transducer, netszonde, and cable pulley are shown in the centre row. Oil pressure gauge, flow control valve, hydraulic pump and oil tank are shown below. Cable reel with hydraulic motor and brake are shown to the right.

Fig. 48 Traces of net towed a little above the bottom with a propeller at 200 to 210 rpm. Depth of water : 61m. At A the net slows and opens up, the footrope sinking to the bottom. At B towing is resumed and net travels closer to the bottom.

Fig. 49 Furuno “Net Recorder” wireless type headline transducer.
Small trawl boats of 1 to 10 gross tonnage operate in the Inland Sea and in shallow coastal waters for Penaeus japonicus, Penaeus monodon, Metapenaeopsis barbata, M. acclivis, M. lamellata and Trachypenaeus curvirostris, with small otter trawls, bull trawls, beam trawls and dredges (Figs. 50, 51, 52).
3.9.2 Danish seining Danish seiners of 30 to 65 gross tonnage and also trawlers of the same size fish for shrimp in the Japan Sea, Okhotsk Sea and Bering Sea for Pandalus hypsinotus, P. borealis, P. goniurus, P. kessleri, P. nipponensis and Metapenaeopsis lamellata. Fig. 53 shows a typical Danish seine.
In the Bering Sea fleet operations, several Danish seiners, bull trawlers or otter trawlers supply a shrimp cannery ship or a freezer ship; fishing operations last from April to September, i.e. when weather conditions are relatively favourable. The boats fish mainly in depths of 100 to 300 m (Tominaga, 1961).
Small Danish seiners, of 3 to 10 gross tonnage, fish in the Inland Sea and in shallow coastal waters for the same species as the small otter and beam trawlers mentioned above (Section 3.9.1). In Danish seining, a flag buoy is first thrown in the sea, then the boat streams out the first warp as shown in Fig. 54. When about two-thirds of the first rope has been shot, the boat makes a rounded turn, shooting the rest of the first rope and the net, and when about one-third of the second rope has been shot, the boat makes another rounded turn and heads for the buoy, which is taken on board. The boat now tows very slowly while the ropes are gradually coming together herding shrimp and fish into the path of the net. Then the speed is increased and the net hauled more rapidly, scooping up the catch. An advantage of this fishing method is that a very large net can be operated by a small boat of low power. (See the chart of comparative shrimp trawl sizes). Also a relatively large area can be swept in a given time. Furthermore, this method makes it possible to sweep rather effectively small areas of clear ground in among rough spots, where it may be difficult or impossible to maintain a trawling course.
3.9.3 Bottom driftnetting Small boats of 1 to 5 gross tonnage fish with bottom driftnets in coastal bays for Penaeus japonicus. The driftnets (Fig. 55) have a turned up lower edge which is attached loosely at intervals to the vertical netting, about one-fifth of the way up, forming pockets in which the shrimp collect. The nets are about 7 m long and 2 m high, the turn-up making a 40 cm deep pocket. When shrimp at the bottom touch the net they jump up, hit the net and fall into the pocket. These nets are used for taking both shrimp and crab along the coast of Honshu, mainly in the spring and summer. The Japanese name is ‘genshiki ami’. Usually about eight nets in a string are fished by each boat; they are set obliquely to the current and left drifting. A buoy is attached to one end of the fleet of nets, while the other end is attached to the boat. During the drifting, the angle of net to the current gradually increases, since the boat drifts faster than the float. When the nets have come to lie at right angles to the current, they are hauled and the shrimp removed.
3.9.4 Shrimp purse seining Boats of 5 to 15 gross tonnage fish in coastal waters, including Tokyo Bay, in depths of 10 to 30 m for Metapenaeus joyneri. Fig. 56 shows a net which is used both for catching shrimp and sardines. The seine is 243 m (132 fm) long on the floatline and 297 m (162 fm) on the leadline.


Fig. 50 Small shrimp trawls used in Japan by boats of 1 to 10 gross tonnage and up to 20 hp, fishing in Seto Inland Sea, Ariake Bay and other coastal waters chiefly for shrimp, but also conger eel, flatfish, octopus and crab; operated mainly at night.
![]() | |
| Fig.51 Dredge ‘Keta Ami’ for shrimp, crab, clam, flatfish, sea-cucumber, etc. used in Japanese coastal waters. Each boat tows 2 to 3 dredges, Iron or wooden frame is 1–1½ m wide with 20–30 cm vertical opening; net bag 2–3 m long. The frame has a number of teeth which dig into the ground. Also 2 iron or stone sinkers are attached. | ![]() |

Fig. 52 Shrimp trawl ‘Utase Ami’ used by sailing boats sailing sideways as shown in the drawing, in coastal waters for catching shrimp, crab, flatfish, etc.

Fig. 53 Danish seine for shrimp and fish used by vessels of 40 to 65 gross tonnage and 250 hp engine.
![]() | Japanese Danish seine net for shrimp and fish |

Fig. 54 Explains the operation of a Danish seine. The boat first sets out a flag buoy (left) and then steams out the seine warp ropes which are of graduated diameter (29, 30, 32, 33, 32 mm); total length 2,100 m (7,000 ft.). Next the net is shot and then the second warp. After picking up the buoy the boat advances very slowly while the warps gradually come together, sweeping shrimp and fish into the path of the net which then is towed faster to scoop up the catch.
Fig. 55
Japanese shrimp bottom driftnet
(Genshiki Ami) with pocket along
the bottom.



Fig. 56 Japanese one-boat purse seine for shrimp and sardine. Species caught: Metapenaeus joyneri.

Big two-boat roundhaul seines (over 500 m long) are also used from small motorboats for catching Sergestes lucens. This is a very small bioluminescent species of shrimp (max. length about 50 mm), which normally stays deep during the daytime and is fished when it rises (like a deep scattering layer) at night, especially in Shizuoka Prefecture (Fig. 5).
Anderson, W.W., 1958 The shrimp and the shrimp industry of the southern United States. Fishery Leafl. Fish Wildl. Serv. U.S., (472): 9 p.
Bullis, H.R., 1951 Gulf of Mexico shrimp trawl designs. Fishery Leafl.Fish Wildl.Serv. U.S., (394):16 p.
Bullis, H.R. Jr., 1956 Preliminary results of deep-water exploration for shrimp in the Gulf of Mexico by the M/V OREGON (1950–56). Comml Fish. Rev., 18(12):1–12
Bullis, H.R. Jr., and J.R. Thompson, 1959 Shrimp exploration by the M/V OREGON along the northeast coast of South America. Comml Fish.Rev., 21(11):1–9
Captiva, F.J., 1967 Trends in shrimp trawler design and construction over the past five decades. Proc.Gulf Caribb.Fish.Inst., 19
FAO/UN, 1961 Rapport au Gouvernement de la Tunisie concernant les essais de chalutage au large des cotes tunisiennes basé sur les trovaux de F. Bourgois et L. Farina. Rep.FAO/ETAP (1410):31 p.
Fuss, C.M. Jr., 1963 Gulf of Mexico shrimp trawls, Parts 1 and 2. Fish.Gaz., 80 (March and April)
Fuss, C.M. Jr., 1964 Shrimp behaviour as related to gear research and development. Burrowing behaviour and responses to mechanical stimulus. In Modern fishing gear of the world. London, Fishing News (Books) Ltd., vol.2:563–6
Fuss, C.M. Jr., and L.H. Ogren, 1966 Factors affecting activity and burrowing habits of the pink shrimp Penaeus duorarum Burkenroad. Biol.Bull.mar.Biol.Lab.Woods Hole, 130(2):170–91
Hela, I and T. Laevastu, 1962 Fisheries hydrography: how oceanography and meteorology can and do serve fisheries. London, Fishing News (Books) Ltd., 137 p.
Hirano, M.and T. Noda, 1964 A 200 kc/28 kc dual frequency echo sounder for aimed midwater shrimp trawling. In Modern fishing gear of the world, London, Fishing News (Books) Ltd., vol.2:388–95
Hjort, J. and J. Ruud, 1938 Deep-sea prawn fisheries and their problems. Hvaldråd.Skr., 17
Juhl, R., 1961 A study of vessel and gear usage in the shrimp fishery of the southeastern United States. Comml Fish.Rev., 23(8):1–8
Knake, B.O., J. Murdock and J.P. Cating, 1958 Double-rig shrimp trawling in the Gulf of Mexico. Fishery Leafl.Fish Wildl.Serv.U.S., (470):11 p.
Lindner, M.J., 1957 Survey of shrimp fisheries of Central and South America. U.S. Fish and Wildlife Service. Spec.scient.Rep.U.S.Fish Wildl.Serv.(Fish.) 235: 166
Raitt, D.F.S. and D.R. Niven, 1965 Prawn industry for Nigeria? Fishg News int., 4(4):481–2
Ringhaver, L.C., 1960 Design and mass production of shrimp trawlers. In Fishing boats of the world, ed. by J.O. Traung. London, Fishing News (Books) Ltd., vol.2:615–23
Scharfe, J., 1959 Experiments to decrease the towing resistance of trawl gear. In Modern fishing gear of the world, edited by H. Kristjonsson. London, Fishing News (Books) Ltd., pp. 245-7
Scharfe, J., Mediterranean trawling, second and third reports. Stud.Rev.gėn.Fish. Coun. Mediterr., (6)
Springer, S. and H.R. Bullis, 1954 Exploratory shrimp fishing in the Gulf of Mexico. Summary Report for 1952–54. Comml Fish. Rev., 16(10):1–16
Suberkrub, F., 1959 Otter boards for pelagic trawling. In Modern fishing gear of the world, edited by H. Kristjonsson. London, Fishing News (Books) Ltd., pp. 359-60
Tominaga, H., 1964 Japanese mothership and fleet operations for salmon. crab. longlining, and tuna. In Modern fishing gear of the world. London, Fishing News (Books) Ltd., vol.2:423–8
Verhoest, J. and A. Maton, 1964 Double-rig shrimp beam trawling. In Modern fishing gear of the world. London, Fishing News (Books) Ltd., vol. 2:209–17
Wathne, F., 1964 Shrimp behaviour as related to gear research and development. 2. Shrimp reaction to electrical stimulus. In Modern fishing gear of the world. London, Fishing News (Books) Ltd., vol.2:566–70
Woodgate, R.N., 1959 Recent trends and developments in echo fishing. In Modern fishing gear of the world, edited by H. Kristjonsson. London, Fishing News (Books) Ltd., pp. 488-92
Acknowledgements
The author wishes to express his gratitude to Mr. Odd Lystrup, Director of Kuwait National Fishing Company, Kuwait; Dr. Birger Rasmussen, Institute of Marine Research, Bergen, Norway; Dr. Shigene Takayama, Chief, Fishing Gear and Methods Division, Tokai Regional Fisheries Research Laboratory, Tokyo, Japan: and Mr. Davidson Thomas, FAO/SF Fishing Technologist, Lagos, Nigeria, for valuable information given in personal communications: also to Mr. Gudni Thorsteinsson, Fishing Technologist, Marine Research Institute, Reykjavik, Iceland, who did much of the bibliographic research. Last, but not least, thanks are due to secretarial staff and professional colleagues in FAO's Gear Technology Section, especially Mr. Colin Tait, who prepared all the figures, and Mr. Fredrick Wathne who was a major contributor and a close collaborator in the preparation of the paper.