The fish hatchery, where the young fish are produced en masse year after year and distributed to fish growers, has become an essential part of modern fish culture. It is obvious that the smaller fish farmers do not have the facilities nor the skill to produce their own requirement of fish seed, especially of those fishes which are not easy to propagate or do not propagate normally in confined waters.
There are two types of hatcheries: one for handling only one species of fish (special hatchery), and the other where many fish species can be handled. The present trend is to establish multi-species hatcheries, in keeping with the modern trend of mixed culture or composite culture of different species with different food habits, so as to utilize all the food resources of the pond to achieve the highest possible yield.
The production capacity of a hatchery depends on many factors: such as, the number and size of the brood stock; the number of species to be propagated; the differences in their spawning season; the capacity of ward tanks; incubators and larva-rearing devices; quantity and quality of the water; and the expertise of the operators. The capacity of fry nursing and fingerling rearing tanks (or ponds), and the rate of distribution of the young fish are the other important factors.
In countries where the transport of young fish does not pose a problem (because of the existence of a good network of roads and reliable and inexpensive transport facilities), it is easy to establish large central hatcheries and distribution centres. Research carried out at these centres can promote and improve the existing technologies. Here again, the smaller hatcheries cannot afford to engage in research activities. Even though large central hatcheries have enormous advantages, it is advisable that several medium-sized hatcheries (with a capacity to produce about 7–10 million, 20–30 day-old fingerlings) be established in tropical and subtropical regions, since the prevailing high temperatures serve as a limiting factor in long distance transportation.
If the breeding seasons of the various species do not coincide, the production capacity of a hatchery can be increased considerably with only negligible additional expenditures, by successive propagation of the different species over a longer period.
The requirements and general lay-out of a medium-sized warm-water fish hatchery are described below.
The prerequisites of a fish hatchery are: (1) qualitatively and quantitatively adequate water, (2) adequate land for the ponds, hatchery tanks, buildings, etc., (3) electricity, if possible, (4) transportation facilities, and (5) manpower.
Water. The water required for the hatchery can be drawn from dams, reservoirs, ponds, rivers, canals, wells, or deep wells. However, the water must be of the right quality. Its salinity should not exceed 2 ppm, while its pH should be, preferably, about 7–8. It should be free from sewage and other dissolved wastes, pesticides, chlorine, and other poisonous substances. Water supply to the hatchery by gravity flow is highly desirable. Otherwise, pumping equipment and reservoir tanks have to be installed.
The hatchery (including the ward-basins, incubation and larva-rearing basins or devices) needs water having a balanced pressure. A 1.0–1.5 m fall of the water from the supply tank provides the required pressure for the devices. Stronger pressure is not desirable, since it may harm the delicate eggs and larvae. If the pressure is too great, a balancing tank must be constructed between the water supply source and the hatchery devices, so as to provide the recommended pressure.
In case the water contains gases, such as methane or hydrogen sulphide and has no or little dissolved oxygen (e.g., water from tube wells, deep well, or the bottom of deep reservoirs), a simple oxygenating filter can make it suitable for the hatchery.
The temperature of the water is another important factor. Warm water fishes need a water temperature of between 20° and 30°C for their propagation. If it is too cold or too warm, the final development of the gonad is inhibited. In the case of common carp, 20°–23°C is the ideal temperature for its propagation, while 24°–28°C is the best for other river spawners. The high heat-retaining capacity of water does not allow a quick change of temperature. This fact must be considered when planning a fish hatchery. If possible, there should be a provision for the simultaneous supply of both hot and cold water, so that they can be mixed to obtain the optimal water temperature.
The water should also be free from planktonic organisms, especially the cyclopids. Water from a dam, reservoir, or pond can be cleaned by a simple gravel filter or by the more complicated and more effective reverse filter (Figure 56). The turbid waters of rivers, channels, etc. can also be used for hatchery purposes, since most of the river spawners spawn in turbid waters during flooding. However, turbidity impedes the free observation of events in the hatchery devices and the particles may clog the fine meshed sieve cloth filters of the incubation and larva-rearing devices. It is, therefore, better to allow the coarse suspended matters in turbid water to settle in a balancing reservoir.
Filamentous algae can be a great nuisance in the hatchery, if they get access to the water supply system. Therefore, all the filtering devices should be kept under a roof or cover so as not to allow the development of filamentous plants inside them. Leaves, debris, etc. also must be strained off the water before it is allowed into the hatchery.
In the plains it is quite difficult to get enough water with adequate fall other than to obtain it from a pond or reservoir. When there is a water shortage, the used water can be recirculated into the pond, where it may become clean enough for use in the hatchery again.
The water taken directly from a pond or reservoir without filtering may cause many problems in the hatchery, since planktonic crustaceans and other bodies harmful to eggs, larvae, and fry may gain access to the hatchery. A good and relatively inexpensive filter can be constructed as follows:
A concrete or brick base is constructed in the pond or reservoir, with a sufficient number of holes for the stakes which would support the superstructure. Attached to this is a strong wire mesh fence measuring 1×1 m or 1.5×1.5 m and extending 0.5 m above the water level in the pond. An outlet pipe with a strainer is fitted as shown in the diagram (Figure 58). The outer side of the fence is covered with a strong fine mesh material (preferably of plastic or bronze) to block out the coarse sand. About half a metre from around the inner fence, an outer fence of strong wire mesh is installed, with a fine mesh cloth covering on the inside. Coarse sand (3–5 mm) is then poured in between the two fences. The entire structure is then covered with a roof so as to inhibit the growth of algae on the sand filling and inside the filter (Figures 57 and 58). If water supply by gravity flow is not possible, a small diesel or electric pump will have to be used.
The quantity of water is also an important factor to be taken into consideration, since the hatchery water becomes polluted with dissolved organic matter and must be replaced. Recirculation of the already used water would be helpful only if a suitable cleaning system is incorporated into the overall water circulation system. Such a system is usually too complicated and expensive.
A modern hatchery and fish seed distribution centre is composed of four different units: brood fish pond, hatchery, nursery, and fingerling rearing pond. The hatchery occupies the major part of the complex and needs “quality” water during the propagation season, although the spent water of the hatchery can be diverted into other units of the centre. A funnel-type incubator and larva-rearing device of 10 litres capacity requires 0.5–1.0 litre of water/min. The maximum water consumption by hatchery devices in a medium size hatchery is about 5–10 l/sec. Another 5 l/sec is required for the ante ponds and ward basins. In all, the hatchery requires approximately 15 litres of water/sec. About 25–35 l/sec might be required for the other units. In conclusion, it may be stated that a medium-sized hatchery with complementary units can be established at a place where 40–50 litres of water/sec is available during the driest season.
As mentioned earlier, a hatchery complex consists of four units: (1) brood fish ponds, (2) the hatchery with ante ponds and ward basins (tanks), (3) fry nursing units, and (4) the fingerling rearing-cum-production ponds.
The brood fish or breeders, which provide the sexual products for starting new generations of fish, must be cared for carefully. About 20–50 brood fish, collectively weighing approximately 150–250 kg, can be maintained in 1 000 m2 (0.1 ha) of pond surface. Where propagation technology is properly practised, about 50–150 brood fish of one species (40 percent females and 60 percent males) would suffice to produce 2–3 million, 20–30 day-old fish. This would mean that two brood fish ponds, each of 2 000 m2 area and able to maintain 50–75 normal size brood fish (3–6 kg), would be required for one species. If the hatchery is dealing with 5 species of fishes, 8–10 such ponds with a total surface area of 1.5–2.0 ha would suffice. Brood fishes of different food habits can be stocked together in the same pond. It is not advisable to reduce the number of ponds and increase the size of individual ponds beyond 2 000 m2, because in large ponds it is difficult to net the brood fish when segregating them by sex becomes necessary.
Brood fish ponds should be sufficiently deep (1.5 m on an average) and amply supplied with water. A pond of 1 ha surface area would require 100–200 m3 of water per day to replenish the water lost by evaporation during the dry season.
The location of brood fish ponds should be in a place where it can be guarded against the possible theft of the brood fish and preferably near the hatchery. A more distant location could also involve transportation problems and the necessity for separate watch and ward.
It is advisable to construct the brood fish ponds in rectangular shape; 75 × 20 m or 80 × 25 m are very suitable, given that the proper space is available.
Most propagation work is performed in the hatchery. Hatchery work begins with bringing in ripe breeders for induced spawning and extends up to the distribution of feeding fry for stocking elsewhere. Personnel in commercial hatcheries usually work continuously during the propagation season. Details of various hatchery units are shown in Figures 59 and 60.
To hold the selected ripe breeders prior to their hypophysation, two small ponds are required, each measuring 200–450 m2 in area (10 × 20 m or 15 × 30 m) and 1.0–1.5 m in depth. All the fish (about 25–50) required for breeding during the course of a week can be held (with sexes segregated) in these two ponds. These ponds are called ante ponds or storing ponds.
For keeping the injected brood fish, brick or concrete tanks or basins with a continuous supply of filtered, clean, and well oxygenated water are necessary. They are known as ward basins or tanks. The bottom of these basins should have a gradual slope toward the drain so that they can be completely drained whenever required. A 5-cm diameter turn-down pipe serves for regulating the water level (Figure 59). A chain and peg are used to lock the turn-down pipe in position, to prevent it from falling and causing the water to drain from the ward tank. Sometimes, especially if the injected fish are to be stripped, having a 20–25 cm deep and 50 cm wide ditch along the longitudinal axis of the basin is very useful, since the fish can be easily taken from here for stripping without too much disturbance. Ward tanks with even bottoms are satisfactory where induced spawning is practised. The most convenient sizes for these basins are 2.5 × 1.5 × 1.0 m for 4–6 breeders and 4 x 2 x 1 m for 8–10 breeders of 3–6 kg each. For extra large breeders (e.g. Colossoma sp.) weighing about 12–20 kg each, larger ward tanks of 7.5 × 2.5 × 1.0 m size are preferred. Crowding too many fish in a tank is not advisable, especially if these fish are to be induced spawned. However, the optimum stocking density must be determined through experimentation with each of the fish species. It is important to provide enough oxygen for the breeders. It is estimated that 4 litres of water/min are required for one brood fish of normal size (3–6 kg).
Many of the river spawners (silver carp, grass carp, bighead, rohu, mrigal, coporo, etc.) can become very nervous and agitated. It is, therefore, advisable to keep these fishes in shallow water (25–30 cm deep) during the treatment time, so that they are not able to jump out. It is also advisable to fix a net cover on the top of the basin to prevent the injected breeders from jumping out. It is necessary to place a floating shade of suitable size and dark colour on the surface of the basin for the injected brood fish to hide under. For fish that do not become nervous during induced breeding, the water level in the ward tanks can be raised to 60–70 cm.
The handling of brood fish in a ward tank becomes much easier if a hapa is installed inside the tank. To have the bottom of the hapa stretched, so that it does not disturb the brooders, an iron rod frame is fixed around the bottom of the hapa. It is convenient to have the length and width of the hapa about 5–10 cm less than that of the ward basin.
A batch of brood fish generally occupies the ward tank for about 36–48 hours; i.e., 24 hours after the preparatory injection, 9–10 hours after the decisive injection, and the remaining time after spawning, during which the fertilized eggs are collected. Therefore, 4–6 ward tanks are sufficient if induced spawning or stripping is planned on a four day per week basis. One working day should be set aside for cleaning and maintenance operations.
Along the row of ward basins, on the drainage side, a 60–70 cm wide and 10–25 cm deep ditch is constructed to drain water from these tanks and to place the egg collectors.
In tropical and sub-tropical areas, it would be better if the ward tanks are roofed, or shaded partly or fully. It is convenient to have a laboratory (6 × 3 m) or roofed area nearby, particularly for stripping breeders, preparing injections, treating spawn, etc. Such a laboratory should have a water supply, tables, cupboards, racks, etc. A small store room is also necessary.
Fertilized eggs obtained through stripping or induced spawning must be incubated, and the hatched larvae reared up to the just feeding fry stage in the hatchery.
Funnel-type incubators are usually used for the incubation of non-sticky eggs of warm water fishes. For heavier eggs with narrow perivitelline space, more conical funnels or jars are used, which are necessarily smaller in diameter (16–20 cm) and volume. While deciding on the number of incubators required, it should be borne in mind that only about 25–30 percent of the total volume of an incubator can be used for eggs. This would mean that only about 1.5–2.2 litres of swollen eggs can be placed inside a 7 litres Zoug jar or cone-shaped plastic funnel. For semi-floating and floating eggs, it is better to have the conical part of the incubator more obtuse. The patterns of funnel-type incubators described in this manual are generally sufficient to take care of most of the eggs encountered in fish propagation work. Large and very large incubators (100–200 litres) usually have the disadvantage of being filled with eggs from different females with different fertilization rates. However, such incubators are used in large-scale propagation work. Funnel-type incubators made of hard materials, such as glass, fibre-glass or metal, can be installed easily by using metal brackets.
The eggs of river-spawners of the sub-tropical and tropical regions hatch within 18–30 hours. The turn-over time of an incubator with necessary cleaning and drying is about 48 hours, which is about the same as for ward-basins.
The turn-over time of the larva-rearing devices is about 5 days. But the number of larvae that can be kept in a larva-rearing device is about double the number of eggs that can be kept in an incubator of similar size.
The taps supplying water to the incubator and larva-rearing devices are fixed on the water supply pipe at intervals of 25 cm in the case of Zoug jars and cone funnels, and at 60 cm intervals in others. The connexion between the tap and device can be direct or through a rubber or plastic flexible pipe. In either case, the connexion of the tap to the device should be securely fixed to avoid any accidental disconnexion which would be fatal to the eggs or larvae.
For keeping immersed type incubators made of soft materials, rectangular twin basins are constructed and the water supply pipe, with the taps fixed on both sides, is placed on top of the dividing wall. The distance between the taps should be 60 cm. Since it is necessary and convenient that the taps should supply the same quantity of water whether one or all are open, the water tube to which the taps are fixed must be of a large diameter; e.g., 5 cm for 20 taps and 7.5 cm for more than 20 taps (Figure 60).
Each of the twin basins are 6–8 m long, 70 cm wide, and 1.0–1.1 m deep, and have a turn-down pipe at one end to regulate the water level. Two twin tanks of the above size are sufficient for a medium sized hatchery. Approximately 40–60 taps for Zoug jars are suitable for common carp propagation.
Since the eggs and larvae of many fishes are sensitive to direct sunshine, it is advisable to shade the twin basins.
Basins for conditioning the fry or fingerlings before they are packed for transporting can be easily constructed in the hatchery complex. The conditioning generally lasts about 24 hours. These basins generally measure 1.2 × 1.2 × 1.0 m and at least 4 or 5 such basins are needed in a hatchery. A “net box” or hapa of 2 mm mesh and measuring 1.0 x 1.0 x 1.0 m is generally placed in the basin for easy handling of the fish. About 50 000 fingerlings can be conditioned in such a basin; the basin can also be used for treatment against parasites.
The successful rearing of just feeding fry until they attain a size of about 25 mm is the most challenging and critical phase of fish farming. It is termed nursery management.
In most hatcheries, the main bottleneck is the lack of space for nursing the fry up to 3–4 weeks of age, when the fry enter the fingerling stage. It is obvious that fry nursing is a delicate activity requiring considerable skill. The burden of nursing fry should not be left entirely to the fish farmers by supplying them with larvae or just feeding fry. Some growers can, of course, be trained to prepare their ponds to receive the tender fry. It is always best, however, that nursing fry be done by experts. Therefore, it is desirable to include nursery ponds as an integral part of the hatchery complex. Now that various factors determining the survival of fry are well known, fry rearing has become a much simpler operation than before.
Although different types of ordinary nursery ponds have been described, a modern hatchery complex requires special nursery tanks and small earthen ponds to obtain best results.
5.2.3.1 Special nursery tanks. A special nursery tank is 20–40 m long and 5–6 m wide with a surface area of 100–240 m2. On an average, 200 000–400 000 just feeding fry can be stocked in such a tank. These tanks are usually made of bricks or concrete. From past experience, it is known that one successfully propagated female fish of 4–6 kg can produce 0.5–0.7 kg of dry eggs; this could yield the required number of just feeding fry to stock a special nursery tank. If, during one week, 10 such female fish are propagated, 30–40 such nursery tanks would be needed to rear the resultant seed for up to 21–28 days.
5.2.3.2 Earthen nursery ponds. A good nursery pond should not be larger than 500–1 000 m2 and should be rectangular in shape with a width of about 10–12 m. The bottom of the nursery pond is so shaped that for about 2.0–2.5 m from the longitudinal walls it runs flat and then gradually slopes from either side toward the middle where it forms a 2–3 m wide ditch, which is 0.5 m deeper than the flat part of the bottom. This ditch provides refuge to the fry.
If the nursery ponds are constructed of earthen walls, then a good amount of the land will be taken up by the walls separating the ponds. If the dividing walls of the nursery ponds are made of brick, concrete prefabricated slabs, or concrete, the wastage of land will not amount to more than 5–7 percent. If they are used, bricks must be laid in good mortar up to a height of 120–130 cm, of which half should be above the surrounding terrain and the other half below. The bordering walls of the nursery ponds should be made stronger than the separating longitudinal walls. The brick walls serve to keep out intruding frogs, toads, and snakes. The drainage structure of the nursery ponds is quite simple, and a fish catching box can be attached to it in a brick harvesting pit (for collecting the fry when the pond is drained).
A nursery pond of 50 × 10 m (500 m2) should contain about 200 m3 of water at the time of stocking; this should be gradually increased to 300–350 m3 as the fry grow. The stocking rate for such a nursery pond is 500 just feeding fry per m2, or 250 000 per pond.
The number of nursery ponds required will depend on the duration of nursing activity. On an average, a brood fish that is successfully bred provides stocking material for one 500 m2 nursery pond. At least 30 such nursery ponds will be needed if the distribution of fingerlings is to be continuous. To be on the safe side about 40 such nursery ponds are recommended for a medium size hatchery. The nursery ponds should be harvested when the fish become four to five weeks old.
5.2.3.3 Relative merits of special nursery tanks and earthen nursery ponds. The special nursery tank has the following advantages:
About 70 percent of the tank is shallow, the environment which is preferred by the fry to live and feed.
Since the shallow area is partly covered with hard bottom (about 50–60 percent), excess vegetation (grass and other plants) will not be present during the nursing period.
It can be easily dried, cleaned, and disinfected whenever required.
The fry can be easily inspected.
If necessary, the fry can be thinned out easily by netting the central ditch.
Intensive nursing is possible because of its small size.
Control and prophylactic treatment against parasites can be made in the tank itself.
Maintenance costs are low.
Perhaps the only disadvantage is the high initial cost of construction.
Earthen nursery ponds, especially if they are square and not rectangular, have several disadvantages, the more important of which are detailed below:
The shallow area is less, being only 40–60 percent.
Grass and other vegetation may become too dense, thereby impeding the development of food organisms.
Cleaning and disinfecting are more difficult operations, especially the prevention of silting of the deeper parts.
Netting operations are hampered by the dense vegetation.
Close observation of the fry is difficult.

Figure 56 Filters for hatchery

Figure 57 Construction of a simple filter for hatchery
![]() |
![]() |
| Filtered water to hatchery |
![]() |
Figure 58 Functioning of a simple hatchery filter

Figure 59 General lay-out of a warm-water fish hatchery

Figure 60 General lay-out of twin tanks and ward tanks in a hatchery
The objectives of the fingerling rearing-cum-production unit are to (a) rear large sized fingerlings and young fish for distribution to fish farmers, (b) raise prospective brood fish, (c) rear the pituitary gland donor fish (usually common carp), and (d) produce marketable fish, if needed.
The fingerling rearing ponds and production ponds are generally used for polyculture. The propagation activity of the hatchery and nursery does not usually extend beyond 5–6 months, while the fingerling rearing-cum-production unit functions year round. The cost of fingerling production can be minimized if the hatchery produces its own pituitary glands by raising donor fish, and if it also produces marketable fish.
The ponds of the fingerling rearing-cum-production unit are normally constructed as production ponds, with their size varying from 0.5–1.0 ha and occupying a total area of 2–3 ha.
The total land area required and the requirement of land for each unit of a medium size hatching-cum-fish seed distribution centre are shown below:
| Hatchery units | Water surface required, ha | Land required, ha | |
| (1) | Brood fish ponds | 2.5–3.0 | 3.0–4.0 |
| (2) | Hatchery proper and housing | 0.5 | |
| (3) | Nursery ponds | 1.0–2.0 | 1.5–3.0 |
| (4) | Fingerling rearing | 2.0–3.0 | 3.0–4.0 |
| Total land required | 8.0–11.0 | ||
In general, a suitable terrain of 10–15 ha is necessary to construct a medium size hatchery-cum-seed distribution centre.
The development of hypophysation technology has made possible the establishment of the modern fish hatcheries and distribution centres, where according to the requirements of fish culturists one or several fish species can be propagated. Such multi-species hatcheries are essential for the following reasons:
Seeds of several species with different food habits are required for the modern profitable technique of mixed or composite culture.
Since the propagation technology is basically the same for most species of fish, the same installation and equipment can be used for many different fish species.
As the propagation seasons of the various culturable fish are not exactly the same, the hatchery can operate for a longer period if different fish species are propagated in it.
If the propagation of one species fails, for one reason or the other, the hatchery can still function effectively by propagating some other species.
The skilled manpower of the hatchery can be kept fully occupied, since there will be sufficient work for them year round in a well organized multi-species hatchery.
In spite of the above, there are many hatcheries devoted to the propagation of one fish species only. The fish propagated in such hatcheries are trout (rainbow trout and brown trout), coregonids (Coregonus lavaretus, C. albula), pike (Esox lucius), pike-perch (Stizostedion lucioperca), sturgeon (Acipenser spp.), channel catfish (Ictalurus punctatus), and tilapia (Tilapia spp.). Tilapia hatcheries are devoted to producing monosex hybrids.
The single species hatcheries are specialized, both with respect to installation and equipment. Even though these hatcheries can produce a considerable number of young fish of a particular species, their operation is usually limited to a brief season. The single species hatcheries are generally meant for producing young fish required for restocking natural waters for maintaining or restoring their natural populations.
To be successful, commercial fish propagation would require stable installations, equipment, and good tools. However, during the initial phase of a project or for experimental operations that may have to be conducted to convince a sponsoring agency regarding the viability of a project before funds are released, the fish culturist is advised to manage with makeshift arrangements. This may result in partial success only, which should be taken as an indicator of the proposed project's viability. Even if it yields satisfactory results, it would be inadvisable to continue with makeshift arrangements for an indefinite time. A brief description of the makeshift arrangements to be adopted is given below.
The brood fish required for propagation can be collected each time they are needed and transported to the farm. In the absence of a resting pond, they may either be kept for some time in covered net boxes (hapas), or immediately induced by hypophysation. The induced fish may be kept in bath tubs or vats, if well oxygenated running water is available. Water from city water supplies may contain chlorine and should, therefore, be dechlorinated before use.
Some fishes ovulate and spawn in fine meshed net boxes or hapas fixed in ponds with the help of poles, preferably near the inflow area. These hapas, which measure (for smaller fishes) 2 × 1 × 1 m or 3.5 × 1.5 × 1.0 m (for larger fishes), have been successfully used for the induced spawning of grass carp, Indian major carp, and common carp. Fishes with high oxygen demand may fail to spawn in hapas fixed in ponds because of oxygen deficiency.
Arrangements for a makeshift hatchery with running water can also be made, as shown in Figure 61. Makeshift incubators can be made from plastic sheet, plastic sheet funnel supported by chicken wire mesh, clay, etc. The larvae can also be reared in sieve-cloth boxes or hapas, with or without running water.
The just feeding fry can be nursed in fine meshed boxes fixed in a productive pond. In a makeshift hatchery the density of eggs to be hatched in an incubator and the fry to be nursed in a meshed box should be less than that usually recommended for a fully functional hatchery.
It is necessary to have on hand all of the basic equipment and tools required for a hatchery to facilitate its smooth and uninterrupted working. Many are not available on the market and must be custom-made according to the needs of the hatchery. However, it is necessary to have all of them on hand well before the commencement of the breeding season.
A detailed list of the equipment and tools required for the various units and phases of a hatchery complex is given in Appendix I.
In those countries where modern fish culture has not yet developed, many of the essential tools and equipment required for fish propagation and handling may not be available. Therefore, the fish culturists in these countries are forced to make these devices and equipment themselves. However, some general industrial products, with or without minor modifications, could be used; e.g., plastic products, bowls, plates, buckets, wash basins, containers, bottles, metal sheets, pipes, tubes, netting, etc.
The main problem may be with fine-meshed sieve cloth, much of which is used in a fish hatchery. This material is primarily produced for the milling industry for straining purposes. They could be purchased in adequate quantities for fabricating the required devices and for their repair. Plankton net is one such device and requires a sieve cloth of 60–100 microns (0.06–0.1 mm). The procedure for fabricating a plankton net is shown in Figure 62.
Similarly, immersion-type incubators and larva-rearing funnels, boxes, etc. can be fabricated by making use of sieve cloth of mesh size 300–400 μ (0.3–0.4 mm). Where the larvae are very small (under 5 mm), sieve cloth of mesh size 200–250 microns (0.2–0.25 mm) is used, while for larger larvae (over 1 cm size) 600–800 micron mesh is used.
Round and shovel-type scoop nets used for the collection of floating or semi-floating eggs can also be fabricated from sieve cloth of 600–800 microns, as shown in Figures 63 and 64, respectively.
For capturing advanced fry and fingerlings, shovel-type and round scoop nets are made with a strong straining material of 1.0–2.0 mm mesh. Mosquito netting is sometimes used for this purpose.
Strainers for water inlet and outlet of tanks and aquaria are made with wire mesh, sieve cloth and plastic pipes (Figure 65a).
Dragnets used for thinning out fry and fingerlings or capturing them in the harvesting pits can be made from synthetic mosquito netting or special fine-meshed net material of 0.2–0.5 cm mesh, depending on the size of the fish (Figure 65b). Too fine a mesh will not permit the net to be dragged quickly. If the mesh is too big, compared to the size of the young fish, many of them would be suspended from the net and either be hurt or killed; some may even escape.
Before fabricating the above-mentioned nets according to the designs shown in the figures, it is advisable to first prepare paper models to avoid wasting valuable net material.
Many items of hatchery equipment need a frame made of iron rod. Beton iron that is easily available is suitable for that purpose. Frames for smaller scoop nets can be made from 6–8 mm beton iron, while 10 mm beton iron is used for larger scoop nets. The rings for the incubators and larva-rearing devices are made of 3–4 mm thick non-corrosive iron or steel wire.
Synthetic thread is best suited for stitching and sewing the incubators and larva-rearing funnels. If it is not available, strong cotton thread may be used.
Strong cotton thread is also used for suturing the female common carp to prevent the scattering of their ripe eggs.
The assembling of different types of milt collectors is shown in Figure 66.
The effectiveness of using compressed oxygen from a container for replacing the consumed dissolved oxygen depends on the size of the bubbles which pass through the water column. Smaller bubbles have relatively larger surface areas, which facilitates easier absorption of the oxygen by the water. Moreover, they pass more slowly through the water column than do larger bubbles and this gives more time for the absorption of oxygen.
Specially made graphite structures or microporous metal sheets can be used for the efficient distribution of oxygen. A simple oxygen distributor ring can easily be made in the hatchery (Figure 67).
For that purpose, a thicker plastic or rubber tube of about 1 cm (½ in) diameter is used. It is shaped into a ring or elliptical form, using a piece of T or Y metal pipe. A needle is then taken and sharpened on a fine grinding machine. With the help of this needle a number of holes are made around the ring, at about 1 cm intervals. The holes should be so fine that oxygen under pressure can pass through them. A pressure-proof plastic or rubber tube is used for conveying oxygen from the oxygen cylinder into the distributor (ring). The distributor has to be weighted down with a metal ring of the same size, so as to make it rest at the bottom of the container.
Hatchery work is of a delicate nature, needing diligent labour, care, punctuality, accuracy, and skill. The hatchery must be monitored constantly to ensure the safety of the brood fish, eggs, and the various stages of seed. The hatchery staff must work 8–10 hours a day during the propagation season.
Three to four persons are required for sorting cut and transporting brood fish. The hypophysation process would require three persons, one to administer the injection, one to hold the fish during injection, and the third to bring the fish from the tank to the injection table and then to the ward tank after injection. At least two persons are required for collecting eggs from the ward tanks or for putting the eggs from the egg collectors into incubators. Three to four persons are required for stripping the females and the simultaneous collection of milt. While one person holds and strips the female, the second is engaged in wiping the fish and taking care of the egg bowls; the third in preparing the next fish for stripping. The fourth person is engaged in collecting the milt. For handling the eggs (fertilizing, washing, removing the sticky layer, etc.) of 5–6 females, about four persons would be required at the rate of one person for every two litres of dry eggs. Two persons can manage the subsequent hatchery work, such as handling and treating the eggs and larvae, feeding the fry, transporting the young fish, and cleaning and disinfecting the hatchery equipment, devices, and tanks.
![]() |
![]() |
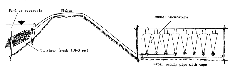
Figure 61 Makeshift hatchery next to a pond or reservoir

Figure 62 Fabrication of a plankton net used in pond culture operations
![]() | ![]() |
![]() | ![]() |
![]() | Size calculation |
| D = diameter of the cut d = diameter of the net frame h = depth of the net i = fold | |
![]() |
Figure 63 The method of fabricating a round scoop net

Figure 64 Fabrication of the shovel-type scoop net

Figure 65a Strainers for inflowing and outflowing water

Figure 65b Fabrication of small dragnet for capturing fry and fingerlings

Figure 66 Milt collectors

Figure 67 Use of oxygen for fish transportation