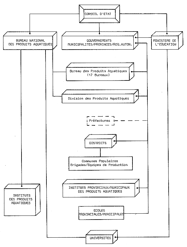
A l'échelle nationale, l'administration centrale de l'aquaculture - et des pêches en général - dépend du Bureau National des Produits Aquatiques (BNPA) de Beijing depuis 19781. Ce Bureau, dirigé par un Vice-Ministre, est directement responsable, vis-à-vis du Conseil d'Etat, de la politique de développement piscicole, des programmes de recherche piscicole (Chapitre 4), ainsi que des aspects techniques de l'enseignement et de la formation piscicoles en collaboration avec le Ministère de l'Education. Le Tableau 12 résume schématiquement ces responsabilités. Le Bureau National des Produits Aquatiques dont le personnel s'élève à environ 400 personnes, se subdivise à cet effet en 10 Départements comme suit: Pêches Maritimes, Pêches Continentales, Science/Education, Planification/Finances, Constructions d'investissement, Matériel, Equipements de pêche, Achats/Commercialisation, Administration des pêches, et Affaires Etrangères (Zu De-Shan, 1980). Le Département des Pêches Continentales a la responsabilité technique du développement de l'aquaculture continentale.
A l'échelle régionale, les Gouvernements des municipalités, provinces et régions autonomes (R.A.) ont tous établi une administration responsable des questions piscicoles (pêche/ aquaculture), sauf la R.A. Xizan et la Province Taiwan. Ces responsabilités sont exercées soit par un Bureau des Produits Aquatiques (BPA), là où les activités piscicoles sont relativement importantes (Tableau 13), soit par une Division des Pêches intégrée au Bureau de l'Agriculture et de la Sylviculture, au Bureau de la Conservation des Eaux ou au Bureau du Commerce, là où les activités piscicoles sont peu importantes. Bien qu'affiliés à leur Gouvernement respectif, ces Bureaux des Produits Aquatiques et ces Divisions des Pêches dépendent directement du point de vue professionnel du Bureau National des Produits Aquatiques.
La production piscicole en Chine se concentre principalement soit dans les fermes d'Etat, soit dans les communes populaires.
Comme exemple des premières, le groupe d'étude a visité dans le District de Huanggang (Hubei) la ferme d'Etat de Baitan Hu, qui exploite actuellement plus de 400 ha d'eau (Baitan Hu - Section 9.3 - et étangs). Créée en 1951 et exploitée alors par 10 personnes, la production piscicole moyenne n'atteignait que 75 kg/ha. En 1973, soit 22 ans plus tard, le personnel était de 91 personnes (dont 8 cadres et 2 techniciens) et la production piscicole moyenne avait décuplé. En 1979, la ferme d'Etat produisit 50 millions d'alevins de 3 cm, un million d'alevins d'empoissonnement et 300 t de poisson de consommation. L'objectif actuel est d'atteindre 500 t pour ces derniers. Les revenus piscicoles constituent 80 pour cent du revenu total, les autres revenus provenant de la vente de graines de lotus (20 ha en exploitation), de riz (13,3 ha), de fruits (140 000 arbres), de porcs et de transport. Le personnel est salarié, contrairement à celui des communes populaires et leurs revenus ne sont pas affectés par les rendements réalisés sur la ferme d'Etat.
Le rôle principal des fermes d'Etat semble être de servir de support au développement piscicole des communes de la région, par certaines recherches appliquées, la vulgarisation de nouvelles techniques, la formation de personnel et la vente d'alevins.
ORGANIGRAMME 1980: ADMINISTRATION AQUACULTURE

LES BUREAUX REGIONAUX DES PRODUITS AQUATIQUES
(D'APRES ZHU DE-SHAN, 1980)
| (a) | Bureaux municipaux des produits aquatiques (3): | |
| municipalités de Beijing, Tianjin and Shanghai | ||
| (b) | Bureaux provinciaux des produits aquatiques: | |
| (ba) | toutes Provinces et Région Autonome maritimes (8): | |
| Provinces Guangdong, Fujiang, Zhejiang, Jiangsu, Shandong, Hebei, Liaoning et Région Autonome Guangxi | ||
| (bb) | quelques Provinces et une Région Autonome continentales (6): | |
| Provinces Hubei, Jiangxi, Anhui, Qinghai, Heilongjiang et Région Autonome Xinjiang | ||
L'organisation des communes populaires de Chine a été décrite en détail antérieurement (FAO, 1977). Elles consistent essentiellement en trois niveaux dont le foyer familial est resté le noyau social: les équipes de production au niveau inférieur, les brigades de production et la commune populaire elle-même. Cette dernière, unité de base du pouvoir politique en milieu rural, administre toutes les activités sur le territoire communal y compris l'agriculture, l'industrie, le commerce, l'éducation, le bien-être social et la sécurité. Les revenus de ses membres dépendent essentiellement de leurs efforts individuels pour le succès des opérations (système des points) et des profits réalisés par la commune.
Ce sont généralement les équipes et les brigades de production qui pratiquent la pisciculture en étangs alors que la pisciculture en lacs, réservoirs, chenaux et rivières est souvent conduite au niveau d'une ou de plusieurs communes.
L'importance relative des activités aquacoles varie beaucoup d'une commune à l'autre, pouvant soit ne contribuer que secondairement dans le revenu total, soit constituer l'une des principales sources de revenu financier. Le groupe d'étude a eu l'occasion de visiter des communes représentant chacun de ces deux types, dont les caractéristiques principales sont brièvement présentées aux Tableaux 14 et 15.
Des coopératives d'achat et de commercialisation existent au niveau communal, chargées de distribuer les biens de consommation d'acheter les productions agricoles et piscicoles non autoconsommées (Section 13.2.2).
Les communes populaires planifient leur développement en vue d'atteindre autant que possible l'autofinancement, selon la politique bien établie d'autodépendance qui constitue un principe directeur du développement rural en Chine. Chaque commune doit ainsi non seulement produire suffisamment de nourriture pour subvenir à ses propres besoins, mais de plus elle doit vendre une quantité déterminée de produits à l'Etat. Cette production supplémentaire est alors soit distribuée dans d'autres régions afin d'y compléter les produits locaux, soit mise en réserve pour des besoins futurs.
CARACTERISTIQUES PRINCIPALES DE COMMUNES POPULAIRES NON SPECIALISEES EN AQUACULTURE
| Commune Populaire | C.P. de Shuangqiao Beijing | C.P. de Hele Wuxi, Jiangsu |
| Surface totale | 9 000 ha | 3 600 ha |
| Peuplement | ||
N. personnes | 42 000 | 19 672 |
N. familles | 9 000 | 6 607 |
| Brigades production | 13 | 6 |
| Equipes production | 95 | 62 |
| Productions agricoles, intégrées | céréales, légumes, fruits, vaches laitières, porcs, canards, poisson | mûriers, légumes, thé, |
| fruits, vers à soie, vaches laitières, porcs, canards, poulets, poisson | ||
| Productions des industries | insecticides, rémoulage, mécanique, briques, menuiserie, construction, … | 35 ateliers divers |
| Revenue moyen annuel/personne | 200 Yuans | - |
| PISCICULTURE | ||
| Surface production | 80 ha | 260 ha |
| Productions annuelles | 100 t poisson consommation 15 millions d'alevins | 363 t sur 74 ha |
| Système cultural | polyculture semi-intensive | polyculture semi-intensive |
CARACTERISTIQUES PRINCIPALES DE COMMUNES POPULAIRES SPECIALISEES EN AQUACULTURE
| Commune Populaire | C.P. de Leliu Guangdong | C.P. “Libération” District de Qingpu, Shanghai |
| Surface cultivée | 4 950 ha | 7 |
| Peuplement | ||
N. personnes | 91 000 | |
N. familles | 17 000 | |
| Brigades production | 29 | |
| Equipes production | 235 | |
| Productions agricoles, intégrées | poisson, canne à sucre, mûriers, vers à soie, bétail (porcs princ.) | diverses |
| Productions des industries | verre, papier, imprimerie plastique, alcool, huile, outils, médicaments, électronique, mach. agricoles, bateaux, insecticides, chaux, briques… | usine matériel pisciculture: aérateurs, mach. granulés, pompes à vase, caissons de transport, épurateurs |
| Revenu moyen annuel/ personne | 260 yuans | 548 yuans |
| PISCICULTURE | ||
| Surface production | 2 400 ha/8 350 étangs | 771 ha |
| Productions annuelles | 7 700 t poisson consommation 140 millions d'alevins | 1 750 t poisson consommation 500 kg perles |
| % revenu total | 30 | - |
| Système cultural | polyculture semi-intensive | polyculture semi-intensive |
Le revenu annuel du personnel salarié des fermes d'Etat et des membres des communes populaires est variable. Alors que dans le premier cas il est fixé par le Gouvernement local, dans ces dernières il dépend non seulement des productions réalisées mais également des surplus de production par rapport aux quotas fixés (Section 3.3). Quelques valeurs de revenus annuels pour 1979 (yuans/personne) ont été obtenues par le groupe d'étude, comme suit: C.P. de Shuangqiao, Beijing, 200; C.P. de Leliu, Guangdong, 260; C.P. “Libération”, District de Qingpu, Shanghai, 548; Brigade de Production “Octobre”, District de Xishui, Hubei, 580. A la ferme d'Etat de Baitan Hu, District de Huanggang (Hubei), le salaire annuel moyen était de 600 yuans, atteignant au maximum 720 yuans pour les cadres. A titre de comparaison, il fut remarqué qu'un maraîcher faisant de nombreuses heures supplémentaires pouvait gagner jusqu'à 900–1 000 yuans par an1.
Le développement de l'aquaculture à tous les niveaux de production fait partie intégrale du Plan de Développement Quinquennal et des Plans de Développement Annuels. Le processus de planification est relativement compliqué et, en majorité, basé sur les deux principes de “planification par le bas” et de la participation des masses populaires. Les objectifs de développement concernent à la fois les quantités à produire, les rendements minimum à atteindre, les taxes à payer et les achats à effectuer pour compléter les productions locales. Ces objectifs sont fixés principalement sur la base des performances passées et des potentiels de développement existant localement.
Au départ, l'administration centrale formule un plan de développement national de production et de distribution sur la base duquel elle établit les objectifs à atteindre dans chacune des provinces (Tableau 16), municipalités ou régions autonomes. Ces objectifs sont ensuite successivement discutés et revus à chacun des échelons administratifs inférieurs (par exemple province/districts/communes). Au niveau communal, les brigades et les équipes de production sont consultées. De nombreuses discussions ont lieu au cours desquelles la participation des membres peut être très importante. A ce niveau également, et au cours de réunions des comités révolutionnaires, les membres du Parti s'assurent qu'aucune déviation des principes politiques établis ne se fasse. Des objectifs de production et d'achats sont ainsi fixés et un plan détaillé est élaboré au niveau de chaque commune. L'intégration des plans communaux au niveau du district et ensuite des plans de ceux-ci au niveau provincial pour enfin aboutir au niveau national, se réalise progressivement par négotiations et ajustements successifs. En cas d'un désaccord important, les plans individuels peuvent être retournés à leurs niveaux respectifs où de nouvelles discussions devront permettre d'arriver à un compromis acceptable.
Ces discussions, ajustements et compromis se font cependant toujours en tenant compte des lignes directrices de développement données par l'Etat qui maintient en fait un contrôle effectif sur la production, par le truchement des allocations d'inputs et de la commercialisation. Cependant, malgré le rôle important de l'Etat dans la planification générale de la production, les unités de production déterminent les détails du plan national et marquent leur accord sur les changements qui pourraient y être apportés.
PROCESSUS DE PLANIFICATION DANS UNE PROVINCE
