Seeds of many tree species germinate readily when subjected to favourable conditions of moisture and temperature. As mentioned in Chapter 2, many other species possess some degree of seed dormancy. Where dormancy is strong, some form of seed pretreatment is essential in artificial regeneration, in order to obtain a reasonably high germination rate in a short time. In experiments with Robinia, the best treatment gave a ten-fold increase in germination after 10 days compared with the control. In other cases the main difference may be in the speed of germination rather than the final total, e.g. in Pinus taeda (Bonner et al. 1974) and P. elliottii (Forrest 1964). Where dormancy is slight, the effect of pretreatment may be marginal. The benefits from pretreatment (savings in seed and seed-bed space, predictable and concentrated period of transplanting, more uniform nursery stock) need to be weighed against the cost and trouble of treating. The decision whether or not to pretreat the seed will vary not only in accordance with the species but also with provenance, seed year, local nursery conditions and length and conditions of storage.
Pretreatment to terminate dormancy and speed up germination is thus one important type of pretreatment. Another comprises various forms of seed dressing, pelleting or coating, designed to give the seed protection against pests, diseases or adverse conditions, to improve the uniformity of seeds or to render them more visible to the nurseryman.
Dormancy may be of several different types and sometimes more than one type occurs in the same seed. The simplest grouping distinguishes between (1) Exogenous or seedcoat/pericarp dormancy (2) Endogenous or embryo dormancy and (3) Combined dormancy, in which both seedcoat and embryo dormancy occur at the same time.
More detailed classifications of dormancy have been published. That by Nikolaeva (1977) has been applied, in simplified form, to temperate broadleaved tree and shrub seeds by Gordon and Rowe (1982). The types of dormancy differentiated by them are:
![]() | ![]() |
8.1 Effect of several presowing treatments on germination of black locust (Robinia pseudoacacia) a hard-seeded species. (USDA Forest Service) | 8.2 Benefits of cold stratification for speeding germination of loblolly pine (Pinus taeda). (USDA Forest Service) |
![]() | ![]() |
8.3 The effect of various pretreatments on germination of Pinus elliottii in New South Wales. (Forestry Commission of New South Wales) | 8.4 Acacia mangium. Percentage germination, mean of seven half-sib seedlots, pretreated with 10 times their volume of hot water for 30 seconds, at various water temperatures in Sabah. - Data derived from Bowen and Eusebio 1981. (Forest Research Centre Sandakan) |
A. Exogenous dormancy
| A ph | Physical | i.e. impermeability of seedcoat or pericarp to water |
| A ch | Chemical | i.e. inhibitors in pericarp or seedcoat |
| A m | Mechanical | i.e. Mechanical resistance of pericarp or seedcoat to embryo growth |
B. Endogenous dormancy (morphological)
| B | Morphological | i.e. underdevelopment of embryo |
C. Endogenous dormancy (physiological
| C | Physiological | i.e. germination prevented by physiological inhibiting mechanism |
| C1 | Shallow | Inhibiting mechanism weak |
| C2 | Intermediate | Inhibiting mechanism intermediate |
| C3 | Deep | Inhibiting mechanism strong |
B-C. Combined morpho-physiological dormancy
| B-C3 | Combination of underdevelopment of embryo with strong physiological inhibiting mechanism. |
| B-C3e | Combination of underdevelopment of embryo with strong physiological inhibiting mechanism of epicotyl growth. |
A-C. Combined exogenous/endogenous dormancy
| A-C | Various combinations of seedcoat or pericarp dormancy with endogenous physiological dormancy e.g. Tilia cordata combines physical impermeability of the seedcoat with deep physiological dormancy. |
In most species of the moist tropical forests dormancy is not a problem. Conditions of temperature, moisture and oxygen are almost invariably suitable for germination immediately on dispersal, so most species germinate within a matter of days or weeks and would not benefit from dormancy. In the drier tropics, on the other hand, seedcoat dormancy is common and some form of pretreatment is necessary to obtain rapid and uniform germination. Both physical dormancy, caused by hard seedcoats or pericarps with cutinised layers which are impermeable to water, and chemical dormancy, caused by inhibiting chemicals present in the seed covering, occur; it is likely that they sometimes occur simultaneously in the same seed. But it is often difficult to differentiate between them, since a treatment which softens the seedcoat, e.g. hot water, will automatically leach out inhibitors at the same time.
As pointed out by Gordon and Rowe (1982), the covering of seeds which exhibit mechanical dormancy is thick, tough and resistant to embryo growth but, unlike the “hard seeds” characteristic of physical dormancy, it is permeable to liquids. The severe treatments, such as boiling water or acid, which can be effective in overcoming physical dormancy, would penetrate the covers of the mechanically dormant seeds and kill the embryos. Mechanical dormancy occurs in a number of temperate genera e.g. Crataegus, Carpinus, Elaeagnus; it is not known whether it occurs in the tropics.
In temperate forestry, methods of overcoming the various types of endogenous dormancy have been investigated for a long period and the most important treatments are described later in this chapter. It is doubtful whether any of these methods will have application in the lowland tropics, but some of them may be applicable to species planted in the sub-tropics and tropical highlands; for example germination of Pinus taeda, an important species for afforestation in some tropical highlands and in the sub-tropics is known to benefit from cold moist pretreatment (Krugman and Jenkinson 1974).
In general, however, the physical and chemical types of exogenous dormancy are likely to be of most concern to tropical foresters.
Seeds of some species have hard, cutinised seedcoats that completely prevent the imbibition of water and sometimes also the exchange of gases. Without imbibition and gas exchange renewal of embryo growth and germination are impossible. Physical seedcoat dormancy of this kind occurs most frequently in species adapted to alternating dry and wet seasons, including several leguminous genera such as Acacia, Prosopis, Ceratonia, Robinia, Albizzia, Cassia. In some species, e.g. Tectona grandis and Pterocarpus angolensis, the hard layer is formed by the pericarp or fruit. The unit of dispersal, storage and sowing in Tectona is the fruit, often referred to loosely as the “seed”, but for practical purposes the origin of the impermeable layer does not affect the choice of pretreatment.
Pretreatment to overcome physical seedcoat dormancy are designed to soften, puncture, wear away or split the seedcoat in order to render it permeable, without damaging the embryo and endosperm within. They include physical and biological methods, dry heating and soaking in water or chemical solutions. Any treatment which destroys or reduces seedcoat impermeability is commonly known as scarification (Bonner 1984 a). Destruction of impermeability at a single point in the seedcoat is normally sufficient to allow imbibition and gas exchange.
Chemical seedcoat dormancy, caused by the presence of chemicals located in the seedcoat but inhibiting germination of the embryo, can usually be overcome by some form of liquid treatment which leaches out the chemicals. The wet treatment methods described in this chapter should therefore be effective in breaking chemical, as well as physical seedcoat dormancy, and a combination of the two. Dry methods on the other hand, which are effective in overcoming physical dormancy, are unlikely to have any effect on chemical dormancy.
Mechanical seedcoat dormancy presents special problems and is discussed separately (on page 176).
One of the simplest and most direct physical methods is to cut, drill or file a small hole in the coat of each seed before sowing (Goor and Barney 1976). This method has been found appropriate in the Philippines for large leguminous seeds in the genera Afzelia, Albizzia, Intsia and Sindora (Seeber and Agpaoa 1976) and in Honduras for Acacia, Prosopis, Enterolobium and other legumes (Robbins 1982 b). Intsia seed is nicked at each end and a third time in the area of the hilum and micropyle; the last area is the most important. In Tanzania the hard and bristly pericarp of Pterocarpus angolensis is chipped at one edge by knife (Laurie 1974) or cracked by beating with clubs (Boaler 1966). In the Philippines the hard seedcoat of Eusideroxylon is cracked by hammer. In Calophyllum complete removal of the seedcoat has produced better germination than nicking (Seeber and Agpaoa 1976). Sand-paper may also be used to reduce seedcoat thickness by abrasion. In trials in Pakistan sandpaper proved the most effective treatment in increasing and accelerating germination in a number of hard-coated species (Nisa and Qadir 1969). As an example Leucaena seeds had zero germination in the untreated control and after 24 hours' soaking in cold water. This was increased to 42 % in 26 days by 1 minute soaking in concentrated H2SO4, to 60 % in 13 days by 2 minutes in boiling water, and to 100 % in 3 days by sandpaper treatment. In laboratory trials in Sweden, sandpaper scarification followed by a three hour cold water soak, was the most effective treatment for Acacia farnesiana, yielding 88 % germination in 7 days and 100 % in 21 days, compared with 63 %, 23 % and 3 % in 21 days, respectively for soaking in concentrated sulphuric acid, absolute alcohol and hot water. In six other hard-seeded species from Iraq tested at the same time, it was less effective than one or other of the soaking treatments (Kisou et al. 1983). Manual treatment of individual seeds is slow but, with experienced workers, is safe and effective. It is best suited to the larger and more refractory seeds e.g. Delonix regia (Wunder 1966). The effect of physical scarification may be reinforced by soaking in cold water before sowing.
For treatment of large quantities of seed, mechanical scarification is more suitable than the manual method. Seed may be tumbled or churned in a concrete mixer with sharp gravel or sand, or in a special drum lined with abrasive material such as sandpaper, cement or crushed glass or incorporating rotating abrasive disks (Kemp 1975 c, Goor and Barney 1976). If gravel or sand is used, it should be sieved to ensure that it can be readily separated from the seed by use of an appropriate mesh screen. The method is not suitable for seeds with abundant resin or pulp which may clog the machine. Care must be taken to avoid overtreatment causing damage that can reduce or destroy germinability of the seeds. Examination of the seedcoat surface, if necessary by hand lens, or testing the capacity of the seed to take up water, demonstrated by swelling, can be used to estimate effectiveness of scarification (Bonner et al. 1974).
In India mechanical scarification is used successfully to overcome seedcoat dormancy in Acacia catechu, A. nilotica subsp. indica, Albizzia falcataria, A. lebbek, Cassia fistula, C. javanica, C. nodosa, Delonix regia, Dichrostachys cinerea, Santalum album, Terminalia arjuna and T. tomentosa (Pattanath 1982). Horizontal shaking of seeds of Acacia farnesiana, bottled with crushed glass, for five hours gave a germination of 20.7 % plus additional imbibed seeds 10.7 % in 43 days, compared with 0.7 % + 0.7 % for the control in the same period. But this result was much inferior to that obtained with the same species by manual scarification with sandpaper, noted on p. 167 (Kisou et al. 1983).
A number of treatments involve soaking seeds in water or other liquids. These wet treatments may combine the effects of softening hard seedcoats and leaching out chemical inhibitors.
Some seeds which have little resistance to germination may respond well to soaking for 24 hours in water at ambient temperature (Kemp 1975 c). This may be the result of a more rapid imbibition than can be achieved in a moistened nursery bed. It is recommended for some species after manual, mechanical or acid scarification (Seeber and Agpaoa 1976, Elamin 1975). Matias et al. (1973) found that 48 hours' soaking of Pinus caribaea seed in water at room temperature gave more uniform germination than in the untreated seed.
In India soaking in water, for periods varying from two to 48 hours according to species, accelerates germination in Acacia mearnsii, A. melanoxylon, A. nilotica subsp. kraussiana, Adenanthera microsperma, Albizzia amara, A. procera, Grevillea robusta and Trewia nudiflora (Pattanath 1982).
A more effective treatment, especially in hot climates, is alternate wetting and drying of seed. This has frequently been used for Tectona fruits. In Thailand, after scarification, alternate soaking and drying was applied, 4 times soaking and 3 times drying, each for 30 – 45 minutes (Bryndum 1966). Elsewhere, if preliminary scarification is not applied, common practice is to spread the “seed” out on a hard surface in the sun in a layer about 5 cm deep and to soak it thoroughly; then to turn it over from time to time, allowing it to dry out and bake in the sun for a day or two. This process of alternate soaking, drying and baking is repeated a number of times, usually between five and ten cycles, until signs of germination appear. Each cycle of wetting and drying may be one day for soaking and 3 – 5 days for drying and baking. As soon as germination starts, the “seed” should be sown in the nursery (Laurie 1974). In Tanzania the preliminary soaking is for 72 hours in full sacks in a stream or in large drums. It is then sown on the surface at the rate of 5 kg/m2 and, after two days in the sun, is covered with about 2 – 5 cm depth of soil and watered daily (Wood 1967).
Tectona grandis is one tropical species in which there is evidence that chemical dormancy caused by inhibitors in the pericarp may be more important than physical dormancy. Fairlamb and Davidson (1976) found that an aqueous extract, obtained by soaking T. grandis fruits for 4 days and used to moisten filter paper, inhibited germination of cress seeds. Germination was 11 % in 144 hours in the extract, compared with 76 % in tank water and 96 % in distilled water. On the other hand Pattanath (1982) could find no evidence for physical dormancy in T. grandis. She found that, after soaking the fruits in water for 24 hours, water had soaked right through to the locules where the seeds were attached. There is great variation in the degree of dormancy between provenances of teak.
Some require no pretreatment, some require alternate wetting and drying as described above, others respond to soaking for four hours in Sach's nutrient solution, which may indicate a nutrient imbalance in the seeds (Gupta et al. 1975).
Chemical dormancy apparently occurs also in Terminalia ivorensis. Alternate daily soaking and drying of the fruits of this species for seven days was effective in producing 50 – 70 % germination, whereas germination of untreated seed is usually poor (Brookman-Amissah 1973). In a later experiment the same author found that an aqueous extract from Terminalia ivorensis fruits had a slight inhibitory effect on germination of lettuce seeds but a more serious effect in the number of malformations in the germinated seedlings. He identified Coumarin as one of the more important inhibitants involved (Brookman-Amissah 1976). Soaking in running water for one to two weeks has been used successfully to remove inhibitors in Atriplex spp. (Turnbull 1983).
Hot water treatment has given good results with a number of leguminous seeds. The seeds are usually placed into boiling water which is immediately removed from the heat source and left to cool gradually, the seeds remaining in the water for about 12 hours (Kemp 1975 c). They imbibe and swell as the water cools. The proper relationship of the volume of water to volume of seeds can be determined by experiment. It may vary considerably according to species, ratios of 2 – 3 times (Goor and Barney 1976), 4 – 5 times (Bonner et al. 1974) and 5 –10 times (Seeber and Agpaoa 1976) as much water as seed have been suggested. Some species respond better to an initial temperature well below boiling e.g. Albizzia falcataria (Valencia 1973). An initial temperature of 90° C, cooled to ambient 20° C, has given good results with Parkinsonia aculeata and Ziziphus spina-christi (Kisou et al. 1983). Of various initial water temperatures and periods of soaking and cooling tested for Leucaena leucocephala in the Philippines, one minute soaking from an initial temperature of 80° C gave the best result 90 % germination (Alvarez-Racelis and Bagaloyos 1977). The period of soaking and cooling appeared to have little effect, e.g. an initial 80° C and 6 hours' soak and cool gave 89 % germination. The initial water temperature had a big effect; germination was only about 30 % after an initial temperature of 100° C and only about 25 % after an initial 40° C.
Bowen and Eusebio (1981b) found that in Acacia mangium seeds in Sabah there was a close correlation between the initial temperature of the water and the subsequent germination. Germination increased progressively from 5 % after immersion in water at 30° C to 91 % after immersion at 100° C. Prescribed treatment for this species is now to immerse seeds in 5 x their volume of water at 100° C, stir in the cooling water for 30 seconds, pour off hot water and soak overnight in 20 x their volume at room temperature. For Albizzia falcataria a lower initial temperature of 80°–90° C is recommended (Bowen and Eusebio 1981a). Some species of Acacia require more severe treatment. Larsen (1964) found that, whereas the standard treatment with boiling water improved germination of Acacia sieberiana, an exceptionally resistant species, from 2 % to 10 %, continuous boiling of the seed in water for 60 minutes achieved 60 % germination within two weeks.
Prescriptions for hot water treatment must be applied meticulously if seedcoat dormancy is to be removed without killing the seeds through excessive heating. It is often easier to ensure this at a central research laboratory than in a number of scattered field nurseries. In Sabah it was found possible to redry seeds of Acacia mangium and Albizzia falcataria after the initial 30 seconds' hot water treatment, package and despatch them to field nurseries and, after 3 days' storage, to give a simple cold water soak before sowing. Germination was just as good (c. 80%) as when seeds were sown immediately after treatment (Bowen and Eusebio 1982). Drying was done in a current of dry air at 45°C for periods of 6 – 18 hours.
Hot water treatment is relatively easy and safe to apply, as well as being effective with some species. It is not well adapted to large lots because of the difficulty in handling and sowing the swollen seeds (Heit 1967 b).
The chemical most commonly used to break seedcoat dormancy is concentrated sulfuric acid. For some species it is more effective than hot water treatment. Seed which has been kept for a long period in store may require a longer period in the acid than fresh seed, which could be severely damaged by the same length of treatment (Kemp 1975c). Great care is needed in the handling of sulfuric acid and this method is not suitable for use by unskilled workers.
Detailed instructions for use of sulfuric acid are given by Bonner et al. 1974 and are reproduced below:
Materials and equipment required are as follows: commercial grade (specific gravity 1.84, 95 percent pure) sulfuric acid; acid-resistant containers (thick plastic preferred); wire containers and screens for handling, draining, and washing the seeds; an abundant supply of running water; a safe place to drain the dilute acid resulting from rinsing the seeds; and facilities for drying the seeds after rinsing.
Safety precautions are a must! All workmen must understand and obey safety precautions in the use of acid. Seeds, containers, implements, and the acid itself must be handled with great care to avoid injury. Water must not be splashed into the acid, as a violent reaction will occur. All workmen should wear suitable safety clothing, gloves, and goggles or other eye protection.
Toughness of the seedcoat varies between lots and even between individual trees in most species. The optimum period of immersion in acid for each lot may be determined by treating a small sample for different periods and then soaking the lots in water at room temperature for 1 to 5 days (depending on species). The treatment period that yields a high percentage of swollen seeds (by water uptake) without visible injury is the right one. Oversoaking may pit the seed and even expose the endosperm. Insufficient soaking leaves the seedcoats of most species glossy; coats of correctly treated seeds are dull, but not deeply pitted.
If tests reveal only small differences between lots, then all may be lumped together for treatment, unless there are other reasons for keeping them separate (such as seed source distinctions). Large differences between lots should occasion separate treatment.
The steps in acid treatment are as follows:
Allow seeds to come to air temperature. If they have been removed from cold storage, do not open the container until temperature equilibrium is reached. Moisture will form on cold seeds exposed to warm moist air, and this moisture can react with acid to raise temperature to the danger point.
Thoroughly mix seeds to be treated as one lot.
Immerse seeds in the acid for the required period, making sure that all are covered. Treatment should be carried out at 65° to 80° F (18°–27°C), preferably on the upper end of the range (Heit 1967a). Lower temperatures require longer soaking times than do higher temperatures. Careful stirring will reduce the length of treatment necessary.
Remove seeds from the acid and wash them promptly and thoroughly in cool, running water for 5 to 10 minutes to remove all traces of acid. Water should be applied copiously at the start, and the seeds stirred carefully during rinsing.
Spread the seeds in a thin layer for drying, unless wet sowing is preferred.
![]() | ![]() |
| 8.5 A rinsing trough for washing acid from treated seeds. (USDA Forest Service) | |
| 8.6 One apparatus for treating large lots of seed with acid. (USDA Forest Service) | |
![]() | |
| 8.7 Outdoor stratification of Juglans nigra in sand in USA. (USDA Forest Service) | |
![]() | ![]() |
| 8.8 Desired arrangement for stratification in a large barrel. (USDA Forest Service) | 8.9 Loblolly pine (Pinus taeda) seed prepared for stratification in a plastic bag. (USDA Forest Service) |
![]() | |
| 8.10 Effects of several treatments to overcome double dormancy in eastern redbud (Cercis canadensis). (USDA Forest Service) | |
Fifty-pound (20 kg) lots can be treated in screen-wire cylinders (reinforced with heavier wire) that can be lowered into the acid. In this way, most of the acid is retained for reuse. After a short draining period, the seed should be washed. Extra care must be taken in large-scale treatments to avoid excessive temperatures that can damage seeds.
There are several advantages of the acid treatment. It is effective for many species and requires little or no special equipment. Cost is reasonable. Most of the acid can be recovered and reused (unless the acid is poured on a pile of seed). Treated seeds can be held from a week to a month or more before sowing, without appreciable deterioration. Since the process leaves the seeds dry, firm and unswollen, they can be sown with mechanical seeders as well as by hand.
There are also disadvantages. Length of treatment must be carefully determined, and temperature must be carefully controlled, especially in large lots, to prevent serious injury to the seeds. Workmen also face a safety hazard.
If a large quantity of one seed lot is to be treated in several batches, it is desirable to standardise treatment as far as possible e.g. by using fresh acid of full strength and exactly the same volume (two volumes of acid to one volume of seed) for every batch (Gordon and Rowe 1982).
In addition to protective clothing, a concentrated solution of sodium or potassium bicarbonate should be kept handy as an antidote against accidental splashes (Laurie 1974).
Sulfuric acid treatment has been effective for several temperate and subtropical species, e.g. Gleditsia triacanthos (1 hour) and Ceratonia siliqua (2 hours) (Kisou et al. 1983). Examples of tropical species which respond well are Intsia palembanica (60 minutes of soaking), Parkia javanica (15 minutes), Dialium maingayi (5 minutes) (Sasaki 1980 b), Acacia albida (20 minutes), Acacia nilotica (60–80 minutes) and Acacia senegal (40 minutes) (Laurie 1974), Acacia planifrons (2 hours) (Pattanath 1982) and Prosopis tamarugo (7 minutes) (Habit et al. 1981). Hulled seed of Pterocarpus angolensis treated with acid gave 60 % germination between 4 and 19 days after treatment, compared with 16 % between 11 and 37 days in the control (Groome et al. 1957). In the Sudan it was found that seeds of Albizzia lebbek, Cassia fistula and Prosopis chilensis could be stored successfully for a further 3 – 4 months after treatment in H2SO4 or hot water (Wunder 1966). Storage after treatment is also practicable for several species of Acacia (Turnbull 1983).
Other chemicals have been tested from time to time to overcome seedcoat dormancy, but none have been adopted for largescale use in the same way as hot water or sulphuric acid. They include ethyl and methyl alcohol, xylene, ether, acetone, chloroform, hydrochloric acid, nitric acid and sodium hydroxide (Seeber and Agpaoa 1976, Krugman et al. 1974, Bhumibhamon 1973, Goor and Barney 1976).
In nature animals and micro-organisms are an important factor in the breakdown of seedcoat impermeability. It is difficult to make use of these organisms as a controlled pretreatment of seed, but in a few cases successful results have been obtained.
Seeds of Acacia senegal and Ceratonia siliqua that have passed through the digestive tracts of goats germinate readily when placed in favourable conditions, because of the action of the strong digestive chemicals. Feeding the pods to penned goats and collecting the seeds from the droppings is a convenient pretreatment for these species (Goor and Barney 1976). Seeds of some species are said to be regurgitated after partial rumination e.g. Gmelina arborea (Greaves 1981). Troup (1921) states that seeds of Acacia nilotica are ejected after rumination by sheep and goats but pass right through the digestive tract in cattle. In either case germination is improved by the digestive action.
Termites are an important agent for breaking down seedcoat dormancy in many parts of the tropics. In Thailand teak fruits were spread on the ground in a 5 cm thick layer immediately after collection and covered with cardboard. After about 5 weeks the termites had removed the exocarp and subsequent germination, after alternate wetting and drying, was significantly improved in comparison with fruits sown with intact exocarps (Bryndum 1966, Sompherm 1975). Termites have been used in a similar way to break down the tough winged and bristly fruit of Pterocarpus angolensis (Groome et al. 1957). Periodic inspection is essential to ensure that the process is not carried too far.
Partial fermentation, which is damaging to many seeds, can be beneficial in overcoming seedcoat dormancy in some. In the southern Sudan fruits of Tectona grandis are allowed to lie on the ground through the rainy season for partial fermentation. They are then collected, stratified in a pit with layers of (a) Seed (b) Organic matter (c) Soil and watered daily for 10 days. Satisfactory germination results (Wunder 1966).
Solar radiation is not used alone to promote germination but is an important component of the alternate soaking and drying treatment described above under “Soaking in water”.
In the seasonal wet and dry tropics, fire is a powerful natural factor in the removal of seedcoat dormancy. A fierce fire will kill the seeds but a light to moderate fire, such as those associated with controlled early burning, will reduce seedcoat impermeability and stimulate germination. Fire has been used in a number of countries to stimulate germination of Tectona (Laurie 1974). The fruits may be spread thickly on the ground and covered with grass which is burnt off, or they may be lightly scorched by a flame gun. Adjusting the heat of the fire to achieve the maximum effect on the pericarp without damaging the seed embryo requires experience. Similar treatment is used for Aleurites moluccana in the Philippines. The nuts are spread evenly on the ground and covered with a 3 cm thick layer of dry Imperata grass which is set on fire. As soon as the grass is burned, the seeds are placed in cold water. The quick change of temperature causes the nuts to crack and they are ready for sowing (Seeber and Agpaoa 1976). An alternative is to sow the nuts at correct spacing with only half their diameter in the soil. A layer of Imperata grass is spread over the seed bed and set on fire. After burning, the seedbed is sprinkled with water and the nuts are pushed 2 cm deep into the soil and watered thoroughly.
In Sabah Bowen and Eusebio (1981b) found that ten minutes' exposure of Acacia mangium seeds to dry heat at 100° C was nearly as effective in overcoming dormancy as the immersion in water at 100° C described on pp. 170–171. Germination was 83 % compared with 92 % in the hot water treatment.
The thick, tough but water-permeable coverings of seeds exhibiting mechanical dormancy prevent embryo growth even when water can be freely imbibed. This mechanical obstruction to germination can be overcome by a period of “warm moist” treatment the length of which varies according to species. The treatment recommended by Gordon and Rowe (1982) for temperate species is:
Soak seeds in several times their volume of cold water at approximately 3–5 ° C for 48 hours.
Drain off the water and mix the seeds with two to four times their volume of a moistened, water-retaining medium such as sand, sand/peat mixture, vermiculite.
Store at a warm temperature. A constant 20–25°C or alternating 20° and 30°C is suitable for many species.
Open containers weekly, mix seeds and, if surfaces show signs of drying out, remoisten with water spray.
The period of “warm moist” treatment can be shortened in some species by a preliminary treatment in sulfuric acid. This requires more care and expertise than the use of acid for physical dormancy. Seeds or fruits must be thoroughly dried before treatment and the process should be limited to the partial digestion of the outer layers only, leaving the final weakening of the inner layers to be done by the subsequent warm moist treatment (Gordon and Rowe 1982). In most cases it is preferable to accept the safer but slower method of warm moist treatment alone. Periods of treatment vary from 2 weeks for some species of Prunus to 16 weeks for some species of Crataegus.
At the end of the appropriate period seeds which possess only mechanical dormancy are ready for sowing. Many species in this class also have physiological dormancy of the embryo and will need further treatment to remove this, as described later on pp. 178–182.
It may be noted that the warm moist treatment which removes mechanical dormancy is identical with the warm moist treatment which removes morphological dormancy (underdeveloped embryos).
Embryo dormancy is a prominent feature in some temperate genera. For example in the USA Rudolf (1961) noted that, of 400 species of woody plants studied, about 60 % required pretreatment to induce prompt germination. Endogenous dormancy occurs in both orthodox and recalcitrant seeds. Its occurrence in the lowland tropics is probably rare (most seeds in moist tropical forest germinate quickly or not at all and those in the dry tropics typically have seedcoat dormancy). It could be of importance in the high altitude tropics and sub-tropics. Trials of prechilling on seed of the Zambales (Philippines) provenance of Pinus merkusii showed no improvement in germination; if anything germination was slightly depressed (Gordon et al. 1972). Wunder (1966) mentions Cordia africana as a species suitable for prechilling for several weeks in moist sand at 5°C but does not give any comparative figures of germination from treated and untreated seeds. In Eucalyptus prechilling is effective in promoting germination in only a few species from the cold temperate region e.g. E. delegatensis and E. pauciflora; in the great majority of species it has no effect at all.
Endogenous dormancy includes the cases of embryos which are morphologically underdeveloped at the time of separation from the parent tree and which need a subsequent period for further growth before they can germinate. It also includes the cases of embryos which are morphologically mature at the time of seed dispersal or collection but are physiologically incapable of germination until certain biochemical changes, still little understood, take place.
Seeds with underdeveloped embryos at the time of dispersal or collection will not germinate until the embryos have had time to mature. In a few species maturation is possible during dry storage e.g. Gingko biloba (Hatano and Kano 1952). More commonly, a period of moist warm pretreatment is necessary before the embryos develop sufficiently for germination to take place. The recommended treatment (Gordon and Rowe 1982) is the same as that for mechanical dormancy i.e.
Soak seeds in several times their volume of cold water at approximately 3–5 ° C for 48 hours.
Drain off the water and mix the seeds with two to four times their volume of a moistened, water-retaining medium such as sand, sand/peat mixture or vermiculite.
Store at a warm temperature. A constant 20–25°C or alternating 20° and 30° C is suitable for many species.
Open containers weekly, mix seeds and, if surfaces show signs of drying out, remoisten with water spray.
Most species which have underdeveloped embryos also have physiological dormancy, therefore warm moist treatment must be followed by cold moist treatment (see pp. 183–184).
Far more common than morphological dormancy among temperate species are the cases where seeds are fully developed at dispersal or collection but are inhibited from immediate germination for physiological reasons. The pretreatment most effective in removing this physiological dormancy is that which approximates to the conditions of overwintering in nature i.e. a moist cold treatment, or cold stratification.
Cold stratification will not only overcome physiological dormancy but can also reduce the sensitivity of both dormant and non-dormant seeds to their optimum requirements for light and temperature, resulting in increased rate and uniformity of germination over a variety of conditions. If properly carried out, cold stratification does no damage to non-dormant seeds which are undamaged and have not deteriorated from excessive physiological ageing (Wang in press). It can therefore be safely used when different degrees of dormancy are expected in the same seed lot.
Stratification (sensu stricto) refers to the method of placing seeds in layers alternating with layers of a moisture retaining medium, such as sand, peat or vermiculite, and keeping them at a cool temperature for a period, which is commonly between 20 and 60 days but varies considerably from species to species. The combination of high moisture and low temperature appears to trigger off biochemical changes which transform complex food substances into simpler forms utilized by the embryo when it renews growth at germination. The use of the word “stratification” has recently been extended to include all forms of cold, moist treatment whether or not the seeds are placed in layers (Bonner et al. 1974). The present section gives a brief description of stratification in the original sense (outdoor and indoor), while the following section on “Other moist prechilling methods” describes non-layered methods of cold, moist treatment. The three main requirements for success in both stratification and moist prechilling are a renewable source of moisture for the seeds, low temperature and adequate aeration. Only imbibed seeds will benefit fully from cold, moist treatment, while good aeration is needed to supply oxygen for respiration and to dissipate heat and CO2. Low temperature not only favours biochemical changes in the seed but reduces micro-organism activity and the risk of overheating and premature germination of the after-ripened seeds (Bonner et al. 1974).
In temperate climates low enough temperatures to accomplish prechilling are experienced by overwinter stratification in outdoor pits. The method used in the UK is described by Aldhous (1972). Its main features are:
The pit should be located in a cool, shady and well-drained site. The bottom 10 cm should be filled with either sand or gravel for drainage. Pit contents should remain moist during stratification, but should never become waterlogged.
60–80 cm is convenient for depth and width, the length can be adjusted to the volume of seed to be stratified.
The pit should be lined at the bottom and sides with a frame carrying 6 mm mesh wire netting as a protection against mice. After the pit is filled, it should be covered by a lid of the same mesh netting.
The seed to be stratified should be mixed with 4 times its weight of sand and the pit filled with the seed/sand mixture to within 15 cm of the surface. The top 15 cm should be filled with pure sand.
The start of stratification should be timed in relation to the anticipated sowing date and the optimum period of stratification expected for the species. Seeds should be inspected periodically, starting a few weeks before the sowing date. They should be sown when most seeds are beginning to split and the tips of the radicles are visible but before the radicles have elongated. Delayed sowing leads to broken or injured radicles; hardwoods can sustain such damage without too serious ill effects, but it can cause severe losses in conifers.
Where cold-room facilities are available, stratification may be carried out indoors, where closer control of moisture and temperature can be achieved than with the pit method. A temperature of +1° to +5°C is commonly recommended (Boner et al. 1974, Gordon and Rowe 1982). In the USA one method in common use is to place 10- to 25-pound (4.5 – 12 kg) lots of seeds in loosely woven bags which are flattened into disks no more than 3 inches (7.5 cm) thick and alternated with layers of moist medium (Bonner et al. 1974). Boxes, trays, cans or drums make suitable containers but must have perforated bottoms to facilitate drainage and aeration. Soaking seeds overnight in water at room temperature is common practice with southern pines and hardwoods. Containers should be covered loosely to prevent the seed and medium drying unevenly. The seeds should be inspected periodically to prevent heating, poor aeration and excessive drying and to detect the first stages of germination.
Seeds should be sown soon after removal from stratification. Stratified but ungerminated seeds of some genera, e.g. Prunus, may undergo a secondary dormancy if subjected to extreme drying or to temperatures over 20°C. A new cold stratification is then needed to overcome the secondary dormancy (Suszka 1978 b).
Similar results to stratification in layers may be obtained with many species by storing the seeds moist in polythene bags. As with indoor stratification, seeds should be soaked in several times their volume of water before prechilling, a 48 hour soak at 3–5 °C is suitable for many temperate broadleaved species (Gordon and Rowe 1982). After soaking, the water is drained off and the moist seeds are then prechilled at 3–5 °C for the period appropriate to each species. Prechilling may be “naked” i.e. without any medium, or the seed may be mixed with 2–4 times its volume of a medium such as moist sand, moist peat or a mixture of the two Polythene bags of about 100 micron thickness make suitable containers since they are moisture proof but somewhat permeable to oxygen. They should be lightly tied and opened weekly when the seed should be mixed and, if necessary, remoistened. A smell of alcohol on opening a bag indicates that anaerobic respiration is taking place because of inadequate oxygen; in this case frequency of opening and mixing should be increased (Bonner et al. 1974).
Naked prechilling has the advantage that it is easier to check the condition of the seeds throughout the prechilling operation and there is no need to separate seeds from medium at the end of treatment. On the other hand, there is evidence that germination in some species benefits from use of a medium. Gordon and Rowe (1982) reported less than 30% germination in 50 days from seeds of Sambucus racemosa treated “naked”, compared with 60% in 20 days from seeds in peat/soil mixture, other elements in the treatments being identical. These authors give detailed prescriptions for pretreatment of a large number of temperature broadleaved species; as a general rule “naked” prechilling is satisfactory for species which need only a few weeks' prechilling, while use of a medium is advisable for those which need a longer prechilling period and for all species which need warm moist pretreatment.
Periods of prechilling vary considerably from species to species and, to some extent, from seed lot to seed lot within a species. For Abies a period of 3 weeks at 3–5 °C has proved satisfactory (Aldhous 1972). The same temperature and period is effective for most of the cold-temperate eucalypts, but some provenances of E. delegatensis need 4–8 weeks for fast, uniform germination. For Nothofagus obliqua and N. procera naked prechilling at 3° – 5°C for six weeks, and surface drying before sowing, gave high germination (usually over 80% in 28 days) under nursery conditions (Rowe and Gordon 1981). But, as described later in this chapter, treatment with gibberellic acid was a reliable and simpler alternative. In species having deep physiological dormancy the prechilling period may be as long as 20 weeks e.g. Liriodendron tulipifera (Bonner et al. 1974, Gordon and Rowe 1982).
For Fagus sylvatica in Poland, after storage for several years at -5°C and 10% MC, the following pretreatments are recommended (Suszka 1979, Suszka and kluczynska 1980):
Allow to defrost.
Moisten by sprinkling of water and thorough mixing of wetted nuts twice a day for 6 days, at 3° C, until MC rises to 31%.
Leave wet nuts in unsealed containers without any storage medium at 3° C for a period equal to two weeks longer than the minimum required to produce 10 % germination in a sample within two weeks of its transfer to a moist germinating medium. Recurrent sampling and germination testing is needed to estimate this period, which may vary considerably from seed lot to seed lot. MC of 31% to be maintained meanwhile by periodic weighing of containers and remoistening of nuts to restore loss of weight.
Sow in moist germinating medium at 3° C and leave for two weeks. This should initiate germination of radicles.
Transfer to temperature of 20° C to promote hypocotyl and epicotyl elongation and seedling emergence, which are inhibited in this species at 3° C.
For large-scale operational sowings, the ideal experimental conditions described above can be simulated to some extent in the nursery by timing the spring sowing so that the nuts experience an adequate period of cold temperature first, followed by the higher temperatures of late spring and early summer.
There is some evidence that steps (2) and (3) of the pretreatment described above can be carried out before, as well as after, storage. The advantage is that the nuts are ready for sowing as soon as they come out of store, without the need for a subsequent cold, moist treatment covering several weeks. Nuts pretreated before storage have been successfully stored for 15 months in France (Muller 1982).
A wide range of chemicals have been tested experimentally in an attempt to overcome internal dormancy. They include gibberellic acid, citric acid, hydrogen peroxide and a number of other compounds. Some have given a degree of improvement, e.g. Bachelard (1967) found that the germination of dormant seeds of Eucalyptus delegatensis, E. fastigata and E. regnans could be improved by treatment with gibberellic acid (GA). 24 hours' immersion in either GA 3 or GA 4/7 of Nothofagus obliqua has given rapid and complete germination in 14 days, although this normally dormant species otherwise requires 28 – 42 days' stratification (Gordon 1979). Shafiq (1980) found that the strength of the gibberellic acid had only a small effect, 200 ppm giving 100 % germination in 8 days, 50 ppm the same germination in 12 days. The best stratification treatment (42 days at 3 – 5° C) yielded 70 % in 14 days and 88 % in 28 days and the control (24 hours' soaking in distilled water and no prechilling) only 20 % in 28 days. The saving in time effected by the GA treatment (1 + 12 days compared with 42 + 28 days) is considerable. Results reported later by Rowe and Gordon (1981) showed that GA 4/7 was more reliable than GA 3 as it was less sensitive to temperature during the germination period. Excellent germination was obtained throughout the temperature range 15–30°C, whereas GA 3 required temperatures over 21°C for comparable results.
These successes, however, are the exception. In general, for cheapness and reliability chemical treatments cannot compete with stratification or moist prechilling and they are unlikely to play a major role in normal nursery practice in the foreseeable future.
X-rays, gamma rays, light rays in the red region of the spectrum and high frequency sound waves have all been used experimentally to try to overcome dormancy and stimulate germination. Improvement has been reported in some species including Tectona (Bhumibhamon 1973), but it has proved difficult to achieve consistent results and the treatments may induce chromosome damage and other abnormalities (Kemp 1975c). Lynn (1967) concluded that there was far more evidence of unfavourable effects from irradiation of seed than beneficial effects. None of these methods are suitable for practical application at the present time.
Some species combine more than one form of dormancy at the same time. Pretreatment to break one type of dormancy alone will be largely ineffective, unless it is followed by a second pre-treatment to overcome the other type.
Physical dormancy of the seedcoat may be combined with physiological dormancy of the embryo. In this case seedcoats should be treated first e.g. by scarification and cold moist prechilling applied afterwards to overcome embryo dormancy. Cercis canadensis provides a good example; single treatments gave less than 10 % germination in all cases, while successive applications of seedcoat and internal dormancy treatments gave rapid germination of 45 % (mechanical scarification) or 65 % (acid scarification) (Bonner et al. 1974).
In a few cases treatment of the seed covering after stratification has proved effective. Recent trials with Fraxinus pennsylvanica showed that cold stratification at 4° C for 88 days produced 35 % germination in 3 weeks, compared with 2 % in unstratified seed. But removal of the pericarp after stratification further increased germination to 56 %, while the best, but laborious, treatment of stratification followed by removal of embryos from pericarp and endosperm gave 88 % (Marshall 1981). Treatment to increase permeability of the pericarp in acorns after stratification benefits germination. Tuskan and Blanche (1980) found that 6 hours of mechanical shaking in distilled water, after 3 months' storage at 0° C and 30 – 40 % MC gave 90 % germination in Quercus shumardii, compared with 70 % from 6 hours' simple soaking after storage. The shaking treatment also increased MC over that from the soaking treatment, indicating increased permeability.
Fraxinus excelsior combines morphological dormancy (underdeveloped embryo) with physiological dormancy. Warm moist treatment to remove the morphological dormancy should be followed by cold moist treatment to remove the physiological dormancy. For UK conditions Gordon and Rowe (1982) recommend 8–12 weeks warm, followed by 8–12 weeks cold, while in Poland, Suszka (1978 a) recommends 16 weeks of each treatment.
A number of species, especially in the family Rosaceae, combine mechanical dormancy, caused by a tough, thick pericarp, with physiological dormancy. The same combination of warm moist followed by cold moist pretreatment is effective. In the case of a resistant species, Crataegus monogyna, the recommended periods are 4–8 weeks warm, followed by 12–16 weeks cold (Gordon and Rowe 1982).
In some species, germination of the radicle takes place readily at warm temperature, but the epicotyl will not start to grow until (a) The radicle has already started to germinate and (b) The seed has been exposed to a period of low temperature. Examples are Viburnum opulus and Carpinus caroliniana (Bonner et al. 1974). Here again the same sequence of warm moist treatment at 20–25°C followed by cold moist treatment at 3–5 °C should induce satisfactory germination.
Thus the same combination of warm moist plus cold moist treatments applied in that order is capable of removing several different combinations of double dormancy.
In seed dressing or seed pelleting treatments, the surface of the seeds is coated with some inert material, the sticker, to which chemicals of various kinds may be added. Some of the advantages claimed for pelleting and listed by Magini (1962) are:
The incorporation of fertilizer material in the pellet furnishes the young germinated seedlings with needed nourishment.
Plant growth regulators or stimulants may promote rooting or hasten emergence of the seedlings.
Fungicides and insecticides are more effective when in direct contact with the seeds.
Seeds may be protected against rodents by adding unpalatable, repellent or poisonous substances.
Small seeds become larger and heavier and this improves the scatter pattern in aerial seeding.
Pelleting can also be used to incorporate a brightly coloured substance with the seed, which renders it more visible against the soil and thus facilitates uniform sowing rates (Aldhous 1972). Coating with an anti-desiccant material such as alginate can preserve the seed against drying out, until adequate rain has fallen to permit safe germination.
Investigations have shown that some fungicides used in seed dressings may have an adverse influence on germination. The adverse effect was found to increase with temperature and this calls for extra caution in tropical countries (Kemp 1975 c). The cost of seed dressings is seldom justified when plants are raised in a nursery. Fertilizers, fungicides or insecticides can be applied more conveniently to the nursery soil than to the seeds, while good nursery hygiene coupled with presence of nursery staff through the day and periodic trapping or poison-baiting should be effective against birds and rodents. Pelleting is, however, sometimes used to improve the uniformity of seed for precision sowing in the nursery.
The main use of pelleting is for direct seeding, including aerial seeding. Protective measures to assist individual seeds after sowing are impracticable and pelleting is the only possible means of achieving some degree of protection. Most emphasis is now given to seed protection through incorporation of fungicides, insecticides and repellents; inclusion of fertilizers is seldom practised. One example of successful use was in aerial seeding of pines in the southern USA. The coating formulation consisted of endrin and arasan as the protectants, with a latex sticker to act as a bond. The seedling yields in field studies comparing coated with untreated seed were 55 to 1 for Pinus palustris and 12 to 1 for P. taeda (Derr and Mann 1971). Seed coating of eucalypts is practised for aerial seeding of cutover mountain forests in southern Australia, where an area of 8,000 to 12,000 ha annually has been regenerated by this method. Aerial seeding has been used very little in the tropics but some success was obtained in Indonesian trials in Central and Eastern Java on areas dominated by Imperata grass, using Leucaena leucocephala, Calliandra calothyrsus and Acacia auriculiformis (National Research Council 1981).
Latex, methylcellulose and hydrol emulsions are used as stickers. Flaked aluminium powder is sometimes incorporated, because its shining quality is effective in scaring off birds (Magini 1962), or to hasten drying and prevent clumping of the treated seed (Derr and Mann 1971). A variety of chemical protectants is available. Thiram or arasan, endrin and anthroquinone are among those commonly used. Thiram has been found effective against damping off. Red lead was long used as a dressing to protect seeds against birds and rodents but it is now considered to be valueless in this role. It has reduced germination and growth in Larix and may sometimes be toxic to the operator in hand-sowing techniques (Wakeman 1975). A more suitable dye which is equally effective as colouring and which has no apparent adverse effect on subsequent germination is a Waxoline dye such as Lithofar red or the later Waxoline red A. It can also be used as a marker for special certified seed batches in storage (Aldhous 1972, Wakeman 1975).
Magini (1962) describes one method of coating seeds through use of a small cement mixer. The seed is placed in the mixer (a batch of about 12 kg at a time is suitable) and moistened with a latex sticker solution of one part latex to nine parts of water at the rate of one eighth to one quarter of a litre per kg of seed. Enough treating powder is then added to dry the sticker, usually in a volume relationship of four parts powder to one part sticker. The thickness of the seed coating is dependent on the amount of sticker in relation to the amount of seed. The total mixing time should not exceed four minutes, since prolonged agitation damages seeds or chips off the pelleted coat.
The procedure described by Aldhous (1972) for coating seed with a Waxoline red dye is first to prepare a mixture of 1 part of dye to 19 parts of French chalk. The seed is mixed with a small volume of linseed oil and stirred gently until all the seed appears evenly covered. The freshly oiled seed should be mixed without delay with the French chalk/dye in a closed container until evenly coloured. The seed is then ready for sowing.
![]() | ![]() | ![]() |
| A. Add 1 kg animal repellent (endrin) to 1 kg bird repellent (thiram). | B. Stir. | C. Beat with paint stirrer. |
![]() | ![]() | ![]() |
| D. Add 700 ml latex adhesive to another 1 kg bird repellent (thiram) | E. Blend by pouring from can to can about 10 times. | F. Pour finished repellent directly onto 10 kg of seed as concrete mixer is turning. Tumble about 2 minutes. |
![]() | ![]() | 8.11 The U.S. Forest Service recommendation for preparing repellent and applying it to seed of Pinus elliottii. (USDA Forest Service) |
| G. Add aluminium powder. Tumble for another minute | H. Spread out the now fully coated seed to dry |

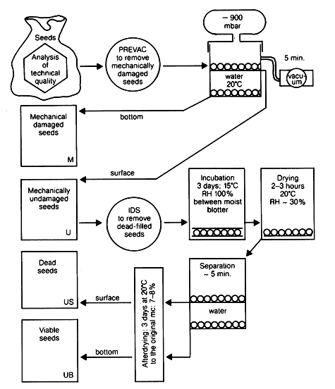
8.12 Flow-scheme for the removal of mechanically damaged and filled-dead seeds according to PREVAC- and IDS-methods. The abbreviations for the different fractions (M, U, US, UB) are also used in Figure 8.13. (M. Simak)

8.13 The germinating seeds of IDS/PREVAC-treated Pinus caribaea and P. oocarpa after 7 days. Note development of fungi on series with dead seeds. Fungi were much more abundant at end of test (21 days). For abbreviations see Figure 8.12. K is the control. (M. Simak)
In the Philippines tests have been made of Arasan as a rodent-repellent seed coating for aerial seeding of Leucaena leucocephala (Dalmacio 1976). A sticker solution consisting of 1 part Dow Latex 512 R and 9 parts water was added to the seeds and the mixture stirred for 2 minutes. Arasan 75 wettable powder was then added gradually and the mixture stirred for a further 4 minutes, then spread out to dry for 14 hours. Several different strengths of Arasan were compared with a control. It was found that Arasan did not effect germination adversely, in fact the 7.5 % active ingredient Arasan gave significantly better germination than the control (74 % compared with 64 %). Results from 5 % and 10 % acid equivalent Arasan were intermediate. Previous trials had demonstrated that Arasan was effective in reducing rodent damage.
US Forest Service recommendations for preparing repellent and applying it to Pinus elliottii seeds are illustrated in Figure 8.11. In the southern USA 41,000 ha were direct seeded with pines in 1977 and 32,000 ha in 1978 (National Research Council 1981).
In Honduras the following mixture has proved suitable for Pinus oocarpa and P. caribaea direct sown: 60 g Arasan, 20 g 50% Endrin, 5 ml latex and 100 ml water for 1 kg of pure seed. This concentration is considerably lower than that recommended for southern pines in the USA, since it was found that the higher concentrations caused some damage to these tropical species (Robbins 1983a, 1983b).
One pretreatment designed to separate viable full seed from non-viable full seed has been described by Simak (1981). It involves a form of pregermination of the sound seed and is thus a treatment suitable for application between storage and sowing and not between processing and storage. It is appropriate in cases where seed must be sown after a long period of storage, either because of a long interval between good seed years - a decade or more sometimes in northern conifers - or because of storage for conserving gene resources. Seed stored for such long periods may contain a substantial proportion of full seeds which have lost the power to germinate and the separation of non-viable from viable seeds greatly facilitates subsequent nursery operations.
The method involves three stages (1) The provision of conditions ideal for initiating the internal seed processes which lead to germination in viable seeds, especially the imbibition of water (2) Partial redrying of the seeds. The viable seeds retain more absorbed water after redrying than the dead filled seeds and their specific gravity is therefore greater. (3) Separation, e.g. by flotation, of the non-viable from the viable seeds. In one seed lot of Pinus sylvestris the treatments were (1) 16 hours' soaking in water, followed by 72 hours' storage in an incubator in a 2 cm thick layer at 15°C and 100% moisture (2) 12 hours' drying at 15°C, 35% RH and light of 800 lux (3) Separation into two fractions of “floaters” and “sinkers” by flotation in water. This method, applied to 10 kg of seed of 67% germination, separated the seeds into one fraction of 7.3 kg “sinkers” with 90 % germination and a second fraction of 2.7 kg “floaters” with 13% germination. The resulting component with the higher germination can be sown at the rate of a single seed per paper pot in the nursery and germination is more rapid because of the pregermination treatment.
The method, known as the IDS (Incubation-Drying-Separation) treatment, requires very close control of temperature and moisture conditions if the desired differentiation between live and dead seeds is to be achieved without bringing the pregermination effect on the live seeds to the stage of radicle emergence. The optimum times of treatment may vary from seed lot to seed lot and it is necessary to carry out a preliminary trial on a small sample of each lot before treating it in bulk. The method is likely to have most application in circumstances where (1) A substantial proportion of full but non-viable seeds is expected after storage (2) Close control of temperature and moisture conditions is possible (3) The viable seed obtained after separation can be sown in the nursery with minimum delay.
It is also possible to separate full but mechanically damaged seeds from full undamaged seeds. One method described by Lestander and Bergsten (1982) consists of placing the dry seeds in a drum partially filled with water. Centrifugal pressure is applied to the system by revolving the drum (5000 revolutions per minute has proved an effective speed) for a period sufficient to cause the damaged seeds to absorb enough water to make them sink, while the undamaged seeds absorb very little water and remain floating. In a seed lot of Pinus sylvestris known to have 26% mechanically damaged seeds, it was found that 20% of the seeds had sunk after 1 minute of drum rotation and 25% after 5 minutes. About 98% of the sinkers were damaged and only 2% of the floaters. Germination in the sinkers was about 3% and in the floaters 85% (after 5 minutes' treatment and 21 days' germination test period). The same effect can be obtained by applying pressure to the liquid directly instead of by centrifuging, or by first applying a vacuum and then releasing it. The method is known as the PREVAC (Pressure-Vacuum) method (Bergsten 1983).
This treatment is based on the fact that seeds with undamaged testas absorb water less readily than those with damaged testas, whereas the IDS treatment is based on the fact that a live imbibed seed releases moisture less readily on drying than a moistened dead seed.
The PREVAC and IDS methods have been successfully used in combination to improve seed quality in Pinus caribaea and P. oocarpa (Simak 1984). In P. caribaea the combined treatments increased germination after 21 days from 75% in the control to 87% (and to 91% after a second incubation period), in P. oocarpa from 93% in the control to 99%. Speed of germination after sowing was also improved from 4% after 7 days to 35% in P. caribaea, and from 6% to 58% in P. oocarpa. The schedules used were those devised for P. sylvestris and further improvement in results may be obtainable by adapting these to the tropical pines. In the initial experiment about half of the seeds separated as “mechanically damaged” or as “filled dead” actually germinated in P. oocarpa and about one third in P. caribaea; on the other hand a much higher proportion of these “rejected but germinated” seeds showed signs of abnormal germination or reduced vigour than in the control. Figure 8.12 illustrates the combined procedures in flow chart form and Figure 8.13 the germinating seeds.