The nucleus of the future distribution system has been established with the foundation of the above-mentioned centres. The system could easily be enlarged.
Research should be undertaken jointly with the Food Research Section in Kathmandu into the possibility of improving the methods of smoking and drying fish in the main producing regions as the existing methods as practised in the villages are rather primitive.
Programme should be started for production of fish that will make possible a continuous supply to the market, which is of especial attraction for the tourist trade.
SPECIFICATIONS OF PANELS AND INTERLOCKING EDGES FOR COOL ROOMS INSTALLATIONS
| (a) | PANELS | |||||
| 1. | Cool Rooms 2.6 × 2.2 m (smaller) 2 pieces | (in cm) | ||||
| Floor: | 2 pieces | at 120 × 200 | (black) | × 2 = | 4 pieces 120 × 200 | |
| Roof: | a) | 2 pieces | at 80 × 200 | × 2 = | 4 pieces 80 × 200 | |
| b) | 1 piece | at 80 × 200 | with refr. unit × 2 = | 2 pieces W 114 refr. unit | ||
| Walls: | 4 pieces | at 120 × 200 | × 2 = | 8 pieces 120 × 200 | ||
| Front: | a) | 1 piece | at 80 × 200 | × 2 = | 2 pieces 80 × 200 | |
| b) | 1 piece | at 120 × 200 | with door × 2 = | 2 pieces with door | ||
| Back: | a) | 1 piece | at 120 × 200 | × 2 = | 2 pieces 120 × 200 | |
| b) | 1 piece | at 80 × 200 | × 2 = | 2 pieces 80 × 200 | ||
| 2. | Cool Rooms 5.4 × 2.2 m (larger) 2 pieces | |||||
| Floor: | a) | 3 pieces | at 120 × 200 | (black) | × 2 = | 6 pieces 120 × 200 |
| b) | 2 pieces | at 80 × 200 | (black) | × 2 = | 4 pieces 80 × 200 | |
| Roof: | a) | 3 pieces | at 120 × 200 | × 2 = | 6 pieces 120 × 200 | |
| b) | 1 piece | at 80 × 200 | × 2 = | 2 pieces 80 × 200 | ||
| c) | 1 piece | at 80 × 200 | with refr. unit × 2 = | 2 pieces with refr. unit | ||
| Walls: | a) | 6 pieces | at 120 × 200 | × 2 = | 12 pieces 120 × 200 | |
| b) | 4 pieces | at 80 × 200 | × 2 = | 8 pieces 80 × 200 | ||
| Front: | a) | 1 piece | at 80 × 200 | × 2 = | 2 pieces 80 × 200 | |
| b) | 1 piece | at 120 × 200 | with door × 2 = | 2 pieces with door | ||
| Back: | a) | 1 piece | at 120 × 200 | × 2 = | 2 pieces 120 × 200 | |
| b) | 1 piece | at 80 × 200 | × 2 = | 2 pieces 80 × 200 | ||
| TOTAL: | Floor (black panels!) | = 120 × 200 = 10 pieces |
| 80 × 200 = 4 pieces | ||
| Walls + Roofs | = 120 × 200 = 30 pieces + 4 pieces with door | |
| 80 × 200 = 22 pieces + 4 pieces with refr. unit | ||
| TOTAL: = 66 pieces |
| (b) | INTERLOCKING EDGES | ||
| 1. | Cool Rooms 2.6 × 2.2 m (smaller) 2 pieces | ||
| Floor: | a) Front/back | 2 pieces at 2.21 m × 2 = | 4 pieces 2.21 m |
| b) Side | 4 pieces at 1.2 m × 2 = | 8 pieces 1.2 m | |
| Plumb: | 4 pieces at 2.0 m × 2 = | 8 pieces 2.0 m | |
| Roof: | a)Front/back | 2 pieces at 2.21 m × 2 = | 4 pieces 2.2 m |
| b)Side | 4 pieces at 1.2 m × 2 = | 8 pieces 1.2 m | |
| 2. | Cool Rooms 5.4 × 2.2 (larger) 2 pieces | ||
| Floor: | a) Front/behind | 2 pieces at 2.21 m × 2 = | 4 pieces 2.21 m |
| b) Side: a) | 2 pieces at 2.0 m × 2 = | 4 pieces 2.0 m | |
| b) | 4 pieces at 1.2 m × 2 = | 8 pieces 1.2 m | |
| c) | 2 pieces at 0.8 m × 2 = | 4 pieces 0.8 m | |
| Plumb: | 4 pieces at 2.0 m × 2 = | 8 pieces 2.0 m | |
| Roof: | a)Front/behind | 2 pieces at 2.21 m × 2 = | 4 pieces 2.21 m |
| b)Side: a) | 2 pieces at 2.0 m × 2 = | 4 pieces 2.0 m | |
| b) | 4 pieces at 1.2 m × 2 = | 8 pieces 1.2 m | |
| c) | 2 pieces at 0.8 m × 2 = | 4 pieces 0.8 m | |
| RECAPITULATION: INTERLOCKING EDGES | at 2.21 m | = 16 pieces |
| at 2.0 m | = 24 pieces | |
| at 1.2 m | = 32 pieces | |
| at 0.8 m = 8 pieces | ||
| TOTAL: = 80 pieces | ||

Fig. 1 - Fish Receiving/Distribution Centre Pokhara

Fig. 2 - Plan for the installation of the shelter at Receiving/Distribution Centre Pokhara

Fig. 3 - Plan for the table installation for cleaning and washing fish in Receiving/Distribution Centre Pokhara

Fig. 4 - Fish Receiving/Distribution Centre Balaju, in Kathmandu, before reconstruction

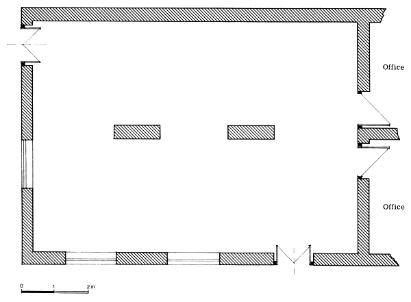
Fig. 5 - Plan for installation of the cool room, ice machine, deep freezer in Receiving/Distribution Centre Balaju, Kathmandu

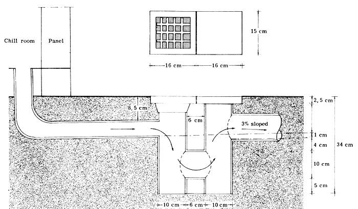
Fig. 6 - Plan for floor siphon installation in Receiving/Distribution Centre Balaju, Kathmandu
| 1 box = 7 cases at 25–30 kg fish 7 × 30 = 210 kg fish Total capacity of the boxes = 210 × 9 = 1980 kg fish | ![]() |
| Storage capacity outside boxes = 18 cases at 30 kg fish = 540 kg fish | |
| Total capacity of the store = 1890 + 540 = 2430 kg iced fish in cases | |
![]() |
Fig. 7 - Plan for boxes installation in the cool room (renting for private fishermen)

Fig. 8 - Fish Receiving/Distribution Centre Hetauda - plan for installation of the cool room, ice making machine, etc.

Fig. 9 - Cooling rate of store chamber, Balaju, Kathmandu (External temperature + 30°C)

Fig. 10 - Flow chart fresh fish processing and distribution