
Fig. 1 Coastal map of Ghana, showing the 200 m contour line and the most important lagoons and rivers

Fig. 2 Dugout canoe

Fig. 3 One man canoe (donkua)

Fig. 4 Medium size canoe - for gillnets or driftnets

Fig. 5 Large ali poli canoe for gillnets or small purse seines

Fig. 6 Large canoe for beach seining

Fig. 7 Outboard engine mounting brackets

Fig. 8 The canoe and its accessories

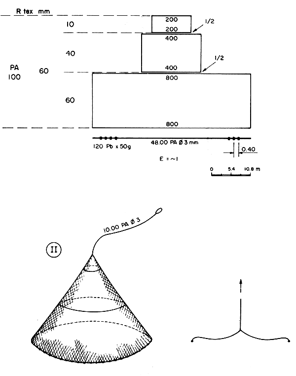
Fig. 9 Faan-yaa castnet

Fig. 10 Dzenge castnet

Fig. 11 Set gillnet toga

Fig. 12 Set gillnet ashoo

Fig. 13 Set gillnet tengirafo

Fig. 14 Set gillnet solu-yaa

Fig. 15 Set gillnet ngaa-yaa

Fig. 16 Set gillnet tsile-yaa

Fig. 17 Obue ali driftnet

Fig. 18 Man ali driftnet

Fig. 19 Combination man ali/obue ali driftnet

Fig. 20 Flikilo-yaa driftnet

Fig. 21a Anifa-anifa driftnet

Fig. 21b Anifa-anifa driftnet

Fig. 22 Encircling gillnet

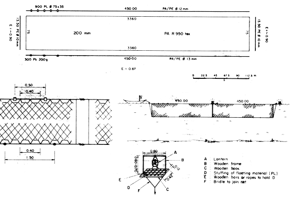
Fig. 23 Small beach seine

Fig. 24 Medium size beach seine

Fig. 25a Large beach seine

Fig. 25b Large beach seine with detachable sections

Fig. 26 Beach seine without bag

Fig. 27 Watsa purse seine

Fig. 28 Poli-sieve purse seine

Fig. 29 Achiki na oye purse seine

Fig. 30 Handline for pink dentex and seabream

Fig. 31 Handline for grouper and snapper

Fig. 32 Handline for duskey grouper

Fig. 33 Handline for blue spot seabream and golden snapper

Fig. 34 Handline for southern seabream

Fig. 35 Handline for Angola dentex

Fig. 36 Handline for chub mackerel

Fig. 37 Handline for false shad

Fig. 38 Handline for red pandora

Fig. 39 Handline for Congo dentex

Fig. 40 Handline for yellowfin tuna, sailfish and shark

Fig. 41 Trolling line

Fig. 42 Bottom-set longline

Fig. 43 Vee shaped shrimp trap

Fig. 44 Crab trap

Fig. 45 Crab pot

Fig. 46 Trap for fish, crab and shrimp

Fig. 47 Bottle trap