Este tema contiene dos aspectos diferentes:
- El primero trata del suelo natural que, a diferencia de lo que ocurre en Europa central y del norte, en el área mediterránea se usa mayoritariamente en los cultivos protegidos, dado que satisface las necesidades de éstos en los invernaderos de plástico, teniendo en cuenta las condiciones de clima, las características del suelo, los sistemas de cultivo poco tecnificados, el valor económico de los productos, el nivel tecnológico, las necesidades de los cultivos, etc.
- El segundo trata de las posibilidades de empleo de sustratos más o menos inertes, que ya se usan ampliamente en el norte de Europa, con el propósito de evitar las limitaciones del suelo natural para el cultivo hortícola. Para ello se han desarrollado técnicas de cultivo sin suelo y cultivo hidropónico o aeropónico.
Este tipo de técnicas se muestran particularmente útiles para el cultivo de ciertas especies exigentes y por ello es interesante tenerlas en cuenta para mejorar el cultivo protegido en el área mediterránea.
El problema de la disponibilidad de sustratos puede llegar a hacerse importante, dado que por una parte la mayor parte de las regiones mediterráneas no posee recursos de sustratos orgánicos de buena calidad y por otra, algunos de los materiales importados son caros y no satisfacen completamente a los usuarios.
Los suelos naturales (véase 5.2.2) se encuentran disponibles ampliamente en las regiones mediterráneas, pero no es frecuente que cumplan las mejores condiciones para el cultivo protegido.
Por lo tanto, es necesario tratar a cada suelo de modo específico, con el fin de conseguir que las altas exigencias de este tipo de cultivos sean satisfechas. Este objetivo se alcanza con mayor facilidad en terrenos con contenidos de 50-60% de arena, 12-20% de limo, 10-15% de arcilla y 6-8% de materia orgánica.
En suelos que poseen una textura equilibrada, se encuentran condiciones favorables de características hídricas y físicas (véase Tabla 14).
Tabla 14. Características hídricas y físicas de algunos suelos (según ANSTETT, 1979).
|
Suelo |
Densidad aparente |
Capacidad de campo |
Humedad disponible |
Valores (mm) de parámetros hídricos para un suelo de 500 mm de profundidads |
|||
|
|
g/cm3 |
% peso |
% vol |
|
capacidad campo |
punto marchitez |
humedad disponible |
|
arena |
1,35 |
10 |
13,5 |
11 |
67,5 |
12,5 |
55 |
|
arenolimoso |
1,30 |
16 |
21 |
18 |
105 |
15 |
90 |
|
limoarenoso |
1,25 |
20 |
26 |
21,5 |
130 |
27,5 |
107,5 |
|
limo |
1,20 |
29 |
35 |
24,5 |
175 |
52,5 |
122,5 |
|
arcillolimoso |
1,15 |
33 |
38 |
22,5 |
190 |
77,5 |
112,5 |
|
arcilla |
1,10 |
38 |
42 |
22 |
210 |
100 |
110 |
|
turba |
1 |
70 |
70 |
40 |
350 |
150 |
200 |
La mayor parte del área de cultivo protegido mediterráneo, se practica a lo largo de la zona costera, donde es más frecuente encontrar suelos de textura arenosa que suelos pesados. Las deficiencias físicas de estos suelos son por lo tanto su alta permeabilidad y su baja capacidad de retención del agua y de intercambio catiónico, a menudo inferior a 10 meq/100 g.
Asimismo se encuentran altos niveles de alcalinidad o de salinidad y bajo contenido de materia orgánica inferior al 1% y de nutrientes.
Sin embargo los suelos arenosos presentan ciertas ventajas, ya que se calientan con rapidez, son fáciles de trabajar, no interfieren mucho en las relaciones raíz-agua-suelo, nunca acumulan exceso de humedad y pueden resultar más sanos frente a algunas enfermedades.
En el cultivo protegido no es suficiente la práctica de las técnicas agronómicas más corrientes; el suelo necesita una preparación y un manejo especiales; por ejemplo:
- enriquecimiento con materia orgánica para mejorar la textura y otras características relacionadas con ella;
- regulación de las condiciones de nutrición, alcalinidad y salinidad;
- regulación de las condiciones biológicas para limitar la aparición de plagas y enfermedades en el suelo.
Es muy difícil aumentar el contenido de materia orgánica del terreno en las regiones del Mediterráneo, debido a la escasez y alto precio del estiércol, a la rápida mineralización del humus a alta temperatura y a las modificaciones que ello produce en el suelo.
La turba podría ser un material útil tanto en suelos pesados como arenosos (Tabla 15), pero su precio excesivo impide considerarlo como alternativa. Además su empleo como enmienda en el suelo produce otros problemas, tales como un aumento de la relación C/N, una elevación de la porosidad en suelo arenoso y una eventual deshidratación difícil de superar a posteriori.
Tabla 15. Efectos de la adición de turba a un suelo franco-limoso sobre sus propiedades físicas e hídricas (según HANAN et al., 1978).
|
proporción suelo:turba |
densidad aparente g/cm3 |
porosidad total % vol |
aire % vol |
capacidad hí- drica % vol* |
percolación cm/h |
|
10:0 |
1,15 |
57 |
13,1 |
43,9 |
4,1 |
|
9:1 |
1,05 |
60,7 |
17 |
43,7 |
4,6 |
|
7:3 |
0,93 |
64,9 |
23,9 |
41 |
39,1 |
|
5:5 |
0,69 |
73,4 |
25, 8 |
47,6 |
99,6 |
|
3:7 |
0,48 |
81,1 |
23,8 |
57,3 |
148,3 |
|
1:9 |
0,22 |
91,1 |
22,5 |
68,6 |
>152 |
|
0:10 |
0,10 |
94,4 |
30,6 |
63,8 |
>152 |
(*) medida en una columna de 17,2 cm
Como resultado de ello, los horticultores tienen que recurrir a otros materiales tales como los subproductos de la agricultura, orujos de vinificación, restos sólidos de almazara, etc. Los suelos de arcillas montmorrilloníticas son útiles para reducir las aportaciones de materia orgánica, que serían necesarias para la enmienda de la textura de suelos muy arenosos.
La adición de materia orgánica contribuye también a mejorar las condiciones químicas del suelo y aumentar su capacidad de intercambio catiónico.
Por otra parte, en los suelos arenosos, la única manera de asegurar que el cultivo pueda optimizar el aprovechamiento del agua y los nutrientes que necesita, es suministrarlos en dosis pequeñas y frecuentes por medio de un sistema de riego localizado. Este procedimiento disminuye el ritmo de percolación, la pérdida por lavado y en algunas condiciones, evita la acumulación salina.
La salinidad es una característica típica de las regiones costeras, debido a un lavado insuficiente. Esta situación se puede evitar con volúmenes pequeños de agua de riego, laboreo y acolchado, con el objeto de impedir movimientos ascendentes del agua salina de capas profundas. Los problemas de salinidad derivados de la fertilización pueden proceder también de la falta de lavado por el agua de lluvia en los invernaderos.
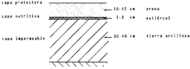
Existen técnicas locales que resultan eficaces, como por ejemplo el "enarenado" practicado en el sur de España, en Murcia, Almería y Málaga. Esta técnica consiste en colocar el sustrato de cultivo del siguiente modo, desde abajo hacia arriba:
- capa impermeable arcillosa de 30 a 40 cm;
- capa de estiércol de 1 a 2 cm;
- capa de arena de 10 a 12 cm.
Fig. 80. Esquema del sistema de "enarenado".
El conjunto de raíces de la planta se desarrolla entre la capa de estiércol, la zona baja de la capa de arena y la superficie de la capa de arcilla. Esta al ser impermeable, impide movimientos descendentes de agua, lo que reduce la necesidad de riego y asimismo movimientos ascendentes, lo que evita el traslado de sales del suelo natural subyacente. La capa de estiércol, suministradora de nutrientes, se renueva cada 4 a 5 años.
La arena disminuye la evaporación, evita el desarrollo de malas hierbas, mejora la aireación de la zona radicular y aumenta la temperatura del sustrato.
La técnica del enarenado es un medio simple de conseguir una producción intensiva de cultivos sensibles a condiciones salinas, en suelos no aptos para la horticultura, localizados en zonas áridas, empleando menos cantidad de agua e incluso agua de poca calidad.
El control de flora adventicia en invernadero, no constituye generalmente un problema, sobre todo cuando se hace uso del acolchado plástico.
Por el contrario, las plagas y enfermedades del suelo sí requieren una vigilancia rigurosa ya que constituyen una permanente amenaza.. El control de ellas no es fácil, pero cada vez disponemos de más soluciones tales como el injerto, el cultivo sin suelo, no suelen ser compatibles con el nivel tecnológico de muchas zonas del Mediterráneo. Por otro lado algunos métodos, como la esterilización por vapor, no siempre son eficaces. La esterilización química y en particular con bromuro de metilo, ha sido a menudo la única alternativa, pero este producto es peligroso y contamina el ambiente, acumulándose en las plantas por lo que debe desecharse totalmente. Los nemátodos merecen una atención especial debido a que las condiciones climáticas mediterráneas favorecen su proliferación.
El acolchado del suelo con una lámina de plástico transparente, durante los meses más cálidos del año, ofrece un estimable grado de control de plagas y enfermedades localizadas en el terreno o que desarrollan en él una parte de su ciclo de vida. La temperatura del suelo asciende a un nivel suficiente para eliminar algunos de estos organismos y mejora las condiciones biológicas del terreno (véase "solarización" 5.5.4.). La solarización ha demostrado sobradamente su eficacia a pesar de sus limitaciones y puede ser recomendada en las regiones ribereñas del sur y este del Mediterráneo; es barata, eficaz y sobre todo carente de peligro.
Los medios de cultivo, distintos del suelo, pueden mejorar teóricamente el cultivo protegido en las regiones mediterráneas, debido a que ofrecen ventajas técnicas nada despreciables, como por ejemplo:
- control de enfermedades y plagas del suelo;
- mejor empleo del agua y los abonos;
- mayor aprovechamiento del espacio del invernadero;
- posibilidad de satisfacer las necesidades de las plantas, etc.
Sin embargo el uso de estos medios presenta también problemas para los cultivos hortícolas, por las razones siguientes:
- disponibilidad, costo y características de los medios de cultivo. La región Mediterránea no tiene buenos yacimientos de turba y los costos del transporte son elevados. Además la turba tiene inconvenientes en clima cálido, por ejemplo, sus características físicas y químicas cambian con rapidez y lo mismo ocurre con el contenido de humedad;
- la tecnología necesaria para realizar el cultivo fuera del suelo natural no se domina en muchas zonas;
- el sistema de producción es más bien extensivo. Lo más frecuente son los invernaderos de plástico no climatizados, con cultivos de hortalizas en rotación ininterrumpida;
- las condiciones del clima dentro y fuera del invernadero varían considerablemente a lo largo del tiempo, haciendo difícil el mantener el sustrato a una temperatura aceptable para la absorción del agua y los nutrientes.
Estos mismos motivos hacen difícil el llevar a cabo otras técnicas de cultivo como el hidropónico, aeropónico, vertical etc., ya que requieren condiciones técnicas, económicas y sociales que son difíciles de encontrar y a veces no son rentables en algunos países mediterráneos. No obstante, las técnicas hidropónicas se van extendiendo en algunos países mediterráneos, con relativa rapidez, por lo que ya deben considerarse una alternativa realista.
Dada la generalización del uso de material vegetal selecto de elevado costo, como es la semilla de híbridos F1 y dado el alto nivel de insumos empleados en el cultivo protegido, es evidente que ha aumentado la preocupación por producir plántulas de buena calidad en semilleros bien manejados. El empleo de sustratos es por lo tanto muy recomendable con el fin de:
- facilitar condiciones de cultivo favorables;
- mejorar la organización y el control de la producción de plántulas;
- reducir los costos;
- permitir mecanizar operaciones;
- aumentar los rendimientos.
Sin embargo, el uso de sustratos artificiales precisa de mayores conocimientos que el del suelo y por ello un requisito previo es el comprender bien sus características y propiedades.
Un sustrato apto para el cultivo debe cumplir las siguientes condiciones:
- acumular y suministrar grandes cantidades de agua, para permitir intervalos amplios entre riegos;
- tener estructura estable a lo largo del período de empleo y una textura conocida que haga posible mantener un gran volumen de aire para la aireación del sistema radicular, incluso si se produce un exceso de riego;
- absorber y retener los nutrientes en forma asimilable para las plantas y tener una buena capacidad amortiguadora para compensar cualquier exceso o déficit de nutrientes;
- ser química y biológicamente inerte.
Siempre que sea posible debe evitarse el uso de estiércol, debido a la variabilidad de sus características, su heterogeneidad, la dificultad de controlar su descomposición microbiológica, la variación de los contenidos de nutrientes y su posible grado de infestación.
Las características de un sustrato son el resultado de sus propiedades físicas. Estas dependen de la estructura de los componentes y vienen definidas por la proporción entre partículas de tamaño grande y pequeño, el conjunto de poros y los volúmenes relativos de agua y de aire que ocupan los poros.
Es conveniente el conocer los parámetros físicos siguientes:
- granulometría, tamaño y proporción de las partículas;
- densidad aparente, masa por unidad de volumen, incluído el volumen de poros;
- densidad real, masa por unidad de volumen de la fase sólida, no incluyendo el volumen de poros;
- porosidad total o espacio poroso total, % del volumen de poros, llenos de aire y de agua, en relación al volumen total;
- fase sólida (% vol.), diferencia entre 100 y la porosidad total;
- contenido de aire (% vol.) diferencia entre la porosidad total y el volumen de agua medido a 10 cm de tensión;
- agua fácilmente disponible (% vol.), diferencia entre los volúmenes de agua a 10 y 50 cm de tensión;
- agua de reserva (% vol.), diferencia entre los volúmenes de agua medidas a 50 y 100 cm de tensión.
Es asimismo importante el conocer las características químicas del sustrato según los parámetros siguientes:
- pH
- capacidad de intercambio catiónico (CIC)
- contenido de sales solubles
Se podría describir un sustrato ideal con los siguientes datos (véase Fig. 81):
|
- densidad aparente |
0,22 g/cm3 |
|
- densidad real |
1,44 g/cm3 |
|
- espacio poroso total |
85% |
|
- fase sólida |
10-15% |
|
- contenido de aire |
20-30% |
|
- agua fácilmente disponible |
20-30% |
|
- agua de reserva |
6-10% |
|
- pH |
5,5-6,5 |
|
- capacidad de intercambio catiónico |
10-30 meq/100 g peso seco |
|
- contenido de sales solubles |
200 ppm (2mS/cm) |
Fig. 81. Curva de
retención de agua de un sustrato ideal
Existe un gran número de materiales de buena calidad, para los que el criterio de elección depende principalmente de su disponibilidad, su costo y la experiencia local en su empleo.
A. Productos orgánicos
1. Turba. Puede considerarse tres tipos diferentes:
- Sphagnum, o turba rubia, es la forma menos descompuesta. Proporciona excelentes propiedades de aireación y agua al sustrato, tiene bajo pH y poco nitrógeno.
- Turba de cañota, es muy variable en su estado de descomposición y de acidez.
- Turba negra, es un material muy descompuesto, negro o castaño oscuro, con baja capacidad de retención del agua y contenido de nitrógeno de medio a alto.
El contenido de materia orgánica de la turba debe ser superior al 80% en peso seco. La mayor parte de las turbas tienen escaso contenido de cenizas, menor del 5%, lo que indica que su cantidad de nutrientes, aparte del N, es baja.
La turba rubia tiene un 80 a 90% de materia orgánica y 4 a 20% de cenizas. La capacidad de intercambio catiónico (CIC) es de 60 a 120 meq/l.
La turba negra contiene alrededor del 50% de materia orgánica debido a su alto grado de descomposición y un 50% de cenizas, que indican su avanzado estado de mineralización. La CIC está entre 250 y 350 meq/l. No es recomendable emplear turbas negras procedentes de zonas salinas.
En las turbas se encuentran otros componentes beneficiosos, como son los ácidos húmicos, ácidos fúlvicos, etc.
Veamos los motivos por los que la turba es un componente interesante en los sustratos:
- aumenta la capacidad de agua;
- aumenta la porosidad, lo que mejora la aireación y el drenaje;
- aumenta la densidad aparente, facilitando el desarrollo radicular;
- aumenta el efecto amortiguador, que permite equilibrar el pH y las sales solubles;
- es una fuente de liberación lenta de N;
- mejora la disponibilidad de nutrientes para la planta.
Las turbas comerciales pueden presentar problemas, ya que algunas de ellas no se rehidratan con facilidad y esto puede ser peligroso para un semillero, requiriendo una vigilancia muy atenta del riego para evitar una deshidratación excesiva.
2. Mantillo. Consiste en residuos orgánicos de composición variable y tamaño de partículas heterogéneo, procedentes de las capas superficiales de los bosques. Se puede usar directamente o después de "compostaje". El contenido de materia orgánica está alrededor del 60% y el de cenizas del 40%.
3. Residuos de madera. Hay un conjunto de residuos de las industrias de la madera y del papel, que tienen utilidad como sustratos, así son el serrín, el "compost" de cortezas, virutas de pino, etc.
Hay dos aspectos a tener en cuenta con estos materiales:
- su alta relación C/N provoca una acentuada inmovilización de N del sustrato, que puede causar carencia en el cultivo. Esto se resuelve con adiciones de N de liberación lenta o sometiendo estos productos a tratamientos de descomposición.
- Por otro lado los restos de serrería pueden contener compuestos fitotóxicos que inhiben la germinación y el crecimiento, cuando son restos recientes. Por ello es conveniente almacenarlos y someterlos a tratamiento de "compost" durante algún tiempo, antes de su empleo. Pueden ser necesarios 5 meses de tratamiento para eliminar la fitotoxicidad de algunos restos de maderas duras.
El "compost" de serrín y el de corteza, completado con nutrientes, pueden sustituir a la turba en mezclas de sustratos. El "compost" se realiza agregando N, a temperaturas hasta de 60-70ºC en condiciones aerobias.
La CIC de un "compost" de corteza de pino es de 100 a 150 meq/l.
4. Residuos de lana. Este subproducto industrial puede emplearse directamente sin tratamiento previo. Contiene un 50% de materia orgánica y un 20% de cenizas.
5. Orujo de uva. Debe someterse a fermentación aerobia antes de su empleo. Contiene un 90% de materia orgánica y 10% de cenizas.
6. Orujo de aceituna. Se puede emplear después de cuatro meses de tratamiento. Dos meses son necesarios para mejorar las propiedades físicas y otros dos meses más para alcanzar la descomposición completa de los compuestos fitotóxicos, principalmente ácido acético. Después de los primeros dos meses se puede lavar el contenido tóxico con agua. El producto tiene un pH algo más elevado de lo deseable, pero la conductividad es aceptable. El contenido total de N es superior al 1,2-1,5%. Es conveniente mezclarlo con otros materiales que mejoren sus propiedades físicas.
7. Cascarilla de arroz. Se emplea directamente. Tiene un 87% de materia orgánica y 13% de cenizas.
8. Otros. Existen otro número de materiales disponibles localmente y que pueden ser empleados como sustratos: bagazo de azucarera de caña. hojas secas de cafeto, residuos de café, raíces de jacinto de agua, algas marinas, etc.
B. Productos inorgánicos
1. Arcilla. Es un material que proporciona reserva de agua y de nutrientes al sustrato, al mismo tiempo que suministra micronutrientes y mejora la capacidad amortiguadora y la porosidad de la mezcla. La CIC de un suelo con un 30% de arcilla es de 200 a 300 meq/l.
2. Arena. Reduce la porosidad del medio de cultivo. La porosidad de la arena es alrededor del 40% del volumen aparente. Las partículas deben ser de 0,5 a 2 mm de diámetro. No contiene nutrientes y no tiene capacidad amortiguadora. La CIC es de 5 a 10 meq/l. Se emplea en mezcla con materiales orgánicos.
3. Tierra volcánica, arcilla expandida. Estos materiales junto con las puzolanas son útiles para aumentar la aireación del sustrato, pero su densidad es inferior que la de la arena. Son pobres en nutrientes y su CIC y poder amortiguador son despreciables.
4. Vermiculita. Tiene una estructura apta para acumular y liberar grandes cantidades de agua, por lo que refuerza estas propiedades en la turba cuando se mezclan. Su reacción es neutra y tiene una CIC de 80 a 120 meq/l que disminuye las pérdidas de nutrientes por arrastre. El inconveniente principal de este material es su elevado costo y también su frágil estructura, que al destruirse pierde las cualidades físicas.
5. Perlita. Se emplea como mejorante de la estructura del sustrato. A diferencia de la vermiculita es totalmente inerte, tiene bajos CIC y poder amortiguador, así como escasa retención de agua. Proporciona aireación al medio de cultivo y mantiene su estructura inalterable. El pH es neutro, la densidad aparente es pequeña y es un buen estabilizador de la temperatura. Algunas posibles desventajas son el riesgo de toxicidad por Al en plántulas cuando el pH es bajo y la escasa capacidad de suministro de agua en condiciones de gran transpiración, lo que hace necesario el riego más frecuente.
Fig. 82. Propiedades físicas de los sustratos.
|
I, II |
: turbas rubias alemanas |
|
III |
: turbas rubias rusas |
|
IV |
: turbas rubias canadienses |
|
V, VI |
: turbas negras españolas |
|
CB |
: corteza de pino ("compost") |
|
LM |
: mantillo |
|
CO |
: corcho |
|
GM |
: orujo |
|
RS |
: cascarilla de arroz |
|
WW |
: residuos de lana |
|
VS |
: tierra volcánica |
|
PE |
: perlita |
|
V |
: vermiculita |
|
PX |
: poliestireno expandido |
(según PAGES M. y MATALLANA A., 1984, op. cit.)
C. Productos sintéticos
1. Poliestireno expandido. Llamado también "porexpan", es un material inerte de 4 a 12 mm de partícula, estable, de pH neutro, que mejora la aireación y el drenaje del sustrato. No retiene agua ni nutrientes, pero es ideal para plantas que necesitan buenas condiciones de aireación radicular.
2. Resina expandida de urea-formaldehido. Contiene N de liberación lenta, mejora el drenaje y retiene cierta cantidad de agua, pero puede tener efectos fitotóxicos.
Estos materiales sintéticos se agregan a las mezclas en proporciones normalmente no superiores al 30-50%.
Una norma básica para la preparación del sustrato, sobre todo si se necesitan cantidades grandes, es que la fórmula debe ser simple; el uso de muchos componentes aumenta los riesgos de una mezcla defectuosa, mal manipulada.
Como ya se ha expuesto, debe recordarse que las propiedades físicas de los sustratos difieren mucho entre ellos y la mejor manera de corregir las características desfavorables de cada uno es combinarlos. Por ejemplo, la capacidad de aireación deficiente de una turba negra muy descompuesta o de un suelo arcilloso que, por otro lado, tienen una capacidad de retención del agua apreciable, se puede corregir con materiales como la arena, el poliestireno, la perlita o la arcilla expandida, que tienen en común su buena aireación.
El uso de cal es adecuado para el ajuste del pH. Al mezclar la turba con otros materiales inertes se debe corregir el pH antes de la incorporación de la turba. Esta corrección debe hacerse además antes de la siembra o de la plantación. La proporción de cal a emplear depende de los niveles de pH inicial y final, de la CIC, ya que si es alta se necesitará más cal que si es baja para un mismo valor del pH, también depende del tipo de abono a emplear.
Una turba negra de alta CIC y de pH 4,5 necesita de 4 a 5 kg de cal por m3 para lograr un pH de 5,5. Una turba rubia de menor CIC y pH 3,5 necesita unos 3 kg de cal por m3 para conseguir un pH de 5,5.
La composición del sustrato cambia bastante según los materiales que se encuentren disponibles, las necesidades de los cultivos y el modo en que el sustrato vaya a ser utilizado. Cuando se preparan bloques prensados es mayor el riesgo de deshidratación y por ello la mezcla debe tener más capacidad de retención del agua que si se usan macetas de plástico, cuyas paredes son impermeables. Además los bloques necesitan tener cohesión suficiente para mantener su forma. Deben alcanzar un mínimo del 10% de aireación. Las mezclas de turba y arena no calcárea (75%% + 25% vol., ó 50% + 50% vol.) dan buenos resultados en el semillero y permiten hacer un buen control del riego. La arena es más barata que la turba. pero es pobre en nutrientes y debe preverse su suministro; por ejemplo con 780 g/m3 de superfosfato del 18% y 400 g/m3 de nitrato de potasa, además de hacer una corrección adecuada del pH. Otras mezclas útiles son, tierra 15% (vol.) + turba 50% + perlita 35% o turba 60 + arena 25% + tierra 15%, fertilizadas con 2 a 3 kg/m3 de un abono complejo (15-15-15).
La turba se sustituye a menudo por otros materiales orgánicos ya mencionados en el epígrafe 5.1.3.2. disponibles localmente. La figura 83 muestra información resumida sobre varias mezclas.
Fig. 83. Propiedades físicas de los sustratos compuestos.
|
A: |
75% turba + 25%% vermiculita |
|
B: |
75% turba + 25% perlita |
|
C: |
75% turba + 25% poliestireno |
|
D: |
50% turba + 50% vermiculita |
|
E: |
50% turba + 50% perlita |
|
F: |
50% turba + 50% mantillo |
|
G: |
25% turba + 75% vermiculita |
|
H: |
25% turba + 75% perlita |
|
I: |
25% turba + 75% poliestireno |
|
J: |
25% turba + 75% corteza de pino ("compost") |
|
K: |
50% turba + 25% vermiculita + 25% perlita |
|
L: |
50% corteza de pino (comp.) + 25% turba + 25% vermiculita |
|
M: |
50% corteza de pino (comp.) + 50% tierra volcánica |
|
N: |
50% corteza de pino (comp.) + 50% mantillo |
|
O: |
33% corteza de pino (comp.) + 33% turba + 33% mantillo |
|
P: |
bloque prensado pequeño 50% turba + 50% tierra |
|
IDEAL: |
sustrato ideal teórico |
(según PAGES M. y MANTALLANA A.,1984, op. cit.)
En muchas zonas hortícolas la fertilización se asociaba antaño con la incorporación de materia orgánica, normalmente estiércol de vacuno, al suelo. Estas aportaciones no se hacían únicamente con la intención de corregir las características físicas del terreno, sino también como una fuente de nutrientes. La mayor parte de los estiércoles son ricos en P y K y la mineralización de la materia orgánica, rápida a alta temperatura, puede proporcionar un suministro continuo de nitrógeno nítrico.
Sin embargo, la escasez de estiércol, los precios cada vez más altos y la contaminación de este material por semillas de adventicias, han contribuido a reducir su consumo. Simultáneamente, las nuevas tecnologías, como el riego y la fertilización por goteo, que suministra el agua y los nutrientes de forma casi continua, hacen que la importancia de la materia orgánica en el suelo sea menor y se considere solamente como un soporte del sistema radicular.
En el cultivo protegido el costo de los abonos es relativamente pequeño en comparación con el costo total de producción; la productividad es alta y las raíces utilizan sólo un volumen reducido de suelo. Por ello puede prescindirse del contenido de nutrientes del terreno y calcular el suministro de acuerdo con las necesidades de las plantas. Cuando no se dispone de información precisa sobre las necesidades de un cultivo concreto, es una buena base el empleo de la tabla de extracciones (Tabla 16) para calcular el equilibrio correcto NPK y las cantidades de abono a aplicar.
Tabla 16. Extracciones aproximadas de nutrientes por algunas hortalizas y ornamentales en cultivo protegido.
|
Cultivo |
Rendimiento t/ha |
Extracción en kg/ha de: |
||||
|
|
|
N |
P |
K |
Ca |
Mg |
|
Tomate |
80 |
250 |
34 |
420 |
220 |
40 |
|
Pimiento |
40 |
180 |
26 |
150 |
120 |
30 |
|
Berenjena |
50 |
250 |
17 |
250 |
110 |
15 |
|
Melón |
60 |
230 |
34 |
330 |
220 |
40 |
|
Pepino |
200 |
320 |
69 |
500 |
180 |
60 |
|
Calabacín |
40 |
170 |
30 |
324 |
- |
- |
|
Lechuga |
40 |
100 |
22 |
210 |
40 |
7 |
|
Judía |
45 |
150 |
6 |
50 |
20 |
4 |
|
Clavel |
1503 |
1200 |
130 |
910 |
- |
- |
|
Rosa |
803 |
150 |
13 |
83 |
- |
20 |
(3) Flores por m2
No es preciso modificar estos valores para rendimientos distintos. En realidad las hojas y las raíces absorben el mismo elemento, pero de un modo diferente.
Es interesante señalar algunos aspectos importantes:
1. La absorción de nutrientes varía durante el ciclo de cultivo, tanto en la cantidad como en el tipo de elementos minerales, por ejemplo, las plantas jóvenes tienen necesidades menores y normalmente prefieren relaciones N/K más altas; asimismo, después del trasplante las plantas responden bien al fósforo.
2. El clima puede influir el equilibrio de nutrientes. Por ejemplo, en invierno con escasez de luz, la relación N/K debe ser menor que en verano, con el fin de reducir el posible ahilamiento. Las temperaturas bajas del suelo inhiben la absorción de fósforo.
3. En general las plantas necesitan menos nutrientes, para un mismo rendimiento, bajo protección que al aire libre, porque hay una mayor absorción de minerales.
4. La absorción del fósforo depende de la temperatura del suelo, pero no es recomendable aumentar las dosis de P con el suelo frío, por ejemplo en la primavera; es más adecuado aumentar la temperatura del suelo antes de la plantación, por ejemplo mediante un acolchado una o dos semanas antes.
5. La absorción de un nutriente depende de su concentración en el suelo. Las plantas pueden absorber mayor cantidad de un elemento si su concentración en la solución del suelo es alta. Así, si las aplicaciones de N en lechuga sobrepasan los 200 kg/ha, el crecimiento no aumenta proporcionalmente, sino que lo que se incrementa es el contenido foliar de N, que por otro lado, puede ser negativo desde el punto de vista alimenticio para el consumidor.
6. El exceso de nutrientes puede ser perjudicial y producir toxicidad o crecimiento anómalo. Por ejemplo, un exceso de boro da como resultado la muerte de la planta, o un exceso de N puede causar un desarrollo demasiado abundante del follaje en detrimento de las flores o los frutos.
7. El aporte de nutrientes al suelo en las proporciones exactas necesarias para las plantas, no tiene por qué dar necesariamente buen resultado, debido a que pueden no ser todos ellos absorbidos del mismo modo. Por ejemplo, es normal aplicar más fósforo del que extraen las plantas.
8. El abonado debe ser proporcionado a la absorción por las plantas, para evitar antagonismos entre los elementos. Así, es bien conocido el efecto negativo sobre la absorción de magnesio debido a excesivas aplicaciones de potasio.
9. Cuando se emplea agua salina para el riego, su contenido de sales puede ser, en ciertas condiciones, importante para la nutrición de las plantas. Esto es importante sobre todo cuando el agua contiene excesos de calcio, magnesio, boro o azufre.
La absorción de minerales por la planta es difícil de regular debido a los muchos factores implicados; por ejemplo, el pH, la temperatura, la capacidad de intercambio, la salinidad, o el suministro de agua. Sin embargo, se pueden usar dos métodos para elaborar un programa de fertilización con precisión suficiente, uno es el análisis del suelo y otro el análisis foliar.
Si se efectúa un análisis del suelo, empleando agua en lugar de acetato amónico por ejemplo, se obtiene información sobre el contenido de nutrientes en la solución del suelo, pero no sobre la reserva de los mismos. Es posible, por lo tanto, hacer una estimación de las cantidades de nutrientes disponibles para las plantas.
Cuando se planta un nuevo cultivo, el suelo debe tener un contenido medio de nutrientes calculado por los métodos descritos. Además deben hacerse análisis del suelo periódicamente a lo largo del ciclo de cultivo.
También es posible comprobar el programa de fertilización averiguando el balance de nutrientes del suelo.
Si el contenido de ciertos minerales aumenta, debe reducirse su aportación y viceversa. De este modo, el suelo se considera como almacén de nutrientes cuyo nivel se debe mantener estable.
El análisis foliar es complementario del análisis del suelo, ya que comprueba la composición mineral de la planta y manifiesta qué nutrientes son absorbidos de los presentes en el suelo. Los patrones de contenidos minerales en las hojas no cambian mucho de una a otra zona, por lo que las cifras son válidas de modo general. Sin embargo, las cantidades de fertilizante a aplicar para obtener el nivel correcto en la hoja, pueden variar según las condiciones de cultivo. Por ello es necesario ajustar el programa de fertilización a cada cultivo y cada zona.
Cualquier valor que no haya sido comprobado por los métodos expuestos no es fiable. Esto puede ser una desventaja para las regiones en las que no se ejecutan programas de investigación y desarrollo.
Esto significa que es problemático para los horticultores el emplear recomendaciones de abonado basadas en análisis foliares hechos en otros países y no comprobados en el propio, o en condiciones climáticas y culturales equiparables.
En cultivo protegido es recomendable el uso de fertilizantes de alto contenido de nutrientes, con el fin de reducir las cantidades a aplicar y evitar riesgos de salinización o excesos de Cl.
Pero el uso de abonos de gran pureza no asegura el suministro de oligoelementos, por lo cual se deben hacer aplicaciones específicas de los mismos en caso necesario. El modo más práctico de hacerlo es por vía foliar, dado que su incorporación al suelo puede dar resultados inciertos, debido a los problemas de precipitación y de absorción.
Para los macronutrientes se pueden usar varios sistemas de aplicación. El método tradicional a voleo antes de la plantación, seguido de varias aplicaciones en cobertera, es incompatible con las técnicas de cultivo actuales y debe dejarse únicamente para el caso de riego por surcos. Si se dispone de riego por goteo, lo recomendable es el abonado líquido, también llamado fertirrigación o fertigación, que ahorra trabajo y facilita a las plantas el agua y los nutrientes de modo simultáneo.
Algunas ideas a tener en cuenta son:
a. El control de la salinidad del agua, en particular si el drenaje no es bueno;
b. La precipitación de fósforo si el agua es muy alcalina;
c. El uso de abonos solubles. Si no se dispone de formulaciones líquidas especiales, siempre es posible formular la solución correcta en NPK por medio de nitrato potásico, ácido fosfórico o fosfato amónico y urea de bajo biuret (urea con menos del 1% biuret).
Los abonos pueden suministrarse de modo continuo en el agua de riego o concentrarse al final del riego. Ambos métodos son factibles y su elección depende a veces del tipo de sistema de inyección empleado.
Desde el punto de vista de la acumulación de sales en el suelo, es mejor aplicar pequeñas concentraciones y frecuentes que grandes cantidades a intervalos largos.
Los abonos nitrogenados de liberación lenta son otra manera de aplicar el nitrógeno. Por este método se reducen las pérdidas de N por lavado y permanece disponible para el cultivo durante 2 a 3 meses. Debido al elevado coste, el empleo de este tipo de abonos queda reservado a cultivos de alto valor, tales como las plantas de interior.
El agua juega un papel importante para las plantas por sus efectos sobre fenómenos físicos diversos, como el transporte de nutrientes, la transpiración y la reducción de la temperatura de las hojas, el transporte de metabolitos, la fotosíntesis y la respiración. En efecto es un hecho conocido que cuando los estomas se cierran por un déficit hídrico, los intercambios gaseosos entre la hoja y el aire disminuyen. Se observa asímismo una estrecha relación entre la absorción de agua por la planta y el desarrollo de su biomasa. Por lo tanto, como conclusión práctica, se puede afirmar que la forma más sencilla de mejorar la productividad es proporcionar un aporte de agua en proporciones correctas.
Es precisamente en los cultivos protegidos donde se puede percibir mejor la importancia del aporte de agua por medio del riego, ya que la pluviometría es nula. Asímismo, al ser el invernadero un espacio cerrado, el propio sistema de riego tiene gran influencia sobre su clima, de tal modo que puede constituir uno de los métodos de regulación de la humedad del aire y de la temperatura del suelo. Por todo ello merecen una especial atención tanto la elección, como el manejo del sistema de riego.
Entre los numerosos sistemas practicados, los más corrientes son el riego por surcos, la aspersión y el riego localizado. La elección de un sistema no se basa únicamente en criterios técnicos o sociales, sino también en criterios económicos y en las condiciones exteriores a la explotación, como el suministro de electricidad, la disponibilidad de materiales, etc.
Este sistema tradicional, que se utiliza ampliamente en muchas regiones y sobre todo en pequeñas explotaciones familiares, tiene grandes defectos que invalidan la ventaja de su bajo coste:
- No proporciona un suministro de agua uniforme y constante.
- Tiene un rendimiento bajo (la relación entre el agua suministrada y el agua realmente aprovechada por las plantas es pequeña).
- En algunos casos eleva el nivel de humedad del aire en el invernadero por encima de los niveles adecuados.
- No permite la automatización ni la fertirrigación.
Hay varias maneras de mejorar esta técnica que deben tomarse en consideración:
- Cuando se dispone de una toma de riego en un extremo del campo, la conducción del agua hasta la parcela que se va a regar se puede hacer con la ayuda de una manga de polietileno negro de 0,40 mm de espesor de pared y de 15 a 20 cm de anchura aplastada, ya que sólo es necesario un nivel bajo de presión. Las mangas tienen la ventaja de que pueden enrollarse y trasladarse fácilmente, además de evitar importantes pérdidas de agua en la red de surcos. El costo de la manga es asímismo bajo.
- Las acequías principales pueden revestirse totalmente con lámina negra de PE de 0,20 mm de espesor, con el fin de evitar las pérdidas de agua y el desarrollo de malas hierbas. Se utiliza ésto sobre todo para las zonas de conexión de las acequias de distribución con los surcos a pie de plantas mediante sifones.
- Los surcos que hay entre las líneas de plantas de una parcela se pueden conectar directamente a la acequía principal situada a un nivel ligeramente superior, mediante sifones de 2,5 a 3 cm de diámetro. El número de ellos es proporcional a la longitud del surco para que el volumen de agua se reparta de forma homogénea, cada sifón debe estar lleno durante el mismo lapso de tiempo, lo que se consigue regulando el flujo de cada surco, el número correcto de sifones, así como con la longitud y la pendiente óptima de los surcos que debe ser del 0,5 al 1%.
Fig. 84. Acequia principal y sifones de alimentación de los surcos (TABRESSE et al. 1.980). (A)
Fig. 84. Acequia principal y sifones de alimentación de los surcos (TABRESSE et al. 1.980).(B)
- La infiltración lateral de agua se produce en suelos pesados pero no tanto en suelos arenosos o muy ligeros, por lo tanto los surcos deben estar más juntos en suelos ligeros que en suelos pesados.
- Es más, los surcos deben cavarse a poca distancia de las plantas cuando son jóvenes, para separarlas a medida que se hacen adultas.
La longitud de los surcos debe adaptarse a la naturaleza del suelo; se considera que la longitud mínima es de 30 m y la máxima 50 en suelos arenosos, que puede llegar a 100 m a medida que se trate de suelos más pesados.
Podemos distinguir entre riego por aspersión y riego localizado.
- Riego por aspersión
El riego por aspersión, que se realiza generalmente por medio de minipulverizadores o microaspersores se limita a:
* cultivos que no están alineados, en cuyo caso el número de plantas por unidad de superficie es alto, p.e. las lechugas;
* cultivos sensibles a la sequedad del aire, como son el pepino y la rosa y en general cuando el nivel de humedad atmosférica es bajo.
Los aspersores pueden colocarse suspendidos sobre las plantas o sobre el suelo. El primer sistema proporciona mejor humidificación, pero debe utilizarse agua muy pura para evitar manchas de sal en las hojas. Por lo general este sistema se utiliza como complemento del instalado sobre el suelo.
En la práctica este método demanda una presión de agua de aproximadamente 1 kg/cm2. Las instalaciones de riego por aspersión para cultivo de hortalizas al aire libre dan mejor resultado cuando son movibles. Los aspersores giratorios de media presión se montan sobre soportes movibles de pequeño tamaño. Sin embargo en los cultivos protegidos las instalaciones son fijas y por lo tanto más caras por unidad de superficie.
Es peligroso utilizar aspersión en invernadero en invierno y en primavera, ya que la pulverización de agua a temperatura relativamente baja produce daños fisiológicos, como es el caso de la caída de las flores en plantas exigentes en calor, por ejemplo el pimiento.
Entre los diferentes tipos de boquillas utilizadas en invernadero, las más frecuentes son las de plástico. Cada boquilla tiene su curva característica que indica la relación entre el caudal y la presión.
- Nebulización
Es un caso especial de aspersión a presión media que se utiliza en invernadero.
Su papel principal es regular la humedad de la atmósfera del invernadero y hasta cierta medida tambien ajustar la temperatura interior. Por lo tanto es un sustituto, aunque a veces sólo un complemento de la ventilación.
- Riego localizado
Es el sistema más extendido en cultivos protegidos por sus muchas y bien conocidas ventajas, tales como la posibilidad de automatización y fertirrigación, las pocas pérdidas por evaporación, etc. Dos de estas ventajas son especialmente importantes en las condiciones típicas del área mediterránea, aunque sólo en el caso de suelos bien drenados pueden materializarse:
* gran rendimiento, dado que en muchos casos es un problema fundamental la falta de agua y la automatización permite el suministro de pequeñas cantidades de forma ininterrumpida 24 horas al día, con menores pérdidas de agua.
* el riego contínuo es el único que permite el uso de agua salina si el terreno tiene buen drenaje, dado que con un ligero exceso de agua se mantiene la presión osmótica del suelo baja y uniforme. De este modo pueden lavarse por arrastre las sales acumuladas.
Existen muchos sistemas de riego localizado en el mercado y que se conocen por lo general también con el nombre de riego por goteo. Algunas marcas comerciales son (Netafim, Biwall, Key-clip, Vortex, Viaflo, RIS, Naan, etc). La descripción de estos sistemas así como la elección del más adecuado para cada condición específica, se sale de los objetivos del presente trabajo; de cualquier modo puede consultarse bibliografía especializada en el tema.
Sin embargo hay algunas consideraciones que pueden ayudar a utilizar estos sistemas de forma más eficaz:
- Uno de los problemas más corrientes del riego por goteo es la obstrucción de los goteros a causa del pequeño diámetro de los microporos por los que pasa el agua.
La frecuencia con que se obstruyen los goteros depende del propio sistema de riego, pero en cualquier caso es imprescindible la colocación de filtros apropiados. Para agua subterránea puede ser suficiente con un filtro de 120 a 150 mesh, pero si el agua proviene de un estanque abierto hay que utilizar además un filtro de arena para las algas. El empleo de filtros autolimpiables o de goteros de bajo costo que pueden cambiarse con frecuencia cuando se obstruyen, es un buen modo de evitar averias del sistema debidas a taponamientos.
Cuando se utiliza agua rica en sales solubles, por ejemplo bicarbonatos, la obstrucción puede producirse por la precipitación de sal en diversos puntos de la instalación y sobre todo en las salidas de los goteros. En este caso, se recomienda lavar el sistema de riego de vez en cuando con una solución ácida (pH=2)que disuelva los residuos sólidos.
- La distancia entre los goteros depende en gran medida de la textura del suelo. Cuanto más ligero sea el suelo, más juntos deben estar los goteros a lo largo del tubo. Lo más corriente cuando se trata de cultivos hortícolas bajo cubierta es una separación entre 40 y 50 cm; con ello conseguimos tener una banda de humedad continua a lo largo de la línea a menos que el suelo sea demasiado suelto. En el caso de suelos arenosos, muy sueltos, el agua no se desplaza lo bastante hacia los lados y por ello debemos disminuir la distancia entre goteros.
- Un buen sistema por goteo debe permitir una distribución uniforme del agua a lo largo de la línea, lo que significa que las primeras plantas no tienen por qué recibir más agua que las últimas.
- Asímismo el sistema debe ser de fácil montaje y desmontaje con el fin de poder trabajar el suelo al final del ciclo. Con algunas instalaciones es muy difícil enrollar los tubos y los goteros se estropean con facilidad cuando se procede a su traslado.
Los sistemas de riego por goteo han llegado a ser relativamente baratos y por ello constituyen una de las inversiones más rentables en cultivo protegido, lo que ha favorecido la expansión de su uso. Sin embargo en algunos países o regiones puede ser díficil obtener materiales importados o tener otras limitaciones por razones socio-económicas; en estos casos se recomienda elegir los sistemas más baratos aunque no sean los ideales, ya que ésto supone un gran avance respecto al sistema de riego por surco.
Al ser estos sistemas una verdadera alternativa en muchos casos para la región mediterránea, vamos a describir uno de ellos:
- Riego por manga perforada
- Se trata de una manga de PE negro de 0,15 mm de espesor y 6 cm de ancho cuando está plana, lo que corresponde a un diámetro real de 38 mm. Posee perforaciones muy finas realizadas con frecuencia mediante laser cada 20 cm, 4 perforaciones de 0,8 mm de diámetro, de las que dos se encuentran a 5 mm por encima del pliegue y otros dos por debajo.
- La presión óptima de agua que se necesita para un buen funcionamiento es de 25 a 100 g/cm2, lo que corresponde a un depósito situado dentro del invernadero si es posible y colocado a una altura de 25 a 100 cm sobre el nivel del suelo. Este tipo de instalación es perfectamente asequible a cualquier horticultor en un invernadero. El caudal por metro de manga va a depender de la presión existente en las perforaciones.
La tabla que viene a continuación muestra el caudal de 4 mangas por invernadero en función de su longitud y de la presión de trabajo.
Tabla 17. Caudal en litros por segundo de 4 mangas perforadas de PE en invernadero, en función de la longitud y la presión de trabajo (TABRESSE et al.).
|
Longitud del invernadero (m) |
Presión de trabajo (en m. de columna de agua) |
|
|
|
0,3 m |
0,4 m |
|
25 |
1,9 |
2,1 |
|
30 |
2,2 |
2,6 |
|
40 |
3,0 |
3,5 |
|
50 |
3,7 |
4,3 |
Se va a conseguir un buen reparto de agua en tanto en cuanto:
- La manga no se coloque sobre inclinaciones de más del. 1%.
- La manga no se coloque sobre una contrapendiente.
- La longitud del invernadero no sea superior a 40 m.
La descarga por las salidas de agua va a depender únicamente de la presión existente en las perforaciones; el agua se proyecta a 60 cm de la manga con una presión de 0,3 m de agua; 90 cm con una presión de 0,5 m y a 110 cm cuando la presión sea 0,7m.
La instalación de mangas perforadas es sencilla. Se necesita una conducción de distribución que sea por ejemplo en PVC rígido, equipada con uniones T que alimentan las mangas colocadas sobre el suelo en ángulo recto con la conducción principal. Las mangas van unidas a la tubería principal mediante manguitos o tubos de goma. Como es evidente cada manga da suministro a 2 filas de plantas.
Fig. 85. Conexión de las
mangas perforadas con la tubería principal y distribución en el
invernadero (TABRESSE et al.).
Con esta distribución conseguimos mantener varios pasillos del invernadero permanentemente secos, lo que nos facilita el acceso a las plantas para labores de mantenimiento y recolección.
A. El control de la salinidad del suelo
El control de la salinidad depende de la calidad del agua por una parte y del manejo del riego y el drenaje del suelo por otra. Para poder utilizar agua con un nivel relativamente alto de salinidad, es necesario mantener altos niveles de humedad en el terreno de modo que la presíón osmótica de la solución del suelo permanezca baja.
El modo de evitar un exceso de sal producido por la evaporación del agua o por la absorción de agua por parte de las plantas, consiste en la realización de lavados para arrastrar dichas sales; es por ésto por lo que deben realizarse riegos copiosos, superiores a las necesidades de las plantas, que garanticen el lavado del suelo.
En lo que respecta a la salinidad del suelo, la fertirrigación es preferible al uso de fertilizantes sólidos. Si se utilizan soluciones nutritivas de baja concentración con regularidad, la conductividad del suelo permanecerá a niveles más bajos que cuando se aportan grandes cantidades de fertilizantes sólidos en cada aplicación.
El aumento de sales en el suelo dificulta la absorción de agua por parte de las raíces. Sobre todo en condiciones de calor y sequedad y puede conducir a niveles de concentración de iones que resulten tóxicos para las plantas.
La tabla 18 muestra datos de tolerancia de hortalizas a la salinidad del suelo y en la fig. 86 aparecen índices de calidad del agua de riego.
Tabla 18. Tolerancia relativa a la salinidad de algunas hortalizas.
|
Hortalizas ordenadas en orden descendente de tolerancia a la salinidad |
CEe(mS/cm a 25ºC) para una producción potencial: |
||
|
|
100% |
90% |
75% |
|
Tomate |
2,5 |
3,5 |
5,0 |
|
Melón |
2,2 |
3,6 |
5,7 |
|
Pepino |
2,5 |
3,3 |
4,4 |
|
Pimiento |
1,5 |
2,2 |
3,3 |
|
Lechuga |
1,3 |
2,1 |
3,1 |
|
Judía Verde |
1,0 |
1,5 |
2,3 |
El diagrama de la Fig. 86 clasifica el agua de riego de acuerdo con su conductividad eléctrica en microsiemens por centímetro (riesgo de salinización) y con la relación de absorción de sodio (riesgo de alcalinización), según la fórmula:
5.3.2.-(1)
Todos los iones se expresan en miliequivalentes por litro.
Fig. 86 Diagrama para la
clasificación de las aguas de riego (RICHARDS L.A. et al. (1.954):
"Diagnosis and Improvement of Saline and Alkali Soils - USDA Hndbook nº
60).
Conductividad:
Agua de baja salinidad (C1), puede utilizarse con cualquier cultivo y en todos los suelos.
Agua de salinidad media (C2), puede utilizarse en todos los suelos, excepto en los de permeabilidad escasa y en cultivos de tolerancia moderada a la salinidad.
Agua de alta salinidad (C3), no puede utilizarse en suelos de escaso drenaje y en todo caso requiere una vigilancia especial de los niveles de salinidad. Solo debe emplearse en cultivos tolerantes.
Agua de muy alta salinidad (C4), no puede utilizarse para regar en condiciones normales, pero excepcionalmente puede utilizarse en condiciones específicas, como en terreno muy permeable y para cultivos muy tolerantes. En todo caso el riego debe ser excedentario para asegurar un lavado suficiente.
Sodio:
Agua de bajo contenido de sodio (S1), puede utilizarse para el riego en la mayoría de las condiciones.
Agua de contenido medio de sodio (S2), puede suponer riesgo de toxicidad en algunas condiciones, como por ejemplo suelos de textura fina de alta capacidad de cambio de bases.
Agua de alto contenido de sodio (S3), puede producir niveles perjudiciales de sodio de cambio en la mayoria de los suelos y requiere cuidados especiales de éstos, como un buen drenaje, lavado abundante y aporte de materia orgánica.
Agua de muy altos niveles de sodio (S4), no es aconsejable utilizarla para riego salvo en el caso de que posea niveles bajos o medios de salinidad (C1 a C2) y se aporte calcio o yeso al suelo.
Los problemas de salinidad pueden ser muy graves en cultivos protegidos. Considerando que la producción de la planta se relaciona directamente con el riego y que no se dispone de lavado de arrastre por lluvia, la consecuencia es que es muy difícil el manejo del agua para controlar la salinidad y el sodio de cambio.
B. El empleo del acolchado
La cobertura del suelo mediante una lámina plástica reduce o suprime la evaporación proveniente del suelo, que junto con la transpiración de las plantas constitutye el volumen total de agua perdida por evapotranspiración (ET).
Cuando el cultivo no cubre el suelo, por ejemplo inmediatamente después de la plantación de tomate, berenjena, pimiento, etc, esta técnica de cobertura del acolchado, es muy eficaz para reducir la ET dado que en estas condiciones la evaporación del suelo representa una parte importante de la evapotranspiración total. Cuando más adelante el cultivo está bien desarrollado y cubre casi todo el suelo, la evaporación procedente del mismo sólo representa una pequeña fracción de la ET, de tal forma que el acolchado pierde su eficacia en este sentido.
Por otro lado, el acolchado evita la acumulación de sales en la superficie del suelo. La conductividad del terreno se reduce y se puede utilizar agua con niveles de salinidad moderados para riego localizado.
C. Las necesidades de agua
Las necesidades de agua pueden calcularse de dos maneras diferentes:
- Midiendo el nivel de humedad del suelo, que orienta sobre la cantidad de humedad de que dispone la planta. Este dato puede obtenerse por distintos procedimientos, desde la estimación empírica hasta el uso de tensiómetros o electrodos.
- Calculando la disponibilidad de agua a partir de datos meteorológicos. Este procedimiento implica el cálculo de pérdidas por evaporación y por transpiración y es seguramente el mejor índice de necesidades de agua.
Aunque estas pérdidas están ligadas a un gran número de factores, en cultivos protegidos la radiación global es el fundamental, por ello este factor forma parte de diversas fórmulas.
Estudios realizados en Francia por el INRA y en concreto por de VILLELE han demostrado la validez de la siguiente fórmula para la zona sur del país:
5.5.2.-(2)
|
donde: |
ETP evapotranspiración potencial (mm/día) |
|
|
Rg = radiación global en invernadero, expresada en cal/cm2 |
|
|
60 = calor latente de vaporización del agua (cal.) |
No obstante para la aplicación de esta fórmula en la zona Mediterránea, necesita adaptaciones para otros países o incluso otras regiones. Así VERLODT y VANDEVELDE en Túnez, consideran que se sobreestiman las necesidades de agua debido a los valores de radiación global.
Como la evapotranspiración real ETR no es más que una parte de la evapotranspiración potencial ETP, que varía en función del cultivo y de su estado de crecimiento, debe aplicarse un factor de corrección (K):

5.3.2.-(3)
A partir de las tablas 19 y 20 se puede calcular las necesidades diarias de agua, multiplicando K por el valor correcto de ETP.
Tabla 19. Ejemplos de valores.
|
Cultivos |
K |
|
Tomate |
0,7-1,2 |
|
Melón |
0,6-1,0 |
|
Lechuga |
0,9-1,2 |
|
Clavel |
0,6-1,2 |
|
Rosa |
0,8-1,0 |
Tabla 20. Evapotranspiración potencial en un invernadero de plástico en Sousse (35º 50'Lat.N) calculada mediante la fórmula de Villele.
|
Mes |
Evapotranspiración (mm/día) para cielo: |
|||
|
|
CLARO |
ALGO NUBOSO |
NUBOSO |
CUBIERTO |
|
Enero |
2,3 |
1,9 |
1,3 |
0,8 |
|
Febrero |
3,0 |
2,5 |
1,8 |
1,1 |
|
Marzo |
4,0 |
3,3 |
2,3 |
1,5 |
|
Abril |
4,9 |
4,2 |
3,0 |
1,9 |
|
Mayo |
5,6 |
4,8 |
3,4 |
2,2 |
|
Junio |
5,9 |
5,0 |
3,5 |
2,3 |
|
Julio |
5,8 |
5,0 |
3,5 |
2,3 |
|
Agosto |
5,2 |
4,5 |
3,1 |
2,0 |
|
Septiembre |
4,3 |
3,7 |
2,6 |
1,7 |
|
Octubre |
3,3 |
2,8 |
2,0 |
1,2 |
|
Noviembre |
2,4 |
2,0 |
1,4 |
0,9 |
|
Diciembre |
2,0 |
1,7 |
1,2 |
0,7 |
D. La frecuencia y duración del riego
La frecuencia de riego depende principalmente del sistema utilizado y de la capacidad de retención de agua del suelo. La cantidad de agua que ha de aportar cada riego, resulta del producto del número de días de intervalo entre dos riegos por las necesidades diarias de agua.
Los riegos poco abundantes y frecuentes favorecen el desarrollo de sistemas de raices poco extendidos y superficiales que tienen gran capacidad de absorción de agua y nutrientes. Sin ambargo ésto hace que el cultivo sea muy sensible a la sequía, ya que el volumen de suelo utilizado es pequeño y la reserva de agua mínima. No hay que olvidar que cuanto más preciso y eficaz sea un sistema de riego, mayor es la dependencia de las plantas de su correcto funcionamiento.
Por último, hay que tener presente el riesgo que corren las plantas que están sometidas a periodos alternos de humedad y sequedad; el agua debe ser suministrada con frecuencia y en pequeñas dosis.
A pesar de lo extenso del tema relacionado con la protección vegetal, aquí unicamente se van a tratar los aspectos específicos en relación con los cultivos protegidos y en particular la influencia que el medio ambiente puede tener sobre el control de las enfermedades.
Las enfermedades del suelo son un problema fundamental que afecta a muchos cultivos, por ejemplo Fusarium oxysporum. que producen daños al clavel al melón y a muchos otros cultivos. La infección del suelo puede ser debida a distintas causas:
a) Falta de rotación de cultivos; con frecuencia problemas de rentabilidad, obligan a repetir siempre el mismo cultivo.
b) Introducción de la enfermedad con material vegetal aparentemente sano, portador de los patógenos.
c) Calendarios de cultivo intensivo que hacen que la tierra esté permanentemente ocupada.
d) Los niveles de humedad del suelo y la temperatura del mismo que favorecen el desarrollo de hongos y nemátodos.
Un suelo infectado es una limitación muy importante para muchos cultivos.
A. La desinfección del terreno
La desinfección del suelo es el método más corriente de resolver problemas sanitarios. Ningún sistema permite una esterilización completa en todo el suelo disponible. El mejor fumigante debería eliminar los microorganismos patógenos y conservar los microbios útiles como son las bacterias nitrificantes o microorganismos antagonistas de los patógenos.
Sin embargo un suelo desinfectado es susceptible de nuevas infestaciones provenientes de contaminación del aire, de capas más profundas del terreno, de plantas, de semillas. El problemas es que estas nuevas infestaciones conocidas como efecto "boomerang", son más graves ya que la microflora del suelo desinfectado no está equilibrada con agentes antagonistas y los patógenos pueden desarrollarse con mayor rapidez.
La desinfección por vapor es un sistema tradicional. Es muy efectiva y de amplio espectro pero cara por el consumo de carburantes y requiere el uso de calderas que no se encuentran disponibles en la mayoría de invernaderos de la región mediterránea. El encarecimiento del gasóleo fomentó, desde la crisis del petróleo de los años 70, el uso de fumigantes químicos de los que hay muchas fórmulas en forma sólida, líquida o gaseosa. Estos productos tienen distintos niveles de toxicidad y cada uno tiene una gama de aplicación específica. Debe elegirse cada sustancia determinada en función de la enfermedad a tratar y el tipo de suelo o sustrato objeto de desinfestación.
La tabla 21 resume la eficacia de varias materias activas.
Los fumigantes del suelo no son completamente efectivos en el control de las enfermedades; su eficacia depende de la temperatura del suelo, de su textura y del contenido del agua, así como tambien del método de aplicación aplicación, concentración y tiempo de exposición al fumigante. Para mejorar la penetración y reducir las pérdidas de gas es conveniente cubrir el suelo con una lámina de PE antes o durante el tratamiento.
El bromuro de metilo es uno de los productos más eficaces, y de mayor espectro de acción, tal como aparece en la Tabla 21. Debido a su toxicidad sólo puede ser empleado por personal calificado. Sin embargo por su volatilidad, poder de penetración y facilidad de aplicación es el producto preferido para la mayoría de las desinfestaciones del suelo. Su uso fue prohibido en lugares con alto riesgo de contaminación de acuíferos superficiales como en Holanda y desde 1992 está en la lista de sustancias a prohibir como responsables de la destrucción de la capa de ozono. El calendario aprobado por Naciones Unidas establece su eliminación a partir del 31 de diciembre de 2004. Excepto para cuarentena y preembarque y para aquellos usos que sean declarados como críticos.
Tabla 21. Eficacia y grado de penetración de varios fumigantes para el suelo (-efecto nulo o desconocido; eficacia de x a xxx).
|
Sustancia activa |
Herbicida |
Fungicida |
Nematicida |
Penetración |
|
1,3-Dicloropropeno (Dic) |
- |
x- |
xxx |
x |
|
Cloropricina (Pic) |
x |
xxx |
x |
xx |
|
Mezclas Dic+Pic |
xx |
xxx |
xxx |
xx |
|
Bromuro de metilo |
xxx |
xxx |
xxx |
xxx |
|
Ditiocarbamato de sodio |
x |
xxx |
xx |
x |
|
Dazomet |
xx |
xx |
x |
x |
B. Desinfección por energía solar
La desinfección solar del suelo, conocida como solarización, es un método activo contra numerosos parásitos, malas hierbas y determinadas enfermedades, sin recurrir al uso de productos químicos. Se basa en la utilización de la energía solar para elevar la temperatura del suelo, que se cubre de lámina plástica transparente durante el periodo más caluroso del año. Este aumento de temperatura se produce gracias al alto grado de transmisión de la radiación solar del plástico y por la disminución de pérdidas debidas a convección y evaporación. Esta técnica permite destruir un gran número de parásitos y conlleva además cambios en el suelo de tipo biológico, físico y químico, lo que la convierte en un medio de lucha integrada y polivalente.
La técnica es relativamente barata y no entraña ningún riesgo para el hombre u otros seres vivos.
Epoca de aplicación.- Cuando los días son largos y soleados, la temperatura elevada y el viento en calma. En el Mediterráneo estas condiciones se producen en el verano.
Materiales.- Polietileno transparente de 25 a 100 micras de espesor. Cuando el mismo plástico se va a dejar en el suelo para que sirva de acolchado al cultivo deberá utilizarse un plástico más grueso. En la tabla de costos que aparece más adelante se considera que el plástico va a ser utilizado una sola vez y para uso exclusivo de solarización.
Preparación del suelo.- Se realizarán labores de cultivador de discos y fresado para conseguir una superficie plana y regular que asegure la penetración del agua. Debe darse un buen riego antes de cubrir el suelo total o parcialmente con el plástico. La cobertura parcial del terreno resta eficacia al tratamientos. Los bordes del plástico deben quedar bien y firmemente enterrados.
Duración del tratamiento.- De 4 a 6 semanas.
Efectos.- Las temperaturas más altas se obtienen en invernaderos herméticamente cerrados en los que el suelo está cubierto con película plástica de acolchado. En la región de mediterránea (España), la temperatura que alcanza el suelo en un invernadero cerrado, en el que el suelo no esté cubierto por plástico, es similar a la del suelo cubierto de plástico al aire libre. En general las temperaturas desde la superficie hasta una profundidad de 40 cm. se situan entre los 35 y 60º C.
El método es eficaz contra patógenos tales como Verticillium dahliae, Rhizoctonia solani, Fusarium oxysporum, Meloidogyne spp. etc. y tambien contra diversos insectos y malas hierbas.
Tabla 22. Costos de diferentes tratamientos de desinfección del suelo en la costa mediterránea (España).
|
Método |
euros/10 m2 |
Costos Relativos |
|
Bromuro de metilo |
4.57 |
100 |
|
Metam -Sodio |
2.95 |
64.5 |
|
Dicloropropeno + Cloropicrina |
3.18 |
69.6 |
|
Dazomet |
3.95 |
86.4 |
|
Solarización (con 5Kg de estiercol/m2) |
2.82 |
61.7 |
C. Alternativas a la desinfección del suelo
Existen otros medios de prevenir las infecciones del suelo:
- El cultivo hidropónico o sin suelo que se presenta bajo diferentes formas como lana de roca, flujo laminar N.F.T. sacos de turba, perlita etc. Estos métodos requieren una tecnología avanzada de riego y fertilización que en algunas regiones mediterráneas se está difundiendo con rapidez, con ciertas adaptaciones a las condiciones locales.
- Uso de cultivares resistentes que existen ya en algunos cultivos para las principales enfermedades del suelo, por ejemplo los del tomate que resisten a Fusarium, Verticillium y a los nemátodos. Se espera que en un futuro próximo sean más numerosos por los avances en la selección de plantas.
- El traslado de los invernaderos, cuando hay abundancia de terreno, es un método eficaz que exige que los invernaderos puedan desmontarse con facilidad. A veces incluso es preferible trasladar un invernadero en vez de desinfectar el suelo por un metodo costoso y sin garantía total de éxito. Es una opción empleada por algunos productores de clavel afectados por Fusariosis.
- El injerto sobre patrón resistente se usa cuando no se dispone de cultivares resistentes. Este es el caso de Benincasa que puede usarse como pie del melón en suelos infectados de Fusarium.
Los distintos cultivares de tomate presentan por lo general, afinidad suficiente con los híbridos K.V.F.N. creados a partir de varios Lycopersicum y son bastante resistentes a Pyrenochaeta ("corky root") (K), Verticillium (V), Fusarium (F) y a los nemátodos (N).
La berenjena puede injertarse sobre el mismo patrón K.V.F.N. o sobre variedades de tomate resistentes (Verticillium) o sobre otras especies de Solanum como S.torvum, S.integrifolium o incluso sobre S.melongena, para conseguir resistencia al Pseudomonas solanacearum. El injerto mejor aceptado es el de la sandia sobre híbridos de calabaza el cual se utiliza ampliamente en la region.
El ambiente de invernadero con niveles altos de humedad y temperatura proporciona un medio muy adecuado para el desarrollo de hongos, que suponen una amenaza constante para los cultivos protegidos.
La mayoría de los que atacan a las partes aéreas de las plantas pueden ser combatidos con los fungicidas que van aumentando de día en día su eficacia y especificidad.
No obstante, hay que tener presentes los aspectos negativos que conlleva su uso:
a) La resistencia de ciertos hongos a los fungicidas sistémicos, por ejemplo de Botrytis al benomilo.
b) El aumento de precio de los fungicidas y del costo de sus aplicaciones.
c) Los excesos de concentración de residuos que quedan en la planta cuando han sido necesarios muchos tratamientos.
Por ello, conviene utilizarlos combinados con otros métodos de modo que se aumente su eficacia y se consiga un uso más moderado.
Lo más importante es evitar que se creen condiciones favorables de crecimiento para los hongos, mediante el uso de cultivares resistentes y modificando el clima para que sea adverso para su desarrollo. Esto último no es fácil porque las condiciones ambientales adecuadas a los hongos son muy diversas. Algunos necesitan películas de humedad donde germinan sus esporas (el mildio y la antracnosis); otros sólo necesitan alta humedad del aire (Cladosporium y roya); otros se desarrollan bien en ambiente cálido y bastante seco (Oidio). Stemphylium, Septoria y Alternaria pueden darse con temperaturas relativamente bajas. Si combinamos estas condiciones con las diferentes suceptibilidades de las plantas, vemos que las situaciones patógenas son numerosísimas.
En la zona mediterránea, un invernadero sin calefacción en el que tanto la humedad nocturna como la temperatura diurna sean elevadas, ofrece las condiciones ideales de desarrollo para los hongos. El mejor modo de contrarrestar esta situación es reducir la humedad del aire, pero ésto tiene su dificultad si no se cuenta con calefacción. No obstante, algunas veces, la ventilación puede reducir la condensación. Es muy importante que las plantas estén secas por la mañana para evitar la combinación de humedad con alta temperatura, que favorece el desarrollo rápido de los hongos. Cuando los invernaderos están bien ventilados se reducen enfermedades por Botrytis y Phytophthora.
Hay diferentes procedimientos para reducir la humedad del aire:
a) Para reducir la evaporación es útil acolchar el suelo con plástico y usar riego localizado.
b) Aumentar la circulación del aire eliminando las hojas de la parte baja de la planta, o disminuyendo la densidad de plantación y mejorando el diseño del invernadero.
c) Reducir la condensación mediante el uso de doble cubierta o bien ventilando al atardecer para bajar el nivel de humedad absoluta del aire.
No obstante, la aplicación de estos métodos requiere especial cuidado, ya que un descenso drástico de la humedad en las horas de sol puede provocar un cierre de estomas y que las plantas se marchiten. La ventilación es muy útil incluso cerca del punto de saturación, ya que el movimiento del aire sobre las hojas elimina la humedad de su superficie y el riesgo de germinación de esporas que necesitan agua en forma líquida.
Hay otros aspectos que deben tenerse en cuenta:
a) Eliminar las malas hierbas, que dificultan la ventilación y aumentan la humedad en las capas bajas de aire.
b) Eliminar residuos vegetales, por ejemplo las hojas cortadas que con mucha frecuencia son fuente de contaminación.
c) Evitar hacer heridas en las plantas, ya que éste es el medio de penetración más fácil para los hongos.
De un modo muy general podemos dividir los fungicidas en dos grupos, de contacto y sistémicos.
Los de contacto protegen la superficie de la planta impidiendo que las esporas germinen. Son productos que pueden ser lavados por la lluvia y no protegen las hojas y tallos que no recibieron pulverización. La lluvia no es un problema en invernadero, pero como las plantas crecen muy rápidamente necesitan ser pulverizadas con mucha regularidad para proteger los brotes nuevos.
La nueva generación de fungicidas sistémicos no presenta estos inconvenientes, ya que circulan en la savia protegiendo la planta entera y pudiendo destruir los hongos incluso después de la infección. No obstante, es más rápida la resistencia a estos fungicidas que a los de contacto. Se aplican con menos frecuencia que los otros fungicidas y a veces incluso después de los primeros síntomas; por ello resultan menos costosos y requieren menos mano de obra. La mayor parte de los productos comerciales asocian fungicidas sistémicos con fungicidas de contacto, para aumentar el aspecto de acción y disminuir los problemas de resistencia.
Son un tipo de enfermedad con características especiales. Las enfermedades víricas son específicas, los virus y desde el momento en que se instalan en la planta, ya no la abandonan jamás.
La infección vírica se transmite de distintas formas:
a) Por medios mecánicos en la poda, por el contacto de las manos, etc. cuando se trata de virus muy estables, como el mosaico del tabaco.
b) Por los insectos, es el caso más frecuente.
c) Por las semillas; no es frecuente y es el caso por ejemplo de los mosaicos de la lechuga y del tabaco.
d) Por los patrones infectados (es el caso del PNRSV en el rosal.
e) Por los patógenos del suelo, bien a través de nemátodos, por ejemplo, el virus de las manchas en anillo del tomate (TRSV) y el mosaico del tabaco, o bien por hongos, generalmente ficomicetos, como ocurre con el virus de las nervaduras gruesas de la lechuga (LBV).
En la actualidad los virus son la dificultad más grave, desde el punto de vista patológico, que afecta a la horticultura mediterránea. Los métodos de diagnosis han avanzado recientemente de modo notable gracias al desarrollo de técnicas tales como ELISA, inmunofluorescencia y otros y permiten la identificación del virus con mayor rigor ya que los síntomas que muestra la planta afectada, mosaicos, amarilleamiento, enrollado y rizadura de hojas, son muy variables según el huésped, el virus y las condiciones ambientales.
Una vez que la infección se ha producido, no hay ningún medio de eliminarla, por ello se insiste por un lado en la prevención mediante el uso de plantas madre sanas certificadas sanitariamente para multiplicación vegetativa y de semillas de sanidad garantizada y por otro en la reducción de los focos de infección eliminando las plantas infectadas así como las adventicias que pueden ser fuente de infecciones y controlando los vectores, pulgones, trips principalmente. En algunos casos puede ser interesante la colocación de barreras que impidan la entrada de los insectos protegiendo las aberturas de los invernaderos y los cultivos con mallas antipulgón, antitrips, o con cubiertas flotantes.
Otra solución práctica consiste en inocular las plantas con razas del virus debilitadas, técnica conocida como "vacunación", que era usual para proteger al tomate del virus del mosaico del tabaco (TMV), cuando no existían cultivares resistentes.
Las bacterias mas peligrosas para los cultivos son: Clavibacter (Corynebacterium), Pseudomonas, Erwinia, Xanthomonas y Agrobacterium. Su comportamiento fisiológico en las plantas es parecido al de los hongos pero son menos afectadas por las condiciones del ambiente.
Dado que no existen bactericidas eficaces, que los antibióticos no pueden emplearse en cultivos para fines alimenticios y que el cobre no siempre da resultado, la única solución es el tratamiento preventivo. Algunas bacterias se transmiten por semilla, Clavibacter, otras sobreviven en el suelo. La mayoría son muy sensibles al calor y mueren a temperaturas bastante bajas (60º C), por lo tanto la desinfección del suelo por vapor es muy eficaz.
El uso de semillas libres de bacterias producidas por ejemplo en suelos no infectados y tratadas por fluorescencia, nos proporcionan una mínima garantía en las primeras fases del cultivo. Posteriormente, debe recurrirse a técnicas que contribuyan al desarrollo de un follaje resistente y evitar estrés hídrico además de dar tratamientos con cobre.
Los insectos constituyen un problema importante para el cultivo protegido, más por su actuación como transmisores de enfermedades viróticas que por sus propios efectos dañinos, ya que en general éstos se resuelven eficazmente con insecticidas.
En algunos casos los insectos pueden resultar difíciles de controlar, bien porque han desarrollado resistencia a los insecticidas o por la imposibilidad de aplicar los tratamientos en el momento oportuno debido a problemas de toxicidad, por ejemplo durante las recolecciones. Generalmente, con un programa cuidadoso de tratamientos y alternancia de materias activas, se consigue un control suficiente. Los casos más graves los constituyen los ataques de trips, mosca blanca y pulgones, que amenazan con transmitir enfermedades graves y que, en particular en el caso de los trips, son difíciles de eliminar. Ante una situación de este tipo se puede recurrir a la protección de las aberturas de los invernaderos con mallas especiales, como se ha citado anteriormente, teniendo sin embargo presente que el empleo de esta solución producirá reducciones notables de la aireación del invernadero y que deberá buscarse soluciones para compensar esta disminución, por ejemplo aumentando la superficie de ventilación de la cubierta.
La mejor solución contra las enfermedades son los cultivares resistentes. El carácter de resistencia es en la actualidad un criterio de selección más rentable que el de rendimiento potencial. Aún cuando todavía falta mucho para poder disponer de plantas totalmente libres de enfermedades, el mercado ofrece ya en la actualidad hortalizas y flores con características de resistencia interesantes. La mayoría son resistentes a virus, nemátodos y hongos incluidos algunos hongos del suelo como Fusarium spp. y Verticillium spp.
Los plaguicidas se emplean del mismo modo que al aire libre:
- La pulverización es muy empleada pero requiere equipos especiales.
- La nebulización consiste en la aplicación del plaguicida en forma de niebla. Se emplea una máquina portátil que produce una niebla de microgotas que tienen un gran poder de penetración. Este sistema se recomienda sobre todo para aplicar insecticidas en espacios cerrados, aunque también da buenos resultados para aplicar fungicidas. Se emplean concentraciones de ultrabajo volumen lo que hace que los tratamientos sean fáciles y rápidos sin la necesidad de rellenar constantemente el depósito.
- La aplicación al suelo de insecticidas sólidos que se absorben por las raices y dan a la planta una protección duradera. El más conocido es el Aldicarb que se emplea para cultivos ornamentales especialmente. Es eficaz contra ácaros, pulgones y cochinillas hasta por lo menos tres meses después de su aplicación al suelo. No puede emplearse en cultivos herbáceos comestibles a causa de su toxicidad.
Los gastos de protección sanitaria en cultivos protegidos suponen una fracción relativamente pequeña del costo de producción. Pero debido al alto valor de las producciones y a la necesidad de un perfectro control sanitario, el valor absoluto es muy elevado si se compara con la protección de los cultivos al aire libre.
Se debe insistir en que siempre que sea posible hay que recurrrir a la lucha biológica. En este método el control de las plagas se realiza mediante el empleo de predatores específicos que actúan como parásitos de las plagas a eliminar. La lucha biológica casi siempre forma parte de un concepto más amplio llamado lucha integrada, que implica el empleo de productos de baja toxicidad con el objetivo de reducir los residuos de plaguicidas, respetar los insectos útiles y proteger el medio ambiente.
En el caso de una infección grave o de un ataque masivo de un patógeno, se aconseja al horticultor hacer un tratamiento químico antes de introducir "auxiliares específicos".
La lucha biológica se ha extendido con rapidez en las regiones del norte de la cuenca mediterránea (Francia, Italia, etc.) que poseen el nivel de infraestructura necesaria para el uso de dichos auxiliares específicos, por ejemplo:
- Phytoseiulus persimilis y también de Neoseiulus californicus (sin. Amblyseius californicus) ácaros depredadores de Tetranychus urticae;
- Encarsia formosa un himenóptero que parasita a la mosca blanca; Trialeurodes vaporariorum. Encarsia no ataca parasita a otras especies de mosca blanca como Bemisia tabaci; el hongo Verticillium lecamii es así mismo utilizable para mosca blanca y pulgones.
- Aphidium matricariae que mantiene bajo control las colonias del pulgón Myzus persicae; así como también Aphidoletes aphidimyza es un predador eficaz.
Esta a punto de ser comercializada en Europa la lucha biológica contra otros pulgones, mediante predatores específicos como algunas mariquitas o contra diferentes nemátodos por medio de hongos nematófagos (Arthrobotrys irregularis y otros).
Dos himenópteros, Diglyphus isaea y Dacnusa sibirica son activos contra minadores (Liriomyza spp.). Para el control de trips se dispone de Amblyseius cucumeris, Orius insidiosus y O. albidipennis.
En esta misma línea se puede citar el control de algunas virosis por vacunación (preinmunización), como se ha indicado anteriormente, así como tambien por el empleo de microbios antagonistas como Trichoderma viridis etc.
Se ha encontrado que algunos suelos tienen un efecto inhibidor para el desarrollo de determinados hongos (Rhizoctonia solani, Fusarium oxysporum, Pythium spp). La mezcla de este tipo de suelos con los sustratos orgánicos utilizados en el cultivo protegido en una proporción del 5 al 10% permite inducir una inmunidad a corto plazo y una menor receptividad a medio y largo plazo. Esta técnica se está desarrolando en el INRA para el cultivo del clavel.
La lucha contra las malas hierbas es más fácil en cultivo protegido que en cultivo al aire libre, especialmente cuando se utilizan técnicas como el acolchado y el riego localizado. Además actualmente se dispone de productos químicos relativamente eficaces, que permiten reducir el desarrollo de malas hierbas. El tipo de suelo desempeña un papel importante ya que las malas hierbas se desarrollan menos en suelos arenosos o de desierto pobres en materia orgánica, que en suelos más ricos y pesados.
Antes de construir invernaderos en suelos infectados por plantas vivaces (Oxalis sp., Cynodon dactylon, Cyperus rotundus) debe llevarse a cabo una buena desinfección. Los tratamientos a base de glyphosato dan buenos resultados aplicados durante la fase de principio de la floración y acompañados por un riego abundante que asegure el transporte de este herbicida sistémico.
La producción en viveros o semilleros presenta menos problemas, gracias al uso de macetas y de cepellones en los que se utiliza exclusivamente sustratos desinfectados. Sin embargo en los países del norte de Africa todavía se transplantan las solanáceas a raíz desnuda, lo que hace necesaria la prevención de adventicias en los semilleros.
En el caso del cultivo del tomate los tratamientos con metribuzina a 250 g/ha resultan más selectivos cuando se aplican antes de la siembra que en preemergencia. La combinación de diphenamida (3000 g/ha) o de butralina (1500 g/ha) con 150 a 200 g/ha de metribuzina, amplía el espectro de acción y mejora la selectividad.
En el cultivo del pimiento han demostrado eficacia los tratamientos en preemergencia con diphenamida (5000 g/ha), butralina (2500 g/ha) o la combinación de diphenamida (2500 g/ha) con butralina (1250 g/ha).
En cultivo de tomate en invernadero, se puede conseguir un buen control con la mezcla de metribuzina (350-400 g/ha) y diphenamida (3000 g/ha) o de metribuzina (350-400 g/ha) con butralina (1500 g/ha); estos tratamientos no son peligrosos para el cultivo. La combinación de un tratamiento de preplantación con metribuzina (500 g/ha) o con metribuzina (350 g/ha) y alachlor (1000 g/ha) o tambien con metribuzina (350 g/ha) y diphenamida (3000 g/ha) seguido de un tratamiento de postransplante con metribuzina (350-400 g/ha), ofrecen una protección de mayor duración.
En túneles pequeños pueden ser aplicados tratamientos semejantes.
El aumento de la temperatura que se produce bajo acolchado plástico transparente estimula la aparición de malas hierbas. Los herbicidas aplicados antes de la colocación del acolchado no tienen acción selectiva en el caso de siembra directa; por lo tanto solamente las parcelas destinadas al transplante se pueden tratar antes de la plantación. Los mejores resultados se obtienen con aplicaciones previas al acolchado a base de metribuzina (400-500 g/ha), metribuzina (300 g/ha) combinada con diphenamida (300 g/ ha) o con metribuzina (300 g/ha) mezclada con butralina (1500 g/ha).
Concentraciones más elevadas de butralina son tóxicas.
Los cultivos de melón se pueden tratar con dipropretyn (2500-3500 g/ha). Sin embargo se consiguen mejores resultados con las mezclas siguientes:
chlorthal-dimethyl + dipropretyn (3750 g + 1250 g/ha).
chlorthal-dimethyl + naphtalam (3750 g + 2000 g/ha).
naphtalam + dipropretyn (2500 g + 1250 g/ha).
chlorthal-dimetyl + assulam Na (3750-5000 g/ha + 2500 g/ha).
dipropretyn + assulam Na (1250 g + 2000 g/ha).
Sólo es necesario añadir assulam-Na cuando haya compuestas o Urtica repens.
Hay que tener en cuenta que cuando se trate de invernaderos o túneles pequeños en los que se haya colocado acolchado de plástico transparente, hay que reducir las dosis, ya que en estas condiciones los herbicidas son más activos y poseen efectos más agresivos sobre los cultivos.
Los cultivos de pimiento necesitan un tratamiento muy específico, debido a la lentitud de crecimiento de esta planta en los primeros meses, unida a la longitud del ciclo de crecimiento de las variedades más comúnmente cultivadas. Por tanto es necesario utilizar herbicidas persistentes, como son las mezclas que tengan por base 1500 g/ha de alachlor a las que se añade 3000 g/ha de diphenamida ó 2000 g/ha de butraline o incluso 1000 g/g/ha de pendimethaline que resultan muy efectivas en preplantación.
Tambien dá buenos resultados la mezcla de diphenamida 3000 g/ha y de butralina (2000 g/ha).
Por último destacar que el uso de diphenamida como tratamiento postrasplante, tras una labor de escarda permite alargar el periodo de protección contra las malas hierbas hasta el momento de la recolección.
Cuando se trata de hacer más rentable una explotación hortícola, además de preocuparse por hacer más fáciles los trabajos, debe procederse a realizar una buena planificación, atendiendo también a un uso eficaz de la maquinaria disponible.
Toda explotación hortícola de cultivo protegido debe disponer de:
- Un acceso fácil a los invernaderos, además de un circuito que permita sacar los productos con rapidez. No hay que olvidar que el horticultor es sobre todo un "transportador", de modo que cuando los invernaderos son de grandes dimensiones, hay que prever un pasillo central de cemento si es posible. Asímismo las puertas deben ser lo bastante anchas, con cerraduras simples que puedan abrirse desde el interior y desde el exterior.
Fig. 87. Disposición
general de los invernaderos.
- Un almacén para los abonos, la maquinaria y los productos fitosanitarios.
- Una nave para la manufactura y empaquetado del producto, en el caso de que estas operaciones sean realizadas por el horticultor.
- Otra nave para los equipos de fumigación, riego y fertilización.
- Conexión con las redes eléctrica y telefónica.
Todo este trabajo se realizaba antaño a mano o con animales de tiro. Hay en día se utilizan máquinas pequeñas adaptadas a las reducidas dimensiones de los invernaderos. Entre ellas la motobinadora o mula mecánica y sobre todo los motocultores cuya potencia puede variar de 2 a 12 CV y permiten que se les adapte una amplia gama de aperos como arados, fresas o remolques. Desde hace poco se viene incrementando el uso de tractores pequeños de potencia entre 8 y 20 CV. En el caso de los invernaderos son preferibles los tipos articulados con tracción a las cuatro ruedas y ángulo de giro muy pequeño.
Una instalación mínima comprenderá una bomba de presión para el sistema de filtros y para la fertirrigación, un depósito y un sistema de inyectores.
Por lo general el motor es eléctrico, pero si ésto no fuera posible puede usarse uno de gasolina o diesel.
Los filtros de arena eliminan las partículas de mayor tamaño y su limpieza se realiza invirtiendo la circulación del agua. Los filtros de malla se limpian mediante agua a presión.
El sistema más simple para la fertilización consiste en un depósito colocado tal y como se indica en el esquema (ver fig. 88). Modificando la velocidad del agua en el punto "a" se hace pasar mayor o menor volúmen de agua por el depósito de fertilizante. Este sistema es muy poco preciso pero tiene la ventaja de su sencillez. Se puede mejorar utilizando dosificadores hidraúlicos más precisos o sobre todo por medio de inyectores eléctricos adaptados a programadores; ambos resultan más adecuados a explotaciones de mayor envergadura.
Fig. 88. Esquema de un sistema
sencillo de fertirrigación.
El suministro del agua puede realizarse de distintas maneras, pero en la cuenca mediterránea se ha impuesto el riego localizado y sobre todo el conocido como riego por goteo. El sistema consiste en que se produce una caida de presión a nivel de los emisores, producida por un tubo capilar muy fino o por cualquier otro método que haga que el agua en lugar de salir en forma de chorro a presión caiga poco a poco en forma de gotas. Cada planta dispone de un punto de emisión. Cuando la densidad de plantas es muy elevada o cuando se quiere hacer un lavado del suelo se puede utilizar minidifusores o microaspersores. Hay muchos otros sistemas que suponen soluciones particulares a problemas específicos, entre ellos las cintas de exudación y las mantas para riego de macetas.
Dado que la mayoría de los tratamientos químicos se hacen mediante pulverización, vamos a describir brevemente estos aparatos. Todos ellos tienen en común un depósito que contine la mezcla, una bomba manual o con motor para proporcionar la presión suficiente y una boquilla de pulverización.
Equipos partátiles.- El equipo utilizado con más frecuencia es un pulverizador de mochila, que casi siempre es de plástico para hacerlo más ligero y evitar la corrosión; la bomba funciona mediante una palanca manual.
Existen tambien pulverizadores a motor, de 100 litros de capacidad, que resultan muy pesados por lo que deben trasladarse sobre ruedas.
Por último hay aparatos accionados por la toma de fuerza de un tractor pequeño y que disponen de una capacidad mayor, entre 400 y 500 litros.
Instalaciones fijas.- Estas son adecuadas para explotaciones grandes. El sistema de bombeo y los depósitos fijos se sitúan en el exterior de los invernaderos y un sistema de conducciones transporta la mezcla hasta los puntos de tratamiento. Este sistema es muy cómodo porque evita el transporte de las soluciones y además permite llegar a cualquier parte del invernadero mediante sencillas conexiones de acuerdo con las necesidades.
Fig. 89. Diagrama de una
instalación fija de tratamientos plaguicidas.
En la mayor parte de los invernaderos, si la superficie no es muy grande, tanto la siembra como la plantación se realizan a mano. En caso contrario el mercado ofrece un material adaptado a cada necesidad: sembradoras de precisión, plantadoras, repicadoras, plantadoras de bulbos y tubérculos, recolectoras, etc.
En las explotaciones de plantas ornamentales en maceta se usan tambien equipos especiales para el troceado y mezcla de los sustratos y el llenado de las macetas.
Dependiendo del producto y del tamaño de la explotación, podemos encontrar en el mercado numerosos tipos de aparatos para clasificar y envasar la producción. Para sacar el producto hortícola del invernadero es muy aconsejable el uso de simples carretillas o remolques si disponemos de tractor. Incluso en algunas explotaciones importantes el transporte se realiza por railes de superficie o aéreos.
Fig. 90. Carretilla para el
transporte de las cajas en el invernadero.