Because of the great diversity of ecological systems in nature, and the limited interchanges of information between ecologists studying the various terrestial, freshwater and marine eco-systems, a wide spectrum of theoretical approaches has developed over the last few decades, each with its particular methodology, terminology, theoretical structure and literature. Various concepts derived from other biological disciplines and ecosystems, and from studies of energy transfer and species interactions, have been gradually entering the marine fisheries literature. Many of these have subsequently undergone practical and theoretical development, and have become the bases for extant methodologies.
Some examples are:
Statistical theory developed principally in agricultural research (e.g., Fisher, 1960) gave some of the early impetus to design of quantitative sampling procedures in fisheries and other applied biological sciences.
Measures of dispersion and contagion have been especially well developed in plant ecology (e.g., Greig-Smith, 1964), and have also been adopted widely in benthic ecology (See Pielou, 1969). There have been some applications in fisheries, however most been concerned with sampling problems (Hewitt, 1981; 1982; Sharp, 1980a) and benthos (e.g., Saila and Goucher, 1966), and Part II (16).
Benthic ecology itself has seen an early development of the concept of marine and freshwater communities (Thorson, 1957), which has been extended more recently to marine fish communities (e.g., Day and Pearcy, 1968; Tyler, 1971, Smith and Tyler, 1975). In general, however, other than for more obvious and discrete ecosystems (such as mangrove swamps, coral reefs) where the boundaries of the community are easily recognized, the concept of a “community” of organisms seems vague and tautological, and is tending to be replaced by two alternative concepts: that of the food web comprising trophic interactions, PART II (8, 9, 11, 12) and that of the species assemblage, expressing regularity of joint occurrence of species in the face of common environmental influences (PART II (16)).
The continuously evolving concept of the ecological niche (Fry, 1971; Hutchinson, 1965; Kerr, 1974; 1980) has been influential, particularly in the study of complex tropical fish communities (e.g., coral reef communities), where the definition of the “environment” of each species is not simply given in terms of its physical surroundings, but also in terms of the physiological requirements of organisms (PART II (10)), although a simpler more mechanical definition of the niche may now be coming back into vogue for some purposes (Caddy, in press).
Disciplines introduced first in the field of marine ecology, and limnology and hydrography, such as population energetics (Sharp and Francis, 1976), community diversity and ecosystem stability (e.g., Margalef, 1968; Welcome, 1979), and the idea of the succession of communities toward a climax (Odum, 1969) are beginning to enter the fisheries literature with growing frequency. There is still however, considerable uncertainty about the proper interpretation of information on diversity and stability for two main reasons: the first, because we are aware that the many measures of diversity are dependent on the efficiency (and frequency) of sampling of a community: this makes such measures less than absolute or even replicable as numerical values. The second, because we are aware that diversity (and stability) are secondary or even tertiary parameters, whose values are reflections of more direct and simply measurable parameters, especially population density and/or environmental gradients and boundaries whose fluctuations in time and space are not readily perceived in the marine environment, but give rise to a sequence of diversity values as ecological succession takes place. Some alternative concepts that seem relevant here are presented in PART II (15 and 16).
The concept of Q10 reflecting the rate of change of activity of organisms in response to temperature change, and the “envelope” of physiological parameters that define an organisms niche or range, has been widely developed by fish physiologists, and has entered the eco-logical and fisheries literature. A short introduction to the impact of this, one of the more important variables having an effect on fisheries systems, is given in PART II (17).
Perhaps evolved initially as an extension of work carried out in medicine, animal husbandry, and various branches of physiology, the application of thermodynamics to the analysis of the food and energetic requirements of organisms has become a major preoccupation of both modern industrial societies and, in parallel, of marine scientists. In this context it can be used to throw light on the relative importance of different interchanges within the food web: (See PART II (6 and 9)).
The need to measure, survey and monitor the impact of pollutants, nutrient enrichment, modification of water flow and other stresses of modern society on living resources, has led to the invention of many sets of indices which together are helpful in to discriminating among the effects of various stresses on marine organisms. With more understanding of a particular system, more complex indices that relate stress to biological responses can be developed (e.g., Schlesinger and Regier, 1982).
Two alternative paradigms have been vying for the attention of marine ecologists in the past decade, namely, the classification of ecosystem by their trophic level (Lindemann, 1942), or by their size spectrum; (the pyramid of numbers of organisms with size present in the eco-system). The latter conceptual framework, which follows from the early work of Elton on terrestrial ecosystems, and from such later workers as Platt and Denman (1975), seems now to be eclipsing the former.
Eight main themes with varying degrees of interrelationship seem to be of growing relevance to fisheries resource scientists:
The concept of the ecological community, i.e., those organisms from micro to macro scale that commonly occur together (not always because of trophic inter-relationships).
The concepts of trophic interaction, community energetics and their whole system representation in the form of the food web; i.e., the dynamics of those groups of species that are linked as predator and prey. The development of this theory in terms of fixed trophic levels, though possibly applicable to some terrestrial ecosystems, will as we shall see later, need serious modification in marine ecosystems.
Related to the study of trophic interactions and food webs, is the realization that in functional terms, most species fall somewhere in the spectrum between complete generalists and specialists in their feeding habits. Marine organisms also fall somewhere in the spectrum between small, rapidly growing and short-lived species, and larger, longer-lived ones with numerous overlapping generations (respectively referred to as r and K strategists; MacArthur and Wilson, 1967). Many aspects of biology and ecology can be related to these categories, which although qualitative, provide a useful but not self-sufficient, conceptual framework for considering life history strategies. A brief review of this field is given in Part II (10). In fact, a consideration of evolutionary strategies leads toward the fields of species diversity and population genetics - fields which cannot be dealt with at length in the present review, but which are relevant for the design of sampling strategies, and for the definition of unit self-reproducing populations and stocks: the main units for population dynamics and stock assessment calculations.
Because certain sampling gears tend to collect specific groups of species more often than would be expected from random sampling, these groups have been labelled as “species assemblages”. These groups of species tend to be of the same size and sometimes of similar trophic level, but are not necessarily closely interrelated trophically, as in the food web concept. The trend is to regard their co-occurrence as stemming largely from common responses to gradients within abiotic environmental parameters (Knight and Tyler, 1973), such as depth, temperature and/or bottom sediment types, rather than from any mutual “attraction” or functional interrelationships, as is implied in the community concept. Some of these concepts and approaches are, as mentioned earlier, touched on in PART II (16).
The concept of the ecological niche has evolved from the original idea of a spatial property (the “place” where a species is found), to a much broader concept in which the physiological requirements of the species at different stages in its life history are taken into account. More recently, the niche concept has also come to include less easily defined biotic factors as well as behavioral considerations, e.g., competition, species interactions, etc.; in the process suffering an inevitable dilution, so that the definition of a niche now potentially includes the infinite number of variables that could be measured in any particular environment (Kerr and Ryder, 1977) and in fact becomes indistinguishable from the word “environment” in its broadest sense. The case for also retaining a more restricted physical definition of the niche is touched upon in Part II (10).
There is often a clear contrast in evolutionary strategies between species that have evolved to withstand a sedentary or territorially limited existence, involving low energy expenditure in areas where suitable food organisms are available for much of the year, (examples: oysters, reef fish), and species which through migration involving high energy expenditure, are able to maintain themselves in a series of transitory niches, where conditions suitable for feeding and reproduction are temporarily available. This may lead us to classify the commercial or potentially commercial species into transients and residents: the first of these, although only present at one time of the year, may play an important role in relation to movement of biomass and food energy from local areas of high production (where trophic interaction with resident species occurs) to or across other areas of low inherent production (Sharp, 1980b: Part II (3).
The realization, following Ilya Prigogine and his co-workers, that the existence of ecological complexity is a direct function of the lack of equilibrium in natural systems (Nicolis and Prigogine, 1977; Prigogine, 1978), has its obvious implications for management of resource harvests from these systems, and this perception is certainly likely to be a major influence on ecological thought over the next few years at least. Gallucci (1973) summarizes the anomaly by noting that in an evolutionary sense, organisms and communities tend toward greater organization and structure… However, the second law “(of thermodynamics)” requires isolated macroscopic systems to evolve in time to a final state of maximum entropy “(disorder)”. In fact, as Prigogine notes, there is a kind of inertial property of non-equilibrium: when reached, the system settles down to the state of “least dissipation of energy”, leading to the formation of “dissipation structures”: prime examples of these being food webs, which result in the chemical energy of photosynthesis being slowly released in an orderly fashion in time and space.
In this connection, the “equilibrium yield” concept in fisheries assessment is an important tool for allowing simple calculations to be carried out which allow a first estimate of the impact of changes in fishing strategy, assuming a relatively stable flow of energy through the system. However, it follows from the concept of dissipation structures that we are dealing with metastable states, dependent on a more or less constant flow of nutrients to a harvested section of the food web, and In this manuscript we point to certain important limitations to the use of this concept as an overall panacea for simplifying fisheries yield calculations.
The relevance of the above conceptual ‘fields’ to management of multispecies fisheries lies in the constant changes of the catch compositions that occur geographically seasonally, and over the long term. As each species has specific requirements and interactions within an ecosystem, the numerous adjustments in the ecological balance and displacements which we perceive only as changes in catch, must be taken into account, since it is very unlikely that fishery science will ever achieve even moderate success in understanding and rational utilization of aquatic resources from catch statistics alone.
Spencer Apollonio, Commissioner, Department of Marine Resources, State House, Augusta, Maine, developed this theme in the following way with respect to New England Fisheries:
“A better understanding of the way the system works is clearly needed. The recent emphasis on quantitative assessments as the basic management tool has not been very helpful to managers because assessments contain little predictive content… Perhaps a more qualitative understanding - which I believe is possible - of the characteristic functions of the system would be more useful for managers and less expensive. A manager frequently is not primarily concerned with an accurate estimate of the abundance of a stock. He is more likely concerned with a probable trend of relative abundance.”
He continues:
“Even grossly qualitative forecasts may be most useful management tools and serve to re-establish belief in the management process. For example, the probably valid prediction that increased fishing effort will lead to an increasingly variable stock abundance can be tested by the industry itself and thus enhance the credibility and thus the usefulness of management. Similarly, by taking full cognisance of the biological characteristics of the species, it should be possible to state which species are legitimate candidates for efforts at stock stabilization, and which are inherently highly variable. The industry believes that the latter is true of many species and it is probably right on at least some of them. Current management practice does not seem to acknowledge the probability - but instead seems to promise sustained yield for all species, regard-less of their biological peculiarities, if only the proper regulations are promulgated. It is almost as though managers consider all species biologically equivalent and that the species characteristics are without management significance. …”
“…If a manager, concerned with stocks, people, economics, and regulation, is to meet his responsibilities, he must have advice on how the system works. Species cannot be managed in isolation, just as many of them are not caught in isolation. The manager must understand inter-specific relations if he is to manage interrelated fisheries. He must understand the nature of normal variations in abundance if he is to judge which species can be managed and at what cost. He must understand how the system operates if there is to be any hope of forecasting stock abundance. These are the capabilities we hope to attain through fisheries ecology.”
A brief review of the main subject areas covered in the paper is provided in the rest of this section, with what the authors consider the more promising directions to follow in investigations of marine resource ecology amplified in Part II. Reference is made to the literature should a more concrete description or illustration of the concepts involved be necessary which is beyond the scope of the present text.
The impact of the environment on marine organisms is a major preoccupation in the marine ecology literature, and such impacts have been classified into abiotic: the impact of physico-chemical factors: (temperature, salinity, depth, etc.), and biotic: (the impact of other organisms on the species in question). Part II (17) reviews some relationships in the first category. Biotic effects may be classified into trophic interactions (see Part II (5, 8 and 9)) in which predation is the major factor; and non-trophic interactions (Part II (16)). In this latter category fall other forms of interaction, such as competition for space, or even on occasions, mutual assistance (e.g., parasitism, commensalism, symbiosis); although for a discussion of the details of ecosystem interrelations, a text on marine ecology (e.g., Kinne, 1984) should be referred to.
In freshwater systems (e.g., food chains of essentially similar lakes), replication of observations allows the impact of environment to be quantified, and its variance to be estimated in a way that is rarely possible in the marine system. Thus, we are far here from the application of so-called “morphoedaphic indices of fish yield” developed by Regier and Henderson (1973), Schlesinger and Regier (1982), which allow production to be measured as a function of depth, climate, dissolved solids etc., without a great deal of other biological data. Marine systems have to be classified from biological and fisheries data, although comparative studies are now producing useful generalizations.
In addition to the biotic influence a species exerts on others, we can recognize that some organisms can have a marked impact on the environment or milieu they live in: here we include corals, mangroves, etc., which may be referred to as “substrate” species, and are often the descriptive term used to characterize a given community. Examples of community interactions of this kind are given in Part II (7) and (11): the coastal mangrove system in the tropics and sub-tropics, and the similar but less complex kelp-sea urchin system of higher latitudes. By contrast, a pelagic food web, the tuna-dominated system characteristic of world oceans, is touched on in Part II (13); and in Part II (12) a moderately complex demersal fish community from a low-energy environment is contrasted briefly with simpler food webs from high energy upwelling systems. In Part II (8) we illustrate various graphical approaches to modelling ecosystems, and note that such simple visual representations of reality play an important role in understanding systems with many interacting components.
The idea of the trophic pyramid and the food chain were developed in terrestrial ecology, where food linkages are generally more specific and simpler than in the marine environment, but the same general approaches and vocabulary have now been widely applied in marine biology, and an extensive literature now exists in trophic studies in the environment. (See References).
The need to understand marine systems in their own right and not just apply terrestrial models is evident (e.g., Carlenton, 1985), and over the last half century or so, the “information gathering” phase that preceeds modelling, has began to show the real complexity of marine eco-systems.
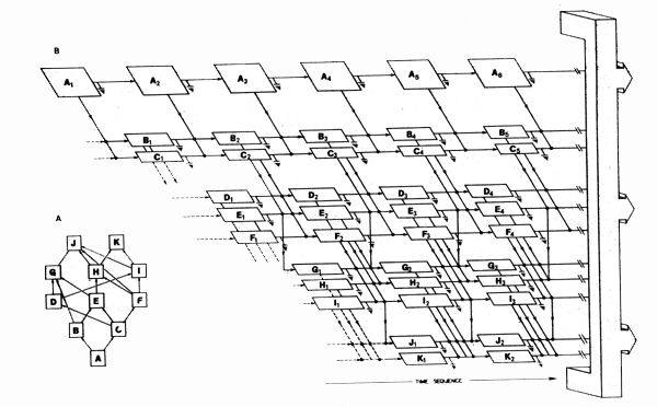
In the earlier theory of food chains, organisms were classified into discrete levels according to the number of steps in the food chain they are above the primary producer level. This idea of a ‘food chain’ with a discrete number of steps was later modified to that of a ‘food web’ with each species being assigned a trophic level which was not necessarily a whole number. This approach too is coming to be regarded as an over- simplification for three main reasons, namely (a) there is a parallel detritus web that begins again from bacterial biomass supported by organic detritus coming from all components of food webs. It is difficult, or impossible in practice, to assign one tropic level to all individual species; (b) the tropic level of a species changes with age and season for many marine organisms; (c) as noted by Cousins (1985), from the viewpoint of scientific procedure the concept of a numerical trophic level is fatally flawed, since as a variable, it can only be measured for a species by restating the question as to the trophic level of its prey species, and so on down to the primary producer level. In other words, for the question to be' answered, it requires a full knowledge of the trophic level of each ‘subordinate’ species. Even if this can be achieved, it is not obvious that this information could be extrapolated to the same species else-where, or to similar species in the same locality. This problem is of course more serious ‘higher’ in the food web, where ‘higher’ (in the food web) is here used in the relative rather than absolute sense (which seems quite sensible); but also occurs lower down. (See Figure 1 for an early example of the complexity of the problem.) Thus the Peruvian anchoveta is both a herbivore and primary carnivore feeding on zooplankton, as well as feeding on its own eggs while they are in the plankton; (which could make it, in one sense, a secondary predator?). What is its trophic level? Such questions abound, and even if answerable, have limited value. It is more relevant to draw attention to the fact that all three food organisms occupy roughly the same size range. This latter observation was the basis for the earlier approach of Elton, who expressed ecosystems in terms of the “pyramid of numbers”. This concept in somewhat more refined form, is now becoming a focal point for research in biological oceanography, and points to the fact that smaller creatures grow and reproduce faster than larger ones, and it is this size-related aspect of life cycles that determines that there are enough small animals for large animals to eat, and this fact ‘drives’ the whole marine ecosystem, and finds its expression in the sort of relationships shown in Figure 2(A).

Figure 2 Illustrating the apparent similarity but fundamental conceptual difference between (A) Elton's “pyramid of numbers” (with size), and (B) the concept of trophic level (see text)
We have already referred to one pragmatic way of classifying those groups of species that occur together in an area more regularly than expected by chance alone, namely by species assemblage. We may note that although some members of an assemblage are undoubtedly linked trophically, all species in an assemblage are not necessarily so, even though they may show other interactions: they are primarily defined statistically by their degree of co-occurrence. Considering only trophic interactions, we generally refer to that group of species in an ecosystem that are linked with each other as a food web, which will ultimately include every species in a marine community. Marine food webs usually differ somewhat from simple terrestrial food webs, in that a given species will often occupy different points in a food web at different stages in its life history: the number of cross linkages are also much more diverse, and will change from location to location, and time to time.
Figures 3 and 4 illustrate in a very schematic form, the way in which production of organic material tends to be spatially concentrated in fairly restricted areas, both inshore; (nutrient material and growth factors entering the marine system from rivers, and generated by salt marshes, mangrove swamps and coastal seaweed or eel grass beds), and in the marine milieu proper, by phytoplankton production. The latter component tends to be more intense in areas of upwelling where production-limiting nutrient salts are replaced from lower down in the water column; and at the boundary between oceanic water masses where similar effects occur. Dispersal, predation and active migration result in organic material and living organisms being spread horizontally and vertically from these centres of intense production. These centres of production can be regarded as forming the centres of “dissipation structures”, where biological material is synthesized and slowly dispersed outward. (Figure 3).

Figure 3 Illustrating the localized nature of centres of coastal and oceanic production, and the lateral diffusion and transmutation of original primary production via food web linkages, and through passive dispersal and migration of food web components. These key areas of production are referred to here as “dissipation structures”

Figure 4 Ladder of vertical and horizontal migration as a means of introducing surface production to the deep sea. Changes in relative concentration of particulate matter with depth in the oceans is shown by stippling in the right column (Modified from Conover, 1978 after Vinogradov, 1962)
In a sense, what is implied here, is what is implicit in the term ‘biosphere’; namely that at any point in time, there is only one planetary food web. Derived directly from this abstraction, is the key to working with the food web concept, namely, that those components that regularly or intensively interract, can be extracted from the whole and discussed as semi-autonomous groups or sets. However, it follows that these food webs in the limited sense used here, should properly be considered as ‘open’: i.e., having some degree of linkage to unspecified components outside those under direct consideration at the time.
In all areas we recognize the distinction between primary use and recycling of waste material; organic matter generated principally by photosynthesis from simple inorganic compounds flows upward (i.e., to ‘higher’ trophic components) through the food web, but is also cycled back downwards from each food web component; especially in the form of fine organic particles, to re-enter the food web lower down, either via bacterial or fungal action, or directly by detritivores or scavengers. It is principally this fact that makes the concept of the trophic level, though still widely used in the literature, very difficult to quantify and verify experimentally. Its use in the present paper is to be interpreted in the qualitative sense, of “distance above the level of primary production”.
This dispersal of the original localized production of organic material goes on vertically also (Figure 4), in that the highest production occurs in shallow water and close to shore, and (especially in the tropics), drops off relatively rapidly with depth (Figure 5). Here again, the movement of material into greater depths is facilitated by currents, sedimentation and vertical, diurnal or seasonal migrations, and may pass through several linkage in the food web in the process.

Figure 5 Fish yields per unit area from Philippine waters in relation to depth (The shaded area is a subjective assessment of possible ranges, not a confidence belt - redrawn from Pauly and Mines, 1982) (In north temperate waters, the rate of decline in yield with depth is generally much slower)
Those areas of estuaries, lagoons and coastal marshes, between purely freshwater and purely marine environments, represent an important but physiologically difficult environment for most aquatic organisms. Despite the high productivity of most estuarine areas, and their role as nursery grounds, the species diversity of these areas (Figure 6) is generally lower, however, than for either freshwater and fully marine environments, especially in temperate waters. Similar low diversity and high production is also characteristic of (fully marine) centres of upwelling.

Figure 6 Relationship between salinity and species diversity for largely temperate environments (Redrawn from Pauly and Mines, 1982)
Figure 7 shows the nutrient recycling function occurring in parallel with the primary flow of organic material. This series of feed-back loops for recovery of “waste” organic material must be one of the major stabilizing factors in food webs, since it spreads out short seasonal pulses of production. This is particularly the role of the large number of detrital feeders, especially in the high latitude benthos (where many such species are relatively long-lived, and provide food for many demersal fish on a year-round basis). The time delay and storing of nutrients through time from the short seasonal pulse of planktonic production harvested by the benthos, may be a major factor contributing to the generally greater stability of demersal compared with pelagic fish stocks. The relatively lower abundance of demersals than pelagics in tropical environments, is perhaps in part a consequence of the lower densities of these longer-lived infaunal invertebrates, which in consequence, may play a less important role in buffering production in most tropical systems.
Figure 7 also illustrates that the peaks in production are likely to be smoothed out with distance from the base of the food web, so that the possibility of modelling each component under an equilibrium, or close to equilibrium assumption, is more realistic for the high (apical) components, where fluctuations are less pronounced, than at the base of the food web. In Figure 3 we also see that the dispersal of material from the main centres of production goes on with distance above the base of the food web, and that especially for the larger, more active apical predators (e.g., tunas), the need for active swimming or feeding migrations stems from the greater average distance between the dissipation structures generating an abundance of the larger food particles necessary for their energetic balance. This in turn, increases the metabolic rate of predators, and thus the amount of food they require for metabolism.
Higher-than-average peaks in the primary production in favourable years are passed on to secondary and subsequent trophic levels, smoothed and reduced in amplitude, as well as progressively lagged in time behind the original date of production (Figure 7). To some extent, this is a consequence of the multiple trophic levels occupied by many higher predators. The fact that these may occupy lower trophic levels as larvae or juveniles, means that their recruitment is subject to the same fluctuations as lower components, with which they share the same level in the food chain as larvae. This observation goes a long way to explaining the wide fluctuations in abundance of many marine fish species, even when they are high in the food web as adults. This aspect, together with other socio-economic uncertainties (Figure 20) is one of the inevitable aspects of “boom and bust” that the fishing industry is subject to (e.g., Caddy, 1983; Sharp, Csirke and Garcia, 1983).
Of course, the large seasonal fluctuations illustrated in Figure 7 will be less pronounced outside the arcto-boreal and upwelling regions, but the same general principles probably apply in the tropics although the rate of turnover will be higher, and production and recruitment peaks are likely to be less pronounced.
Another aspect of the transfer of energy is indicated in Figure 7: either material is passed up in the food web by metamorphosis (in the case of species where a transition from low to high trophic levels occurs with individual growth, or ontogeny); or by predation. In the latter case, a considerable proportion of material is lost in the exchange [see PART II (14) for some estimates of this], and in both cases a significant amount is lost in the form of heat (respiration) while performing the work necessary to life; and as excreta. For tunas, and (to a lesser extent, for) other active species (e.g., krill and squid), the energy component used to fuel muscular contractions (especially swimming) uses up a great fraction of the chemical energy in food consumed, leaving less available for growth and reproduction. A significant fraction of energy reserves of marine organisms also enter the food web as that high proportion of generally small particles (eggs, sperm and larvae) that do not survive to maturity.
One aspect of fisheries systems that has become evident to biological oceanographers in recent years, is that the characteristics of biological systems that at first sight would seem to be of primary interest to man as an exploiter, are the biomasses of useable organisms present. In practice, however, the two features that most determine the ability of a system to sustain production for human use, are the fluxes (or flow rates) of materials through the ecosystem and to man; and for (economic) human harvesting, the availability of organisms to harvesting. This latter in turn, is usually dependent on the degree of concentration or aggregation of species.
Morphologically distinct larval stages with their own environment (niche) and food requirements are well developed in most marine organisms, and in a certain sense, the larval stages and individual development of many species seem to echo at each stage in the life history, the typical trophic interactions of adult organisms of the same size occupying the same environment. Thus, the larval stages of herbivores as well as higher predators, usually start at similar positions in the food web, and apical predators may thus be regarded as moving upwards in the food web in ontogeny (development). This is illustrated in a general way by the elongated “parallelograms” in Figure 7, which show a species spanning several trophic levels, and in Figure 10A which shows that such ‘discontinuities’ in diet with size are recognizable using statistical criteria. One feature that follows directly from Figure 7 is that since larval stages are usually at a lower trophic level than adults of the same species, they participate in the greater uncertainty and higher temporal variation characteristic of these lower levels: this is probably one of the reasons why recruitment variations are so marked in the sea, even for high level predators. As noted, it makes more sense in this situation, as proposed by Elton (and later by Platt, Mann and Ulanowicz, 1981), to categorize feeding levels by size of predator and preferred size of prey, than in terms of some difficult-to-quantify concept based on knowing the whole feeding history of an organism (Cousins, 1985).

Figure 7 Diagrammatic representation of food webs in time, showing (A) a simple food web with linkages between successive “trophic levels” (straight solid lines), (B) the multiple trophic level shown by any macroscopic marine organisms, as well as (C) the often “reverse” flow of biomass through detritivore loops (dotted curved lines), (D) the temporal succession of peaks in production which occur on a seasonal and annual basis at different levels in a food web. Particularly for higher latitude systems, these peaks are smoothed out and delayed higher in the food web
These higher level predators, in common with the other components below them in the food web, will of course remain within the web on dying (through predation, disease, senescence, etc.), whereupon scavengers and bacteria recycle their organic and mineral contents and incorporate them once again into the production cycle. Liquid and particulate waste from living and dead organisms is thus recycled back into the system. This provides another secondary layer of complexity to the food web, and also tends to make the concept of a single species-specific trophic level largely meaningless, since a micro-herbivore or primary predator such as a copepod, may in part be feeding on primary production, and on fine debris resulting from, for example, the predation on a tuna or a whale by pelagic sharks at high trophic levels, and hence share the same trophic level, at least temporarily. The all-pervasive role of marine bacteria which are either in suspension attached to fine particles, or in bottom sediments, in metabolising organics, provides much of the food energy on those particles of material consumed by filter feeders, and must be taken into account here. If we must talk in terms of trophic level, and this is only one of several possible paradigms as discussed later, it seems intuitively correct to assign marine bacteria a low level in the food web, as for plants, and therefore to place detritivores for this reason at the same level as herbivores when calculating mean trophic level (if this exercise is worth attempting). This is a convention that for convenience considers that whatever the source of organics they are metabolising, the food web begins again once the individual identity of an organism is lost on consumption or excretion, and was the approach followed in the International Biological Programme (IBP). From 1964 to 1974 this attempted with mixed success to determine the productivity of all terrestrial and aquatic ecosystems using the concept of the trophic level as a basic tool (Cousins, 1985). Perhaps it was inevitable that this program fell somewhat short of its ambitious objectives; this was largely because of changes in our conception of ecosystem processes. The large amounts of information and insights obtained in the process have, however, played a major role in the way ecology has developed subsequently.
The basic principles of energy conservation and its flow between organisms in food webs are however of more importance than a philosophical discussion of the trophic level of detritivores. It is quite clear that although marine bacteria and organic detritus allow more efficient reutilization of organic material, there is no system capable of circumventing the laws of thermodynamics and inventing perpetual motion by continually recycling the same biomass. At each step in the food web, a large proportion of received energy is converted back to carbon dioxide, inorganic salts and water by metabolism. The food web thus constitutes a so-called “dissipation structure” (Johnson, 1981) which is characteristic of how primary energy, whatever its form, is dissipated from centres of concentration, e.g., Figures 3 and 4, and later chapters.
A food web can be viewed then as a dissipation structure, where energy is passed along trophic linkages from the original point of synthesis in time and space; a considerable proportion being metabolized at each stage of the original solar or chemical energy input, before the remainder is passed on to the next stage. One of the principal themes of this paper will be to explore how the linkages in these marine “dissipation structures” (that also incorporate fisheries), can best be conceptualized and represented.
The above conceptual framework then explains how short- and long-term perturbations to the system will be ‘damped out’ higher in the food web. It was suggested that “equilibrium conditions”, or a close approximation to the same, that can permit “steady state” fisheries, will be more likely to occur near the top of the trophic chain, so long as levels of exploitation are reasonable and controlled. The view that seems to emerge is then of a fisheries system as a ‘damped oscillator’; receiving variable inputs in time, rather than a closed system or chemostat, which has been the general view until recently. At the same time, for many fisheries the idea of a “steady state” maintained over the long term is probably not appropriate- see Part II(1).
As a value judgement that will not be universally accepted, we would suggest that a knowledge of the main features of the food web in its simpler, non-quantitative form, is informative and useful; illustrating the possible impacts of exploitation of one or more of its components on others. This is true even if a quantitative evaluation of the impact of man-induced changes, and of the level at which they begin to show up, cannot be arrived at without a far greater amount of information. In some circumstances, it will also be useful to consider subsections of the food web (for example the fish only; or even the adult fish trophic interactions) since as we have already shown, any food web short of the total biosphere, will have undefined linkages. However, reliability and utility of food web applications increase dramatically as quantitative information accrues.
As a final observation on this point, most marine fish species have a much greater diversity of preferred food organisms than is the case for most terrestrial carnivores, except possibly during the critical larval stages of fish, but preferences, for size and often type of food organisms, are very specific (e.g., Figure 10A). One tentative conclusion that arises from this observation is that variation in the spatial distribution and availability of food of a suitable type and size range can surely be demonstrated to be a key cause of population fluctuation in marine ecosystems, but such variations are likely to have their most serious impact on early larval stages. Conversely, a temporary increase in one or more food items is likely to attract or result in population aggregations or increases of mobile or opportunistic predators that will utilize and modify this temporary oversupply (Murdoch, 1969). This may be regarded as one reason why exploitation by man can occur without drastic changes in population structure in some marine ecosystems (see Ursin, 1982).
One of the arguments that has been a source of continuing controversy for marine ecologists is that between “bottom up” and “top down” approaches in understanding and working with ecosystems. In simplest terms, the “bottom up” strategy argues that understanding, and more importantly, applying information on ecology requires that we first define the physical environment, then the primary production, the production of herbivores, primary to tertiary carnivores etc., in sequence, from the “bottom” of the food web up to its “peak”, and the apical predator of prime importance (which now usually includes man). Not surprisingly, some of the main proponents of this school have been biological oceanographers. Implied also in this approach is the concept that food limitation is a controlling factor in biological production. To a certain extent it is possible to make rough predictions of fishery yield from primary production data (e.g., Figure 9). These predictions are rarely accurate enough to have practical significance for fisheries management (although new developments in remote sensing for oceanology are changing this perspective).
The “top down” school has taken the view that since we are more likely to know (and usually need to know) more precisely the biomass of the apical predators in a fishery system, (as well as the predation pressure caused by one of them, man), it makes sense to measure the biomasses and linkages at the upper levels of the food webs more accurately, since these are usually of most immediate value to the fishing industry. Implied also in this approach is the concept that predators “control” the biomass of food webs components below them: (see Figure 1).
Of course any sensible person is going to take both perspectives into account, but the dichotomy between these two approaches, while hopefully now receding, needs to be borne in mind when reading the historical literature.
From Figure 7 we see that the biomass first synthesized by plants, which is the basis for marine food webs, moves “upwards” in the food web from herbivores through the successive trophic levels, either by predation or ontogeny. At the same time, production is dispersed spatially, and its peak progressively delayed in time at higher trophic levels. In general, (and there are many individual exceptions, of which macrophyte browsers, some detritus feeders, baleen whales and parasites include notable examples), body dimensions increase as one moves upwards from one trophic level to the next. Also, at the same time (Figure 11), the concentration of individuals per unit volume of ocean falls progressively with size, as does their rate of population increase and hence their turnover rate. The production per unit weight also drops off. This is in accord with common observations, namely that bigger fish are rarer, and that the vast majority of oceanic biomass (and even more so, production) is concentrated at the microscopic end of the size spectrum, and hence is unharvestable. Of course conventional arguments on the simple basis of size can lead one to very wrong conclusions in some circumstances (see, for example, Figure 10B). The clearest example would be that strict application of the “bigger eats smaller…” tendency would not suggest that the great whales should be dependent upon krill or other primary predators; or other primary predators; or that tunas would need and/or employ filter feeding apparatus; or explain the observation that adult herring can eat larval cod (in contrast to adult cod eating juvenile and adult herring). As a qualification to the above, even a good knowledge of the trophic interactions between species is unlikely to fully explain population changes, since environmental fluctuations and intensive fishing pressure are likely to be more critical driving variables than trophic interactions at various stages in resource life histories. (See for example the account by Gulland and Garcia (1984) of changes in species dominance in West African fisheries, and Sharp and Csirke (1983) for other world areas). One needs to be careful of generalizing too widely.

Figure 8 Illustrates how the “static” food web concept (Figure 8A) corresponds in reality to a flow diagram (Figure 8B) in which organic material either preserves its macroscopic identity as a component of the biomass of a given species (by moving to the right in Figure 8B), or is transformed with the inevitable loss of a majority of the accrued production at each on being consumed by a component “higher” in the food web. (The loss in the energy in the form of heat is shown by the vertical arrows “to earth” in Figure 8B). The time sequence of past events has been illustrated by the cursor at the right of the diagram (set in the present), but the time scale of events at all trophic levels is not necessarily constant as shown here. Thus, the subscript numbers n = 1,2,3,...5 to the alphabetically labelled food-web components (quadrilaterals or “lozenges”) may represent a n'th “pass” of a “package” of material through the food web, i.e., the “mean age” of organic material in days since its original synthesis os greater for higher food-web components than lower levels and the “turnover rate” is slower. Thus, if the extension of the individual “lozenges” is regarded as generation time, these would usually be of longer duration for apical predators (e.g., J + K) than for basal components (A). This is not well illustrated in Figure 8B

Figure 9 The relationship between fisheries yield and primary production for three main aquatic eco-systems; marine (shaded area), large fresh-water lakes (regression line) and coral reefs; (Modified from Nixon,1982)
From modelling studies on food webs carried out to date (e.g., Pimm, 1980; MacDonald, 1983), a number of generalizations seem justified, some of which may have some broad applications to marine ecosystems:
Systems with the greatest diversity are likely to be more stable than those with fewer linkages. On the other hand, more diverse systems generally occur in stable environments where they have had a longer evolutionary time to develop, and hence may be less resistant to stresses which exceed in intensity and type those to which they are adapted. Once perturbed, systems with many linkages are also likely to take longer to return to stability.
Feeding by most organisms is size specific, and is preferentially directed at the larger food particles available to the organism, and not predominantly to items which are usually separated by more than one step in the food web. However, we should not forget that important exceptions occur: thus, tunas have well-developed gill rakers, and there is a direct cor-relation of minimum sizes of stomach contents with gill raker gap (Magnuson and Heitz, 1971). (Note also that cases where this generalization is inverted are common, and are usually referred to as parasitism.)
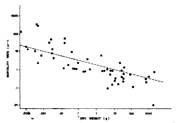
Many characteristics of marine systems are broadly speaking, functions of size. Thus r, the intrinsic rate of natural increase (Figures 11A and 12B), and M, the natural mortality rate (Figure 12A),as well as the generation time (Figure 12B), are functions of size; as is the biomass present per unit volume of particles in sea water (Figure 11B), and the organisms' feeding rate (see Figure 67 later on).
The fish biomass of temperate regions is made up of relatively few species, and in general the biomass increases, and the production/ biomass ratio and the species diversity decrease, at higher latitudes. One reason suggested for this is that except for monsoon and upwelling areas, production is usually seasonally more uniform with in tropical waters, unlike the temperate regions where sharply contrasting seasonal production cycles are the rule. Those species adapted to the “boom or bust” production situation in temperate areas appear to be generalists in their feeding habits, have specific periods in their life history when they feed on a particular prey, are migratory, or use a combination of all three strategies to overcome within-year variations in food availability.

Figure 10A Changes of predator preference with size for species, and variations in predator preference at a given size. Cluster analysis of prey similarity among size classes of pinfish (Lagodon rhomboides) taken in Apalache Bay from 1971 through 1977 showing that main discontinuities of diet can occur (in this case around 60 mm in size) during ontogeny. (Redrawn from Livingstone, 1982)

Figure 10B The relationship between the standard length and the width of mouth gape for three different predators with different feeding strategies. (Redrawn from Hoar, Randall and Brett, 1979)

Figure 11 (A) Relationship between the intrinsic rate of natural increase of populations (mainly animals) and their adult body weight (From Pauly, 1984). The regression lines and most data points (block dots) are from Blauenweiss et al., 1978 who also provided the regression equation (see Pauly, 1980)
(B) Relationship between unit weight and concentration of “particles” (inlcuding living organisms) in sea water (After Platt and Denman, 1978)

Figure 12A The natural mortality rate as a function of body weight in marine fish. (Redrawn from Peterson and Wroblewski, 1984)

Figure 12B The intrinsic rate of population increase r, per day as a function of generation time. (Redrawn after Heron, 1972; in Anderson, 1981)
A number of key changes in biomass distribution occur with latitude: thus, benthic biomass decreases with depth, and increases at higher latitudes, and the percentage of demersal fish in commercial landings is greater at high latitudes and low temperatures. Jones (1982) derived an empirical expression for this latter relationship from a limited set of data; namely:
Percent Demersal = 100 exp. - (0.12 T) where T is the (mean) bottom temperature.
Body size at any given trophic level also seems to increase with latitude. Mouth gape/body length ratio similarly tends to increase, and also with depth where species are living under conditions of limited food supply.
As in all natural systems, many exception to such ‘rules’ apply; and ecosystems and their components require individual consideration, before generalizing too widely.
Apparently the higher latitudes are difficult habitats to colonize, except for very specifically adapted, arcto-boreal or polar species, implying that these species are preadapted to longer-term seasonal deprivations and longer generation times than most tropical forms. The large numbers of species in tropical systems are associated with a patchy distribution of localized productive areas, and numerous micro-habitats in time and space. The survival “windows” in the early life history (Bakun et al., 1980), may be more nearly randomly distributed in time and space with respect to the range of reproductive adults in these populations, unlike the situation that leads to the synchronized “blooms” and “recessions” observed for temperate species. In general, the occurrence of multiple age groups and/or multiple spawnings are safety measures to ensure continuity of the species in face of quite frequent unfavourable years. This “safety margin” is taken advantage of (but should not be abused) by commercial fishery systems, that in effect use the limited ‘elasticity’ of natural systems, and harvest it as so-called “surplus production”.
The simplest systems, say for example Arctic lakes (Johnson, 1981), are highly seasonal, relatively efficient, and very stable over the long term, and the perturbations here are induced predominantly by energy input (i.e., insolation, wind) on a strongly seasonal cycle. Here, food webs consist of few species. In the sub-arctic ocean there are more species, but still far fewer than in the temperate and in particular the highly complex tropical oceans. As we move equatorward, the influences of local geography, seasonal and climatically induced energy inputs, and the numbers of nomadic apex predators, increase. This implies that closer to the equator, the systems and overlapped habitats become more complex, and less predictable in local species composition and local abundances, and therefore less stable on local geographic and short-term bases. A good review of the role of hydrographic and spatial factors in speciation of marine organisms is given in Sinclair (in press). However, the wider-ranging the species (i.e., broader the habitat), the less likely the species as a whole is to be subject to great fluctuations (see Sharp, 1980b for further discussion of fluctuations on a large versus local scale).
Whereas a tropical reef community consists of numerous species, all with rather specific physical and trophic niches (e.g., Randall, 1967), these are usually relatively volatile in regard to both local distribution and recruitment, although it is through continuous small cataclysmic removals and simultaneous recolonization and re-establishment over a mosaic of small potential habitats, that they persist at all. So much of the complexity of local reef ecosystems tends to be damped out as one moves up-scale geographically to focus on the whole zoogeographical area (species range) occupied by individual species.
We have already briefly discussed the importance of the differing physical scales of water movement for pelagic food chains, from small-scale turbulence and their impact on larval life histories, to local areas of larval retention and their relevance in determining potential stock size in pelagic fish, as well as the importance of large-scale water movements and boundaries for transport and production processes (e.g., upwellings). A somewhat analogous approach to describing the physical substrate, and hence its capacity for producing or supporting useful production in demersal fish and invertebrate food webs, is becoming of practical interest. It is clear that although the level of primary production is important, the nature and physical dimensions of irregularities in bottom substrates is of importance for supporting important concentrations of commercial-sized species. Two examples illustrate this theme: (a) coastal fishermen in many areas of the world recognize that areas of “live bottom” (Powles and Barans, 1980), that is, rock out-crops and coral reefs (not to mention wrecks, artificial reefs and offshore oil rigs), attract a higher density of commercial-sized species than surrounding flat bottom areas, although the areas of foraging of these fish will often be in other adjacent areas; (b) in the contrary sense, some areas of admittedly high production, such as turtle grass beds on flat sand bottom in the tropics are of great local importance for juvenile fish and shellfish resources, but much of the production here flows into food chains which do not seem to directly support high resident densities of large demersal fish of a size attracting commercial fisheries, even though a variety of commercial species migrate or forage through these areas. Apparently such areas, though productive, do not provide adequate ‘cover’ for most larger species.
These two examples, although qualitative, prompt the observation that survival of demersal species, especially in the absence of “cover”, often depends on specific behavioural adaptations (e.g., burrowing in flatfish, or massive shells in gastropods such as Strombus that inhabit turtle-grass beds). The diversity of fish species and their size ranges which are associated with coral reefs, although related to the productivity of the system, is presumably also dependant on the degree of physical “dissection” of the hard substrate, or the presence of physical niches of appropriate sizes for shelter from predators, as well as providing substrates for the production of fauna and flora. Both xoanthellae (algal cells in the tissues of many corals), but more importantly, fine “algal turf” growing on the coralline outcrop (Johannes, 1972), form much of the basis for reef production in generally unproductive areas, and require hard substrates for their development.
The often-heard criticism of artificial reefs, that they increase vulnerability by increasing aggregation, but do not increase overall production, again seems to be a function of scale: the use of “brush parks” in lakes and coastal lagoons in various parts of the world, seem to show unambiguously that commercial yield can be considerably increased in this fashion (see Kapetsky, 1981), though this effect seems to depend on large-scale manipulations of the habitat that are difficult and costly in the more extensive marine environment.
A concept that appears to be emerging with potential for better understanding of this phenomenon, is that of the fractal nature of substrates or coastlines (e.g., Mandelbrot, 1982). A fractal surface can be roughly described as one whose surface area increases in size inversely with the unit of measurement (Figure 13). Most rough or dissected surfaces and contours (e.g., coastlines, Mandelbrot, 1982) show this feature, which in effect means that there is a greater surface area (and number of “niches” in the more restricted physical sense), available for smaller organisms than larger ones (Morse et al., 1985); a view that seems in accord with the “pyramid of numbers” concept of Elton, described earlier. Figure 13 illustrates one of the corollary concepts, namely that for a fractal surface, the number of crevices (and hence the number of organisms) decreases in a logarithmic fashion with size of measurement unit: a phenomenon that seems to control the size spectrum of organisms (including fish) present on coral reefs. Smith (1975) spells out some of the features in play on a Bahamian coral reef:
“First, large fish cannot fit into small holes and are necessarily restricted to larger shelter sites. Secondly, large fish are not available to predators with small mouths, and finally small fish are limited to small prey. The converse of these statements do not apply, or apply only in varying degrees. Small fish fit in larger holes, but in doing so would be more exposed, and lose the advantage of being small”. He further addresses the limitation thus imposed on the food web by the physical environment, including the size spectrum, (Figure 14), and the “absolute individual size limitation” thus imposed - otherwise referred to as the L parameter of the von Bertalanffy growth curve: (i.e., the low maximum size reached by many reef fish and crustaceans is a function of crevice size).
Where the implications of the fractal nature of natural substrates have been investigated in more detail, as for terrestrial arthropods (Morse et al. , 1985), there is shown a general corre-spondence to the prediction (Figure 14) of a linear relationship between the logarithms of number of individuals and their body lengths. This has also been predicted by Platt and Denman (1978) from different theoretical considerations for the number and size of “particles” (including living organisms) in sea water (Figure 11B). This “ideal” relationship does not of course apply in all situations, and Bradbury, Reichelt and Green, 1984 recognized that for many natural systems, such as coral reefs, it is precisely the discontinuities in the plot of number of physical niches against size that could impose “bottlenecks” to recruitment processes for crevice dwellers, such as many commercial decapod crustaceans (Caddy, in press). The practical relevance of these concepts to the concepts of habitat enhancement or development seems evident, and there is a growing interest in the application of “artificial reefs” whose effectiveness can be judged by how cheaply they provide niches and growing surfaces of the desired dimensions.
As noted earlier, the main function of this document is to familiarize the reader with some of the key contemporary themes in the field of fisheries ecology, and to serve as an introduction to the relevant literature. We use “contemporary” in context rather than “modern”or “recent”, simply because the current problems of fisheries biology and their relationship to oceanography and marine ecology, had been preoccupations of scientists from northern latitudes many years before the single species numerical procedures were amplified in the work of Baranov and later Beverton and Holt (1957) to their current position of high profile. These ecological interactions in fisheries are still major preoccupations today. In fact, historically speaking, it may be that the half century or more of ocean science, particularly in the North Atlantic and Pacific, that preceded the first attempts to directly control fishing effort in the 1950's to 1960's, were essential before quantitative assessment methods as applied to sea fisheries, had any chance of success.

Figure 13 Illustrating four progressive scales of magnification of a fractal surface (right to left), and how crevice-dwelling organisms (e.g., lobsters, most coral reef fish), face progressive limitations in numbers of physical niches available as they increase in size

Figure 14 Numbers of arthropods present with size on terrestrial vegetation, showing the fractal nature of vegetation, (i.e., the logarithm of number of physical niches decreases linearly with size). Similar relationships have been postulated for coral reefs and mangrove communities
Despite this, even in the northern latitudes, the number of consistently well-managed fisheries over the last few decades is generally outweighed by the number where stock collapse, reversible or otherwise, has occurred, not always due to human intervention (see e.g.Caddy and Gulland,1983). Studies of the ecological interrelationships among commercial species, as well as with their physical environment, are now underway in several areas of the world's oceans, and they are likely to have a significant impact on the way that assessment and management is carried out in the future. Experience with coordinating individual single species assessments, shows that this latter approach is likely to result in the sums of single species MSYs (Maximum Sustainable Yields) theoretically exceeding the whole-systems potential, thereby ensuring over-fishing of these multi-species communities if an attempt is made to fish each species at its individual MSY. It is clear, however, that the development of complex models and computer simulations that do take such species interactions into account, require ever-greater amounts of detailed information and data collection; hence larger staffs of fisheries scientists and administrators, and the costs of such approaches, if taken to extremes, are in danger of exceeding a reasonable fraction of the net income to society from the fishery itself! What is needed are simple, efficient and inexpensive monitoring and management systems, based on the fundamental properties of the biological system being managed, rather than, as to date, just a series of separate approaches to each single stock.
To date despite a growing interest in this theme (e.g., Pauly and Murphy, 1982, May 1984), such a generally applicable theory is not yet available, which means that although species inter-actions are known to be real, they cannot always be quantified, much less predicted. In the circumstances, a good deal of ecologically-informed common sense is required from fisheries administrators as well as fishery biologists.
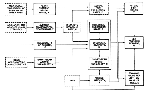
Extension of stock monitoring and assessment principles to fisheries of developing countries cannot depend on a similar long historical development of scientific “groundwork” to guide fisheries scientists and managers, since such a background usually does not yet exist, and there are dangers in the wholesale transplantation of inapplicable methodologies from higher latitudes to these less well known tropical stocks (see e.g., Pauly, 1979). At the same time, hasty inter-pretations from inadequate data will inevitably need to be modified in the light of the systematic, long-term study that will prove to be necessary. It is particularly important therefore that scientists and managers review what is already known about local systems and their properties before descending to specifics in relation to one species or one fishery, and at least encourage some broad-perspective investigation of the local marine systems on which their fisheries depend. In this context, our text does not present a specific set of research strategies. We do suggest, however, that early on in a resource investigation, cataloguing and mapping of resources on an area-season basis, and developing a basic description of the oceanography of the region, as well as of the likely basic fisheries interactions going on there, will be highly desirable bases from which to begin any scientific management of marine resources. Figure 15 presents an example of such an integrated framework for a fisheries investigation that takes most of the types of information needs discussed in this document into account, and could provide the framework to be adapted more specifically to the local situation.

Figure 15 Schematic model for a broad-based ecological and fishery investigation of an exploited natural system (From Regier and Henderson, 1973)