Los mataderos y las instalaciones de elaboración auxiliares dependen considerablemente de los servicios públicos de suministro de energía así como del equipo de acondicionamiento y de transferencia de los productos. Estos suministros de energía guardan relación con:
La interrupción de la recepción de materias primas.
El almacenamiento, condicionamiento y despacho de los productos acabados.
La fabricación de subproductos y la eliminación de las aguas residuales.
La limpieza y el saneamiento.
Los suministros de dichos servicios públicos y de los servicios internos, así como el nivel de mecanización, variarán según el nivel de producción y el grado de elaboración de los subproductos. La disponibilidad de servicios básicos es imprescindible para realizar las operaciones requeridas de una manera higiénica. Esos servicios consistirán en el suministro de agua potable, agua caliente, electricidad (preferentemente trifásica) y, de ser necesario, refrigeración junto con un sistema de carril aéreo a lo largo de toda la instalación. Una planta con esos servicios básicos podrá producir carne fresca y productos de mondonguería, y proceder a la limpieza preliminar de las pieles y cueros y otros subproductos antes de su recogida para elaborarlos en otro lugar. El equipo de producción de energía estará constituido por una pequeña caldera, dos o más unidades de refrigeración y un generador eléctrico o conexiones con la red de suministro público. Todo este equipo puede estar reunido, por razones de comodidad, en una sola sala de máquinas centralmente emplazada. En las secciones respectivas se describen el equipo individual, las recepciones de servicios, los regímenes normales y los subsistemas que es probable se necesiten en diversos departamentos para los diferentes procesos. Un resumen de los tipos de servicios de suministro que se necesitan para diversos departamentos de elaboración especializados se examina a continuación.
Necesidades de energía: el suministro de vapor o de agua caliente para todos los niveles de la producción es tecnológicamente necesario y las aportaciones de vapor necesarias suelen dividirse en dos o tres categorías: de alta y baja presión. La fig. 88 ilustra unos servicios normales de suministro de vapor y agua caliente y fría a un tipo medio de matadero para todas las especies, con departamentos auxiliares para la elaboración de subproductos. Las principales necesidades de vapor se dań en los departamentos de tratamiento o de subproductos (cuando están incorporados) y en menor grado en los pisos donde se efectúa la matanza. La primera carga de vapor es de alta presión, que llega hasta 7 barios, y la última es principalmente una carga térmica de baja presión, que llega hasta 2 barios.
Las cargas primarias de vapor para el departamento de tratamiento y secado de la sangre se incorporan al ciclo cuando los hornos de cocción o los fundidores se conectan. En general, la recepción en este departamento se inicia dos o tres horas después de que haya comenzado en el piso para matar, como se ilustra en la fig. 89, con respecto a un matadero de mediano tamaño para ovejas y cabras. La necesidad de vapor para los hornos de cocción es asimismo cíclica puesto que el fundidor en seco que se incorpora a la cadena requiere menos vapor durante la primera hora de funcionamiento que durante el resto del tiempo que está conectado a la línea. En este departamento se necesita también vapor para los depósitos de grasas, las máquinas centrífugas y los generadores de agua caliente.
En los pisos donde se efectúa la elaboración, el vapor se utiliza, si se dispone de él, para calentar agua como en la instalación de escaldado de cerdos y, a menos que se requiera un calentamiento eléctrico, en todos los departamentos para los esterilizadores. El piso donde se procede a la matanza representa también la mayor proporción de recepción de agua caliente del matadero. Se necesitan grandes cantidades para lavar las canales. Los calentadores de agua o los termopermutadores para el suministro de la planta, pueden estar asimismo emplazados en la sala de calderas.
Se necesitan igualmente vapor o agua caliente para limpiar la instalación después de las operaciones, por lo que se deben suministrar a todos los departamentos, y vapor únicamente para limpiar las cribas de separación de la grasa en la planta de tratamiento de aguas residuales.
Se necesita aire comprimido en el piso dedicado a la matanza, las salas de clasificación de los subproductos y los cuartos donde se corta la carne, si se utilizan herramientas manuales de impulsión neumática. Es posible asimismo que se requiera para limpiar los carritos y en los departamentos de mondonguería. Es conveniente disponer de un sistema de aire comprimido para toda la instalación, no sólo para esas operaciones, sino también para rociar con aceite el equipo después de la limpieza, para las herramientas del taller y para la atomización de los quemadores de aceite combustible o, si se necesita, la flotación del aire a los depósitos de despumación para el tratamiento de aguas residuales.
Las necesidades de electricidad varían según el procedimiento y las necesidades del departamento y a lo largo de las 24 horas del período de funcionamiento. Las principales necesidades se derivan de los procedimientos de tratamiento, las cadenas de carnización y las áreas refrigeradas, aproximadamente por ese orden de necesidades. La demanda nocturna está motivada casi íntegramente por las cámaras de refrigeración y de conservación.
Naturalmente, debe suministrarse refrigeración a todos los congeladores y refrigeradores. La principal demanda es la de las cámaras frías donde el calor corporal se elimina de las canales procedentes del piso donde se ha procedido a la matanza. Esos refrigeradores representan una carga muy fluctuante que alcanza su nivel mínimo por la mañana temprano antes de que comience la matanza y su nivel máximo horas después de que se hayan llenado las cámaras frías.
Los sistemas de refrigeración varían de un matadero a otro, y muchos utilizan el ciclo de compresión del vapor. El medio de transferencia térmica puede ser el amoníaco o algún otro gas, o agua salobre o una combinación de ambos.

FIGURA 88 DIAGRAMA DE SUMINISTRO DE VAPOR, AGUA CALIENTE Y AGUA FRIA PARA UN MATADERO DE TAMAÑO MEDIO Y UNA PLANTA DE SUBPRODUCTOS

FIGURA 89 DIAGRAMA DEL CONSUMO DE VAPOR EN UN MATADERO DE TAMAÑO MEDIANO
Aparte de la eficiencia operativa y las consideraciones de costo, todos los usuarios y proyectistas de sistemas de vapor/agua caliente y de almacenamiento refrigerado deben tener en cuenta la conservación de la energía, elemento importante para los países en desarrollo con recursos energéticos reducidos.
La eficacia de los programas, hay que comenzar a lograrla desde el comienzo de los proyectos cuando se están todavía formulando los parámetros del diseño. En ese momento pueden influir no sólo en la elección de equipo, sino también en el diseño del edificio y en los factores de funcionamiento que repercutirán finalmente en su consumo de energía.
La eficiencia operativa de la mayor parte del equipo de conversión de la energía disminuye radicalmente cuando el equipo funciona por debajo del 75 por ciento del régimen nominal. Actualmente la carestía de la energía impone la necesidad de que las instalaciones tengan las dimensiones adecuadas para que funcionen dentro del campo de eficiencia más favorable (es decir, el 75 por ciento) durante la mayor parte del tiempo. Debido a este “factor del 75 por ciento”, normalmente resulta más eficaz conectar y desconectar dos máquinas pequeñas (lo que se denomina puesta en funcionamiento o en estacionamiento) que una sola máquina grande que opere al 50 por ciento o menos de su capacidad nominal.
Esta eficiencia operativa puede lograrse únicamente mediante la utilización de unos generadores de energía cuyas dimensiones coincidan con un perfil de carga bien establecido. Ese perfil deberá ilustrar el funcionamiento previsto de cada día de la instalación e incluirá lo siguiente:
Días de trabajo con número de turnos.
Fines de semana, y días de fiesta y de ayuno.
Las variaciones climáticas a lo largo del año para determinar las cargas condicionadas por las temperaturas y las máquinas de enfriamiento del aire y de refrigeración.
Las variaciones estacionales o de otro tipo en la disponibilidad de ganado, la demanda de los consumidores y la estrategia de comercialización en relación con la corriente de productos.
Cantidades proyectadas de corriente de productos refrigerados y frescos.
Con esta información se pueden equiparar las cargas mínima, máxima y media con el tiempo de funcionamiento necesario para alcanzar los objetivos de acondicionamiento, y sólo entonces es posible elegir un sistema energético viable.
La introducción de la caldera de casco compacto y tubos más pequeños para el agua (a la que estaban incorporados todos los controles y manómetros) fue un avance importante en el diseño de las instalaciones de producción de vapor y calentar agua. Esa caldera ofrece a los establecimientos las ventajas demostradas de comodidad, conjuntos técnicos completos de fabricación y puesta a prueba de las unidades y de sus instalaciones auxiliares, la rápida puesta en servicio, etc., y se está fabricando actualmente en dimensiones de hasta 750hp y 100 °C. Se pueden ajustar quemadores plenamente automáticos de petróleo, gas o una combinación de petróleo y gas, adaptando de ese modo las unidades a todas las categorías de petróleo y tipos de combustible de gas para cubrir cualquier eventualidad en cuanto al suministro continuo de cualquier clase de combustible.
La generación de vapor a partir de las calderas de tipo tubo de agua, sin embargo, requieren ser alimentadas con agua de alta calidad y una vigilancia constante de la acumulación de sólidos en el agua hervida. Teóricamente el sistema requiere una planta de destilación de agua de alimentación con una alarma automática de salinidad sin la cual los tubos de la caldera se consumirán con regularidad de manera inevitable. Para los países en desarrollo que quieren evitar esos gastos de capital de mantenimiento, la alternativa ideal sería una caldera de tubos refractarios de tres pasos, máquinas que sean fiables, resistentes y flexibles.
Se debe prestar particular atención al equipo de termopermutación que es relativamente más importante para el funcionamiento correcto que otros componentes.
Los evaporadores entrañan sea una termopermutación directa entre el refrigerante primario en ebullición y el aire en movimiento, o en algunos casos se enfrían soluciones de agua salobre de glicol antes de ponerlas en circulación en los refrigeradores por aire. La elección depende en gran parte de consideraciones financieras. En las instalaciones dispersadas se ha de almacenar, enfriar y poner en circulación un volumen relativamente elevado de refrigerante, porque del 1 por ciento al 2 por ciento del refrigerante gaseoso se escapa (o se pierde) cada año y la sustitución de algunos refrigerantes como Freons 12, 22 y 502 resulta cara, por lo que en las instalaciones más importantes hay una inclinación natural a elegir el amoníaco anhidro (que es diez veces más barato que la mayoría de los Freons). Así pues, la elección futura de la instalación depende en gran medida de su tamaño físico, del costo de sustitución y, actualmente, por supuesto, de los efectos sobre el agotamiento de la capa de ozono.
La situación actual con respecto a la política mundial relativa a los clorofluorocarbonos se resume como sigue: utilización del refrigerante R22 hasta que se disponga de sustitutivos, ya que R22 tiene un potencial bajo de agotamiento del ozono; adopción de disposiciones adecuadas en el diseño para el mantenimiento de sistemas que garanticen una larga retención del refrigerante; la inclusión de un espacio de acceso para verificar los escapes; alarmas de detección e inspecciones regulares; la exigencia de que el refrigerante se recicle en las instalaciones de renovación o de recuperación. Análogamente para el aislamiento de las cámaras frías se debe evitar la utilización de los clorofluorocarbonos. Entre esos materiales se han de incluir a los poliuretanos y a las espumas fenólicas, así como el poliestireno moldeado por extrusión y las espumas rociadas por aerosoles.
Los condensadores suelen también descuidarse en el diseño. El enfriamiento de agua parece una opción automática a menos que las condiciones locales como los costos, la escasez o el contenido químico del agua sean negativas. Un condensador se ha de comprar “con todo”, es decir, teniendo en cuenta el costo de digamos cinco años de mantenimiento, la sustitución de tubos, la eliminación de escamas y el tratamiento químico. La refrigeración por aire con los nuevos perfeccionamientos de los ventiladores de modulación sensibles a temperaturas más bajas es muy recomendable, pero es preciso efectuar un estudio comparativo que tenga en cuenta todos los factores.
La elección de una planta automática de alta velocidad puede estar justificada para grandes proyectos, pero con mucha frecuencia en los países en desarrollo el elevado costo de los expertos de mantenimiento de los sistemas electrónicos automáticos no se ha tenido en cuenta. A menudo se instalan sistemas de control complicados a cientos de kilómetros del experto más cercano al que se puede recurrir para mantener y ajustar esos sistemas, mientras que hay razones para optar por una planta segura de manejo manual con compresores de relativamente reducida velocidad que incluso un mecánico sin experiencia puede mantener. (7). La elección sólo se debe efectuar después de haber estudiado a fondo todos los factores. En lo que al costo se refiere exclusivamente, para plantas pequeñas de hasta 50 toneladas de capacidad de refrigeración, una planta automática de Freon 22 con un control mínimamente perfeccionado es probablemente la más barata. Análogamente, a este nivel el costo de las unidades de condensación de agua fría es ligeramente inferior al de las unidades de refrigeración por aire, incluso cuando el agua se bombea y se ha de prever una torre de refrigeración. Además, la aplicación creciente de máquinas de refrigeración por aire frío tropieza con el problema de la economización de energía. No obstante, es necesario prever el aumento de la escasez de agua de refrigeración y el hecho de que su bombeo y tratamiento requiere asimismo un gasto de energía y que en los países en desarrollo simplemente no se dispone de agua suficiente. La elección cuidadosa de las condiciones óptimas de temperatura asume aún mayor importancia que cuando se utilizan máquinas de refrigeración por aire.
Suministro de agua: se necesita agua potable de una calidad aceptable y, a este respecto, las pruebas prescritas por el Servicio de Salud Pública de los Estados Unidos en “Normas Relativas al Agua Potable” constituyen una guía útil.
Casi todas las tuberías de bajada de agua caliente deben disponer también de agua fría para obtener la temperatura deseada. Por otró lado, su utilización en los pisos destinados a la matanza para las operaciones de limpieza es obligatoria. Es necesario dispersar agua fría o caliente para quitar la sangre, los tejidos y fluidos de los animales de las canales inmediatamente antes de la inspección. Además, se necesitan considerables cantidades de agua para las operaciones de preparación y limpieza de la instalación. En los países en desarrollo el índice de utilización y disponibilidad de recursos energéticos es uno de los elementos que se tienen constantemente en consideración, hasta el punto de que, a menos que la exigencia de unos niveles higiénicos muy elevados imponga otra cosa, la disponibilidad de unas reservas de mano de obra ilimitadas significa que el contenido de trabajo en las operaciones de los mataderos y fábricas de carne puede ser alto y la mecanización reducida. Incluso, otras economías fácilmente obtenibles en las operaciones y otras formas de energía son opciones que se deben tomar en consideración con carácter muy prioritario.
El ahorro en la generación eléctrica puede ser la primera prioridad de la lista, seguida de la economía en el uso de vapor y de agua caliente, en otras palabras, “una buena administración”. La limpieza de las canales, las paredes y los suelos y el equipo requieren un caldeo considerable. Por ejemplo, seis mangueras que aporten 22 litros de agua por minuto a 71 °C durante un período de limpieza de cuatro horas consumirán hasta 7600 KJ de calor cuyo costo variará según el tipo de combustible utilizado y las modalidades de turnos de la planta. Tanto el consumo de agua como el de calor en los procesos de limpieza puede variar ampliamente en función de la eficacia de la supervisión del personal de limpieza.
La energía solar, pese a sus costos de instalación relativamente elevados, es una opción que no se debe descartar en los países en desarrollo ya que la mayoría de esos países están situados en latitudes donde su aprovechamiento tiene las máximas posibilidades potenciales de éxito comercial.
Hasta la fecha la experiencia muestra que la aplicación de la energía solar debe dar los resultados más favorables para calentar agua para una instalación (se podría calentar de manera económica aproximadamente la tercera parte) y el caldeo de los digestores de las aguas negras. Concretamente:
el agua caliente tiene el máximo potencial y en una instalación de elaboración de carne la cantidad que se podría suministrar económicamente por medio de la energía solar varía de un 30 por ciento a un 90 por ciento según el emplazamiento;
los colectores solares producen eficiencias superiores en las plantas de elaboración que funcionan siete días a la semana que en las que funcionan cinco o seis días por semana. El equipo solar es particularmente caro para una instalación en que el funcionamiento no es continuo. En esas circunstancias, se necesitaría un sistema de energía auxiliar.
Obviamente una nueva instalación tendría la ventaja de integrar el sistema con la estructura general (fig. 90). Los mataderos, con sus superficies de tejado comparativamente grandes, particularmente en sus corrales, están en una situación favorable en lo que respecta a las superficies de placas planas colectoras suficientes integradas a la estructura del tejado sin tener que modificar su diseño en forma muy apreciable. Por otro lado, una planta existente que trata de disponer de la superficie de recolección necesaria mediante nuevas estructuras especiales debido a que los edificios existentes no puedan soportar ninguna carga adicional, tropezaría con el problema de que los colectores tienen que estar despegados del suelo y no existen paredes, por lo que haría falta concebir estructuras de sostén para soportar una gran carga de viento con los consiguientes cimientos pesados que no se necesitarían si las estructuras estuvieran cerradas. Esas obras representan un considerable aumento del costo global.
Las normas modernas de higiene de la carne exigen que los animales se preparen alejados del suelo y que sean transportados suspendidos en el aire. La continuidad que permite este sistema con un nivel aceptable de higiene y el mantenimiento de un buen nivel de producción puede también conseguirse recurriendo a un sistema de transporte por carril aéreo de instalación manual o mecánica (cadena impulsada por un motor). Los sistemas de carril aéreo de impulsión mecánica evitan el contacto manual con la superficie de la carne. El contacto de la superficie de la carne con piezas del equipo, paredes, marcos de puerta, etc., que a menudo se produce durante una manipulación manual, se evita también. De ahí que en la superficie de la carne sea menor el número de bacterias.
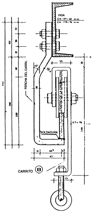
Sistemas de carril: Existen dos sistemas fundamentales: de barra plana (fig. 91) y de carriles tubulares (fig. 92) ambos basados en el mismo principio, a saber: las canales y sus partes se agarran a los carritos dotados de ganchos de transporte, y esos carritos pueden deslizarse o rodar a lo largo de los carriles. La barra plana es rectangular y tiene unas dimensiones de 15×70 mm con una pequeña variación en la dimensión de los carriles para sangrar. Este sistema puede ser de barra única o doble o adoptar la forma de un transportador de un solo carril de forma en I. El carril tubular es un carril de tubería hueca o sólida cuando se trata de carriles para sangrar bovinos y normalmente tienen unos 30mm de diámetro.
Con cualquiera de los dos sistemas la preparación requerirá conectar los carriles del brochal y los carriles en reserva con los transversales y las interconexiones también por medio de cambios de dos y tres vías, construidos de acero o hierro fundido y manejados manualmente. Además, cada cambio de vía está dotado de contrapesos para que se cierre automáticamente cuando las cargas entran en el cambio de vía de dos de las cuatro direcciones. Ambos sistemas pueden utilizarse para las operaciones de matanza, deshuesado y refrigeración. El producto se puede impulsar a mano colgado a lo largo del carril aéreo o por medios mecánicos, y conviene mantener el mismo sistema hasta los vehículos que transportan la carne.
La red de carriles debe estar constituida por materiales no corrosivos. Esto se aplica no sólo al carril de transporte propiamente dicho, sino también a sus accesorios como los puntales y las vigas, que son todos de acero. Basta con que todas las piezas de la red de carriles estén galvanizadas, al haberse obtenido con este método buenos resultados en la práctica. La galvanización en caliente hace innecesario cualquier otro tratamiento de la red de carriles, aparte de su limpieza periódica.

DATOS TECNICOS
Area de captación, 750 m2; inclinación, 15°; orientación, 24° Noroeste.
El matadero utiliza diariamente de 300 000 a 500 000 litros de agua caliente.
La instalación solar precalentará 120 000 litros de agua a una temperatura de hasta 20° al día.
Extensión total de las tuberías: 300 metros.
Velocidad de circulación del agua: 11,5 litros/seg.; bomba centrífuga acoplada cerrada con motor de 1,5 kW.
FIGURA 90 INSTALACION PROPUESTA DE ENERGIA SOLAR UTILIZANDO EL TEJADO DE LOS CORRALES
| ![]() |
| Sistema de dos barras planas | |
![]() ![]() | ![]() |
| Detalles y dimensiones de la construcción |
FIGURA 91 CARRIL DE BARRA PLANA CON CARRITO
![]() | ![]() |
| Gancho deslizante “euro” para animales pequeños | |
![]() | |
| Cambios automáticos de carril para instalaciones de carril de barra redonda | |
![]() | ![]() |
| Carril de barra redonda con gancho deslizante | Carril de barra redonda con polea |
FIGURA 92 DETALLES DEL CARRIL DE BARRA REDONDA
Por razones de costo, simplicidad e higiene se prefiere el carril tubular al plano. Sus cambios de vía complicados, sus ruedas perfeccionadas o sus cojinetes de rodamiento, sin embargo, hacen poco atractiva para los países en desarrollo su importación con miras a su futura fabricación, particularmente dado que frecuentemente pueden fabricar una parte, aunque no la totalidad de una red de barras planas. Por añadidura, la rueda del carrito de 100mm de diámetro de este sistema tiene una ventaja mecánica evidente con respecto a la rueda del cilindro mucho más pequeña del carril de barra redonda. Este aspecto es aún más evidente, por supuesto, cuando se considera conveniente utilizar ganchos deslizantes para transportar las canales de bovino. Este factor es importante para muchos países en desarrollo donde se debe tener en cuenta que la estatura y resistencia física de sus operarios puede ser inferior a la de sus homólogos occidentales. Otras ventajas y desventajas secundarias de ambos sistemas son los posibles efectos negativos de escasa importancia en la higiene de la planta. Con el carril plano son los cilindros los que necesitan una lubricación regular así como otras medidas preventivas para que ni ellos ni el carril de barra plana se corroan. Los ganchos deslizantes para operaciones manuales con carriles tubulares entrañan la necesidad de engrasar y lubricar la parte superior del carril, con la desventaja de que la grasa y el polvo de metal acumulados pueden contaminar la carne y los despojos suspendidos. Para países que desean unos sistemas de transporte de la carne aislados o refrigerados, los sistemas de barra redonda tienen ventajas. La carne lista para el despacho (costados de los cerdos, cuartos de bovino y canales de ovejas) pueden colgarse de carriles guía, que tienen claras ventajas en los camiones de los transportistas. El peso del gancho es la mitad que el del gancho del cilindro, por lo que resulta posible trabajar con mayores cargas. Por otro lado, el techo del camión puede quedar justo por encima del carril, en cuyo caso si se utilizan ganchos de cilindro, el techo tendrá que ser más alto debido al gran diámetro de la rueda del carrito ya que está incrustada encima del carril.
Nuevos perfeccionamientos: Aparte del empleo de aleación de aluminio para los carriles de barra únicos y dobles, con lo que se consigue reducir mucho el peso, la principal innovación ha sido el empleo de politileno de alto peso molecular para los sistemas de carriles de barra redonda. (8). El problema del engrasado frecuente de los carriles y la elevada resistencia al frotamiento entre las superficies en contacto de los ganchos y el tubo se han superado gracias al empleo de este plástico particular. Varios sistemas nuevos utilizan plásticos, como se muestra en la fig. 93 y sus características innovadoras son las siguientes:
El tubo del carril tubular se construye con una depresión longitudinal en forma de T en su sección transversal. Cuando el carril se instala esta concavidad queda situada en la parte superior y una horma de plástico se mete a presión en ella.
Cuando a los carriles tubulares ya existentes se les agrega una superficie deslizante de plástico, sin tener que cambiar ninguna pieza, se puede conectar al carril un ajustador de plástico mediante perforación y rematadura.
Se utiliza un tubo de plástico en lugar de un tubo de metal.
Para el sistema de carril se utilizan barras planas que son fáciles de instalar y a ellas se fija una pieza de material plástico cuya forma permite que el gancho deslizante tenga una superficie de contacto análoga a la del carril tubular tradicional y que se guíe también lateralmente.
En las figs. 93 y 94 se dan detalles sobre la fabricación, suspensión y espaciamiento de los ganchos de suspensión de los sistemas de carriles.
En la sección relativa a la preparación de las canales de bovinos ya se han descrito diversos elementos del equipo de manipulación de los productos. No obstante, aparte de la carne de las canales, se verá que existe un considerable volumen de subproductos que se tienen que manipular y trasladar de los pisos donde se efectúa la matanza para que se limpien, almacenen, elaboren parcialmente o despachen en otros lugares, según los objectivos de la producción y los requisitos de higiene.
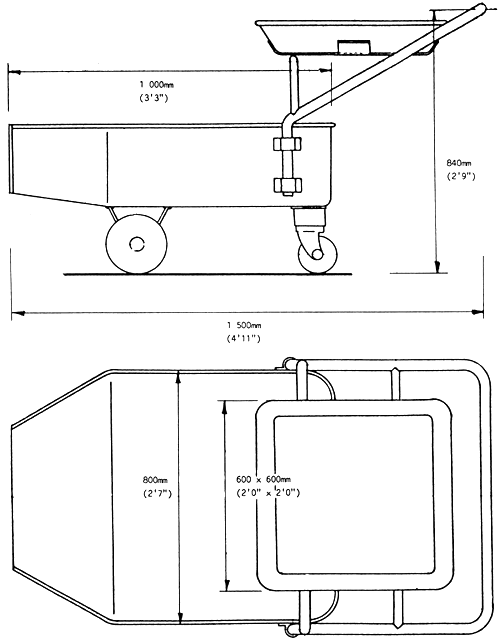
Para producciones pequeñas o medianas en los mataderos de un único piso, gran parte del material se puede manipular empujando carretas con ruedas hasta la sala correspondiente situada frente al punto donde se retira de la cadena de carnización respectiva. Existen diversos vehículos para atender a las diferentes necesidades de los distintos subproductos, especialmente los que es necesario inspeccionar antes de que salgan de la nave de carnización. Se dispone de carretillas con perchas para inspeccionar las cabezas y las lenguas (fig. 95). Los cueros y las pieles es preferible transportarlos en carretas a arrastrarlos a través del suelo desordenado y húmedo de la nave de carnización hasta un almacén o conducto.
La manipulación de las tripas extraídas plantea un problema cuando se trata de bovinos debido al tamaño y peso de toda la tripa y a la necesidad de inspeccionarla con su canal. Mesas móviles y fijas de diversas formas para las vísceras (figs. 35 y 36, respectivamente) constituyen un punto central de evisceración que permite la inspección adecuadamente organizada de todas las vísceras. Con todo, se debe evitar la construcción de una mesa demasiado larga semejante a las de corredera para las vísceras en las fábricas de carne con producciones mayores, por ser contraria a las normas aceptables de higiene, porque las vísceras en buen o mal estado, infectadas o no infectadas, van a parar a un mismo lugar donde la esterilización es difícil o imposible. Los sistemas en cadena con sus operaciones parciales en el mismo piso, como la preparación en mesa, permiten que las tripas se dejen caer en la carretilla de mano adecuada (fig. 96), y luego trasladadas a la mesa para tripas o a un piso superior por medio de un polipasto (fig. 97) o a un conducto para trasladarlas a un piso inferior (figs. 62 y 63). Si la producción aumenta considerablemente, la necesidad de una multiplicidad de carretillas podrá provocar un problema de congestión hasta el extremo de perturbar el flujo regular de las operaciones y de reducir las normas higiénicas.

FIGURA 93 TIPOS DE CARRILES TRANSPORTADORES CONSTRUIDOS DE MATERIAL PLASTICO

FIGURA 94 DETALLES DE LOS ACCESORIOS DE APOYO Y ESPACIAMIENTOS DE LOS CARRILES DE BARRA REDONDA Y DE BARRA PLANA
Criterios para el diseño de los conductos: El desplazamiento impulsado por aire comprimido de las tripas y otros materiales tiene ventajas en los mataderos de una sola plantas, pero no cuando son de varias plantas, en cuyo caso los conductos representan el método más sencillo y barato para un desplazamiento rápido. Es necesario, no obstante, prestar la máxima consideración a su diseño y emplazamiento. Los diámetros y los ángulos son fundamentales, especialmente para las tripas, que están llenas (no es higiénico que se proceda a la apertura y al vaciado en la nave de carnización) y explotan al chocar contra el lado de un conducto o contra la mesa de recepción, si se transportan demasiado rápidamente. Los ángulos máximos y mínimos recomendados para los conductos y deslizaderos comunes son los siguientes:
Si el material trasladado por el conducto es duro, es decir, la cabeza o las patas, etc., o si se trata de una tripa de bovino que ha sido abierta y limpiada, el ángulo máximo podría tener 60 grados y el mínimo 15 grados desde la horizontal. Para materiales blandos (por ejemplo, los estómagos y las entrañas), el ángulo no debe ser superior a 35 grados como máximo ni inferior a 15 grados como mínimo desde la horizontal. Para las pieles y los cueros, los conductos pueden ser verticales con un ligero giro en la parte inferior y, en aras de la simplicidad de construcción, podrían tener una sección cuadrada o rectangular en cuyo caso sus dimensiones deberían aumentar en el 25 por ciento. Todos los conductos deben estar dotados de un cierre de contrapeso en su base para permitir cierto grado de control o retención del material. Los diámetros mínimos recomendados se indican en el cuadro 4.
Cuadro 3: Conductos - Diámetros
| a) | Conducto para vientres: | - De bovino: | 480 mm; | de cerdos y ovejas: | 300 mm |
| b) | Conducto para cuero: | - De bovino: | 620 mm; | de ovejas: | 480 mm |
| c) | Conductos para cabezas: | - De bovino: | 620 mm; | de cerdos y ovejas: | 480 mm |
| d) | Conductos para patas: | - De bovino y de animales pequeños: | 300 mm | ||
| e) | Conductos para entrañas: | - Para todas las categorías de animales: | 380 mm | ||
| f) | Conductos para tripas: | - Para bovinos solamente: | 300 mm |

FIGURA 95 CARRETILLA PARA EL TRANSPORTE DE CABEZAS

FIGURA 96 CARRETILLA PARA LA INSPECCION Y EL TRANSPORTE DE VISCERAS

Nota:
Estos polipastos son particularmente adecuados para la
manipulación de material no comestible como las tripas y las pieles
y los cueros.
Los armazones y las cubetas están fuertemente galvanizados. Un motor con cabezal de engranaje de 1 HP alza las cubetas hasta el nivel de la planta superior o entresuelo para descargar su contenido en una tolva.
FIGURA 97 POLIPASTO DE RESORTE PARA LEVANTAR MATERIALES NO COMESTIBLES DE LA NAVE DE CARNIZACION DEL PISO PRINCIPAL
El equipo y los utensilios de manipulación de los productos anteriormente mencionados deben estar fabricados con materiales aceptables, es decir, con materiales que se resisten al deterioro causado por el uso normal y por agentes químicos o de limpieza.
Los materiales deben ser de superficie lisa, resistentes a la corrosión y a la abrasión, a prueba de rupturas, no tóxicos, no absorbentes y no susceptibles de manchar o de incorporarse al producto.
Con excepción de las planchas para cortar, el equipo debe estar construido con un material resistente al orín, como el acero inoxidable, de calidad análoga a 18–8 (serie 300) DINI.4301, ASIS.2333, que es aceptable para uso general. El metal galvanizado, adecuado para cierto equipo, por ejemplo, los conductos para pieles y cueros, no es deseable debido a que no es lo suficientemente resistente a la corrosión causada por productos alimenticios y compuestos de limpieza. Cuando se utilice, debe tener la uniformidad de un galvanizador comercial por inmersión en caliente de alta calidad.
El acero puede emplearse para las construcciones de sostén, si está galvanizado (por inmersión en caliente) después de su fabricación o pintado. El aluminio corroe cuando está expuesto a ciertas sustancias químicas y se limita a aplicaciones en que el metal no está en contacto con el producto. Los revestimientos de superficie son aceptables a condición de que conviertan a la base de metal en no corrosiva y correspondan a la definición de un material aceptable. Los plásticos adecuados para entrar en contacto con un producto y considerados físicamente aceptables para la utilización a que se les destinan, incluyen también productos de hormigón reforzado con vitrofibra y de fibra de vidrio estratificada.
Entre los materiales no aceptables para equipo de manipulación de productos comestibles cabe mencionar los siguientes:
El cadmio y el antimonio no se pueden utilizar de ninguna manera.
El plomo no se puede utilizar en el equipo salvo si se emplean ciertas aleaciones en una cantidad que no supere al 5 por ciento.
El esmalte y la porcelana no son aceptables para ningún fin puesto que pueden romperse o quebrarse.
El cobre, el latón y el bronce cuando se utilizan en contacto con grasas y aceites provocan descoloración y reducen la calidad de conservación de las grasas. Pueden utilizarse en cañerías para aire y agua y en engranajes y cojinetes fuera de la zona del producto.
Las normas precedentes guardan relación y se formulan en beneficio del bienestar de los animales y la higiene de los alimentos y no tienen relación concreta con los requisitos o las opciones relativos a las estructuras, pero a este respecto hay consideraciones importantes que se deben tener en cuenta como se examina a continuación.
En el capítulo 9 se examinan las diversas formas de construcción resultantes de variables de las funciones, los servicios y la producción.
Las concepciones de edificios determinadas por esas exigencias parecen casi ilimitadas y, en lo esencial, se puede conseguir un acabado higiénico con una estructura de hormigón armado o de acero estructural embutido en hormigón. La estructura, además de soportar la carga normal y las cargas superpuestas comunes a cualquier tipo de edificio, tendrán que contener una suspensión de carriles aéreos de los que se colgarán las canales y el equipo de tratamiento conexo, a menos que exista un sistema independiente de una estructura de acero secundaria para el mismo fin bajo un tejado de tipo paraguas.
La elección de la forma del edificio puede estar en gran parte determinada por el proceso. Sin embargo, si se dispone de grandes espacios de suelo ininterrumpidos y de amplios espacios libres encima, las limitaciones impuestas por las necesidades del proceso pueden reducirse considerablemente hasta un punto en que esos factores (visuales, ambientales y estructurales) puedan asumir una mayor prioridad en la formulación del diseño.
En las estructuras de varios pisos, la carga total del suelo y las cargas de suspensión pueden ser extraordinarias, incluso si se aplican soluciones de un único piso con una carga normal del techo. Se debe tener en cuenta que en las naves de carnización de bovinos en particular las cargas superimpuestas del proceso suspendidas de un techo macizo están balanceándose y chocando, debido a lo cual esa situación está más cerca de la carga de una grúa que de una carga normal sobre el suelo y que, para conseguir la máxima desviación las autoridades podrían recomendar o considerar apropiado unos límites-espacio horizontal/500 o más de hormigón armado. Desde luego, para las áreas de desangrado de los bovinos sería prudente prever un sistema de vigas (más que la suspensión directa de un techo macizo de hormigón armado) con una profundidad mínima de digamos 200 mm a 300 mm, es decir, una relación distancia horizontal/profundidad = 20.
Aunque las cargas suspendidas en las naves de carnización de bovinos son máximas en el área de elaboración hasta el punto en que se procede al descuartizamiento de la canal, las hipótesis del diseño estructural deben ser comunes por toda la instalación porque, pasado ese punto, aunque las canales están divididas en mitades a menudo se juntan imponiendo así una carga análoga a la de la canal completa, y lo mismo sucede después de las operaciones de preparación de los “animales pequeños” (canales de cerdos, corderos y terneros) y los despojos mixtos están colgados en grupos o montones de un único carril y en el caso de las canales de cordero pueden también agruparse de dos en dos imponiendo unas cargas de suspensión comparables a las canales de bovino.
Las cargas normales de suspensión por metro de carril transportador pueden oscilar de 74 kg/m para una argolla de desuello de ovejas hasta 800 kg/m para una canal de bovino pesado no preparada. En el cuadro 5 y en la fig. 98 se indica todo un conjunto de cargas habituales de suspensión. (En la fig. 94 se indican los espacios entre los ganchos de suspensión).
Se necesitan acabados especiales en la estructura principal del edificio, es decir, los marcos, las paredes, los suelos y los techos en todas las áreas de trabajo de un matadero o en las salas de elaboración de productos comestibles. El acabado debe ser higiénico y no escurridizo y tener la capacidad de soportar las situaciones rigurosas que se describen a continuación:
Daños derivados de los procesos de elaboración: Además de los daños causados a los materiales por la acción de las sustancias químicas y el agua, los cuartos de trabajo están sometidos a un grado anormalmente elevado de desgaste debido a las actividades de elaboración. El tipo de actividades que se llevan a cabo en un cuarto de trabajo hace inevitable los daños. Un uso descuidado o la caída de cuchillos de carnicero, rodillos, argollas y cadenas pesadas o el paso de las carretillas y los transportadores pueden causar daños los suelos y paredes. Los transportadores de canales y despojos suspendidos cerca de la pared pueden también ocasionar daños a ésta. Un diseño adecuado puede reducir la probabilidad de que se produzcan daños, pero el material de superficie debe ser duro y capaz de resistir los impactos.
Necesidad de suelos no escurridizos en las naves de carnización y otras áreas de trabajo: Los matarifes utilizan la fuerza física y deben, por lo tanto, tener una base firme para actuar con seguridad y con confianza en su trabajo con cuchillos y otros instrumentos. La combinación de un suelo mojado y de cantidades de sangre y grasa animal produce una superficie muy resbaladiza. El material utilizado para los suelos debe poseer una cualidad innata no deslizante o prestarse a la formación de una superficie no escurridiza durante la construcción.
Necesidad de materiales especiales para las paredes: La matanza inevitablemente produce el esparcimiento de sangre, grasas, materia proteínica y estiércol en las paredes de las áreas de trabajo, por lo que las propiedades de resistencia exigidas de los materiales de las paredes son análogas a las exigidas con respecto a los suelos. Si los materiales de acabado no tienen la suficiente resistencia a los choques, a las diferentes formas de daños mecánicos descritas habrá que añadir la formación de grietas y otros daños en la superficie que además de servir de refugio a bacterias harán más vulnerables las superficies del suelo y de las paredes a ataques localizados bioquímicos y corrosivos. Aparte de la resistencia a los choques, por consiguiente, consideraciones prácticas de buena administración e higiene hacen esenciales y ventajosas otras cualidades que se describen plenamente a continuación.
Impermeabilidad: Los materiales deben ser no porosos y resistentes al agua. Deben poderse limpiar con facilidad. Estos requisitos se prescriben de manera explícita en la mayor parte de los reglamentos. Deben poder también resistir un lavado repetido con mangueras de vapor. Resistencia química: Cuando se utilizan detergentes fuertes para la limpieza, las superficies deben ser resistentes a los ataques de sustancias químicas, particularmente de los álcalis (la mayor parte de los detergentes son álcalis fuertes). Resistencia a la acción bioquímica y bacteriológica: La resistencia al ataque bioquímico tiene suma importancia en los mataderos, donde los suelos y las paredes están expuestos a los efectos de las grasas y proteínas animales dispersadas, la sangre y los excrementos. Este material de desecho del proceso de la matanza proporciona nutrientes para el crecimiento bacterial y produce ácidos orgánicos que atacan las superficies.
![]() | ![]() |
| Canal pesada de bovino en un carril de desangrado | Canal de bovino en relación con diversas plataformas de paso |
![]() | |
| Canales preparadas de cerdo y oveja en relación con la mesa de inspección | Canales en un carril de desangrado |
FIGURA 98 DIVERSAS FORMAS DE CANALES EN RELACION CON LAS PLATAFORMAS DE CARRILES AEREOS Y LOS MEDIOS DE INSPECCION
Suelos: Ladrillo, losa, acabado de granolito de hormigón no deslizante u otros materiales impermeables no deslizantes son adecuados para los suelos (fig. 99).
Desagües: Para sacar los líquidos de desecho debe haber un número suficiente de desagües de tamaño adecuado que estén correctamente emplazados/encajados y provistos de aperturas. Todos los suelos deben estar inclinados hacia los desagües. Para una eliminación adecuada de los desechos, se necesita un desagüe por cada 18 m2 de espacio de suelo en las áreas de carnización, y cada 46 m2 en las áreas de elaboración y otros lugares.
Paredes y techos: Losas barnizadas, mortero de cemento liso, láminas de metal a prueba de orín o láminas de plástico lisas que estén adecuadamente cubiertas son materiales aceptables para las paredes en las áreas de elaboración y refrigeración porque todos ellos se pueden limpiar de manera sanitaria. Otros materiales son igualmente aceptables si se pueden limpiar de manera satisfactoria. Las junturas de las paredes y los suelos deben estar protegidas (fig. 100). Los techos deben ser impermeables y lisos y no soltar partículas que puedan caer sobre los productos de la carne. Deben estar construidos con materiales resistentes a la humedad. Todas las bombillas deben estar cubiertas con materiales irrompibles para evitar que piezas rotas caigan sobre los productos.
Puertas y vanos: Todos los vanos de las puertas a través de los cuales deban pasar los productos, ya sea colgados en carriles o tendidos en carretillas, deben ser lo suficientemente anchos como para que la carne no toque nunca los marcos de las puertas y evitar así la posibilidad de contaminación. Si las puertas y los vanos de las puertas son de madera, deben estar cubiertos con láminas de metal soldadas de manera ajustada.
Iluminación: En todas las áreas en que los productos se examinan meticulosamente durante los controles sanitarios o para limpiarlos, se debe prever una iluminación con una intensidad de 500 lux. Para una visibilidad adecuada se deben prever 300 lux en cualquier lugar donde se proceda a actividades de elaboración. En otras áreas como el almacén en seco, debe haber luz suficiente para mantener los locales saneados y en orden.
EN LA CAPA DE HORMIGON ARMADO
![]() | Acabado del suelo Kieserling de 30 mm |
| Hormigón de taponamiento de 90 mm como minimo | |
| 2 capas de armadura de mallado | |
| Método de penetración de pinturas | |
| Hormigón armado |
EN LA CAPA DE HORMIGON ARMADO CON CARGAS PESADAS
![]() | Acabado del suelo Kieserling de 30 mm |
| Hormigón de taponamiento de 120 mm como mínimo | |
| Método de penetración de pinturas | |
| Hormigón armado |
EN LA GRAVA DE RELLENO
![]() | Acabado del suelo Kieserling de 30 mm |
| Hormigón de taponamiento de 90 mm como mínimo | |
| Método de penetración de pinturas | |
| Grava de relleno |
EN LA GRAVA DE RELLENO CON CARGAS PESADAS
![]() | Acabado del suelo Kieserling de 30 mm |
| Hormigón de taponamiento de 120 mm como mínimo | |
| Método de penetración de pinturas | |
| Grava de relleno |
FIGURA 99 DETALLES TIPICOS DEL GRANITO KIESERLING, EL ACABADO DEL SUELO Y EL SUBSOTANO DE LA NAVE DE ELABORACION Y LA CAMARA FRIA


FIGURA 100 ARISTAS METALICAS DE PROTECCION DE LAS LOSAS DE LA PARED