4.1 Types of freezer
4.2 Freezer
operating temperatures
4.3 Space
requirements for freezing
4.4 Labour
requirement for freezing
4.5
Calculation of freezer refrigeration load
4.6 Ordering freezers
There are now many different types of freezer available for freezing fish, and freezer operators are often uncertain about which type is best suited to their needs. Three factors may be initially considered when selecting a freezer; financial, functional and feasibility.
Financial considerations will take into account both the capital and running cost of the equipment and also projected losses such as product damage and dehydration. Expensive freezers should therefore justify their purchase by giving special benefits and if these benefits are not worthwhile, they need not be considered.
Functional considerations will take into account such things as whether the freezer is required for continuous or batch operation and also whether the freezer is physically able to freeze the product. For instance, a horizontal plate freezer would be inappropriate for freezing large whole tuna.
Feasibility will take into account whether it is possible to operate the freezer in tile plant location. A liquid nitrogen freezer (LNF), for instance, may be suitable in every respect for freezing the product and the high costs of using this method of freezing may be justified. However, if the location of the plant is such that there can be no guaranteed supply of liquid nitrogen, the freezer should not be considered.
Initial considerations such as those mentioned above will eliminate many freezers from the final choice but still leave many options open to the freezer operator. In order to give the reader some guidance in both selection and use of freezers, descriptions of the various types now available for freezing fish are described. The types of freezer likely to be used in developing countries, especially where freezing is a relatively new process, are those that have already been widely used for freezing fish and have therefore been well tried and tested. Freezers in this category are described more fully than others.
The three basic methods of freezing fish are:
The advantage of the blast freezer is its versatility. It can cope with a variety of irregularly shaped products and whenever there is a wide range of shapes and sizes to be frozen, the blast freezer is the best choice. However, because of this versatility it is often difficult for the buyer to specify precisely what he expects it to achieve and, once it is installed, it is all too easy to use it incorrectly and inefficiently.
Before going on to describe the various types of air blast freezer, it is necessary to deal with some of the basic principles of air blast freezer design and operation.
Designing air blast freezers
The use of air to transfer heat from the product being frozen to the refrigeration system is probably the most common method used in commercial refrigeration. The natural convection of the air alone would not give a good heat transfer rate, therefore, forced convection by means of fans has to be introduced. To enable the product to be frozen in a reasonable time the air flow rate should be fairly high. Also, in order to obtain uniform freezing rates throughout the freezer, the air flow requires to be consistent over each fish or package.
Examination of Figure 5 shows that at very low air flow rates the freezing time is long. A single fillet for instance will take 4 times as long to freeze in the relatively still air in a cold store as it would in a properly designed air blast freezer. Figure 5 also shows that a high air speed, which also means high fan power, freezing times will change very little with further increases in air speed. A design air speed of 5 m/s has been found to be a good compromise between slow freezing rates and high fan costs and this air speed is recommended for most air blast freezers.

Continuous air blast freezers may economically justify air speeds in excess of the above-recommended value. Continuous freezers are expensive and require a good deal of floor space. If the air speed is increased and the freezing time reduced, a smaller freezer will be required for a given freezing capacity. The savings in freezer costs may therefore justify the use of higher air speeds. Air speeds as high at 10 to 15 m/s may therefore be economically justifiable for continuous freezers. Higher airspeeds can also be justified when products have freezing times of less than about 30 mins.
The air flow over the surface of a product being frozen cannot be measured simply. In reality the air immediately adjacent to the surface of the product is stagnant due to the friction between the air and the surface of the product. This stagnant air forms a boundary layer which acts as a resistance to heat transfer. The layer thickness depends on air velocity, degree of turbulence and other factors. The air speeds quoted for air blast freezers are therefore only average speeds for the spaces between the fish or packages of product being frozen. A simple calculation which shows how this average air speed is derived is shown diagrammatically in Figure 6.

| Calculated cross sectional area of tunnel,1.1m x 1.0m | = 1.1 m2 |
| Calculated cross sectional area of produce and trolley (shaded areas) | = 0.7 m2 |
| Air flow (obtained from fan rating or measured in open part of tunnel) | = 2.0 m3/S |
| Calculated average air velocity, 2.0 ÷ (1.1-0.7) | = 5 m/s |
Another aspect of air flow rate that has to be considered in the design of a freezer the permitted temperature rise over the product. If the temperature rise is too great, the will be differences between the freezing times of products placed upstream and downstream in the freezer space. The differences in freezing time can be calculated by the method shown in Chapter 5. If the air temperature rise in the freezer is too small then it is possible that t freezer design is poor, the quantity of air being circulated is too high and more powerful fans than necessary are being used to maintain the recommended air speed.
Table 3 Fan power requirement for a continuous air blast freezer
| Air velocity over product (M/S) |
Freezing section pressure drop (mm water gauge) |
Fan static pressure (mm water gauge) |
Fan power (kW) |
| 5.5 | 1.8 | 17.3 | 6.26 |
| 11.0 | 9.5 | 25.0 | 7.16 |
However, from Table 3 it can be seen that (in a well designed blast freezer) the increase in fan power required to double the air velocity over the product is no more than 15%.
Even in a good air blast freezer, the fan load can account for 25 to 30 percent of the refrigeration requirement and in a poor design it has even been known for the fan load to exceed the product load. No firm recommendation can be made about the permissible rise in temperature but an average air temperature rise of 1 to 3 degC is reasonable and may be used as a guide. This temperature rise will depend on the heat load; therefore it will be higher at the start of a freeze than at the end. The average temperature rise is therefore calculated from the total heat extracted from the fish and the weight of air circulated during the freezing period. The following sample calculation is used by way of illustration:
| Weight of fish frozen | 100 kg |
| Heat content of 1 kg of fish (+ 8°C to -30°C) | 80 kcal/kg |
| Total heat to be extracted 90 x 100 = | 8000 kcal |
| Freezing time | 2 h |
| Fan circulation rate | 2.5 m3/s |
| Density of air | 1.45 kg/m3 |
| Weight of air circulated during freezing | |
| 2.5 x 3600 x 2 x 1.45 = | 26 100 kg |
| Specific heat of air | 0.24 cal/kg °C |
| Average rise in air temperature 8000 ÷ (26100 x 0.24) = | 1.28°C |
Many of the faults of air blast freezers can be attributed to insufficient or non-uniform air flow over the product. Air must be directed to flow uniformly over the product and not merely be blow into the freezer space to find its own way to where it is required. Air will normally take the path of least resistance. Many of the faults of air blast freezers are due to the low resistance paths which allow air to be diverted from its main work - transfer of heat from the surface of the product.
Given a free choice, the designer should position the fan before the cooler. The cooler provides a relatively high resistance to air flow and this helps to even out the flow. Air leaving an axial fan is also imparted with a whirling motion and the fins of the cooler act as a flow- straightener.
However, if proprietary unit coolers are used the designer may have no choice. Unit coolers generally have lower capital costs then separate fans and coolers.
When air changes direction in the freezer, there are difficulties in maintaining uniform distribution, and air flow over the product may be variable (Figure 7). There are a number of ways of solving this problem by using vanes, baffles and plenum chambers. In Figure 7 the air is shown to be correctly distributed by using suitably designed and properly spaced turning vanes. The air may also be redistributed by means of baffles which are spaced so that the pressure resistance across the section results in an even flow. It is difficult to predict the exact pattern required for correct redistribution of the air, and to compensate for this the baffles are often made adjustable. This method adds to the total resistance of the system and may mean higher fan power and additional costs. The method however is very simple, allows for readjustment on site and therefore is well worth considering.

Figure 7 Good air distribution in a tunnel air blast freezer using adjustable baffles.
Nearly all air blast freezers operate with finned tube coolers. The fins greatly extend the surface for heat exchange, and the closer the fins the greater will be the surface area and the smaller the cooler unit. Moisture lost from fish during freezing and from air infiltrating into the cooler will eventually be deposited as frost on the cooler surface. If this frost eventually bridges the space between the fins, the effective cooler surface is then reduced, the rate of heat transfer will be reduced and the freezer temperature will rise. There will also be a greater resistance to air flow through the cooler and the air flow rate may be reduced.
Most of the water lost from the fish is lost during the early stages of freezing and in some freezer designs, this will mean a higher degree of frosting on some parts of the cooler than on others. This will effectively reduce the period of operation before a defrost is necessary. Frost build-up on the cooler is also more prolific on the front, upstream coils; therefore a cooler with a large frontal area will be able to operate longer before a defrost is necessary. The specified fin spacing may also be increased where there is likely to be a quick build-up of frost. A good freezer design should be able to operate for at least 8h before a defrost is required but a poor design may require defrosting every 2h.
Types of air blast freezer
There are many different designs of air blast freezer both for batch and continuous operation. Details are given of a number of types of air blast freezer in common use, with comment on their suitability for various products and methods of processing and also on their limitations.
Continuous air blast freezers
In this type of air blast freezer, the fish are conveyed through the freezer (on trucks or trolleys or they may be loaded on a continuously moving belt or conveyor) usually entering at one end and leaving at the other.
When trucks or trolleys are used, they are loaded at one end of the freezer and progressively moved along the freezer as additional trucks are loaded. Once the freezer is full, a truck has to be removed from the exit end before a fresh truck can be loaded. This batch-continuous operation must always allow the coldest air to flow over the coldest fish; otherwise fish which are well frozen will be subject to warmer air as new trucks are loaded. The movement of the trucks in Figure 8 is therefore in the opposite direction to the air flow in the freezing section. One difficulty with this type of freezer is that when the freezer is fully loaded, a whole row of trucks has to be moved at one time. This is particularly difficult at very low temperatures since special bearings and lubricants are required for the truck wheels and it is difficult to keep the trucks free of frost and ice. Trolleys have been suspended from overhead rails to overcome some of these difficulties but this equipment is cumbersome and still not easy to operate.

To avoid moving trucks within the freezer, a batch-continuous freezer can be designed with a cross flow air arrangement and the freezers may then be loaded from the side as shown in Figure 9. Again in this freezer, once it has been fully loaded, a truck is removed before a fresh one is added. It is a simple matter to keep account of the loading sequence of the freezers by having hand-set clock dials above each entrance which will indicate the time the truck or trolley will be ready for unloading. This cross-flow arrangement allows a cooler with a large frontal area to be built, and frost is also deposited uniformly.

Continuous air blast freezers using belts or conveyors for moving the product through the freezer can only be used if the product can be frozen quickly (Figure 10). It is unlikely that a product with a freezing time of more than 30 min would be suitable for this freezer. The reason for the limitation on freezing time is that the freezer will become too long and cumbersome if a long freezing time is required. The freezing time, the freezing requirement in kg/h and the loading density of the product on the belt determine the freezer dimensions.

The following example shows how this calculation is made:
| Freezing requirement | 200 kg/h |
| Freezing time | 18 min |
| Load on belt 200 x 18 ÷ 60 | = 60 kg |
| Belt loading density | 6 kg/m2 |
| Belt width | 1.2 m |
| Belt loading per unit length 6 x 1.2 | = 7.2 kg/m |
| Belt length 60 ÷ 7.2 | = 8.4 m |
Allowing for loading and unloading of the fish outside the freezing space, the length of the freezer required for the above requirement would be about 11.4m.
The space required for a continuous belt freezer can be reduced if a double or triple belt is used (Figure 11), or if the belt is arranged in the form of a spiral (Figure 12).

Partially frozen fish tend to adhere to open metal mesh belts and so do not transfer easily to another belt. Double belt and triple belt freezers are therefore more suitable for products such as battered and breaded fish portions, unless certain features are built into the design of the freezer. The semi-fludized freezer described later is a freezer specially designed for this method of operation. Spiral belt freezers are made in a variety of designs and are widely used for IQF products. Continuous belt freezers, Fig 12, generally have their own special problems. The belt has to be flexible, easily cleaned, non corroding, suitable for use in direct contact with food and should not interfere unduly with either the freezing time or adversely affect product quality. Stainless steel mesh link belts or chain link belts are mainly used for this purpose but they have certain disadvantages. Apart from being expensive, they affect the appearance of the product. If fish are loaded directly on the belt, the crinkled or indented appearance of the frozen product is not always acceptable. Open mesh belts can also give rise to difficulty when removing the product after freezing, and some weight loss may be incurred due to slight physical damage. Skin-on fillets call usually be removed quite easily but skinless fillets and fish portions can stick to the belt and cause unacceptable weight losses.

Plastic belts made in the form of interlocking links have been used in some continuous freezers. These belts, add about 10 percent to the freezing time. They suffer from the same indentation problems as metal mesh belts but transfer is generally easier. However, their larger mesh makes them unsuitable for small products. If they are only used for the initial part of the freezer, the fish can be surface-hardened and then be transferred to a stainless steel belt. This would allow a two-belt operation in the freezer. In spite of these often minor difficulties in obtaining an ideal belt for continuous belt freezers, many are successfully operated for freezing a variety of products.
Continuous belt freezers can be constructed with either cross-flow or series-flow air circulation. In the series-flow arrangement, the direction of air flow must be such that the coldest fish meet the coldest air. The design of the belt entry and exit must keep the rate of air infiltration to a minimum.
In a continuous freezer, there is no scope for rearranging the volume or space for different products. The belt speed, however, is usually variable and this can be adjusted to accommodate different product freezing times. The capacity of a continuous freezer can therefore vary considerable depending on the product being frozen and its freezing time Table 4 is a freezer capacity list supplied by the manufacturer of one type of continuous freezer and it clearly shows there is a wide variation depending on the type of product being frozen.
Table 4 Variations in the capacity of a continuous freezer
| Product | Product thickness (mm) |
Capacity (kg/h) |
| Plaice fillets | 10 | 100 |
| Cod fillets | 18 | 85 |
| Shrimp (whole) | 9 | 55 |
| Shrimp (meats) | 8 | 150 |
Another important consideration when using a continuous air blast freezer is whether the freezer will be used continuously. A continuous freezer left in operation but not fully loaded could give rise to higher freezing costs per kg of product frozen.
Batch air blast freezers. Batch air blast freezers use pallets, trolleys or shelf arrangements for loading the product. The freezer is fully loaded, and when freezing is complete, the freezer is emptied and reloaded for a further batch freeze. Apart from this difference in mode of operation, the batch freezer gives rise to bigger fluctuations in the refrigeration load than continuous or batch-continuous freezers (Figure 13).

This large fluctuation in refrigeration load means that the refrigeration system will require special control arrangements to cater for the variations. Capacity control or a multiunit system can be used or a competent engineer can manually control the system to match the load. Some refrigeration systems are also better suited to this type of variable load application than others.

It is seldom that fish processing can be arranged so that all the fish can be loaded into a batch freezer at the same time. Therefore, if each trolley or pallet is loaded as and when it is ready, the refrigeration peak load will be considerably reduced. This will make the operation similar to a batch-continuous process, but again, care should be taken not to place warm fish upstream of a partly frozen product.
The freezer shown in Figure 14 is a batch tunnel freezer with a push-through arrangement for two lines of trucks. If this design of freezer was used with a batch-continuous operation, warm fish might loaded upstream of partly frozen fish. This freezer should therefore only be fully loaded and operated as a batch freezer.
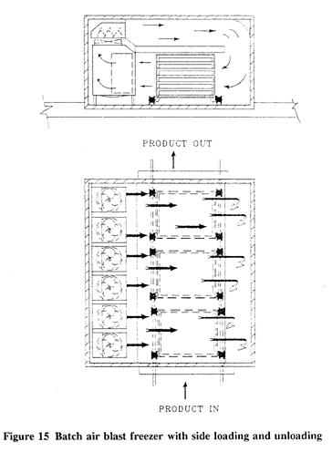
Another batch freezer arrangement is shown in Figure 15. In this model, the trolleys are loaded from the side of the freezer and the air flows across the three trolleys in line.

In some air blast freezers, the cooling coil can be at the same level as the working section (Figure 16). This is a fairly good arrangement since the cooler acts as a diffuser and evens out the air flow immediately before it is directed over the fish.

It can be seen that there is a wide variety of air blast freezer arrangements to suit the requirements of different layouts, operating methods and freezing systems. Some air blast freezer designs are not suitable and some of the faults that give rise to long freezing times are shown in the series of diagrams (Figures 17 to 19).

The freezer arrangement show in Figure 17 is typical of many room freezers that are built. The cooler unit may be mounted at roof level, as shown, or may be a floor-mounted unit. There is no special means of directing the air over the fish and therefore it generally tends to swirl about in the empty spaces in the room and not flow between the shelves or trays loaded on the pallets. The reason for this is that the air takes the path of least resistance and does not readily flow through the comparatively narrow spaces between the product. The air must be ducted so that it has no alternative but to flow over the fish. This is an extremely important feature of a tunnel air blast freezer. Many of the diagrams shown earlier have good layouts which show this.

The incorrect method of loading the pallet shown in Figure 18 seems hardly credible but is often used in commercial practice. The mistake can easily be made by an operator who does not observe the direction in which the battens on the base of the pallet are running. Some directional marking on the top of the pallet base may be advisable. The effect of omitting spacers totally is to increase the effective thickness of the product resulting in an unacceptable increase in freezing time.
Poor air flow over the fish but good air flow through the cooler will result in a freezer operating at a temperature below the design value. Poor freezing conditions therefore often mean a low product loading and the air temperature will fall below the design value.
Fluidized and semi-fluidized freezers. One type of air blast freezer fluidizes the product with a strong blast of air from below (Figure 19). The product then behaves like a fluid and when poured into the trough at the input, it moves along the length of the freezer without mechanical assistance and over-flows at the output. This type of freezer has been used successfully for such products as garden peas which are readily separated and kept apart but, as yet, the freezer has not had a wide application for fish or fishery products. Small cooked and shelled shrimp is one of the few fish products that has been successfully frozen by this method.

A modified fluidized freezer which may be termed a semi-fluidized freezer has also been used for fish-freezing applications (Figure 20). A conventional conveyor is used but at the early stages of freezing, sufficient air is blown from below the belt to agitate the product and ensure that individual portions remain separate until the outer surface has been hardened. This type of freezer can be used with a double belt, with transfer from one to the other midway through the freezing process.

There is however some difficulty in judging the correct air flow to produce the slight agitation required and a fixed flow rate is not suitable if a variety of products are to be frozen. Also, with many products there still remains some difficulty in making the transfer from one belt to the other.
Loading a batch air blast freezer. Because of their versatility, batch air blast freezers are often misused by operators who do not realise their freezing limitations.
The size of the refrigeration plant is fixed to match a given freezing requirement at the designed freezer operating condition. However, if the freezer is used for freezing other products which have different space requirements and freezing times, the freezer operating condition will change. Depending on the original design specification, the freezer may therefore be overloaded or underloaded by a change in product.
The examples in Table 5 show what happens when products of different freezing time are loaded in a batch freezer.
Table 5 Optimum loading of a batch air blast freezer
| Product | Plant Capacity (t/h) | Load per freeze (t) | Freezing time (h) | Loading frequency | Freezing rate (t/h) |
| A | 1 | 2 | 2 | Every 2 h | 1 |
| B | 1 | 1 | 1 | Every 1 h | 1 |
In both examples in Table 5, the freezer is correctly loaded since the product load matches the plant capacity in the weight of fish that can be frozen in 1 h.
The above freezer would therefore be designed to hold 2 t of product A and when product B is frozen, only 1 t will be loaded and the product distributed to give uniform air flow. If however, 2 t of product B are loaded into the freezer at one time, the refrigeration plant will be overloaded.
This is probably one of the most difficult aspects of freezer operation to explain clearly but in simple terms it means no matter how spacious your freezer and how much product can be loaded, you cannot freeze more fish than the refrigeration plant will allow.
Good performance in batch air blast freezers is obtained by freezing the product in open trays without wrapping. Trays used in air blast freezers should transfer heat readily, be easily emptied and also be robust. Normally they are required to produce a pack that is of regular shape but when the product allows their use, trays with a taper on the sides of about one in eight can be emptied by applying a cold water spray on the underside for a few seconds and then giving a gentle tap on the edge. Trays used in this manner should never be filled above the tray edge or the product will be damaged during release.
Cleaning and drying of trays before re-use is necessary to maintain a high standard of hygiene. Where the rate of production justifies the cost, an automatic tray washer may be installed.
The reader will no doubt find other types of freezer available on the market which have not been mentioned. The design of many of these is based on combinations of two or more of the basic methods described. For instance, a variety of freezers make use of both contact and air blast freezing techniques. Other freezers may be identical in every respect with one of the methods described, but may use some other liquid, gas or contact method for heat transfer. These freezers will be seen to be similar to one of the types described and will therefore have the same advantages and disadvantages.
Plate freezers and air blast freezers are the types of freezer most commonly used for freezing fish in industrial countries. Plate freezers do not have the versatility of air blast freezers and can only be used to freeze regularly shaped blocks and packages.
Plate freezers can be arranged with the plates horizontal to form a series of shelves and, as the arrangement suggests, they are called horizontal plate freezers (HPF) (Figure 2 1). When the plates are arranged in a vertical plane they form a series of bins and in this form they are called vertical plate freezers (VPF) (Figure 22).


Modern plate freezers have their plates constructed from extruded sections of aluminium alloy arranged in such a manner as to allow the refrigerant to flow through the plate and thus provide heat transfer surfaces on both sides (Figure 23). Plate freezers are fitted with hydraulic systems which move the plates together and apart.

Horizontal plate freezers. The two main uses for this type of freezer are the freezing of prepacked cartons of fish and fish products for retail sale and the formation of homogeneous rectangular blocks of fish fillets, called laminated blocks, for the preparation of fish portions. The thickness of package or block frozen is 32 to 100 mm and the freezer can readily adapt from the thicker to the thinner package provided the range required is made known to the supplier at the time of purchase. There is no direct contact between the fish and the freezer plates when freezing by this method since the fish is always packaged before freezing. If the operator is also careful not to spill water on the plates during loading and unloading, the freezer may be operated with only a light brush between each freeze to remove surface frost. The door may be left open overnight to allow the plates to defrost fully after being hosed down with warm water. A hot gas defrost arrangement is the quickest method to defrost an HPF, but even with this method, it may take 30 min or more. The defrosted plates must be completely free from frost or ice and dried before the freezer is used again.
Horizontal plate freezers intended to be operated with a hot gas defrost are fitted with additional pipework which allow the cold refrigerant to be discharged from the bottom of the freezer as the defrost proceeds. Without this special pipework and operating valves, a hot defrost would clear the top plates only and leave the cold refrigerant in the plates at the lower levels. As in all hot gas defrost systems, the refrigeration system must have an adequate load to provide sufficient hot gas for an effective defrost. This system would therefore be better applied when there are two or more freezers operated from a common refrigeration system and each freezer will then be defrosted in turn while the others are in operation.
An HPF will only operate correctly if good contact is made on both the top and bottom surfaces of the pack or tray to be frozen. The faults shown in Figure 24 are some of those which make freezing times longer than necessary. If the product is frozen from one side only due to poor contact on the upper surface, the freezing time could be three or four times as long as the time achieved with good contact on upper and lower surfaces. The plates of the HFP are closed by means of a hydraulically operated piston to make contact with the upper surface of the product. The plate pressure applied to the product can easily be varied between 70 x 280 mbar to suit the product and is increased by a factor of two as the fish expands during freezing.

Vertical plate freezers. The main advantage of this type of freezer is that fish can be frozen in bulk without the requirement to package or arrange on trays. The plates form what is in effect a bin with an open top and fish are loaded directly into this space. This type of freezer is therefore particularly suitable for bulk freezing and it has also been extensively used for freezing whole fish at sea. The maximum size of block made by this method is usually 1 070 mm x 535 mm. Other dimensions however, can be produced in which the thickness can vary from 25 to 130 mm, but will depend on the fish to be frozen. The maximum weight and dimensions are also limited by the physical effort required from the operator to lift the block, and by the ease with which it can be handled so that damage to the fish is kept to a minimum.
In most cases, fish can be loaded between the plates without wrappers and water need not be added either to strengthen the frozen block or improve the contact with the plates. Fish such as cod and haddock produce compact blocks with a block density of approximately 800 kg/m3 .
With fatty fish such as herring, it has been found advantageous to use wrappers and add some water to fill the voids in the block. Fatty fish do not form blocks which are as firm and strong as blocks made from lean fish especially during seasons when the oil content of the fish is high. Water added helps to strengthen the block, protects the fish during subsequent handling and reduces the effects of dehydration and oxidation during cold storage. Well formed, rigid blocks are particularly important when freezing at sea. The product may be handled under particularly adverse operating conditions and poorly formed blocks, prone to breakage, would result in a high percentage of loose fish. Machine filleting or splitting of the fish for instance, may be difficult if fins and tails are broken. Wrappers have been used when freezing fatty fish in VPFs to protect the exposed fish on the outside of the block. A wrapper that has been found suitable for this purpose is a single layer paper bag, coated internally with polyethylene, and shaped to fit the space between the freezer plates. Wrappers made from polyethylene with a specially roughened outer surface to reduce slippage have also been used.
Fish frozen in wrappers require a longer freezing time due to the insulating properties of the wrapping material. Some types of wrapper would have a considerable effect on freezing time but in sea trials the material described did not increase the freezing time by a significant amount.
Vertical plate freezers are defrosted to release the blocks of fish after each freeze. Fish are in direct contact with the plates and the force required to release the blocks without a defrost could be excessive and result in plate damage. The defrost time need not exceed 3 or 4 min if a suitable supply of defrost gas or hot liquid is available. If a primary refrigerant is used in the plates, a hot gas defrost is generally used. Where there is a multiple installation, the freezers are defrosted in turn with the other units in operation providing the necessary refrigeration load for the compressor. When a secondary refrigerant is used, a reservoir of hot liquid has to be maintained and pumped through the plates to displace the cold liquid present. With this arrangement, it is possible to return the bulk of the cold liquid to the low temperature reservoir at the start of defrost, and also return the warm defrost liquid to the hot liquid reservoir for reheating at the start of the next freeze. This arrangement reduces the quantity of liquid interchanged at each defrost but provision must be made to maintain the liquid charges in both the cold and hot systems at the correct level.
Defrost arrangements such as those described lead to more complicated and expensive refrigeration pipework. Attempts have been made to assist the release of the blocks by coating the plates with a low friction plastic material so that a defrost was unnecessary. Although this worked reasonably well, a defrost was found to be essential to prevent fish sticking to the plates which are at a temperature below 0°C, and thus failing to form a compact block. Freezing times are longer due to the poor contact being made with the plates and because of the lower block density, more storage space is required for a given quantity of fish. The results of some tests that clearly show this difference in loading fish between warm plates and plates at refrigerated temperatures are given in Table 6. The first two results in the table were obtained when the fish were loaded between defrosted plates. The last results, which gave low density blocks and longer freezing times, were obtained when fish were loaded between cold plates.
Table 6 Variation of freezing time with density and contact area
| Block density (kg/m3) | Contact area (%) | Freezing time (h) |
| 800 | 48 | 3.0 |
| 780 | 45 | 3.0 |
| 650 | 29 | 3.8 |
| 650 | 21 | 4.0 |
Vertical plate freezers can be made with top, side or bottom unloading of the blocks. Generally, top unloading models are preferred since the block is lifted clear of the plates and presented at a suitable height for handling by the freezer operator.
Vertical plate freezers may be supplied in units with up to 30 stations and some thought has to be given to the selection of the correct unit size for each particular requirement. An installation may consist of a number of freezer units which are loaded in rotation. If 12 units are used, and the freezing cycle takes 4h, 1 unit will be defrosted, unloaded and reloaded every 20 min. If this frequency of operation fits in with a suitable work rate and the fish can be handled in and out of the freezers in this time, then the 12 units are suitable for this particular application. Individual units should not be partially loaded, freezing commenced and the rest of the unit loaded later. A further defrost would be necessary and this would reheat the partially frozen fish. The freezer unit size should therefore be matched to the rate at which fish becomes available for freezing. This will ensure that fish are not kept waiting for the unit to be fully loaded and that the freezers are not operated with partial loads for a good deal of the time. If, however, the fish supply rate and the freezer capacity are not matched, it is better to freeze a partial load of fish rather than wait for a full load. Fish can deteriorate quickly at this stage of processing, particularly if it is not chilled and also remains ungutted.
Automatic plate freezers. This type of freezer freezes fish in cartons and is a continuous form of the HPF. Automatic plate freezers are specially designed for a processing line; and units with capacities of up to 2 t/h are available. Their main advantage is that they save the labour required for the loading and unloading of batch plate freezers. However, when this labour saving is related to the total labour requirement for packing and other operations, the saving is often not significant.
In this freezer, the product is brought into direct contact with the refrigerant (Figure 26).

The fish on the stainless steel conveyor belt initially come into contact with the counter current flow of nitrogen gas at a temperature of about -50°C. As the fish. progress through the precooling stage of the freezer, the gaseous nitrogen partially freezes the fish and up to 50 percent of the product heat is extracted. The product then passes below the liquid spray where freezing is completed by the boiling liquid. The last stage in the freezer provides a few minutes for the fish temperature to reach equilibrium before the fish are discharged.
The main advantage of the liquid nitrogen freezer LNF is that freezing is very quick and the physical size of the freezer is correspondingly small. The freezer is operated without the need for compressors, condensers or coolers; therefore maintenance requirements are minimal and the power required to operate the freezer is very low. Liquid nitrogen must be retained in a vacuum insulated pressure vessel with continuous venting to keep the contents cool and the internal pressure down. One estimate given is that 0.5 percent of the stored contents is lost each day by this method. In addition, about 10 percent has been estimated to be lost during the transfer of liquid from the tanker to the storage vessel although the customer is not charged directly for this loss. This method of freezing is more expensive than most others, being up to four times more costly than conventional air blast freezing. Although the freezer is small and there is no refrigeration machinery requirement, storage space and access is required for the liquid nitrogen tank. The main disadvantage of this type of freezer in most developing countries is that delivery of nitrogen could be expensive and there may be no guarantee of regular supplies.
Carbon dioxide freezer. This type of freezer has been known for a long time and uses liquefied carbon dioxide which is usually a by-product of another industrial process.
The liquefied carbon dioxide is injected into the freezer and comes into direct contact with the product. In this respect, it is similar in operation to an LNF. With large units, it is economically feasible to recover the carbon dioxide and about 80 percent of the refrigerant used can be reliquefied. Carbon dioxide can be contained in insulated vessels at a moderate pressure and losses during storage are therefore negligible. High levels of carbon dioxide in the factory air are dangerous, therefore a freezer using this refrigerant must be vented and the gas discharged outside the building. Again, as is the case with other types of freezer which rely on regular supplies of refrigerant, carbon dioxide freezers would not be suitable for use in remote areas.
Immersion freezers. By using a liquid for the removal of heat from a product, favourable freezing rates can be achieved. Liquid can remove more heat per unit volume than gas (eg. air) but, like gas, a stagnant boundary layer is formed which slows the transfer of the heat. Liquids used for heat transfer must therefore be circulated over the product. Difficulties due to high viscosity often arise when a low temperature liquid is used.
Many liquids that have suitable refrigeration and heat transfer properties are not allowed to be used in direct contact with food. Those that are available are limited in their use because they may cause changes in texture and taste in the food with which they are in direct contact. Immersion in sodium chloride brine was one of the very first methods used to freeze fish since it was a logical progression from the method used to freeze block ice. Brine immersion freezing may still be used for such fish as tuna which are intended to be marketed as a canned product. The fish are large and have a thick skin; therefore the uptake of salt is not great. The little salt that is absorbed is not detrimental to the canned product since salt is usually added to the product before canning in any case. For many other fish freezing applications, adverse effects on texture and taste of the fish due to the absorption of brine have proved to be unacceptable. Even without excessive brine uptake, the surface of the fish will be coated and handling the product after freezing is difficult and messy. Some fish products such as shrimp have been frozen in syrup and salt solutions, and sugar and salt solutions but again there is some degree of absorption with changes in flavour.
Bearing in mind that the freezer must reduce the temperature of the product to the intended temperatures of storage, freezers should operate at temperatures which allow this to be accomplished under the most favourable economic conditions (Table 7). When selecting the appropriate freezer operating temperatures, account should also be taken of cost of equipment, operating costs, space requirements, quality considerations and other factors. In some types of freezer, the temperature is fixed by the method of operation, whereas in others, such as air blast and plate freezers, there is scope for varying the temperature to suit any particular requirement.
The following table gives some typical operating temperatures for various freezers:
Table 7 Freezer operating temperature
| Type of freezer | Operating temperature (°C) |
| Batch air blast | -35 to -37 air |
| Continuous air blast | -35 to -40 air |
| Batch plate | -40 refrigerant |
| Continuous plate | -40 refrigerant |
| Liquid nitrogen | -50 to -196 refrigerant |
| Liquid carbon dioxide | -50 to -70 |
| Sodium chloride brine | -21 refrigerant |
The space required for a freezer obviously depends on the capacity and type of freezer. Some factors affecting total freezer space required are given below.
It can generally be assumed that, for a given capacity requirement, the quicker a freezer can freeze the product the smaller will be the physical space required. Freezer space, including that required for loading and unloading the product, is only one factor to be taken into account when calculating the total area requirement. Distinction should be made between floor space required within a building and that required in an open yard outside the covered factory area. Space is required for refrigeration machinery and access for maintenance but for small units, the machinery may be located above or below the freezer unit and will not add to the floor area. With liquid nitrogen and carbon dioxide freezers, no mechanical refrigeration is required, but storage must be made available for the refrigerant. In addition, an area has to be made available for manoeuvring the tanker supplying the refrigerant.
A working area is also required for handling and possibly packaging the product before and after freezing. Trolleys and pallets also require space and if they are doubled up to allow for a rotation system to be used, the floor area occupied by this equipment can be considerable. Packaged products also require a dry area for storing the packaging material which is often printed or marked to identify the product and the company, and this often means ordering in larger quantities.
Total area can therefore be far in excess of the actual freezer space and comparisons made on the basis of this total requirement are often completely different from those made when the freezer unit only is considered.
Low labour requirements for loading and unloading freezers are often quoted by manufacturers to impress potential customers. These requirements, however, can be misleading. Freezers which process packaged fish products without the need for physically handling the fish in and out of the freezer unit can rightly be said to require the minimum of labour. Much of the labour may have been transferred to another part of the process. Requirements should therefore be assessed as a whole and savings in the freezer operation may only be identified by studying what has to be done before, during and after freezing.
Few fish products, when dumped on a conveyor belt, can sort themselves out and be loaded into a freezer. Claims for freezers that can be operated in this way are usually based on experiences gained with other food products, such as fruit and vegetables.
The individual items to be taken into account in a refrigeration load calculation depend on the type of freezer. It would be impossible to include all the eventualities in one sample calculation; therefore, a relatively simple one is given below for a HPF and some notes have been added to help with other freezer calculations.
Specification
Load calculation
I Number of freezers
32.4 t/day = 32 400 kg/day 32400 ÷ 7.5 = 4320 blocks/day 24 ÷ 2 = 12 cycles/day 4320 ÷ 12 = 360 blocks/cycle
II Fish load
32400 ÷ 24 = 1 350 kg/h Enthalpy at 10°C = 85.9 kcal/kg Enthalpy at -30°C = 4.6 kcal/kg Change in enthalpy = 81.3 kcal/kg Heat to be removed = 1 350 x 81.3 = 109 755 kcal/h
The change in enthalpy value (the heat to be removed from the fish during freezing) used in the calculation is obtained from Table 29 or Figure 49 and this is a true measured value for cod.
An approximate figure can also be calculated by using the following values:
- Specific heat of fish above freezing, 0.9 kcal/kg °C
- Latent heat of the fish, 60 kcal/k
- Specific heat of fish below 0°C, 0.4 kcal/ kg °C
Using these values, the above calculation for fish refrigeration load would be:
Heat to remove on cooling to 0°C 1 350 x 0.9 x 10 =12 150 kcal/h Latent heat to remove 1 350 x 60 =81 000 kcal/h Heat to remove on cooling to -30°C 1 350 x 0.4 x 30 =16 200 kcal/h Total heat to remove from fish 109 350 kcal/h Total refrigeration requirement with allowances: Method I - Add 30% = 109 744 x 1.3 =142 681 kcal/h Method II - Assume 18 h/day running 109 755 x 24 ÷ 18 =146 340 kcal/h
These methods give nearly the same allowance and both calculations are only used here to show the reader how these refrigeration allowances can be applied by different designers.
In the above example, it is the freezing cycle time that is used in the calculation, not the actual freezing time of the block of fish. Account has therefore been taken of the time it takes to load and unload the fish and any minor delays. This time is therefore more realistic when calculating freezer size.
The calculation of fish load gives the refrigeration requirement to freeze the fish only. Depending on the type of freezer used, other heat loads have to be taken into account and added to this value to determine the total refrigeration requirement. Some of these additional heat loads are:
Once the total load has been calculated, a factor is added which will take care of peak loading, and eventual deteriorating of the freezer and refrigeration equipment. There are no fixed rules for applying this operating factor since it will vary with the equipment and type of operation. Only experience can be used to make a fair judgement but, if no expert guidance is available, applying the factor of only 18h running time in every 24h, shown in the calculation, should make adequate provision in most cases.
A generous allowance for refrigeration machinery for freezers need not, in the end, be an expensive addition. Even short delays due to plant breakdown or reduced performance of equipment can be expensive, especially when freezing at sea.
Buyers specification. The buyer should supply in writing all the information he has about the products, the proposed freezer, the site and facilities available. The more facts the buyer gives, the easier it will be for the contractors to submit tenders that the buyer can compare on a common basis.
Ideally, the buyer should provide as much of the following information as possible when ordering a blast freezer:
The above list is by no means exhaustive and may be added to; for instance, reference should be made to any local laws that may affect the siting or operation of the freezer. Most of the information above will require to be supplied for other types of freezer together with additional information that may be considered relevant.
No detail is too small to assist the supplier to provide the exact equipment to meet the buyer's requirements.
The contractor should also supply a complete written specification of the equipment being offered and also a detailed sketch plan showing the layout and space requirements of the freezer refrigeration plant and other ancillary equipment.
The following notes and lists will give some guidance on what information may be supplied so that the customer is quite clear about all details of the plant being offered.
Refrigeration capacity is sometimes quoted in terms of the power of the condensing unit's electric motor. There is such a loose relationship between them, that motor power is at best only a very rough guide. Refrigeration capacity is sometimes quoted in terms of kcal/day or quantity of fish frozen per day without specifying what is meant by a day; is it 24h or is it a working day of 8h? In order to avoid confusion, capacity should be quoted as an hourly rate in kcal/h and it should be made clear whether this is the gross capacity of the condensing unit for all duties or the net heat extraction rate available for freezing the fish only. If there is likely to be confusion, both the gross and net values should be given.
Another common error is to ignore the intended operating conditions when quoting the refrigeration capacity. It is important that compressor capacities should not be quoted at standard rating conditions or any other unrelated condition. The following additional information should also be specified by the contractor:
Refrigeration machinery:
Refrigeration system:
Freezer: