Previous Page Table of Contents Next Page


Ethyl hydroxyethyl cellulose

Prepared at the 49th JECFA (1997)
superseding specifications prepared at the 29th JECFA (1985),
published in FNP 34 (1986)

SYNONYM

INS No. 467

DEFINITION

Ethyl Hydroxyethyl Cellulose is cellulose in which both ethyl and hydroxyethyl groups are attached to the anhydroglucose units by ether linkages. Ethyl hydroxyethyl cellulose is prepared from cellulose by treatment with alkali, ethylene oxide and ethyl chloride. The article of commerce may be specified further by the viscosity of its aqueous solutions.

Chemical names

Ethyl hydroxyethyl cellulose, 2-hydroxyethyl ether of ethyl cellulose

C.A.S. number

9004-58-4

Chemical formula

[C6H7O2 (OH)x (OC2H5)y [O(CH2CH2O)mH]z]n

where n is the degree of polymerisation
x + y + z = 3
y = 0.7 - 1.5 (degree of ethyl substitution, DS)
m + z = 0.5 - 2.5 (molar hydroxyethyl substitution, MS)

Structural formula

Possible structural formula for a repeating unit of an ethyl hydroxyethyl cellulose with a DS = 1.0 and a MS = 1.0

Formula weight

Unsubstituted structural unit: 162.14
Structural unit with DS = MS = 1.0: 234
Structural unit with DS = 1.0; MS = 2.0: 278
Structural unit with DS = 1.5; MS = 0.5: 226
Macromolecules: from about 40,000 (n about 175)
up to about 350,000 (n about 1,300)

Assay

Not less than 7% and not more than 19% of ethoxyl groups (-OC2H5), and not less than 10% and not more than 38% of oxyethylene groups (-OCH2CH2-), on the dried and salt-free basis.

DESCRIPTION

Hygroscopic white or slightly yellowish or greyish, odourless granules or fine powder.

FUNCTIONAL USES

Emulsifier, stabilizer, thickener

CHARACTERISTICS


IDENTIFICATION


Solubility

Swelling in water, producing a clear to opalescent, viscous, colloidal solution; insoluble in boiling water and ethanol.

Foam formation

Vigorously shake a 0.1% solution of the sample. A layer of foam appears. This test permits the distinction of cellulose ethers from sodium carboxymethyl cellulose, alginates, and natural gums.

Precipitate formation

To 5 ml of an 0.5% solution of the sample add 5 ml of a 5% solution of copper sulfate or of aluminium sulfate. No precipitate appears. This test permits the distinction of cellulose ethers from sodium carboxymethyl cellulose, gelatine, carob bean gum and tragacanth.

Precipitate formation by warming


A 1% water solution of a sample is slowly heated from room temperature, while stirring. At a distinct temperature above 35°, a cloudy precipitate occurs which disappears completely during cooling.

Substituent content

Determine the substituents by gas chromatography as given in Method of Assay

PURITY


Loss on drying

Not more than 10% (105°, to constant weight)

Chlorides

Not more than 2%
See description under Tests

Lead

Not more than 5 mg/kg
Prepare a sample solution as directed for organic compounds in the Limit Test, using 5 m g of lead (Pb) ion in the control.

Ethylene oxides, 1,4-dioxane and ethylene chlorohydrin


Not more than 0.5 mg/kg, individually See description under TESTS

Mono and diethylene glycol


Not more than 1%, individually or in combination See description under TESTS

TESTS


PURITY TESTS


Chlorides

Weigh 2 g of dried sample, and disperse in about 100 ml of boiling, distilled water by swirling the flask. When the solution is homogeneous, or after at least one hour, add a pinch of sodium bicarbonate and exactly 1.0 ml of the potassium chromate TS indicator. Titrate with 0.1 M silver nitrate to a weakly brown colour. Titrate to the same colour a blank, containing 100 ml distilled water, bicarbonate, and 1.0 ml of potassium chromate TS indicator.

Chloride content (%) = [35.5 x M x (A-B)]/10 x W
Sodium chloride content (%) = [58.5 x M x (A-B)]/10 x W

where:

W = weight of the sample (g)
M = molarity of silver nitrate (mol/l)
A = silver nitrate consumed by sample (ml)
B = silver nitrate consumed by blank (ml)

Ethylene oxide, dioxane, ethylene chlorohydrin


Principle: Ethylene oxide (EO), ethylene chlorohydrin (EKH) and dioxane are determined by head space gas chromatography with mass selective detection (GC-MSD).

Apparatus: Gas chromatograph (Hewlett Packard 5890 or equivalent) equipped with a mass selective detector (Hewlett Packard 5970 or equivalent).

Chromatographic conditions: EKH and dioxane: Column, 15 m, 0.25 mm i.d. DB 5 ms, 0.15 m m (or equivalent). Temperature programmed 40° (2 min), increased to 150° at 15°C/min. Split injection, 150°; Carrier, He, 20 ml/min; interface, 275°; ms dwell time 100 msec.; monitor 43, 44, 57 and 88 amu.

Chromatographic conditions: EO: Column, 50 m, 0.32 mm i.d., CP Sil 5 CB, 5 m m (or equivalent). Temperature programmed 100° (1 min) to 250° at 15°/min. Split injection, 150°; Carrier, He, 20 ml/min.; interface, 275°, ms dwell time 100 msec; monitor 29, 43, 44 and 72 amu.

Regents and Solutions Standards: Accurately weigh approximately 200 mg each of dioxane and EKH and 20 mg EO into a 100 ml volumetric flask containing 50 ml distilled water. Fill to 100 ml. Dilute this standard 1:10, 1:100, and 1:1000. An internal standard is made by accurately weighing approximately 40 mg of methyl ethyl ketone (MEK) and diluting to 100 ml with distilled water. A 1:1000 dilution of this solution gives a 0.4 m g/ml standard solution.

Equipment: Headspace vials, 20 ml, with teflon coated septa; gas tight syringe, 1,000 to 2,500 m l; block or oil bath heater, 80°.

Procedure:

Response factors: Accurately weigh 1.0 g of the sample into each of 4 vials, add 0.5 ml of internal standard to each and add 0, 0,2, 0.4, or 0.6 ml of the 1:1000 standards to one of each vial. Add sufficient buffer to bring the total volume in each vial to 1.5 ml. Cap and place vials into the heater at 80° for 20 min. Inject 1.0 ml of the headspace into the GC-MSD. Monitor ions amu 44, EO; 43, MEK; 88, dioxane; 57, EKH. Plot the amount of each compound added to the vial against the ratio of the analyte peak area to the MEK peak area. The response factor, Rf, for each analyte is given by the inverse of the x coefficient of the linear regression of the data.

Analysis: Inject 1 ml headspace of unknowns containing MEK internal standard. Record peak areas of unknowns and the internal standard.

Calculation: The EO, EKH, and dioxane concentrations are calculated from the peak areas in the unknown by the following:

where

AUNK = area of unknown peak
AMEK = area of MEK peak
CMEK = concentration of MEK in the sample
Rf = response factor of the unknown compared to MEK

Mono- and diethylene glycols

Principle: mono- and diethylene glycol are determined by gas chromatography after extraction with acetone.

Apparatus: Gas chromatograph (Hewlett Packard 5980 or equivalent) equipped with an FID detector. Chromatographic conditions: Column, 25 m, 0.52 mm id. CP wax 57 B, 0.5 urn (or equivalent). Temperature programmed 90° (2 min), increased to 250° at 20°/min., final hold, 10 min. Split injection, 250°. Carrier He, 27 ml/min. Injection volume, 1 m l.

Standard solution: Accurately weigh about 20 mg of each glycol into a 25 ml volumetric flask and fill to mark with acetone. This standard is diluted 1:5 and 1:20.

Procedure: Weigh 0.5 g EHEC sample into a 25 ml volumetric flask, add 20 ml acetone, stopper, and stir 2 h at room temperature. Fill flask to volume. Allow the EHEC to settle and inject 1 m l into the chromatograph. Similarly inject 1 m l of the standard solution.

Calculation: The amount of each ethylene glycol is calculated as follows:

where

ASAM = peak area of the sample
ASTD = peak area of standard
CSTD = glycol concentration in the standard (mg/ml)
VSAM = volume in which the sample was dissolved
W = weight of the sample in mg

The calculated amount of glycol is divided by 0.75 to account for the 75% recovery of the glycols.

METHOD OF ASSAY

Determination of the ethoxyl group

Principle: The sample is oxidized with chromium trioxide and the ethoxyl groups quantitatively transformed into acetic acid. Acetic acid is distilled and determined by titration.

Reagents:

- 0.020N sodium hydroxide (carbon dioxide-free)

- 0.020N sodium thiosulphate: standardized against 0.020N iodine solution.

- Sodium hydrogen carbonate (analytical grade)

- Aqueous 30% solution of chromium trioxide (analytical grade)

Equipment: The apparatus shown in the following picture is used.

Procedure: Accurately weigh approximately 50 mg of the sample into a 100-ml round bottomed flask; add 10 ml of chromic acid solution and immerse the flask two thirds into an oil bath. The rest of the apparatus is fixed to the flask, and nitrogen is blown through at a rate of 1-2 bubbles per sec. The temperature of the bath is gradually raised over 30 min to 155° and held. Distillation starts at 135-140° When 5 ml has been distilled, 5 ml of boiled distilled water is added from the graduated 50 ml dropping runnel. This procedure is continued until 50 ml of water has been added and consequently 55 ml of faintly yellow distillate has been collected. The distillate is quantitatively transferred to a flask and the distillate is titrated with 0.020N sodium hydroxide (carbon dioxide-free) to a phenolphthalein end-point. The solution is boiled 1 min and cooled to room temperature. The titration is continued until the pink colour remains stable for 10 sec.

About 0.5 g of sodium hydrogen carbonate is added to the titrated solution followed by 10 ml of 10% sulfuric acid. When carbon dioxide evolution has ceased, 1 g of potassium iodide is added; the flask is shaken and kept 5 min in the dark. Liberated iodine is titrated with 0.020N sodium thiosulfate using 1% starch solution as the indicator.

Chromium trioxide solution (10 ml) is distilled and titrated as described above to provide a blank test. It is necessary to run a new blank when a new chromium trioxide solution has been prepared or if changes have been made in the apparatus.

Calculations:

A = ml of sodium hydroxide used
B = ml of sodium thiosulfate used
C = ml of sodium hydroxide used in blank test
D = ml of sodium thiosulfate used in blank test
0.020 = normality of sodium hydroxide and sodium thiosulfate
I = grams of sample (calculated dry and free from ash)
E = C/D

The theoretical value for E is 0.667; in practice it is usually higher (0.7-0.8).

Determination of the total ethoxyl and oxyethylene groups


Principle:

ROC2H5 + HI = ROH + C2H5I

ROCH2CH2OH + HI = RI + ICH2CH2I + 2H2O

Ethylene iodide is partly converted to ethylene, partly to ethyl iodide. The former is absorbed in bromine solution, the latter in silver nitrate solution. Ethoxyl groups present in the sample will be transformed to ethyl iodide. Conversion of silver iodide to silver bromide with bromine is carried out, followed by thiosulphate titration of the iodine liberated.

Reagents:

- Hydriodic acid: A constant boiling mixture with water (126-127°) containing 57% HI is made in the following manner: Hypophosphorous acid (10-15 ml) is added to 250 ml of HI and the mixture boiled for 4-5 h under reflux in a carbon dioxide atmosphere. The acid is immediately put into 10-ml ampoules of brown glass, which are sealed and stored in a dark place.

- Silver nitrate solution: Silver nitrate (15g) is dissolved in 50 ml of distilled water. The solution is poured into 400 ml of absolute ethanol, and a few drops of cone. nitric acid are added.

- Bromine solution: Bromine (1 ml) is added to 300 ml of glacial acetic acid which is saturated with dried potassium bromide (about 0.23 g per 100 ml of acetic acid).

- Potassium acetate: 100 g is dissolved in a mixture of 900 ml of acetic acid and 100 ml of acetic anhydride.

- Sodium thiosulfate solution 0.1N: Standardized against a 0.1N iodine solution which in turn has been standardized against 0.1N arsenic trioxide solution. Thiosulfate can also be standardized against potassium iodate purchased as a standard

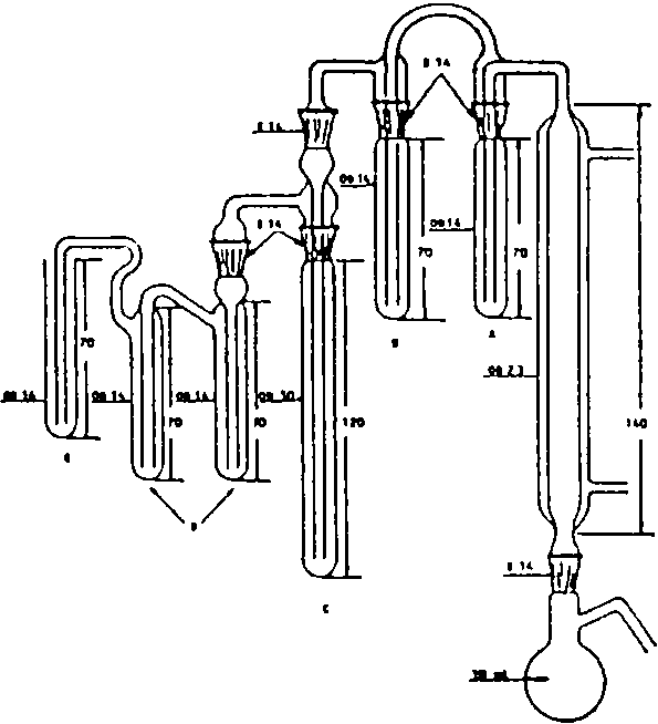
Equipment: The apparatus shown in the figure below is used. Tube A is filled halfway with 6% sodium hydrogen carbonate solution, and tube B is filled halfway with 10% cadmium sulfate solution. The silver nitrate solution (5 ml) is pipeted into tube C, and 10 ml of the bromine solution is transferred from the first to the second leg by careful tilting of the tube D. Tube E is filled halfway with 20% potassium iodide solution.

Procedure: Weigh 50-60 mg of the sample into the reaction flask, and add 6 ml of hydriodic acid and a few boiling stones. Fix the flask to the apparatus and immerse it in an oil bath at 140-145°. Circulate tap water through the condenser on top of the flask. Pass carbon dioxide through the apparatus at a rate of about 1 bubble per sec. Continue heating about 2 h (the end of the reaction manifests itself by agglomeration of the precipiate in tube C and clearing up of the solution). Five minutes before the end of the analysis, heat tube C to 50-60° in a water bath. Loosen tubes D and E first, and then tube C. Add to tube D, 5 ml of 20% potassium iodide solution. Mix the bromine and the potassium iodide solutions by carefully purging the tube with carbon dioxide. During this whole procedure, tube E must be left connected to tube D. Then transfer the contents of tube D to a 500-ml Erlenmeyer flask containing 10 ml of 20% potassium iodide solution and 50 ml of distilled water. Rinse tube D well with distilled water, and flood down the contents of tube E in the flask; dilute to 150 ml, and add 5 ml of 10% sulfuric acid. Titrate liberated iodine with 0.05N sodium thiosulfate. Prepare a blank by adding 10 ml of the bromine solution to 10 ml of 20% potassim iodide solution, 150 ml of water, and 5 ml of 10% sulfuric acid and titrate it as described above.

In a 500-ml Erlenmeyer flask, mix 15 ml of the potassium acetate solution with 1 ml bromine. Quantitatively transfer the precipitate and solution in tube C into the Erlenmeyer flask. Allow the flask to stand for 10 min, then add 10 ml of the sodium acetate solution. Eliminate the excess of bromine by carefully adding formic acid dropwise. When the colour of the solution has disappeared, add three more drops. (The colour of the precipitate is always slightly yellow; it is necessary, therefore, to let it settle and observe the colour of the solution only). After 3 min, add 3 g of potassium iodide and 15 ml of 10% sulfuric acid, and titrate the liberated iodine with 0.1N sodium thiosulfate using 1% starch solution as the indicator. Prepare and titrate a blank containing reagents only.

Calculations:

where

A = ml of thiosulfate for titration of bromine solution
B = ml of thiosulfate for titration of the blank test on the bromine solution
C = ml of thiosulfate for titration of the silver nitrate solution plus the precipitate
N = normality of thiosulfate solution
I = grams of sample, calculated dry and free from ash

Both hydroxyethoxyl and ethoxyl are reported as ethoxyl.


Previous Page Top of Page Next Page