Many types of fish and other aquatic animals have been taken with simple traps and pots for hundreds of years.
Of the main types of trap (see Chapter 1), this manual will concentrate on enclosed traps and pots.
You can create artificial shelters and hiding places to attract and concentrate fish by placing bundles of branches, sticks or brush in the water. This method was probably used by ancient peoples and is still used in some areas of Europe, Africa and Asia. In more recent times, artificial reefs made from old car bodies, old motor tyres, concrete blocks, sunken vessels, etc. have been constructed to provide hiding places that concentrate fish. Floating devices for fish aggregating are sometimes used to concentrate commercial pelagic fish.
You can make these traps simply by tying branches, sticks, brush etc. into bundles and either placing them flat or upright on the bottom or suspending them in the water. Fish and crustaceans sheltering in the brush trap can be caught by quickly lifting the bundles from the water. The bundles can be put in the centre of a woven basket to catch fish that try to escape when the trap is lifted. Alternatively, you can put a dip net under the bundles while you are lifting them (Figure 3a, p. 3). Brush traps can be set in long rows or on longlines for easy hauling.
Eels and other long thin fish can be caught by setting tubes for them to use as shelter. Such tubes are often closed at one end and you can make them from bamboo, hollow logs, steel, plastic or earthenware piping, etc. (Figure 3b, p. 3). They are usually tied into groups of two. Bait can be placed inside the tubes to attract the eels or fish. When lifting the tubes, you must take care that the eels do not escape. In some places divers seal the ends before the tubes are lifted.
Traditionally, unglazed earthenware pots were used in the Mediterranean and Asia to catch octopus. However, you can use other materials, including plastic, steel or earthenware piping, old motor tyres and empty large mollusc shells. Octopus will enter almost any receptacle that provides shelter (Figures 3c and 3d, p. 3).
Further details on making and setting octopus pots and traps are covered later in this chapter.
Simple barriers made from stone or wood were probably one of the first types of trap used by prehistoric peoples. Many such barrier traps (fish screens, labyrinth traps, corrals) are still used today throughout the world. Each area has its own particular designs for permanent barrier traps, based on the types of fish in that area, their behaviour and migration and the area being fished. These traps will not be considered further in this manual, but the design of a simple arrowhead trap is given in Figure 7 (p. 6).
These traps are normally constructed with a long arm or leader, usually from the shore outwards, with an arrowhead-shaped trap on the outer end. The design of this trap varies widely in its complexity according to the species of fish being targeted and their movements.
Enclosed transportable traps and pots (which are often referred to as "pots") are by far the commonest types of trap used throughout the world. Although there are many types and shapes, including rectangular, circular, hexagonal, conical, semi-cylindrical, chevron-shaped and heart-shaped (arrowhead), the way they work is the same: fish enter the trap by one or several entrances or funnels and are prevented from escaping.
The common parts of traps and pots are shown in Figures 4, 5 and 6 (p. 4 and 5). These are:
Frames are made from strong materials that prevent the traps and pots from losing their shape during fishing and storing. Trap frames are often made from steel rods, although sawn timber and strong sticks are used in some places. In northeastern Brazil, rock lobster pots are traditionally made from mangrove and other sticks (Figure 14). In Canada and northeastern areas of the United States, while lobster pots were traditionally made from sawn timber, now more plastic-coated wire is used (Figure 15). Beehive pots are usually made from flexible material such as cane or bamboo, often with a base of bent steel rods (Figure 16). In Australia and New Zealand, pots and traps are now often made entirely from welded steel mesh that does not need a frame to support it.
In some cases, the frames are made so that pots can be folded in order to save space when they are stored on the deck of the boat.
Modern rectangular traps and pots are covered with wire netting, nylon mesh, plastic-covered steel, welded steel mesh, etc. The choice of material depends on traditional usage, availability and cost. Tests to see if there are any differences in catch rates between wire and nylon mesh have shown that in most cases there are not. In some areas, bamboo or plaited cane is still used. Beehive pots are commonly made from cane or flexible branches without a frame, although in some areas they are made with a solid frame and covered with cane, wire or nylon netting. Moulded plastic pots appear to be cheap and easy to stack and there is no reason to believe that their catch rates would be inferior. If you are fishing in an area where sharks are common you should use steel mesh rather than nylon mesh.
Although beehive pots have only a single funnel at the top, other trap and pot types may have several funnels. The inner ends of funnels are often directed downwards ("horse-neck") or constricted in some way to prevent escape (Figure 17). Some pots, mainly for lobsters, also have the "bedroom and parlour" design. This consists of a funnel or funnels leading from the outside to an initial chamber (the "parlour") and a second funnel to an inner or holding chamber (the "bedroom"). Research has shown that traps with more than one funnel catch more than traps with a single funnel, although the quality of the catch is often reduced as a result of injury to the fish caused by the increased number of projections on the inside of the trap.
A door is usually placed in the main body of the trap to make it easy to remove the catch. Most traps have a properly made door. A few have an area where the outer mesh can be opened and closed at an edge near the frame. Lobsters and rock lobsters caught in beehive pots are normally taken out through the funnel at the top.
Bait is normally secured in the catching chamber of the trap or pot. Large, solid pieces of fish, animal bone, small land animals, etc. are tied into the pot with wire or twine. If small pieces of bait such as small fish (e.g. sardines or sprats) or chicken heads are used as bait, they should be placed in a bait container made from wire, plastic or synthetic netting to hold them together and in place. In some cases, the bait is put in a plastic or metal container with a few small holes punched in it to save the bait. This can only be done if the bait is extremely attractive to the fish you want to catch.
In some fisheries traps are not baited, as fish or squid use the pots as shelters. This is especially the case in Caribbean trap fisheries, where the reef fish that are targeted use the traps for shelter.
Figure 14
Rock lobster pot made from mangrove sticks (northeastern Brazil)

Figure 15
Lobster pots used in northeastern United States

Figure 16
Beehive pot type, cone iron frame, 8 mm diameter (used in Japan for deep crab fishing)

Figure 17
Diagram of different funnel types

Escape gaps are often fitted into pots and traps to make sure that undersize fish or crustaceans, especially lobster and rock lobster, are not taken. Government regulations have often been passed to ensure that escape gaps are used to let small fish and crustaceans escape (Figure 18). In many rock lobster fisheries, including Australia, New Zealand and Cuba, escape gaps are compulsory in all pots to allow the escape of juveniles. In Australia and New Zealand, rock lobsters with head (carapace) lengths less than 76 mm must be released or allowed to escape.
Figure 18
Escape gaps for lobster pots

Weights or ballast are often placed in pots and traps before setting to prevent tidal flows and currents from moving them from where they are set. This is especially the case for traps and pots made of wood or other light material. Weights may be concrete blocks, steel bars or other heavy material such as bricks, stones or rocks. Strategically placed ballast may also help the trap to land the right way up.
Because of the corrosive effect of seawater on steel and other metals, an anti-corrosion anode is often attached to steel traps and pots to extend their useful life. Anodes are usually made from a block of zinc with a wire through it to tie it to the pot or trap. They are not cheap and should only be attached to metal traps and pots that are costly to make. Galvanized wire netting also reduces the rate of corrosion in seawater. If the ongoing cost of replacing traps and pots that have been damaged by corrosion is high, you should consider using plastic mesh for the outer covering of your traps and pots and plastic-covered metal for the frames.
As different species react in different ways to traps and pots, we will look at how traps can be made for three important target groups. The groups we are considering are:
Pots and traps for taking finfish are used in most parts of the world and there are many types and variations. To simplify this manual we will look only at some common types and their more popular or innovative variations.
Traps and pots are frequently used to take fish in areas where coral or the rocky bottom does not allow the use of other types of fishing gear. For example, in the Caribbean traps are the primary fishing gear. In many other areas a large number of fishers use simple traps made from mangrove poles covered with wire mesh.
The most common types of finfish traps used throughout the world include:
Caribbean traps (arrowhead, "Z" and "S" traps). The four most common fish trap designs used in the Caribbean are the:
Arrowhead (or chevron), "Z" and "S" traps are also used in Asia and the Mediterranean. They are principally used in tropical waters and have been successfully used to take emperors (Lethrinidae), snappers (Lutjanidae), cod (Epinephalidae), bream (Sparidae), parrot fish (Scaridae), goat fish (Mullidae) and trevallies (Carangidae).
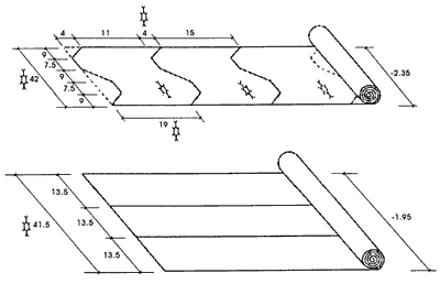
The most common of these designs is the Antillean "Z" trap (Figures 19a and 19b). This takes the form of a double chevron or "Z" with two down-curving "horse-neck" entrance funnels. Typically, these measure between 180 and 230 cm in length and are 60 cm high. In the Caribbean, specialized artisans construct these traps in a number of stages.
Figure 19a
Typical Caribbean "Z" pot: frame and dimensions

Figure 19b
Typical Caribbean "Z" pot: details for construction

Figure 20
A typical "S"-shaped trap

Figure 21a
Arrowhead or chevron fish trap

Figure 21b
Design details of the arrowhead fish trap

Making finfish traps. If you want to construct a "Z" trap, the materials that you need are:
With these materials you can make four pots 270 cm long, five pots 240 cm long or six pots 210 cm long.
The essential stages in making a typical 240 x 120 cm Antillean trap are:
1. Cut the roll of wire into 240 cm lengths.
2. Cut the overall "Z" shape into the wire. Each "Z"-shaped pattern will be the top or bottom of a pot (Figure 22).
3. Cut two lengths that are the height of the pot to be constructed; 120 cm in this case (Figure 22). These are the sides of the pot.
4. Set the sides on the ground and attach the top and bottom, forming a pot without a funnel or wooden supports.
5. Cut the two funnels, using 150 cm lengths of wire for each.
6. Double over the funnel material to make the two "horse-neck" or down-curving funnels; burr the edges.
7. Fit the funnels into the opening cut in each corner of the pot and form the downward curve of the "horse-neck" by hand.
8. Fit a 30 cm "V"-shaped or square door in a corner of the pot.
9. Fit the pot sticks and wire them tightly into place to make up the framework in the previously formed pot. Leave a 10 cm overhang at the lower ends of the vertical sticks to hold the pot off the bottom.
10 Fit three long "key" sticks to the whole length of the top and bottom of the pot. The "top-back" and "bottom-back" sticks are important, as they are used as attachments for the buoy ropes.
Figure 22
Diagram for cutting rolls of mesh for a typical Caribbean "Z" pot

The mesh used in Caribbean fish pots is usually galvanized hexagonal-weave chicken wire with 4 cm (11/4 inch) openings. In some parts of the Caribbean, mainly Jamaica, finely woven bamboo cane is used to replace the wire over the wooden frame. Steel reinforcing bars are sometimes used to make pot frames.
Changes to the trap design and modification to the entrance funnel have been found to make big differences to the catch rates of these traps. Straight funnels seem to have higher catch rates (and escape rates) than those with a "horse-neck". "S" traps were found to outfish "Z" traps by a factor of about 25 percent, while both were found to perform better than arrowhead traps.
Recently, modified arrowhead traps have been introduced into Australia. The trap frame is made from 10 mm mild steel which is covered with 50 x 75 mm rectangular 1 to 3 mm diameter mesh. An outward-opening door is placed in the rear of the trap. The details of the design of these traps are shown in Figures 21a and 21b. The buoy lines are made from 12 mm rope adjusted to one-and-a-half times the depth of the water being fished. The traps are set with the point towards the tide.
Round traps. These are illustrated in Figure 23. As with other types of trap, the size and height of round traps vary with the area being fished, the type of fish being targeted and the availability of trap-making materials. The number of funnels in round traps varies, but one, two or three are usual (Figure 24). Additional funnels can increase the catch rates by allowing fish to enter the trap more quickly, but there is a higher escape rate and the additional internal projections from the extra funnels cause greater damage to the fish in the trap.
The western Australian snapper trap is a typical commercial round trap. It is also popular in northern Australia and has been used in the development of the tropical snapper fishery in that area (Figures 25 and 26). The dimensions and construction details of these traps can vary. A version of the western Australian trap has three funnels and a frame made from 10 mm mild steel rod. This frame is 180 cm in diameter, 70 cm high and has three braces top and bottom to support the funnels and the attached buoy ropes. In this trap the funnels are straight, tapered to a 25 x 11 cm opening. The frame is usually covered with welded wire mesh of about 75 x 50 mm but it can be covered with other types of wire, heavy nylon netting, etc. Similarly, the funnels can be made from steel rod and covered with heavy nylon mesh or the same material as the body of the trap. In some traps, the funnel is shaped from welded mesh without a frame. A door is normally placed in the side of the trap to make it easier to take the catch. As with other traps with more than one funnel, the catch rates increase with the number of funnels but damage to the fish is increased by the extra projections from the funnels inside the trap.
The main fish caught in tropical Australian waters with round traps are tropical snappers (Lutjanidae), emperors (Lethrinidae) and groupers (Epinephlidae).
A simple round trap can be made from a horizontal cylinder of wire netting with a wire mesh funnel at one end or funnels at both ends (Figure 27). A similar trap can be made of nylon mesh covering a steel frame constructed from hoops and steel rods. These simple traps are often referred to as "drum nets". They are used in rivers, streams and lakes to catch fish moving close to the bank. A freshwater fish pot or drum net used in Germany for catching tench, roach and carp is shown in Figure 28.
Drum nets are normally set by rolling them into the water from the bank and down the underwater slope to the preferred fishing place. A line attached to the trap winds round its centre as it is rolled down the slope (Figure 29). The trap is taken from the water by pulling on the line, which rolls it back up to the bank. Drum nets can either be baited or placed unbaited in an area where fish swim in currents.
Figure 23
Round fish trap for snapper (Western Australia)

Figure 24
Positioning of funnels in round trap

Figure 25
Australian round traps

Figure 26
Three-funnel round trap from Australia

Figure 27
Drum net type of trap

Figure 28
Drum net fish trap for inland fisheries (Germany)

Figure 29
Setting and hauling a simple drum net

Rectangular finfish traps. These are illustrated in Figure 30. Rectangular traps vary greatly in size and construction material, but modern traps are usually made from steel rod or welded mesh. Because of their tendency to roll, they are used in areas where the current flow is not great.
Rectangular trap frames of different sizes are made from dressed, rough or natural timber, including mangrove branches. Wooden traps are used to take snappers, sea bass and many other bottom-dwelling species in temperate and tropical waters.
Rectangular traps are very common throughout Australia and have been modified to fish in various conditions. They are typically constructed from mild steel and are covered with welded mesh, chicken wire, wire netting or nylon netting.
A typical wooden trap is about 2.0 x 1.5 x 1.0 m overall and constructed from 50 x 25 mm timber bolted together. Chicken wire is then stretched tightly over the frame, giving the trap further strength. It has a funnel placed at one or both ends, also made from chicken wire or from a frame covered with nylon netting. Heavy ballast is positioned in the bottom of the trap to sink it and to hold it on the bottom.
A rectangular trap often used in southern Australia is made from a single sheet of 50 x 50 mm welded mesh cut and bent into shape (Figure 31). The bait is tied or placed in a bait basket (or bait saver) in the centre of the trap. A baffle is often placed in front of the funnel to prevent fish from escaping back through it.
A modified rectangular trap made from a sheet of 50 x 50 mm welded steel mesh has been developed in Australia. This trap is 32 x 32 meshes (i.e. 1.6 x 1.6 mm) square, with rounded corners. The sides and funnel are bent from a piece 15 meshes deep. The mesh is supported by a frame made from 13 mm round steel bar (Figure 32).
Figure 30
Rectangular fish traps

Figure 31
Welded mesh fish trap (South Australia)

Figure 32
Australian welded mesh fish trap

"D"-shaped finfish traps. These are shown in Figure 33. The "D" shape is preferable to the traditional rectangular fish trap in areas of stronger currents, as it offers less resistance to water flow and is less likely to roll.
Although "D"-shaped finfish traps are common throughout the world, the design illustrated in this manual is one that was modified for Australian conditions. This trap is 160 cm long and 75 cm high. It has a funnel at one end and a hinged door at the side for baiting the trap and removing the catch. Typically, the frame is welded together from 12 mm round mild steel (Figures 33a and 33b), although other materials such as wood are occasionally used. The traps are usually covered with chicken wire, but welded mesh or prawn netting can also be used. The funnel tapers from 30 to 25 cm. It is made of similar material to the main trap and is fixed into the centre of one end (see Figures 33a and 33c). The internal funnel opening can be oval-shaped with the longest axis vertical.
These traps are used in southern Australia to take leatherjackets (Monocanthidae) in deeper waters of the continental shelf and pink snappers (Pagridae) and other bottom-dwelling fish in shallower waters. In tropical Australia they are used to take fish such as jacks and trevallies.
Figure 33
"D"-shaped fish trap (Australia)

Collapsible finfish traps. The collapsible finfish traps described here and illustrated in Figure 34 were developed in the Northern Territory of Australia to fold up when not in use, thus increasing the number of traps that can be transported on board vessels to the fishing grounds. They are showing considerable promise in the developing fishery off northern Australia.
All frames are constructed from 6 to 10 mm diameter steel bars. Traps are covered with chicken wire, welded mesh or shrimp netting. The panels are constructed from similar steel bars and covered with galvanized wire mesh (50 mm diamond). This mesh is laced on to the frames with 1.20 mm tie wire. The round entrance funnel is also constructed from 50 x 50 mm wire mesh. The entrance is laced to the frame with twine or light tie wire, which may be more durable.
The mouth of the entrance is made from a 25 to 30 mm diameter disc cut from 100 mm PVC piping. This disc is softened in boiling water and formed into an oval shape to approximate the shape and size of the target fish. Two holes 25 mm apart are then drilled in the disc, which is cut between the holes. A ring is laced through the last meshes of the funnel and the cut closed with tie wire or twine. The funnel is held open by shock cords running from the PVC disc to the top and bottom panels, with enough slack to collapse the trap.
A hauling yoke made from 14 to 20 mm rope is spliced on to the side of the top panel at the end of one of the cross members.
The target species and operation of these traps are similar to those described for other finfish traps.
Figure 34
Collapsible finfish trap (Australia)

Pelagic fish traps. These are illustrated in Figure 35. Although they are not yet widely used, these traps are effective in some areas for taking pelagic fish. They work on the same principle as a fish aggregating device, by attracting pelagic fish to the "protection" that they provide.
The trap illustrated in this manual is used in southern Australia to take mid-water fish such as king fish, rainbow runners, trevallies and jacks (Carangidae). It is constructed in the same manner as the wooden trap but without the weights. In addition, a marine ply roof is fitted to the trap and painted black. The shade created by this roof lures the fish into the trap for shelter, so no bait is needed.
The method of setting these traps is shown in Figure 35. When the trap is hauled up, it is tied to the side of the vessel and fish are taken from it with a scoop net before it is brought on deck.
North Atlantic tusk and cod pots. Tusk or torsk (Brosme brosme) have been caught in pots off the Norwegian coast for a number of years.
Norwegian technologists have developed an effective pot for taking live cod, following a recent trend for fishers to take these fish for the high quality of the end product. A requirement for an alternative to gillnets has helped the development.
The pot has two chambers and is somewhat larger than the traditional tusk pot. It has two fairly wide entrance funnels leading into the lower chamber, with a narrow entrance leading to the upper chamber (Figure 36). A bait bag or saver is fixed in the lower chamber between the two funnels. The pots are baited with squid and set on a string or longline at depths varying from 50 to 300 m.
Figure 35
Pelagic fish trap

Figure 36
Norwegian two-chamber pot for cod

Plastic multipurpose finfish/lobster traps. A number of trap and plastics manufacturers are experimenting with multipurpose traps and they have been tried out in many fisheries. They are not considered in this manual as they cannot be constructed from readily available local materials and require expensive plastic moulding equipment.
Shrimp pots. The terms "shrimp" and "prawn" refer to different animals in different parts of the world: larger types being referred to as prawns and smaller types as shrimps. However, the common tropical shrimps (Penaeidae) are referred to as shrimps in most places. Temperate types (Pandalus and Palaemon) are usually called prawns. In this manual we will conform to this usage as far as possible.
Several types of pot are used for prawns in the northern Atlantic. The details of a square wooden pot to take prawns (Palaemon) from the English Channel are illustrated in Figure 37 and a round pot to take prawns (Pandalus) on the western coast of France is detailed in Figure 38.
The most successful commercial fishing method for tropical prawns and shrimps, both shallow- and deep-water, is trawling. Some preliminary experimental trapping of deep-water prawns (Hetrocapus spp.) has been carried out off Thailand (Figure 39), eastern Australia and some islands in the Pacific.
Recent experiments in northern Australia used a number of trap designs (Figure 40) for penaeid shrimp with little success.
Figure 37
Prawn pot used in the English Channel

Figure 38
Shrimp pot used on the western coast of France

Figure 39
Experimental deep sea prawn pot (Thailand)

Figure 40
Australian experimental shrimp trap

Lobster and rock lobster pots. There are two main types of lobsters: temperate clawed lobsters (Homarus), and tropical and subtropical rock lobsters (Panilurus) which do not have claws.
In Canada and North America, lobsters are taken principally with pots that have wooden frames, although there is a recent move towards the use of plastic-coated metal. Canadian lobster pots are usually made from timber and are covered with 80 mm diamond mesh made from PARtex 1030 twine. The two funnels are also made from this mesh. The details of two common pots used in Canada are shown in Figures 41 and 42. Details of a pot made from plastic-covered metal are given in Figure 43. It should be noted that all these pots have the "bedroom and parlour" design.
Similar pots are used in North America and Europe. Beehive pots are also commonly used (Figure 44).
The two most common types of rock lobster pots are the beehive and the slat. Both rectangular and "D"-shaped wooden slat pots and beehive pots are used in the western Australian rock lobster fishery; a common design for a rectangular slat pot is shown in Figure 45. The beehive pots used in this and the southern and eastern Australian rock lobster fisheries are of similar design to those used in other parts of the world. In eastern Australia, "D"-shaped pots covered with wire mesh are also used (Figure 46). In New Zealand, rock lobster traps are made from welded mesh and require no internal frames.
The rock lobster fishery on the northeast coast of Brazil traditionally uses pots made from mangrove branches covered with chicken wire or synthetic mesh. The details of these pots (covos) are given in Figure 14 (p. 18).
In Nicaragua, rock lobsters are fished with pots made from 50 x 25 mm galvanized steel mesh with a funnel woven from cane or bamboo. The details of these pots are given in Figure 47.
Figure 41
Lobster pot (east coast of Canada)

Figure 42
Lobster pot (east coast of Canada)

Figure 43
Canadian plastic-covered metal lobster pot

Figure 44
Lobster pot in plastic tube (Brittany, France)

Figure 45
Western Australian batten rock lobster pot

Figure 46
Eastern Australian wire netting rock lobster pot

Figure 47
Rock lobster pots from Nicaragua

King crab traps. These are illustrated in Figure 48. Deep-water fishery for king crab in the northeastern Pacific and the eastern Bering Sea is carried out with large pots constructed from galvanized steel with frames of 213.3 x 213.3 x 91.4 cm. The frames for the funnels are also made from galvanized steel. The pot is covered with 152 to 229 mm polypropylene mesh and the funnels are covered with 76 to 114 mm mesh.
Figure 48
King crab pot

Swimmer crab pots. Estuarine and oceanic swimmer crabs provide an important fishery in some tropical and subtropical areas. Although the crabs are often taken by hand or with hand nets, potting is also an important fishing method. As crabs are generally not large and not very active swimmers, crab pots are small and simple in design. Crab pots can be shaped from wire netting or constructed from welded mesh. In some places a metal hoop with a strong synthetic mesh laced on to it is used. Such pots (sometimes called "dillies") are set with bait in the centre and hauled quickly so that the crabs cannot escape during hauling.
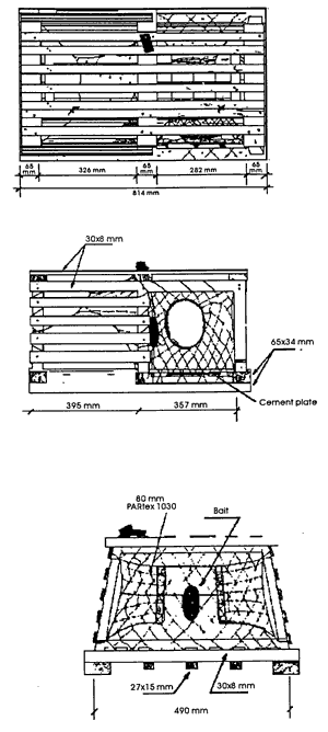
In northern Australia, mud crabs (Scylla serrata are taken with a specially made trap, which is known locally as a pot (Figure 49). These are typically 600 x 700 x 200 mm and made from 50 x 75 mm galvanized wire welded mesh without a supporting frame.
To make the pots, a rectangular piece of mesh 1 800 mm long by 600 mm wide is cut for the top, bottom and sides of the traps. Two additional pieces of 700 x 200 mm are then cut to make the end of the trap. When cutting the mesh, leave the ends of each wire long, so that they can be twisted to secure the top and ends of the pot. The funnels are made as a straight oval from 15 x 15 mm square plastic mesh (sometimes known as "gutter mesh"), the oval being 225 mm wide by 100 mm deep, i.e. 3 x 2 meshes in the wire. As crabs' bodies are wider than they are high, these funnels are flattened to approximately 80 mm high at the inner end. Sometimes a ramp is placed up to each funnel to make it easier for the crabs to walk up. This ramp also places the funnel entrance above the crabs when they are inside. This shape will also discourage the entry of unwanted fish. A 300 x 200 mm door is placed in the back of the trap to make emptying easier. Access to the bait boxes or bag can be made easier by placing an opening on the bottom of the pot (Figure 50).
Depending on the tidal range where they are set, crab pots are rigged with approximately 7 m of rope and 10 cm (4 inch) buoys to mark their location.
Figure 49
Northern Territory (Australia) mud crab pot

Figure 50
Bait holder and funnel ramp for crab pot

Although most squid and cuttlefish are taken with fishing gear other than pots and traps, some quite effective simple traps are used in several parts of the world. Octopuses are traditionally caught with traps as well as by hand.
Octopus traps. Unglazed earthenware pots are used in traditional octopus fishing in the Mediterranean and southeast Asia. The pots are placed on the sea bed for octopus to use as shelter. They differ in size and shape depending on the size, type and behaviour of the octopus being targeted. Although earthenware pots are traditional, you can also use other materials such as plastic piping, steel piping, old motor tyres and large empty mollusc shells to make traps for octopus, as they will enter almost any receptacle that can provide shelter (Figures 3c and 3d, p. 3, and Figure 51).
Figure 51
Baited octopus trap from Japan

Across the world, both baited and unbaited octopus and cuttlefish pots and traps are used. An example of a baited trap is shown in Figure 51. This Japanese trap is made from concrete or clay and has a door of stretched rubber that springs across its entrance when the octopus pulls on the bait. A type of unbaited trap used in Venezuela and Japan is shown in Figure 52.
Another kind of octopus trap can be made from two 50 cm long pieces of 150 to 200 mm diameter PVC piping lashed or bolted together lengthways. A flat concrete block is bolted into the centre of each pipe (Figure 53). These traps can easily be modified to include a door at each end of the tubes. The doors are connected to a bait inside the PVC pipe in such a way that when an octopus enters the trap and pulls the bait, the door closes behind it.
Pairs of tubes are attached to a buoyed main line and set in lines on the bottom.
Old tyres cut into pieces and split lengthways can also be used to make effective octopus traps. Figure 54 gives details of a way to make these traps. It has been reported that the rubber on the outside of the tyres peels off over time but, as old tyres cost little, they can be replaced regularly. These traps are set in the same way as the PVC piping traps and the earthenware pots.
Octopus pots are normally set overnight attached to longlines with up to 100 pots on each line. They are hauled back up in the morning. The number of traps on each line depends on the extent of the grounds and the size of your vessel.
Figure 52
Unbaited octopus pot from Japan and Venezuela

Figure 53
Unbaited PVC pipe trap for octopus

Figure 54
Octopus trap made from old tyre

Squid and cuttlefish traps. Several types of squid and cuttlefish traps are used in Southeast Asian countries. A rectangular Indonesian trap is described in detail in this manual.
Figure 55
Wooden frame for an Indonesian trap for squid

This rectangular trap is 100 to 110 cm long and 45 to 56 cm square at the ends. The frame is made from small wooden poles lashed together (Figure 55). This is then covered with PA 210/18 4.4 cm mesh. The funnel follows the two inside poles and is no wider that 35 cm at the inner end. When the trap has been completed, it is covered on the top and bottom with coconut or similar leaves. The traps are rigged either on a single line or on a double or side line (Figure 56). Squid eggs are used as bait for both squid and cuttlefish, but sometimes white plastic bags or broken white china are used instead. The trap should be set about 2 to 3 m from the sea bed, taking care not to allow it to touch the bottom.
Figure 56
Rigging of cephalopode Indonesian trap
