The three loose housing systems proposed in this work correspond to the needs and possibilities of most livestock raisers of young cattle in the developing countries.
After a concise description of these housing systems, the standards which have to be respected and the circuits called for, we need a more detailed description of how this housing is built, and that will be the topic of this second part of the work.
Whichever system is selected, housing is made up of a certain number of components, such as the manger, the drinking-trough, the fencing, and so forth, which fill highly specific functions. Each component can be thought of as an identical standard module, unvaried no matter which kind of housing is finally selected for its installation.
Strict standards have been formulated for the construction of each of these modules. The builder does, however, have great freedom with regard to building materials, which can be chosen in accordance with availability and price.
The “roof module”, for instance, can be tile, eternit, sheet iron, puddled clay or thatch; the frame, wood, iron or reinforced concrete.
With “modular” design, standard building components are possible for whichever kind of housing is selected. The manger module, for example, is identical for completely open, combination and fully roofed loose housing.
It is essential to respect these construction standards; sometimes a modification of a few centimetres is enough to prevent one of these components from functioning properly. This is true, for example, of the height of the withers bar and of the width of the holding passage. Any eventual change in these standards should be preceded by a detailed study and lengthy trials.
After the range of standard modules has been described would be the right place to examine how each is set up, since a rather strict sequence has to be followed.
The selection of the floor covering of the housing area proper and the surrounding space (feeding passage, holding corridor) is very important. On the one hand, the floor covering is an important item in the cost price of construction. On the other, proper utilization of livestock housing depends somewhat on what kind of flooring is selected.
In terms of cost, the range of difference between a floor which is merely tamped down and one where concrete is poured can vary from 1 to 20.
In terms of utilization, improper flooring can impede the movements of both man and beast, aggravate the hardship of the actual labour involved, and jeopardize the animals' cleanliness, comfort, and even health (lameness, various kinds of accidents…)
The major possible alternatives are:
Floor covering, therefore, must be selected on the basis of the following constraints:

It has been repeatedly emphasized that fully open yard housing should only be built on proper, meaning properly-drained, soils.
The economic interest of this system lies precisely in the fact that it needs neither roofing nor flooring. The ground may, however, sometimes be treated differently in the three sections of the housing:
Rest and exercise areas: The ground will be left as is or carefully drained so as to increase its resistance to trampling by the animals' hooves. Indeed, in view of the area allotted to each animal, better flooring such as blocking or paving would drive costs up to the point where the system would no longer be competitive with roofed systems.
Feeding area: this area of the housing, a strip 2–3 m wide along the manger, is usually treated the same way as the rest and exercise areas.
Since the animals drop most of their dung in the feeding area, it might be a good idea to treat this area somewhat differently, such as blocking and then flattening it with some mechanical device, for example, or even pouring concrete.
In the latter case, the sidewalk system is used: a horizontal platform 2–2.5 m wide is built along the manger. From time to time, the dung and refuse which have accumulated on the sidewalk are cleaned with a tractor rear- or front-mounted dung scraper, taken out of the yard and dropped into a slatted trench where the liquid manure can filter off, resulting in a dry manure which is much easier to handle and transport.

The amount of ground area is much smaller in the combined than in the preceding system (1.5–2 m2 roofed and 2 m2 open). Here the lying area is under the roof and the exercise and feeding areas comprise a single section in the unroofed portion.
Covered area: As it is not subjected to run-off, there is no point in giving the ground in the lying area any special treatment. The original levelling and tamping of the soil is sufficient, with the proper litter, to ensure the animals' comfort.
Open-air section: This is the feeding and exercise area. This is also the section of the housing where the tractor and trailer cross during manure removal. And lastly, this is the area where most of the dung collects.
If rainwater does not run off this section of the yard, it can become a real cesspool where the animals will have a hard time moving about, especially during the rainy season.
So the ground in the open part of the combined system should not be left as is, or simply tamped as in the preceding system: there will have to be some sort of treatment, which might include:
Unfortunately, we often see stockmen doing just the opposite; proceeding to pave the sheltered area of combined housing whilst leaving the ground in the open section as is. For the same expenditure, the housing loses much of its effectiveness due to the fact that the concrete is not serving any purpose and the feeding area becomes impassable during the rainy season.

The housing is entirely covered by a roof, so it is protected from rain and runoff. However, given the high density of animals/ unit of area, different solutions can be envisioned:
Floor covering: depending on the availability of litter (straw, wood shavings, or other absorbant, bio-degradable and inexpensive materials).
When litter is available and/or manure has some value, the housing floor can be treated in the same way as the covered part of the combined system. In other words, simply levelled and then covered with deep litter. Here the need for proper amounts of straw (2 kg/head/day) must be re-emphasized to ensure absorbtion of the moisture from urine and dung and hence the animals' cleanliness and comfort.
Moreover, where the animals are watered with an automatic drinking-bowl, it is a good idea to pave a one-meter wide area all around the bowl.
On the other hand, where litter is scarce (straw used as feed or too expensive), a sloping concrete platform will be built, (with a gradient of 8o in the direction of the manger) and there will be a semi-liquid manure drainage channel running along the feeding passage. With this system, the housing is automatically cleaned by itself as the animals trample the manure into the channel.
Flooring of annexe areas: (observations valid for all three housing systems).
The feeding passage has to be used several times a day by workers using a trailer (preferably animal-drawn). So this passage must be passable at all times. The ground will have to be blocked and rolled, cobbled, or, the more economical solution, asphalted.
When the housing is set up on a concrete platform, a rather wide cement channel (at least 30 cm wide and deep) should be installed immediately in front of the manger so as to allow a worker to clean out the dung trampled into the channel by the cattle. This cleaning is done from time to time.
The holding and circulation passage: is only used by the cattle on rare occasions — at the end of the breeding/fattening cycle and perhaps during periodic weighings. So nothing has to be spent on treating the ground in this passage; it can be left as is.
The manger fulfills a dual function in the housing systems described in this report: as a feeding area and as a partition separating the cattle from the outside. Special care must therefore be taken with its construction.
Its dual function means that the manger is one component of the housing which receives the most abuse from the animals as they rush onto it when the concentrates are distributed. It is therefore a good idea to overdimension the materials used so that the manger will not be quickly wrecked or damaged.
It should also be noted that the design and size of the manger influence the ease with which the animals absorb the fodder they receive. Independently of waste (fodder which has been refused or trampled upon after falling from the trough), the way the manger is built has a direct influence on the animals' daily consumption and hence on the technical and economic consequences of the operation.
Because of this, no matter what materials are used it is imperative to respect those standard dimensions which have been worked out after lengthy trials. These refer especially to the diameter of the trough, its height above ground and the space between it and the withers bars.
By the term “manger” we include the entire feeding-trough apparatus together with its protection devices such as the withers and protection bars which keep the animals out of the trough.
Various materials can be used in the construction of the trough:
Wood and iron, with which movable troughs can be built;
Reinforced concrete and parpen;
Semi-circular irrigation channel pipes where available.

Economic reasons may determine the choice of one of these two materials, though they can hardly ever compete with the other solutions suggested, in order to increase the flexibility of utilization of the building, which may have been remodelled in such a way that the easiest access is by movable troughs, but also for specific technical reasons, since these materials are light enough to allow the installation of a rack-bar to adjust the vertical height of the manger.
Wood is the easiest material to work with, but it is not available everywhere at acceptable prices. Another factor is that wood mangers usually have a shorter useful life than do mangers built of other materials.
Iron is also a rather easy material to work with, but it needs more equipment to work with (welding equipment) than does wood. And its cost is often excessively high in the developing countries. And iron mangers are often attacked by certain rather acid feedstuffs, such as silage, and by moisture (unless the iron is galvanized, which ups the cost further). Nor is their useful life necessarily longer than that of wooden mangers.
The construction of wooden or sheet-iron mangers is subject to the afore-mentioned building standards (pps 76–77). One necessary component is a standard protection device, no matter which material is used (pps 78–83).
The basic advantage of sheet-iron or wooden mangers is that they are lightweight — elements up to 6–8 meters can be handled easily. This means a rack-bar system can easily be installed so that height can be regulated in terms of the ground level of the housing. By the time the breeding/feeding cycle is over in a fully-roofed, deep litter, small space housing arrangement, the ground level may have risen over 50 cm. This rack-bar can be made from two metal bars which are slid under the trough into slots or holes in the supporting posts and the ends of the trough.
The use of this trough is particularly recommended for fully roofed loose housing, where the trough is protected from inclement weather and can be raised in height as the litter accumulates. Its use may also sometimes be recommended in combined housing using remodelled buildings where lateral access is impossible. Should this be the case, the trough can simply be taken down to allow dung removal or entrance or exit of the animals.

These materials do not always mean either the most economical or the most flexible solution. In addition to the fact that concrete and breeze-block managers can neither be moved or adjusted in height, they also present the disadvantage of preventing the installation of certain manure removal systems (such as the sloping concrete platform). Still, if breeze-block and reinforced concrete often meet with the approval of livestock raisers, it is because they can usually be used by fairly unskilled labour, and especially because the installation is a very sturdy one which can be amortized over a ten to twenty year period.
Parpen (or conglomerate) is easily manufactured on the farm with a minimum of equipment and at relatively low cost. However, it is not always resistant enough (this depends on the composition of the mortar used in making them).
Reinforced concrete, a relatively easy material to work, has almost unlimited resistance. But its cost price is often considered excessively high.
The parpen or reinforced concrete manger is built by making two parallel partitions 60 cm from one another. Parpen partitions can be 15 cm thick and reinforced concrete 8–10 cm.
The partition on the side of the housing is 60 cm high. The partition on the side of the feeding passage is 75 cm high. In this manner the cattle are unable to push the fodder outside the trough (and outside the yard) with their muzzles. The area between the two partitions is filled with pebbles up to a height of 30 cm, leaving a trough depth of 30 cm on the side where the cattle feed.
After plastering the whole arrangement with a mortar rich in cement, the standard protection device will be installed as per the other manger models.
Wherever semi-circular irrigation pipes are unobtainable, the use of this kind of trough is recommended for fully open yard and combined housing systems. As a matter of fact, since this kind of trough is attached to the ground by foundations, the masonry trough can obstruct the passage of dung towards the feeding passage. This would make it difficult to set up a sloping concrete platform, which is of interest in areas where straw is too scarce to enable the deep litter system to be used.

This is the recommended material for use when the farm is at reasonable distances from where the pipe is manufactured.
These semi-circular pipes of vibrated concrete have an interior diameter of 60–80 cm. Trapezoidal pipes, with an interior diameter of less than 60 cm have proven less resistant and are to be avoided, as they do not offer sufficient capacity for the distribution of voluminous feeds such as fooder (silage, hay, green fodder).
This is the simplest and quickest kind of manger to build. All the pipes are laid onto their prepoured supports at the same time, thus cutting down on labour supervision.
It is also a very sturdy material, resistant to the shocks of bad weather as well as the weight of the animals. Its useful life is virtually unlimited. In the final analysis, this is the most economical solution, especially when the pipes can be bought second hand or at bargain prices (should they not be absolutely waterproof, and thus unusable for transporting water, this defect has no effect upon their use for feeding-troughs).
A detailed description of how to build feeding-troughs from irrigation pipes is given in the following pages (pps. 74 to 83). Let us just mention at the outset that use of this material is limited only by transport and handling problems (where the pipes are available).
The weight of each component, measuring 6–8 m in length, is such that they have to be moved to the building-site by large trailers, and these cannot always get through the trails leading to the building-site.
Unloading should preferably be mechanical, so a crane ought to already be available on the site.
In light of the costs involved in moving the pipe, its use would not seem to be recommendable unless the building-site is less than 100–200 kms from where these pipes are available.
The semi-circular irrigation pipe trough can be recommended for use in all types of housing. In any case, to the extent this trough is too heavy to be able to be adjustable in height by means of a rack-bar, its use will preferably be reserved for fully open and combined housing systems.
The existence of a space of about 30 cm beneath the trough and the ground means that irrigation pipes can be used with concrete platforms which are so useful in areas where straw is scarce.

Though the manager may well be built with various materials, the authors have decided to provide a detailed description of a manager, its protective devices, and assembly, based on the use of irrigation pipes. This does seem to be the material with the best cost/strength ratio in most cases. And it is also a rather original technique, which deserves an explanation.
Concerning the protection system (pps. 78 to 83), this is identical, whatever material is used in building the manger.
Various materials can be used to support the irrigation pipes. The manufacturers of these pipes often deliver them with vibrated concrete supports designed to fit the outer sides of the pipes. But when such supports are not available, they must be built from bricks or breeze-blocks. The use of such lightweight materials as wood and metal is not recommended as they are too weak to support the weight of the pipes.
Where the supports are delivered with the pipes, they must be bedded in accordance with the following standards:
Distance between the axises of the supports must be exactly equal to the length of the pipes used so that where battery housing is used, the end of each pipe can be laid on one-half of the support (the other half is for the next pipe). This material is so strong that no intermediate support is needed.
Support thickness varies with the material used: about 15 cm is enough for reinforced concrete. A row of bricks where brick is used.
Support height is basic as the height of the trough is determined by it. To respect the height of the trough, the lowest part in contact with the pipe should be about 20–30 cm off the ground, according to whether the pipe measures 60 or 80 cm, respectively, in diameter, and about 7 cm thick.
Horizontal supports on sloping ground would not be a desirable element; the essential priority is the height of the edge of the manger with respect to the ground. In the no-roof, fully open yard system, the manager will be set up on the highest part of the site so as to avoid the accumulation of water in the feeding area, which is where most of the excreta accumulates.

As has been emphasized, there are many advantages to the use of irrigation pipes for feeding-troughs. But these pipes must be used in accordance with a number of highly specific recommendations.
The pipe is laid asymmetrically on its supports. The two edges of the pipe are not level with respect to the ground. The side of the pipe facing the housing has to be about 15 cm lower than the side facing the feeding passage.
It is this asymmetry which prevents the animals from knocking their fodder over the edge of the trough with their muzzles.
Where very voluminous feed is distributed (hay, straw), the asymmetry of the trough can be added to by fastening a plank about 20 cm wide in a vertical position above the outer edge of the trough.
The pipe has to be laid at the proper height with respect to the ground: the right height is 60 cm aboveground for the side the animals are on and 75 cm for the side facing the feeding passage.
How accessible the feed is determined by the height of the manger on the animals' side of the trough. Obviously, what is needed is an average height applicable to both 100 kg cattle housed immediately after weaning and 450 kg young cattle ready to leave the housing — slaughter for the males and breeding for the females.
It is imperative to respect this standard. Anything higher would block the animals (especially the younger ones) at dewlap height, and would keep them from getting to the bottom of the trough — to the concentrates, for instance.
Anything lower would be wrong because the animals grow in size and the ground level rises where deep litter is used. The result would be that the manger would be filthied, the animals would have to kneel to feed, and there might even be accidents as the animals, with their feet in the trough, were jostled by the others.
Stockmen often build their mangers level without taking into account the slope of the site. The result is that the edge of the manger is the wrong height along much of the housing. If a livestock raiser is bothered by having a sloping manger, then he will have to agree to the outlay for terracing prior to construction of the manger.

Various materials can be used for making the posts to support the manger protection system (withers and protection bars):
The use of wood makes it considerably easy to fasten on the elements the post is intended to support. And it is usually cheaper. Hardwood sapling poles 15 cm in diameter are preferable to sawed-off pine wood which has to be 20 cm through. In any case, the posts will presumably be treated to prevent rot.
The more aesthetic metal tube, with an external diameter of 80 mm, can also be used. But it is more expensive and is more difficult to attach the withers and protection bars to.
The reinforced concrete post may sometimes be the most economical, but, here again, there will be problems with attaching the protection bars to it.
The dimensions of these posts vary according to the bedding system selected, no matter what material is used.
The above-ground measurement of the post is that of the fences: 1.60 m. If the posts are bedded with road metal and coarse concrete, they can be sunk to a depth of just 50 cm, making a total length of 2.10 m.
However, if, for economic reasons, one should decide to not use cement and use only tamped earth to hold the posts, they should be sunk to a depth of 80–100 cm, or a total length of 2.40–2.60 m.
Bedding the posts:
Spacing between two successive posts must not be greater than 2.50 m. The substantial pressure put on the withers bar by the cattle when the feed is distributed would mean that any greater spacing than 2.50 m would make the protection device too fragile.
The posts are so arranged as to touch the top side of the trough on the side of the housing: if the posts were placed away from the trough, the withers bar would keep the cattle too far away from the trough.
And lastly, for prolonged use of the installation, it would be desirable to protect the posts from attack by urine and litter, especially where the deep litter system is used. This is particularly important when metal posts are used. Set into a block of concrete about 30 cm above ground level, they will be sufficiently protected.

The withers bar has an essential function. This is a horizontal bar which, as its name indicates, is located at the animals' shoulder height so as to keep them from getting too far into the manager whilst at the same time allowing easy access. With the withers bar, it is at the same time possible to:
prevent the cattle from getting their feet into the trough;
force them to feed perpendicular to the trough and therefore reduce to the minimum the trough width occupied by the individual animal;
keep the animals from getting out of the housing. We might say the manger fulfills the dual function of providing food and fencing the cattle.
Materials suitable four use for withers bars have to be sturdy enough to resist the shoving action of all the animals rushing at once to get to the trough to eat their favourite foods, such as concentrates.
The ideal withers bar is the metal pipe with an internal diameter of 50 mm and an external diameter of 60 mm. However, if this is not available, a smooth, cylindrical wooden bar, with a diameter of at least 120 mm, can be used.
It is not advisable to use a board. It would be too fragile, considering the distance between the posts.
The bar is fastened on the side away from the housing. In other words, over the manger. Though it would seem that to fasten the bar on the animals' side would make it more solid, this is to be avoided as it would push the animals back from the manger at a distance equalling the sum of the diameters of the post and of the bar.
The bar is fastened in the same way for a movable or stationary manger (see pps. 68–69). A metal bar will be fastened by two forged hasps bolted onto the post. A wooden bar will be fastened by two bolts going through both the post and the bar. For movable mangers, regularly spaced holes will be drilled into the posts (e.g., every 10 cm), so that the withers bar can be raised at the same time as the manger is moved.
The distance between the upper edge of the trough on the side of the animals and the withers bar must be 40 cm. For animals weighing under 200 kg., it can be cut to 35 cm and for animals weighing over 500 kg it should be increased to 45 cm.

The trough and the withers bar would not be enough to keep the young bulls from climbing over the manger without a protection bar above them. In the final analysis, it fulfills the function of being the highest part of the permanent fence.
One can, in fact, given the aforementioned measurements, calculate the height of the withers bar at a bit more than 1 m off the ground, which would not be enough to keep the animals from jumping out of the yard.
It is rare that the protection bar has to bear the weight of the cattle. Its part is rather to dissuade them from trying to jump or climb over the manger. The materials used to make it, therefore, are more lightweight. They will be the same as those used in the permanent fencing: 35 mm boards, 100 mm diameter wooden bars or 500 mm diameter metal tubes.
They are fastened in the same way; for the pipe, and for the board or wooden bar.
The protection bar is fastened so that the height of its upper edge is the same as the top height of the permanent fencing - 1.60 mm from the ground.
To conclude this chapter on the manger, the following items must be emphasized:
each of the components described (manger, posts, withers and protection bars) has a highly specific and irreplaceable function;
the choice of materials and how they are fastened is rather flexible. The only decisive criteria, other than the economic factor, is their resistance to prolonged, intensive use. Looking at it from this standpoint, compatible materials (meaning, having the same useful life) have to be used. It would be silly to build a manger which could last for 20 years and a protection system which had to be replaced after one or two.
the dimensions (especially trough and withers bar heights), are absolute imperatives. They have been formulated after many and extensive trials. To modify them in any way would be to jeopardize the best possible return from all inputs.
Young cattle need a permanent, always accessible source of water. Proper watering is an a priori in successful cattle raising.
The poor results which have sometimes come out of conventional stanchion stable establishments which are not equipped for frequent watering of the animals have to do with the fact that insufficient watering brings about diminished fodder consumption and therefore a lower performance platform.
Among those factors influencing the daily intake of water are liveweight, the kind of fodder distributed, dry matter content of the cattle's diet, individual performance, climatic conditions, how often the animals are watered, etc….
It can be estimated that the average daily water intake of young cattle weighing in at 300 kg is about 30 litres, which varies substantially with climate and diet.
A single manger model has been presented for all types of housing and materials used. However, different solutions can be envisioned for the drinking bowl:
When the farm does not have a supply of running water, the best plan is to store enough water in the housing area to supply the animals' needs for over 24 hours. The best solution in this instance is the large-capacity reservoir tank. But unfortunately it is only suitable for fully roofed open housing.
However, when the farm does have running water, the reservoir can be a rather small one if it refills automatically.
The construction of any type of loose housing which would not have a permanent supply of water accessible at all times to the animals is definitely not recommended. To take the animals out of the enclosure once or twice a day to drink would inevitably reflect unfavourably on their performance.

Supplying water: The reservoir-watering trough will be installed only on farms without running water. Indeed, the much higher installation and operating cost of this system is only justified where water has to be transported by movable tanks from a rather distant source of water.
A unit of more than 20–30 animals presupposes the installation of a reservoir watering-trough which would require the permanent presence on the farm of a tank trailer and tractor. For smaller units, animal traction is recommended.
Description of the watering-trough: A reservoir-type drinking-trough is made up of a tank with a 50-litre capacity per animal and the accessory protection devices. The simplest solution is a semi-circular pipe identical to the one used for the manger. It must be closed at both ends by a cement partition and laid horizontally with both edges at the same distance from the ground. A pipe 60 cm in diameter and 8 metres long has a 1 100 litre capacity and can meet the needs of a twenty-head lot. A pipe with an 80 cm diameter (internal diameter in both cases) can be used for larger lots. For the same 8 metre length it can contain about 2 000 litres, which can water a lot of nearly 40 head.
If these pipes are not available, the tank can be made of breeze-block or formed concrete: the top of the tank should be 60 cm off the ground, the depth 30–40 cm, and the width 60 cm. These masonry tanks have a capacity of 180–240 litres/linear metre.
The use of metal tanks is only justifiable economically speaking if the tanks were purchased for some other purpose and are simply being adapted for use as watering-troughs.
Whatever material is used in making the tank, it should receive the same protective devices as the trough; i.e., withers and protection bar.
One possible arrangement for the tank/trough is to build it between two lots, whereupon it becomes part of the partition separating two adjacent yards. In this case the protection system has to be set up on both sides of the watering-tank.
The tank/trough is very adaptable to no-roof open yard systems, and, where strictly necessary, to combination-type housing. In the latter case, it has to be installed under the roofed section, which limits the length to 3–4 m (and hence the capacity).
The installation of the tank/trough in fully roofed loose housing is not generally recommended.
Finally, it should be noted that carrying water by tank trailer weighs heavily on the budget for feeders/breeders: it is always desirable. to examine the possibility of piping water and thus making possible the installation of one of the two above described drinking-bowls.

Water supply: Wherever possible, the installation of water under pressure is recommended for young cattle housing
plugged into an existing network of pipes; of course the choice of the housing site will have to take into account such a network and its location;
constructing a water tower with mechanical lifting such as an electric, motor, gasoline or wind-powered pump.
setting up a reservoir at a higher elevation to provide water for the housing even though refurbished by tank truck, when the spring or well is far away.
It does seem excessively costly to set up a supply of water under pressure, but in actual fact it always translates into considerable savings when compared with watering from tank/troughs, because:
the automatic supply is a labour-saving device;
water under pressure removes the risk of a water shortage, which can result in lowered performance;
with water under pressure, the smaller drinking-bowls, which are better adapted to combination and fully-roofed loose housing, can be utilized.
Description of the watering-tank:
a 100–200 litre tank can be made of concrete and designed to include protection and withers bars so that the animals cannot get into it. The amount of water entering the tank is controlled by the sort of ball found in a flushing toilet and hidden beneath a sturdy metal cover. The level of the water can thus be maintained constant.
A tank of this type can also be devised much more simply and less expensively from a 200-litre metal tank. A portion of the metal is removed so that the animals can drink from the inside of the tank, and the ball arrangement is protected by the covered portion.
The use of the constant-level drinking-bowl is recommended for all types of housing at the rate of a single apparatus per lot in the case of a metal tank and one apparatus shared between two lots in the case of a concrete watering-trough.
Indeed, the constant-level drinking-trough of local manufacture can usually be an advantageous substitution for the automatic drinking-bowl in most of the developing countries.

Water supply: The advantages of installing water under pressure in feeder/breeder installations can hardly be overemphasized. The characteristics of the automatic drinking-bowl, which only has a capacity of about 1 to 2 litres, and which refills as the animal drinks, mean that a certain minimum of pressure is needed for correct utilization. So where pressure is low (such as a reservoir of water at not much greater elevation than the housing), this system is to be avoided.
Description of the drinking-bowl:
Usually made of cast-iron and delivered ready for immediate use, it has only to be connected up to the running water supply. It has the advantage of taking up very little room. Unfortunately, it cannot usually be manufactured in the developing countries and must be imported at relatively high cost.
The automatic drinking-bowl is of universal application. It fits all types of housing and is especially suitable for the fully roofed loose housing system because it takes up so little room. One drinking-bowl can accommodate 15–20 head (one at a time, of course), and hence lots housed in combination or fully roofed loose housing.
The location of the drinking-bowl, whether automatic or constant-level systems are used, must conform to the following recommendations:
Fully roofed open housing. The drinking-bowl will be installed in the exercise area, along the stationary side fences.
Combination-type housing. It will be installed just immediately before the roofed area.
Completely open yard housing. The drinking-bowl will be installed in one of the rear corners of the yard.
No matter which type drinking-bowl is selected, it must under no circumstances be installed in the centre of the housing (which would hinder mechanized litter removal), by the movable fences (which would prevent access to farm machinery) and near the manger (hindering access to the feeding-trough).
Here we wish to discuss all those superstructures which fulfil the functions of protection (roof and protective wall) and partitioning (stationary and movable fences).
In choosing the materials for building these elements, the builder ought to demonstrate as much imaginativeness and flexibility as possible.
Indeed, the list of materials given here is by no means exhaustive. And this is the area in which the boldest and most economical solutions can be sought.
Common sense and cost should be the only guidelines dictating the choice of materials. In any case, it is helpful to keep in mind the function of each component and consider only those factors connected with fulfilling this function.
The function of the roof, where there is a roof, is only to protect the lying area from too much sunshine and rain. The kinds of conventional (traditional) roofing already found in most of the developing countries are quite adequate for this purpose.
The function of the walled-off area, where there is one, is only to protect the lying area from the action of the prevailing winds. It is easy to imagine that this being the case, what is needed is not necessarily a wall but a sort of screen, which can be made from the most diverse materials.
The function of the stationary fence, as has already been mentioned, is to prevent the animals from getting out of the housing. In this area, each country has its own customs, and these can eventually be used to great advantage.
The function of the movable fence, is the same as that of the stationary fence. However, it must be able to be opened easily and closed firmly. Experience appears to demonstrate that movable bars are preferable to the conventional stockyard gate.

Roofing construction methods for combined and fully roofed housing are flexible for what concerns the materials to be used. But concerning the actual construction of the roofing, methods must be more strictly adhered to.
The materials which can be used are extremely varied. In roofed housing, this is the component with the highest cost per head. So the solution opted for must offer the best cost/strength ratio - meaning the one involving the lowest possible amortization cost.
The frame can be made out of: wood (easy upkeep and relatively resistant), iron (minimal upkeep but expensive), reinforced concrete (very resistant but not reusable should the building be remodelled for some other use). These components can, eventually, be prefabricated.
The roof can be made from industrial tile (the disadvantage is that it is heavy and easily broken); from eternit (light and easy to assemble but fragile): from sheet metal (even more lightweight but rusts easily). Conventional (traditional) materials such as puddled clay and thatch can also be used. Though they do occasionally have to be redone, there is no initial outlay for materials and they are excellent insulators from heat.
The construction of the roof must respect a certain number of essential specifications:
The roof frame must be high enough to allow for normal circulation of men and animals, and possibly such farm machinery as the forklift, and it must be high enough after the deep litter has piled up (it can pile up as much as 50 cm). The lowest point of the roof frame must be more than 2.5 metres off the ground. This recommendation is of particular importance in the fully roofed type of open housing, where tractors have to be able to manoeuvre at some point.
Since the depth of the fully roofed housing is 6–8 m and the slope is 20 percent the height of the edge of the shed on the manger side is about 4 metres.
The slope of the roof must, in fact, always be oriented towards the rear of the building. There is no problem with the accumulation of water in the circulation and holding passage, since the passage is only used by the cattle once a month.
The roof must never be oriented towards the front. Because in the combined system, the rainwater would then accumulate in the exercise and feeding area, and in the fully roofed yard it would accumulate in the feeding passage, making them both impassable.

Like the roof, the shelter wall is only found in the combination and fully roofed yards, which have to be oriented against the direction of the prevailing winds. In order to protect the animals, the end of the covered part is boarded up (or other materials are used) to provide a wind screen.
The materials which can be used for the shelter wall are also very varied.
The most satisfactory solution is to build a brick, breeze-block or stone wall, but it is also the costliest one. It is cheaper to use sheet-metal, boards, and even thick bales of straw protected by fine wire netting on the side of the animals, even if it has to be reinforced by a stationary fence. Nor ought one to eliminate such traditional solutions as the puddled clay (adobe) wall, which involves no other expense than the cost of labour.
Whichever material is selected, the shelter wall must include a ventilation system and an entrance/exit door.
So as to ensure that the housing will be well-aired, it is a good plan to leave a free space about 50 cm high on the top part of the rear wall and all along the building. This opening, which lets the hot air circulate in the summer, has to be able to be closed off in the winter by windows or even by bales of straw or just by fairly strong sheets of plastic (plastic sacks).
We remind the reader that an entrance/exit door allowing access to the housing to both people and cattle has to be built in for each lot. This door is set in the protective wall, and provides direct access to the circulation and holding corridor located behind the building. The door is set into a corner to facilitate the handling of the animals and should measure 1 m wide by 2 m high.
Lastly, in regions with very cold winters, or where there is no prevalent wind direction and it blows first from one corner, then from another, a temporary protection system can be envisaged involving the use of a lightweight curtain (nylon or plastic), stretching all along the shed roof to protect the manger and the ground.

Fence construction is one of the basic components of fully open yard housing. It is very limited in the combination system and virtually non-existent in the fully roofed yard system.
The permanent fencing is made up of posts, bedded in the ground, and fencing materials. Each of these can be made from different materials, but both must conform to exact building specifications.
The principal materials which can be used
For the posts, it is usually more economical to use wooden poles with a diameter of about 15 cm, but these are also less sturdy when they have to hold up under long and intensive use. Iron posts 15 cm in diameter and iron pipes 8 cm in diameter are strongest.
The actual fence can be made from a series of horizontal bars. These can either be 35 mm thick planks, or metal pipes at least 5 cm in diameter.
Despite the variety of the materials which can be used, certain standard specifications must be observed in building the permanent fence.
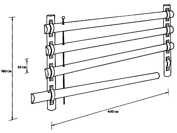
The height of the fence must be 1.60 m off the ground. This is high enough to dissuade the young cattle from trying to jump over it.
There must not be more than 25 cm of free space between the bars. This keeps the animals from sticking their heads through the fence, which might cause accidents and damage to the installations.
The number of bars of which the fence is made up is determined by the total height of the fence, the spacing between the bars, and the width of each bar. For 15 cm boards, 4 bars will be enough; for 50 mm metal pipes, 5 bars will be needed with the bottom bar 35 cm off the ground.
How strong the fence is depends on the spacing of the posts. Spacing, of course, depends on the kinds of materials used to make the fence and their dimensions. A 2.5–3 m spacing is usually considered to make the fence strong enough.
The way the fencing is joined to the posts is important. It must be strong, not risk harming the animals, and be easy to repair. The nail and barbed wire are to be avoided. The best solution is the threaded rod, and, when the fence is made entirely of wood, the bolt.

We remind the reader that all of the three suggested housing types must include a service passage so that the litter accumulating in the yard can be removed from time to time. In fully open yard housing, the service passage is directly behind the manger; in combined housing between the manger and the roofed section; in fully roofed housing beneath the roof. Except during cleaning operations, the passage is closed by movable fences.
The materials used in building the movable fence are the same as those mentioned for the permanent, or stationary fence. Height above ground: 1.60 m. Space between removable bars, 25 cm. Number of bars: 4 or 5 according to their diameter.
The only difference lies in the way the movable fence is attached to the two supporting posts. Here there are three possible solutions:
The conventional gate would not be possible, given its four-metre length, unless a lightweight, strong material such as metal pipes mounted on a reinforced axis with a support cable were used.
The rigid, movable fence is made up of horizontal bars set on vertical mounts at each end, perhaps supported by one or more slanting braces.
The fence is hinged at both ends so that it can open either way, or even be taken off altogether.
Movable bars. Whereas in permanent fencing the bars of the fence are permanently attached to the posts, with the movable fence one has to be able to take the bars away: they can slide freely through plate iron hasps attached to the posts. To make sure the bars are not moved by the animals, they can be held in place by an iron bar running through them from one end to the other.
Loose housing is common housing, so when handling is necessary, the animals are handled as a lot. So the handling of young cattle housed in this way is quite different from that of a tied animal, especially in the case of ungelded young bulls. Loose housing therefore needs an additional annexe where the animals can be handled and held (circulation and holding passage and corral). In addition, since the animals cannot be treated on an individual basis in open yard housing, another annexe, the infirmary, should be attached for treating sick or wounded animals.
The handling and holding premises are especially essential for the periodic weighing of the lot. Without such facilities, the weighing process can become an endless, tiresome and sometimes dangerous “corrida”.
So that the animals will not disperse upon exiting from the yard, they should be channelled into a circulation corridor. The principle of this corridor is a simple one. All that is needed is to build a permanent fence along the back of the housing, and parallel to it. This corridor should not be wider than 70 cm. Each yard gives on to the corridor from the entrance/exit door in the shelter wall in the rear of the yard.
The corridor ends in a corral built of permanent fencing and with a movable fence about 3 m wide to let the cattle scales through. The corral should be big enough to hold the entire lot at once, with space of about 1.50 m2 for each young bull.
When weighing starts, the movable scales is brought into the corral at the end of the holding corridor, the housing door is opened, and the animals are forced to proceed towards the scales. They can neither go back, being pushed by the ones behind, nor turn around (the 70 cm corridor is too narrow), so they have to move forward towards the scales.
After the entire lot has been weighed, all the animals are in the corral. They can be brought back into the housing area in the same way, only the scales will not be used this time.
The other lots follow the same procedure.

The handling and holding of young cattle housed in open yards is rather exceptional, as it only occurs once a month where the animals submit to growth checks.
Partly because of this, the animals are not accustomed to be handled. If the housing does not have the proper facilities, the operation can be dangerous for both the men and the animals.
Basically, the design of these facilities must be adapted to the kind of housing, the size of the livestock unit (number of yards) and hence the number of animals. The size and weight of the animals will also be considered.
For small, open-yard livestock involving some tens of animals, the aforementioned system of adding a circulation passage 70 cm wide along the permanent fence opposite the manger side of the building is perfectly suitable. The corral is reduced to a simple enclosure of 1.5 m2/head.
For larger units, with accomodations for several hundred head, more complete installations should be planned. First of all, out of necessity housing of this type involves batteries of yards built in tandem back-to-back. It might be a good idea to run a service passage 3 m wide between them for vehicles and animals. If this is done, the best thing is to set up a corral at one end of the service passage. It should include at least three sections: a waiting area (1.5 m2/head) where the animals wait to be weighed; a holding passage 70 cm wide and about 10 m long, where the animals can be contained and which leads to the scales; a common area where the animals can wait after weighing (1.5 m2/head).

For small combination and fully roofed systems holding a few tens of cattle, the system just described can be quite suitable. It boils down to a circulation passage 70 cm wide, narrow enough to double as a holding passage, and which gives onto a simple corral.
In this case, the circulation passage is always at the back of the building. The shelter wall is paralleled by a permanent fence. The animals enter the passage by the entrance/exit door already described (p.55).
For larger units with accomodations for several hundred head, facilities are of course a bit more complex. A circulation passage for each row of housing and behind the shelter walls will be retained, but there has to be a passage where all these passages lead or meet. This will be a communicating passage at one end of the battery housing, made up partially of movable fences, and giving onto a corral and single holding passage.
There really are a large number of design possibilities with regard to corrals and passages. They depend on the kinds of buildings, the number of animals to be handled, and the different operations to be carried out.
Independently of the components just described - the waiting, holding and corral areas - the complex may also include the following components:
a funnel area as part of the waiting section, making it easier to get the animals into the holding passage;
a holding or working cage to hold the animals still during such painful operations as foot treatments, tagging, polling, and the like;
a dip or shower passage for occasional treatment of external parasites;
a permanent scales; sturdier construction than the mobile models. It would be best to protect this scales by some lightweight construction;
a sorting arrangement with a multiple access door to facilitate selection of individual animals and constitution of lots;
a loading platform where the cattle can be loaded and unloaded onto trucks.
There is extensive literature, primarily American, detailing the various kinds of solutions.

Concentrations of large numbers of young cattle in the same livestock unit necessarily entails a specific disease situation. To treat the diseases which arise, facilities must be planned as an annexe to open-yard housing, though this is not necessarily the case with stanchion stable housing.
As soon as the first symptoms appear (the animal refuses to eat, stays off by himself, is dominated by the more aggressive of his mates), he must be isolated from the rest in his lot and installed in the infirmary. If a sick animal is left with the lot in loose housing, his recovery may be jeopardized, since:
he cannot get the proper supervision;
he cannot get the needed treatment (veterinary care, special diet);
the healthy animals will keep him from getting his share of the feed.
The infirmary must meet the following specifications:
it must be so laid out that each sick animal can be isolated, either tied or in his own box where he can be untied;
it must be so built as to take into account the fact that a sick animal needs better protection from heat, cold, wind and dampness than does a healthy one. So, preferably, the infirmary will be fully roofed even for fully open-yard or combination housing;
in addition, this will have to be “permanent” construction (something sturdy) - concrete flooring, breeze-block walls, and the like - so that the premises can be periodically disinfected;
it should be located near the quarters of the workers or herdsmen.
Certain afflictions require permanent surveillance and this may well occur outside of working hours;
a certain minimum of facilities is required, such as heat, lighting, a store of veterinary medicines, individual drinking-bowl…;
it must have accomodations for about 3 young cattle out of 100, on the average.
The loose housing models described in this work range from actual construction to simply working the ground. This fact may appear to justify a great deal of variety with regard to installing these facilities. Nonetheless, the actual construction has to follow a strict sequence of operations once the following preliminary work has been completed:
Site selection, which must, we remind the reader, take into account the drainage capacity of the soil as well as the proximity of fodder crops for the cattle (for silage, a distance of more than 3 km between the plot and the silos/housing complex, is definitely not recommended); the availability of water; and the existence of an all-seasons road for shipping farm products and animals off the farm.
Selection of housing system and number of units; this assumes, we remind the reader again, a detailed study of the specific conditions of the kind of livestock specialization involved.
Transport onto the site of all the building materials needed before beginning construction. Too often housing construction is halted at the last moment because certain materials are no longer available.
So, a strict sequence of building operations has to be respected, each separate job and special worker following one another in the site so that each operation is carried out under the best possible circumstances.
If this sequence is not respected, much time can be wasted. Sometimes, work already completed has to be undone or redone.
In any case the work plan and programme chosen must absolutely be respected. Any sudden modification which might disturb the smooth running of the work-site and, ultimately, satisfactory utilization of the housing, is to be shunned.

The choice of the site for building loose housing for young cattle is extremely important. The length of amortization of this kind of installation can run about ten years. It is recommended that both the present situation and development prospects for the individual farm specialization be taken into account. Particularly:
the existence of access roads allowing all-seasons transport of farm-produced animals and feed off the farm;
soil type, which is, we remind the reader, very important in fully open and combination type loose housing;
proximity of other farm buildings, particularly those for housing the workers in charge of caring for the animals and from which operations will be directed;
the nature of the feeding/watering system, feed storage and water supply. In effect, feed must of necessity be stored in close proximity to the housing facilities. The daily transport of fodder and water over a distance of several kilometres, often by tractor, adds very heavily onto the cost of breeder/feeder operations.
In calculating the total area of the installations, both the housing proper and the annexes must be considered: feeding passages, circulation passages and open areas facilitating the circulation and manoeuvering of transport equipement.
Next, a topographical survey including an assessment of the drainage capacities of the soil. As we have seen, this is one important essential for fully open-yard housing. The topographical survey is also essential where the land chosen for the site has to be levelled before construction.
Lastly, site preparation includes staking-out, which consists of marking off all areas of the building which touch the ground, and which include the supports for the mangers and drinking-troughs, fence posts, roof supports, and the like.

The first step in building the housing is to install the support posts for the manger, drinking-trough and roof (if the housing is to be partly or fully roofed).
This is a two-stage process:
The foundations can be dug by hand, with a tractor-driven drill, or by excavator. This is also when the holes for the fence posts (both movable and permanent) should be dug.
Foundation depth for manger supports and watering-trough supports has to be calculated so as to allow these building elements to be set at the proper height (See pps. 77 and 87).
So as to ensure that the permanent and movable fences will be strong enough, it is recommended that their support posts be sunk to a depth of about ⅓ the portion aboveground, or roughly 55 cm.
The volume and depth of the concrete base to support the roof (where there is one) can vary according to the weight of the roof, and hence of the roofing materials used. With a metal frame with a bearing-surface of about 8 metres and fiber cement roof, the posts can have a volume of roughly one/eighth of a cubic meter and a depth of 50 cm.
A cement-rich concrete is needed for the bedding of the support posts so they will be able to bear the weight of the semi-circular pipes, which is considerable and which is increased by the weight of the water it contains in the case of the reservoir-drinking troughs.
Spacing between the manger supports must, we remind the reader, be calculated in line with the length of the pipes used to build the manger.
Care will be taken with the drinking-trough supports to ensure that the two posts which keep the pipe in a horizontal position (and hence govern its real capacity) are properly placed.
The roof supports usually have a metal bolt to which the frame is bolted.

Let us recall that different possibilities have been considered concerning the materials which can be utilized for mangers and watering-troughs pps. 68–73). Just where installation of the manger fits in the building sequence has to do with the materials chosen for its construction.
Wooden or iron mangers will be installed at the end of the sequence, after the fences have been installed.
Concrete or parpen mangers, do not require prior bedding of supports, and so they can be built at this stage.
For mangers and drinking-troughs made from semi-circular irrigation pipes: they cannot possibly be laid manually, given the fact that an irrigation pipe 80 cm in diameter and 80 cm long weighs 2 tons. If unloading and laying of such pipes were attempted without the help of a crane, either the supports or the pipes themselves might very well crack.
For this reason, on the day the pipes are laid and as soon as the support base is perfectly dry, a hydraulic crane just like the ones used to load the pipes onto delivery trucks at the factory must be brought onto the farm. By planning ahead in this fashion, all the pipes to be used in the housing complex. (troughs and mangers), can be laid at the same time.
Building the roof, should there be one (fully roofed and combination systems). At this stage the frame is erected and the roof put on. For instance, where metal frames are used, quite a bit of room is needed to install them. Were this left until a later stage, it might be quite difficult for the workers to maneuver among the posts and fences. These should be mounted later.

We have already indicated that the foundations for the support posts for the withers bar along the manger and reservoir-trough and for the permanent and movable fences around the housing must be dug at the very onset of the work. (See p. 115). In fact, once the pipes have been laid and the frame built, such earthworks could only be carried out under poor conditions.
On the other hand, were the posts to be set too early, they would disturb the progress of the work and might well get broken, especially when the troughs and mangers were laid.
Not only this, but since the recommendation is to bed the manger posts so as to lay right next to the upper edge of the manger (see p. 79), bedding could not be carried out satisfactorily until after the pipes were laid.
Special attention must be paid to bedding the posts. The overall strength of the rent of the housing superstructure depends on how solidly these posts are laid in.
Bedding will therefore be reinforced (volume of concrete, amount of cement used in the concrete) for those posts subjected to special stress by the animals.
Basically, these posts are intended to support the withers bars of the manger which the animals always rush against as soon as their favourite feed, concentrates, is distributed. The same is true for the posts to support the movable fences, especially the ones barring the service passage temporarily. Not only is this an unusually wide span (4 meters instead of 2.5–3), the fact that the movable fence of course has to be hinged instead of bolted to the post makes the post particularly vulnerable.
Lastly, the posts of the holding and circulation passages also have to be bedded very solidly.

Only when all the building elements which have to be set into the ground have been installed (manger supports, roof frame, fence posts) can the flooring work be initiated: paving or asphalting the feeding passage, blocking or cementing the outdoor area of combination housing - as needed.
It should be noted that whenever the water for the drinking-bowls can be piped in from a network of running water, the pipes should be sunk beforehand so that they cannot be damaged by animals or machinery.
Obviously, were the flooring laid before this stage, it might be necessary to futilely destroy part of the work done in raising the supports or bedding the fence posts.
On the other hand, one thing which must absolutely be avoided is to lay the floor after the permanent fences and shelter wall have been built. They would so hinder the progress of the work (bringing in materials and and circulation of machinery) as to have to be temporarily taken down.
Raising the roof is the very last stage in the process, together with the installation of the withers and protection bars before the manger, the movable fences at either end of the service passage and permanent fences as planned.
At the same time, the shelter wall partition and the entrance/exit door at the covered end of roofed or semi-roofed housing will be erected.
It happens too frequently that the building of the circulation passage, upon which satisfactory handling of the animals depends, is left until some later stage. This is a mistake which must be avoided. It is really inconceivable to think of receiving the young cattle before both the housing and its annexes have been completely finished and the resting area strewn with a few bales of hay, ready for occupancy.
The housing models suggested in these pages have been put forth as self-contained units. However, it is somewhat rare that a single unit alone is built. The very modularity of the design lends itself in theory to unlimited juxtaposition, according to the production capacity of the individual farm.
There are numerous advantages to building several loose housing units in the form of one or more battery housing complexes. However, such construction has to be based on a certain number of principles intended to favour the input/output balance.
The advantages:
With battery housing, several lots can be raised at the same time, which makes possible the constitution of more homogeneous lots;
With the utilization of “continuous use” installations, wherein lots at different stages of the breeder or feeder cycle are run at the same time; revenue from the livestock operation can be regularized year-round (assuming compatability of market requirements and staggered cycles);
With the raising of a great many animals, a scale economy over the fixed expenditure of the farm becomes possible.
The principles:
Absolute respect of the three types of circuits essential to the proper utilization of such housing.
Utilization of the annexes (feeding passage, circulation passage, corral, infirmary, and so forth) for as many lots and animals as possible.
Attempt to find solutions cutting down to the bare minimum daily distances having to be traversed by the workers and the feed transport apparatus.
Facilitate permanent visual supervision (mangers/drinking-troughs/animals).

Fully open yard battery housing normally has to respect the shape and dimensions of the site. Besides, it is best to set up several series of parallel housings so as to limit the distances which have to be covered by the workers.
One might think it preferable to arrange these housing areas on either side of the feeding passage so as so limit the movements required in distributing the feed and fodder. However, this solution has the disadvantage of requiring two additional permanent fences to fence off the circulation passage.
In order, therefore, to save on permanent fences, the housing will be laid out on either side of the circulation corridor with the mangers and feeding passages giving onto the outside of the battery. This arrangement makes it much easier to handle large numbers of animals, where needed.
The main axis of the battery must be so oriented as to take into account, we remind the reader, the problem of run-off and the protection of the animals against the wind. Existing wind-beaks should be taken advantage of.
Obviously the design of the watering system will have to take into consideration the lay-out of the battery housing. The same piping system or watering-trough (where reservoir-troughs are used), can serve two adjacent lots.
Special attention must be paid to flooring, though in open yard housing with no roof at all such flooring may well be limited to fixing up the feeding passage.
We also remind the reader of the special importance of mechanized manure removal in extensive battery housing and of the fact that this assumes building movable fences in the service passage.
Lastly, a sorting and handling corral has to be set up at one end of the circulation passage given the large number of animals which will have to be handled in this type of battery housing. Other imperatives, of course, are a separate place to receive sick or diseased animals, and a loading platform with access to the corral (since the animals are transported by truck) so that the young cattle can be loaded and unloaded without danger to themselves or to the workers.

The same problems and solutions exist for semi-and fully-roofed housing in batteries. Unlike the fully open yard system, where the housing can be laid out on either side of the feeding passage, roofed housing battery units must always be arranged one parallel to the other, with the back of the covered section against the prevailing wind or winds.
If such housing were arranged face to face along a feeding passage or back to back along a circulation passage, obviously the half of the animals housed towards the wind would be less well protected and the roof exposed to greater wind stress.
The disadvantage of this constraint is that one feeding passage and one circulation corridor have to be built for each housing series.
As is true for the fully open yard system, semi-and fully-roofed battery housing construction has to conform to the recommendations made on the systems for watering the animals, floor covering and fixing up the service passage so that manure can be removed mechanically.
There is a special problem which arises at the point where the different circulation passages join. These passages are laid out parallel to one another at the back of each housing series, and must be joined so as to give on the corral where the animals are introduced into or removed from the yards.
There is no way to set up a permanent communicating passage perpendicular to the various circulation passages which would interrupt the feeding passages. So the communicating passage will be made up of movable fences which can be temporarily mounted when the animals are weighed or moved.