Previous Page Table of Contents Next Page


3. Meat preservation by thermal treatment

CHARACTERISTICS OF HEAT-TREATED PRESERVED MEAT AND MEAT PRODUCTS

The prolonged shelf-life of heat-treated meat and meat products is achieved through reducing growth of, or inactivating, micro-organisms by a thermal process. The principal steps of the heat preservation method are to:

EQUIPMENT FOR THERMAL TREATMENT

Thermal or heat treatment is done by submerging the products in cooking vats or pressure cookers which contain hot water or steam or a mixture of both. It can be performed under pressure in pressure cookers (retorts, autoclaves) in order to reach temperatures above 100°C (“sterilization”). Sterilization is the most important and efficient type of heat treatment, since foods free from viable micro-organisms can be obtained and most of these products can then be stored without refrigeration. In contrast, temperatures up to 100°C can be achieved in simple cooking vats (“pasteurization”). A certain amount of micro-organisms resist this moderate heat treatment and the resulting pasteurized products must consequently be stored under controlled temperatures (see “Categories of heat-treated preserves”, p. 57.

In simple retort cookers (autoclaves) pressure is generated either by a direct steam injection, by heating water up to temperatures over 100° C or by combined steam and water heating. The retort must be fitted with a thermometer, a pressure gauge and a relief valve (Fig. 30). Modern autoclaves may also have revolving drums, speeding up the heating of the products.

After thermal treatment the product must be chilled as quickly as possible, in order to avoid overcooking. Hence, this operation is done within the cooker by introducing cold water. The contact of cold water with steam causes the latter to condense with a rapid pressure drop in the retort. However, overpressure simultaneously built up during thermal treatment within the cans, jars or pouches remains for a certain period, and may induce permanent deformation or damage of these containers. Therefore, a high pressure difference between the cooker and the internal pressure in the containers must be avoided. This is generally achieved by a blast of compressed air into the retort or by sufficient hydrostatic pressure of the introduced chilling water.

FIG. 30.
Retort cooker. 1. body, 2. lid, 3. counterbalance, 4. nuts, 5. heater, 6. vent, 7. relief valve, 8. pressure gauge, 9. water supplyvalve 10. steam supply valve.

FIG 30

CONTAINERS FOR THERMALLY TREATED PRESERVES

Containers for heat-preserved food must be airtight in order to avoid recontamination by environmental microflora. Moreover, no traces of undesirable substances which the packaging material may contain, such as heavy metals (lead, tin), should be permitted to migrate into the product. Currently, most of the thermally preserved products are in metal containers (cans), others are packed in glass jars or plastic or aluminium/plastic laminated pouches.

Metal containers are cans (tins) produced from tinplate or tin-free steel. They are usually cylindrical. However other shapes such as rectangular or pear-shaped cans are also encountered. Tinplate consists of steel plate, plated with tin on both sides. The steel body usually is 0.22 to 0.28 mm in thickness. The tin layer is from 0.385 to 3.08 μm. Tin-free steel plates have other protective coatings such as chromium, aluminium, or nickel, which are generally even thinner than the tin layers of the tinplate.

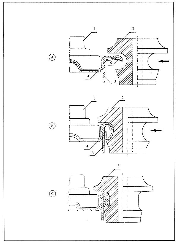
The cans (tins) usually consist of three elements, i.e. the body and two ends. The seaming panel of the ends is fitted with a synthetic lining. The ends are fastened to the body with seams made by a seaming (closing) machine. The principle of the seaming operation is illustrated in Fig. 31. Proper seaming is vital to the tightness of the can. Any leak causes recontamination, in particular during chilling. This will result in swelling of the cans during storage, and creates a risk of food poisoning.

For smaller and easy-to-open cans aluminium is frequently used. Aluminium cans are deep-drawn, i.e. the body and the bottom end are formed out of one piece and only the top end is seamed on after the filling operation. The advantages of aluminium cans are low weight, resistance to corrosion, good thermal conductivity and recyclability, but these cans cannot be soldered or welded. They are less rigid and more expensive than steel plate.

Glass jars are used less often for meat products because of their fragility. They consist of a glass body, and a metal lid. In households, glass jars with glass lids are often used. The seaming panel of the metal lid has a lining of synthetic material. Glass lids are fitted by means of a rubber ring.

FIG. 31.
Principles of canseaming operation. (A) initial stage of curling; (B) fully developed curling; (C) seam tightening. 1. seaming chuck, 2. seaming roll, 3. tin wall, 4. tin end, 5. seaming roll, 6. lining compound.

FIG 31

Containers made either of synthetic material or laminates of aluminium foil with synthetic material are of growing importance in thermal preservation. Heat-resistant plastic pouches, which are closed by clip, are usually made of polyester (PETP) and used for frankfurters in brine or ready-to-eat dishes. From laminated films, for instance, polyester/polyethylene (PETP/ PE) or polyamide/polyethylene (PA/PE), relatively rigid containers can be made, usually by deep drawing, which are used for filling with pieces of cured ham or other kinds of prepared meat. Widely used for small portions, particularly of sausage mix, are round containers formed out of a laminate of aluminium foil and polyethylene (PE) or polypropylene (PP). PE or PP permit the heat-sealing of these containers, which can then even be subjected to intensive heat treatment.

MEAT PRODUCTS SUITABLE FOR CANNING

Basically all meat products which require heat treatment to prepare them for consumption are also suitable for heat preservation. Only meat products which do not receive any form of heat treatment before being consumed, such as dried meat, raw hams or dry sausages, are naturally not suitable for canning. These products are conserved by a low pH value and/or low water activity.

The following groups of meat products, when not consumed freshly cooked, are frequently found as canned products:

ORGANOLEPTIC, PHYSICAL AND MICROBIOLOGICAL ASPECTS OF THERMAL TREATMENT

The intensity of heat treatment has not only a decisive impact on the inactivation of micro-organisms, but also on the organoleptic quality of the product. There are products which undergo intensive temperature treatment without significant losses in quality. On the other hand, other products may deteriorate considerably in taste and consistency after sterilization. In these cases less intensive thermal treatment is required but, at the same time, other hurdles, such as low pH value and/or water activity or a lower storage temperature, have to be built up in order to inhibit bacterial growth.

The intensity of thermal treatment can be defined in physical terms. The term widely used under practical conditions is the F-value, with which the lethal effect of heat on micro-organisms can be defined. The thermal death time for different micro-organisms calculated at 121°C and expressed in minutes, is used as the reference value.

The thermal death time for spores of Clostridium botulinum at 121°C is 2.45 minutes or in other words, an F-value of 2.45 is needed to inactivate all these spores in the product at 121°C. Spores of other micro-organisms are more or less heat resistant. Vegetative cells of micro-organisms are generally destroyed at temperatures of less than 100°C and therefore play no role in the F-value calculations (see also “Categories of heat-treated preserves”, p. 57). The definition of the F-value at 121°C is as follows:
F = 1: lethal effect at 121°C on micro-organisms after 1 minute
F = 2(3, 4, etc.): lethal effect at 121°C on micro-organisms after
2(3, 4, etc.) minutes. In Tables 2 and 3 some examples are given for F-values obtained at different time/temperature combinations:

Table 2
F-values corresponding to various temperatures

95°Cper minute:F = 0.003
100°Cper minute:F = 0.008
105°Cper minute:F = 0.025
110°Cper minute:F = 0.079
115°Cper minute:F = 0.251
121°Cper minute:F = 1.0
125°Cper minute:F = 2.51
130°Cper minute:F = 7.94

Table 3
F-values in relation to temperature and time

In order to reach F = 1, the following time-temperature combinations are required:
110°C during 12.5 minutesor
116°C during 3 minutesor
121°C during 1 minuteor
130°C during 0.13 minutes 
In order to reach F = 4, the following parameters are required:
110°C during 50 minutesor
116°C during 12 minutesor
121°C during 4 minutesor
130°C during 0.5 minutes 
In order to reach F = 0.6, the following parameters are required:
110°C during 7.5 minutesor
116°C during 2 minutesor
121°C during 0.6 minutesor
130°C during 0.08 minutes 

The lethal effect can be shown in the reduction (in percentage) of the total number of micro-organisms present in the product. The destruction of micro-organisms is at an exponential rate, which means that the higher the initial bacterial load (using the same time-temperature combination), the higher the number of surviving bacteria.

Table 4
Decimal reduction rates during heat treatment

 Remaining micro-organisms
Initial bacterial load (micro-organisms/g)Destruction rate 90%Destruction rate 99%Destruction rate 99.9%
10 million1 million100 00010 000
1 million100 00010 0001 000
100 00010 0001 000100
10 0001 00010010
1 000100101

The initial bacterial load and the destruction rate are shown in Table 4.

Table 4 demonstrates the importance of proper meat hygiene. Highly contaminated raw material with bacterial loads of 10 million per g will, even after intensive heat treatment, still give final products with a rather limited shelf-life because of the high remaining rate of contamination.

Since the heat treatments will in many cases not be intense enough to destroy all spores, it is important that cans be chilled as rapidly as possible after retorting and that storage temperatures generally not exceed 20 to 25°C.

The nature of the heat-preserved product, its pH, amount of salt and other curing agents, and the number of spores present, together with retorting time and temperature, determine the degree of commercial sterility and product safety. It has been shown that F-values of 4 in heat-preserved products will guarantee commercial sterility. Products with F-values below this level need additional measures such as lowering the pH or the aw or refrigerated storage for their microbiological safety.

Micro-organisms have two adverse effects in improperly treated heat-preserved products:

The food-poisoning aspects require special care during production and storage of heat-treated preserves, bearing in mind that some heat-resistant micro-organisms are able to produce dangerous toxins, amongst them Clostridium botulinum, which may have fatal consequences.

PRACTICAL APPLICATION OF F-VALUES

By measuring the temperature of the product periodically during thermal treatment, the final F-value can be determined. It is obvious that during thermal treatment the product temperature will rise constantly. The temperature taken in the centre of the container after each minute of heat treatment corresponds to a certain F-value (see Table 3). These partial F-values are added up (for example by using special tables containing F-values corresponding to temperatures from 90°C to 140°C) and the sum is the overall F-value of the product.

The exact F-value is of special importance for the producer because:

In practice it is not necessary to calculate the F-value repeatedly for the same type of batch processed in the cannery. The F-value can be determined once for each batch according to the size of the containers and intensity and duration of thermal treatment. If these parameters remain unchanged, the F-values will not be subject to alteration.

CATEGORIES OF HEAT-TREATED PRESERVES

Pasteurized products

Only slight thermal treatment. Temperatures reached in the product centre are in the range of 82°C and below 100°C (“pasteurization”). The F-value cannot be determined, remaining almost at zero.

Inactivated: most vegetative micro-organisms
Not inactivated: spores of Bacillus and Clostridium
Storage required: uninterrupted cold chain (2–4°C), up to six months

Cooked preserves

Thermal treatment only with boiling water (no pressure cooker).

Temperature reached in the product centre is up to 100°C. Low F-value.

Inactivated: all vegetative micro-organisms
Not inactivated: spores of Bacillus and Clostridium
Storage required: not higher than 10°C for one year. Spores will not grow under these conditions.

“Three-quarter” preserves

Thermal treatment in pressure cooker. Temperatures reached in the product centre are between 108 and 112°C. F-value 0.6 to 0.8.

Inactivated: all vegetative micro-organisms, spores of Bacillus
Not inactivated: spores of Clostridium
Storage required: not higher than 15°C for one year. Spores of Clostridium will not grow under these conditions.

“Full” preserves stable under temperate conditions

Intensive thermal treatment in pressure cooker. Temperature reached in the product centre is about 121°C. F-value 4 to 6 (“sterilized product”).

Inactivated: all micro-organisms except thermophilic spores
Storage required: ambient temperature (for one year), but not tropical conditions (40°C or more).

“Full” preserves stable under tropical conditions

Very intensive thermal treatment, with a long period of 121°C or higher in the product centre. F-value of 12 and more.

Inactivated: all micro-organisms including thermophilic spores
Storage required: ambient temperature even under tropical conditions (up to four years).

Shelf-stable preserves

This group of preserves is different from those mentioned previously, since preservation is achieved not only by thermal treatment, but also by utilizing other means to prevent microbiological growth such as nitrite, low water activity and/or low pH. This combined effect has the advantage of a fully shelf-stable product under all ambiental conditions without undergoing intensive thermal treatment (less than 100°C) and without major losses in organoleptic quality.

Shelf-stable preserves are a fairly new development in the food sector and will certainly gain special importance in countries without an uninterrupted cold chain.

Thermal treatment of different intensity for different products is used to avoid deterioration, which varies from product to product. The following table gives some examples on how thermal treatment should be conducted. It is a general rule in this context that products in smaller containers can undergo more intensive thermal treatment because of faster heat penetration.

Table 5
Recommended thermal treatment for selected products (temperatures to be reached in the product centre)

Pasteurized preserves (68–80°C)F < 0.6–0.8 110–115°CF > 4 121–140°C
Cooked ham or pork shoul- ders in large cans (up to 16 lb or 7.3 kg) or in large deep-drawn plastic bags (2–3 kg).

Sausages in impermeable synthetic casings.

Ready-to-eat dishes in plastic pouches.

(These products are not considered commercially sterile. They receive only treatment sufficient to destroy vegetative cells. Therefore, refrigeration is required to prevent germination of spores.)
Bologna-type sausage mix in cans or jars.

Liver or blood sausage mix in cans or jars.

Meat mince such as lunch- eon meat in cans.
Frankfurters in brine (glasses, cans or plastic bags).

Sausage mix, luncheon meat, cooked ham in small cans or small deep-drawn laminated aluminium containers.

Corned beef (all sizes of containers).

Ready-to-eat dishes with gravy (all sizes of contain-heat ers).

Previous Page Top of Page Next Page