Las poblaciones naturales de Artemia se pueden encontrar en lagos salados (costeros o interiores; de aguas ricas en cloruros, sulfatos o carbonatos) y especialmente en salinas costeras (salinas construidas y/o manejadas por el hombre).
Dentro de las salinas, la Artemia solo se encuentra en los estanques de evaporación, a niveles de salinidad intermedia (ver esquema en la Fig. 60) desde aproximadamente 100‰ en adelante (= límite superior de tolerancia para los predadores) hasta unos 200–250‰ (donde el alimento se hace limitante para la Artemia al tener esta un mayor consumo energético, como resultado de un aumento de la actividad osmoregulatoria; o donde las aguas se vuelven tóxicas, ver sección 8.2.).
En la mayoría de las poblaciones las densidades animales son muy bajas, como resultado de la limitación del alimento (debido al bajo contenido en nutrientes de las aguas de captación). Habitats naturales con poblaciones densas de Artemia se encuentran fundamentalmente cerca de núcleos de población, estuarios ó áreas de manglares donde el aporte de nutrientes es elevado.
A salinidades elevadas, y dependiendo de la cepa local y de las condiciones hidrobiológicas de los estanques (tiempo de retención, profundidad de agua, productividad del estanque) se producen, eventualmente, los quistes (estacionalmente o durante todo el año) que son transportados por el viento y acumulados en las márgenes de los estanques de evaporación.
La calidad de la Artemia producida difiere de una cepa a otra, y de una localidad a otra, como resultado de variaciones, tanto genotípicas como fenotípicas. La Artemia refleja en gran medida, las condiciones alimenticias del habitat local, esto es, que tanto los adultos como los quistes pueden estar contaminados por altas concentraciones de metales pesados, y/o hidrocarburos clorados, y/o ser deficientes en ácidos grasos esenciales para los predadores marinos ej. las bajas concentraciones de 20:5w3 en la Artemia de Great Salt Lake). Cepas particulares (¿provenientes de habitats específicos?) producen quistes con ún bajo contenido calórico, ej. la cepa del lago sulfatado Chaplin Lake en Canada.

Fotografía 22. Plataforma con red cónica usada para la recolección de biomasa de Artemia
Antes de considerar la explotación comercial de Artemia, para aplicaciones específicas, es imprescindible determinar la calidad de los quistes y/o de los adultos.
La recogida y tratamiento de los quistes han sido descritos con detalle en el capítulo 4.
La biomasa adulta puede ser recogida de estanques poco profundos con redes cónicas, montadas en la frontal de una pequeña plataforma o lancha a motor (ver Foto 22). En estanques altamente eutótrofos se consiguen mejores cosechas en una mañana nublada tras una noche en calma. En tales condiciones, las concentraciones de oxígeno disuelto en los estanques son tan bajas, que los animales se concentran en las capas superiores en “nubes” muy densas donde realizan la llamada respiración superficial.
En estanques pequeños la biomasa adulta puede ser recogida manualemnte con una red sumergida. Las mejores cosechas se pueden conseguir durante la noche aprovechando el fototactismo positivo de estos animales, la intensidad del cual es, sin embargo, función de la temperatura y de la cepa. Aprovechando el flujo gravitatorio de la salmuera de un estanque a otro se puede lograr una cosecha automática instalando grandes redes en las entradas de los estanques (ver Foto 23):

Fotografía 23. Instalación de redes filtradoras para la recolección de biomasa de Artemia en una salina
Las producciones máximas de quistes y biomasa están influenciadas por la dinámica local de la población, es decir, por la tasa de reclutamiento de la población (alta en los estanques donde la reproducción dominante es ovovivípara, baja en los estanques de producción de quistes). El papel de los quistes es el de inóculo, bien tras el invierno o durante todo el año en los estanques con salinidad baja. Además, el efecto de la presencia de Artemia sobre la producción de sal en calidad/cantidad necesita igualmente ser tenido en consideración.
La determinación de las tasas máximas de cosechado es una labor mucho más complicada dado la distribución heterogénea de la Artemia que hace muy dificiles unos muestreos fiables y, consecuentemente, precisos para la estimación de la población.
El reclutamiento natural puede, eventualmente, ser aumentado por el transplante de una cepa más productiva; la fertilización de los estanques de Artemia puede tambien resultar en incrementos potenciales de la producción (ver más adelante).
Desde la historia más antigüa, el hombre ha desarrollado sistemas para concentrar el agua de mar y recoger el cloruro sódico como una necesidad básica para la salud. A través de los siglos, cientos y miles de hectáreas de estanques de sal han sido construidos, alrededor del mundo, en el cinturón tropical y sub-tropical, para fabricar la llamada sal solar. La producción anual, alcanza unos valores en la actualidad de 200 millones de toneladas por año, de las cuales menos del 10% son para consumo humano, siendo la gran mayoría consumida por las industrias químicas (ej. la industria de la cloro-sosa).
Como el agua de mar contiene numerosas sales (en realidad casi todos los elementos químicos, incluyendo el oro, están presentes en cantidades trazas en el agua de mar), la pericia en la producción de NaCl es bombear el agua de mar desde un estanque de evaporación a otro; sucediendose la precipitación de los carbonatos y sulfato cálcico, para llegar finalmente en forma de una salmuera saturada en NaCl hasta los cristalizadores donde el cloruro sódico puro precipita. Antes de que haya cristalizado todo el NaCl, las llamadas aguas madres deben ser eliminadas, con el fín de reducir la contaminación del cloruro sódico con bromuros y otras sales que comienzan a precipitar a esas salinidades tan elevadas (ver Fig. 61 y 62, Tabla XXIV). La técnica de producción de sal, por evaporación solar, lleva consigo la cristalización fraccionada de las sales en diferentes estanques hasta obtener el cloruro sódico en su forma más pura posible, ej. hasta un 99.7 %.

Figura 61. Sucesión en la deposición de sales durante la concentración del agua de mar (según Bradley, comunicación personal)
La actividad hidrobiológica en una salina en funcionamiento, determina en gran medida la cantidad y calidad de la sal producida (Davis, 1978, 1980; Sorgeloos, 1983). En muchas explotaciones las condiciones naturales aseguran una producción máxima de sal (ej. Francia, Brasil, USA, etc.); en otras regiones, sin embargo, un manejo biológico adecuado es necesario (ej. India, Italia, Australia, Bahamas, etc.).
Los afloramientos de algas (inducidos por la disponibilidad de nutrientes orgánicos/inorgánicos) son beneficiosos, ya que favorecen un aumento en el calor de absorción solar (consiguiendose una evaporación más rápida = un aumento en la cantidad de sal), pero es esencial que sea metabolizadas a tiempo, ya que sino, la excreción de las algas y los productos de descomposición (carbohidratos disueltos) actuan como trampas químicas impidiendo la precipitación temprana del yeso (contaminando al cloruro sódico en los cristalizadores = reduciendo la calidad de la sal). Además, las impurezas orgánicas (conglomerados de algas que se vuelven negros tras su oxidación) contaminarán la sal (inclusiones e impurezas) e inducirán la formación de cristales de pequeño tamaño (= reducción de la calidad de sal). En las peores situaciones, las altas viscosidades del agua inhibirán la formación de cristales y su precipitación (= reducción de la cantidad de sal).
La presencia de Artemia en número suficiente es esencial, no solo para controlar los afloramientos de algas ya mencionados (Davis, 1977, 1978, 1979, 1980), sino tambien para proporcionar los microelementos esenciales, y/o un sustrato adecuado bajo la forma de metabolitos, y/o Artemia moribunda para el desarrollo de Halobacterium en los cristalizadores (Jones et al., 1981). Altas concentraciones de bacterias halofiticas rojas (Foto 24) aseguran un aumento en el calor de absorción (= incremento en la cantidad de sal), así como la reducción de productos orgánicos disueltos (niveles de viscosidad), lo que favorece la formación de cristales de mayor tamaño (= mejora en la calidad de la sal) (Sorgeloos, 1983, Haxby y Tackaert, 1986).
Lista de la precipitación sucesiva de sales con el incremento de la salinidad a partir del agua de mar
(1) = ± 140 ‰ : carbonatos de calcio y magnesio
(2) = 140 – 250 ‰ : yeso = sulfato cálcico
(3) = 250 – 300 ‰ : sal común = cloruro cálcico
(4) = > 300 ‰ : bromuros, cloruro potásico, sulfato magnésico_

Figura 62. Composición de las salmueras de agua de mar (en procentaje) (según Planck, 1958)

Fotografía 24. Vista aérea de dos estanques de cristalización; estanque superior; recolección de sal; estanque inferior aún lleno con salmuera rica en Halobacterium
En muchas explotaciones salineras el raclutamiento de Artemia, por medio de los quistes dispersados por el viento y las aves acuáticas, asegura la presencia y desarrollo de un número suficiente de animales para garantizar una producción óptima de sal. Sin embargo, en situaciones especificas, ej. salinas con un tiempo de retenció corto en los estanques de evaporación (= rápida tasa de dilución de la población de Artemia), o tras el paso de huracanes, o de estaciones especialmente lluviosas en las que la población local ha sido eliminada o reducida en su mayoría, el número de efectivos residuales son incapaces de competir eficazmente con los afloramientos algales; o bien en el caso de salinas aisladas de distribución natural de Artemia, donde el salinero no dispondrá de esta forma de dispersión oportunista, puede optimizar la actividad hidrobiológica de los estanques de evaporación por medio de una introducción controlada de esta especie. Se han observado, igualmente, situaciones en que las poblaciones locales de Artemia nopueden asegurar una actividad hidrobiológica óptima para la producción de sal (ej. a causa de una eliminación insuficiente de las algas) y donde la introducción de una cepa foránea (mejor adaptada a las condiciones dominantes o con mejores características de producción) aseguraría un rendimiento máximo de cloruro sódico de alta calidad, ej. en lugares donde el medio ambiente natural ha sido modificado (= condiciones físico-químicas diferentes) para el manejo de sal por evaporación solar.
No es posible formular una estrategia general con respecto a la introducción de Artemia en explotaciones salineras, ya que cada situación necesita ser analizada por sus requerimientos especificos con relación a la selección de la cepa más adecuada, la calidad y cantidad de Artemia que debe ser introducida en función de los tiempos de retención del agua en los estanques de evaporación, la concentración de alimento, las temperaturas del agua, etc. (para mayores detalles técnicos sobre la introducción de Artemia ver sección 8.3.).
Un manejo apropiado de Artemia llevara consigo no solo una producción óptima de sal (calidad y cantidad), sino que al mismo tiempo proporciona oportunidades para la explotación de un subproducto valioso, ej. en formá de quistes o biomasa.
Aunque la distribución de los habitats de Artemia es claramente cosmopolita (ver seccion 2.3.), una observación más detallada, a un nivel regional, revela que la distribución es discontinua en muchos lugares del mundo, ej. la Artemia no aparece en todas las masas de agua salada. Estos animales no pueden migrar de un biotopo salino a otro por el mar, ya que no poseen mecanismos anatómicos o estructuras de defensa contra la predación por organismos carnivoros acuáticos, ej. crustáceos de mayor tamaño o peces.
El principal mecanismo de dispersión de la Artemia es el transporte de los quistes por el viento y las aves acuáticas.
La Artemia encontrada en algunas salinas ha sido probablemente introducida accidentalmente por el hombre, ya que siguiendo una antigua trádición, los salineros siembran los nuevos estanques con sal (eventualmente contaminada con quistes de Artemia) de una salina en funcionamiento (diversas comunicaciones personales); todas las poblaciones de Artemia encontradas en Australia han sido probablemente importadas por el hombre y ahora compiten, al menos en los estanques de baja salinidad, con la endémica Parartemia spp. (Geddes y Williams, 1986).
La ausencia de rutas migratorias de aves acuáticas ha sido, probablemente, la razón por la que amplias superficies de salinas (varias decenas de miles de hectareas como superficie total) a lo largo de la costa Noreste del Brasil no han sido habitadas por la Artemia hasta 1977, cuando Artemia franciscana fue introducida por al hombre en una salina de Macau. Unos pocos años más tarce, las aves acuáticas locales habían dispersado la Artemia desde Macau hasta la mayoria de las salinas del NE brasileño a distancias superiores a 1.000 km (Camara v De Castro. 1983, Camara y De Medeiros Rocha, 1986).
La introducción de la Artemia por el hombre en biotopos adecuados proporciona, evidentemente, interesantes oportunidades para la producción acuícola. Sin embargo, se debe tener mucha cautela con respecto a la preservación de la diversidad genética de los lagos salados (especialmente en el continente australiano donde varias especies endémicas pueden estar en peligro por la presencia de Artemia; ver Geddes, 1980, 1981; Geddes y Williams, 1986). En otros continentes, deberán realizarse análisis ecológicos detallados, así como recolacción/almacenamiento de quistes viables, antas de proceder a cualquier introducción de Artemia.
Las prerrogativas comerciales pueden, eventualmente, justificar la introducción de nuevas cepas de Artemia, ej. en explotaciones salineras donde la producción de sal en calidad/cantidad está afectada por la ausencia de Artemia (existen numerosos ejemplos en India, Italia, Venezuela, Bahamas, etc.) o por una actuación insuficiente de las cepas autóctonas. Los habitats locales a los que las poblaciones de Artemia estaban adaptados, pueden que hayan sido modificados por el hombre para mejorar la producción de sal, resultando en unas condiciones ecológicas nuevas (subóptimas) para las cepas locales de Artemia, ej. el profundo lago Salpi cerca de Margherita di Davoia en Italia fue convertido en estanques de evaporación, pocos profundos, en los cuales las temperaturas del agua en verano alcanzan valores por encima de los 30°C, considerada como la temperatura letal para la cepa local de A. partenoqenetica (Barigozzi y Trotta, com. pers., Vanhaecke et al., 1984). Una introducción accidental de A. partenogenetica de la R.P. China en una salina en funcionamiento de Great Inagua, Bahamas provocó una reducción en el rendimiento de la calidad de la sal, sin embargo, las producciones volvieron a la normalidad tras la introducción de A. franciscana (Capa de San Francisco Bay), que previamente habia sido un medio eficaz para controlar los afloramientos algales, bajo las condiciones climáticas locales (Haxby, com. pers.).
Supervivencia media de diferentes cepas geográficas de Artemia tras 9 días de cultivo a base de una dieta de Dunaliella en tubos cilindricónicos de 500 ml a 34°C y a 2 salinidades (según Vanhaecke y Sorgeloos, en preparación).
| Cepa geográfica (año de cosecha) | Supervivencia % | |
| 35% | 120% | |
| Lanarca, Chipre | 0 | 0 |
| Barbanera, España | 0 | 0 |
| Buenos Aires, Argentina | 0 | 0 |
| Shark Bay, Australia (1979) | 0 | 0 |
| Salin de Giraud, Francia | 0 | 3 |
| Margherita di Savoia, Italia | 9 | 16 |
| Chaplin Lake, Canada | 0 | 31 |
| Virrila, Peru | 22 | 19 |
| Izmir, Turquia | 20 | 25 |
| Pacoa, Ecuador | 22 | 31 |
| Lavalduc, Francia | 23 | 30 |
| Tientsin, RP China | 28 | 38 |
| Eilat, Israel | 34 | 48 |
| Tuticorin, India | 33 | 56 |
| Lake Tahoka, USA | 50 | 39 |
| Bahia Salinas, Puerto Rico | 43 | 46 |
| Bonaire, Antillas Holandesas | 45 | 50 |
| Chilca, Peru | 52 | 49 |
| Port Araya, Venezuela | 55 | 56 |
| Bahia de Ceuta, Rep. Dominicana | 68 | 46 |
| Great Salt Lake, UT-USA (1979) | 53 | 62 |
| Galera Zamba, Colombia | 62 | 57 |
| Great Salt Lake (1977) | 60 | 62 |
| Manaure, Colombia | 69 | 62 |
En cualquier caso, la introducción de una nueva Artemia solo se puede hacer cuando existen garantías suficientes de éxito y de cualquier forma, nunca antes de que se hayan recogido suficientes quistes viables de la cepa local, como para salvaguardar la conservación de este “pool” genético en uno o varios bancos de quistes de Artemia. Con este objetivo se dabe tener rigurosamente en consideración la siguiente resolución adoptada durante el 2o Simposio Internacional de Artemia “… se tomarán todas las medidas posibles para asegurar que los recursos genéticos de las poblaciones naturalas de Artemia sean conservados. Estas medidas incluyen el etablecimiento de bancos de genes (quistes), control cuidadoso de las políticas de inoculaciones y ahí donde sea posible, utilizar Artemia indígena para inocular aguas libres de Artemia” (Sorgeloos et al., 1986).
La selección de la cepa a inocular se puede basar en los datos disponibles de tolerancia a temperatura-salinidad (ver sección 7.2.5.; Fig. 45, 48; Tabla XXV), comportamiento en el crecimiento y producción, características reproductivas, etc. Cuando sea posible, se realizarán ensayos de cultivo con varias cepas de Artemia en condiciones similares utilizando aguas no tratadas del habitat como medio de cultivo. La competición entre cepas partenogenéticas y bisexuales puede estar a favor de las primeras cuando nos referimos a bisexuales europeas (A. tunisiana); aunque la co-existencia ha sido registrada con dominancia de la cepa partenogenética en los meses estivales (Amat, 1983). Por otro lado las cepas de Artemia franciscana siempre dejan fuera de competición cualquier otra cepa de Artemia (observaciones propias, Browne, 1980).
La selección de cepas puede tambien estar restringida por la intención de aplicar la Artemia producida para uso de la acuicultura local, ej. una cepa de Artemia que produzca quistes de pequeño tamaño puede ser usada en el cultivo de la lubina.
Supervivencia media de diférentes cepas de Artemia y de lotes originados del mismo material parental y cultivados durante 9 días con una dieta de Dunaliella en tubos cilindro-cónicos de 500 ml a 34°C y 2 salinidades (según Vanhaecke, 1983)
| Cepa geográfica (número de lote) | Supervivencia (%) | |
| 35% | 120% | |
| San Francisco Bay, CA-USA (288–2596) | 12a1 | 17a |
| Mundra, India | 13a | 27b |
| Macau, Brasil (871172) | 18a | 30b |
| Macau (973060) | 13a | 28b |
| Barotac Nuevo, Filipinas | 33b | 26b |
| Chachoengsao, Tailandia | 38b | 26b |
1 los resultados con el mismo exponente no son significativamentediferentes al nivel de P < 0.05
Este tipo de introducciones resulta en la mayoría de los casos en el establecimiento de una población (natural); una selección errónea, puede que ya no consiga ser alterada…
Además, la adaptación de la cepa inoculada al nuevo medio ambiente puede resultar probablemente en variaciones fenotípicas y genotípicas (ver Tabla XXVI), lo que conduciría eventualmente a un nuevo genotipo de Artemia.
En contraste con las grandes industrias de producción salinera por evaporación solar (explotaciones altamente mecanizadas de cientos a miles de hectáreas cada una, con estanques de evaporación de decenas a centenas de hectáreas, ver Foto 25) localizadas en zonas climáticas con altas tasas de evaporación y débiles registros de lluvia (ej. en diversas regiones de Australia, Sudamérica, México, USA, RP China, etc.) y que funcionan (aunque no necesariamente cosechan) durante todo el año, existen numerosas pequeñas unidades salineras artesanales (explotaciones de pocas hectáreas de superficie total y con estanques de evaporación de, solamente, algunos millares de metros cuadrados, ver Foto 26) que están en producción en el cinturón tropical-subtropical (con una superficie total de algunas decenas a miles de hectáreas) durante un período restringido del año cuando las condiciones son favorables para la fabricación de sal, ej. ciclos de 3 a 6 meses durante la estación seca. Cuando las lluvias monzónicas comienzan, la producción de sal se abandona y los pequeños estanques de evaporación son convertidos en arrozales o en estanques de cultivo de peces/crustáceos (ej. SE-Asia). En algunas salinas, las salmueras disponibles al final de la estación seca son almacenadas, durante la estación lluviosa, en uno o más estanques de reserva (de hasta 3 m de profundidad), siendo bombeadas de nuevo en los estanques de evaporación al inicio de una nueva estación seca. Estos estanques de reserva están equipados con compuertas especiales de desagüe, que permiten el vaciado de las aguas con baja salinidad que se acumulan en la superficie de los estanques, como resultado de la estratificación tras un período de lluvia.

Fotografía 25. Vista aérea de una gran salina en Sudamérica

Fotografía 26. Vista de una salina artesanal en el Sudeste Asiático
Los diversos tipos de productores estacionales de sal que se encuentran en el Sudeste Asiático, América Central, Este de Africa, etc., funcionan al límite de la rentabilidad. De hecho en numerosos paises (ej. Tailandia, Panamá, Costa Rica) cientos de esas salinas explotadas familiarmente están siendo abandonadas por razones socio-económicas. Durante los últimos 5 años se ha demostrado en Asia (ej. Tailandia, Filipinas, Birmania, Vietnam) y América Central (Costa Rica) cue por medio de unas modificaciones adecuadas y de un manejo biológico correcto, salinas temporales pueden producir una fuente suplementaria de ingresos bajo la forma de quistes o biomasa de Artemia (De los Santos, et al., 1980, Jumalon et al., 1986, Naegel, 1986, Tarnchalanukit y Wongrat 1986, Vos y Tansutapanit, 1979, Vu Do Quynh y Nguyen Ngoc Lam, 1986). Además parece ser que la pureza de la sal se ve mejorada por medio de la presencia temprana de Artemia en el circuito de la salmuera. Esta producción de sal-con-Artemia no solo es atractiva desde el punto de vista socio-económico, sino que las actividades acuícolas locales pueden aprovecharse de la disponibilidad de productos de Artemia baratos.
Los principios básicos para la producción de Artemia en salinas temporales son los siguientes:
Aumentar la profundidad de agua en los futuros estanques de Artemia (con un intervalo de salinidad de 100 a 180%.) a un minimo de 40–50 cm, siendo preferible de 70 a 100 cm (para mayores detalles sobre las modificaciones/construcción ver más adelante en la sección 8.5.). Esto es esencial ya que las salinas temporales son manejadas normalmente en profundidades de agua que no superan los 10 cm, provocando unas temperaturas letales para la Artemia (35°C y superiores). Además, es esencial promover el desarrollo de fitoplancton, en lugar de fitobentos. Este último es el predominante en los estanques poco profundo, siendo demasiado grande para poder ser ingerido por la Artemia e interfiriendo la cosecha de quistes y biomasa (dificultando la limpieza y el procesado).
La acidez del suelo limita la disponibilidad de nutrientes a las plantas y consecuentemente resulta en una menor producción de fitoplancton y de Artemia. Los suelos con pH inferiores a 6,5 necesitan ser encalados para neutralizar la acidez residual, la cual no siempre está, causada por la oxidación de los suelos sulfurosos. Las áreas despejadas en zonas de manglares son generalmente ácidas, debido a la producción de ácido tánico por la vegetación original del manglar. En ciertos casos, la acidez del suelo puede ser observada visualmente cuando se le expone al aire, tornandose de color parduzco.
La cantidad de cal a emolear es un dato muy importante. Un encalado insuficiente recucira solo parcialmente la acidez, mientras que un sobre-encalado puede ocasionar una perdida de fosfatos por medio de la formación de compuestos insolubles de calcio.
Los tres tipos de cales mas corrientemente empleadas son las siguientes:
CaO y Ca (OH)2 son utilizadas normalmente en estanques nuevos recién excavados, mientras que al CaCO3 es usado en estanques más viejos y estables.
Normalmente se usan 500 kg de CaCO3 por hectarea para reducir la acidez del suelo en 0,1 unidades de pH.
| Ejemplo: | pH medio del suelo: 6,4 pH deseado : 7,0 incremento necesario: 7,0 - 6,4 = 0,6 tasa de aplicación: 6 × 0,5 = 3,0 toneladas de CaCO3/Ha ![]() |
La cal será extendida sobre el suelo inmediatamente después de vaciado, cuando el suelo esté todavía húmedo. Los diques serán tambien encalados, ya que pueden ser causa de acidez en el estanque, por escorrentía durante, fuertes períodos de lluvias. La cal debe ser trabajada con cuidado y dada con tiempo (una o dos semanas) para neutralizar de forma efectiva la acidez antes del ingreso del agua, especialmente si se van a aplicar abonos fosfatados.
Antes de introducir la Artemia en los estanques, debe existir una catidad suficiente de alimento particulado para garantizar una buena productividad de la población.
Aguas con color verde-parduzco y una transparencia inferior a 20 cm contiene, normalmente, altas concentraciones de partículas de detritos orgánicos y/o de algas que pueden ser usadas como alimento por la Artemia. En este caso, la fertilización no es necesaria, al menos no antes de introducir los nauplios. Aguas con una leve coloración y una tranparencia baja (> 30 cm) no son suficientemente productivas y requieren una fertilización 3-7 días antes de la inoculación de la Artemia.
Dado que el interés de la fertilización es estimular el fitoplancton y no el fitobentos, es esencial, incluso al comienzo de un nuevo cultivo, aplicar los abonos en los estanques llenos hasta los máximos niveles de agua (no sobre el fondo del estanque y despues llenarlo ya que esto puede estimular el fitobentos, ej. la producción de lab-lab). Es mejor fertilizar los estanques cuando la salinidad es baja (100%. o menos), incluso para los relanzamientos, y manejarlos en circuito abierto (vertiendo el alimento en los estanques con mayor salinidad), ej. a menudo hemos experimentado dificultades para iniciar un afloramiento fitoplanctónico cuando hemos fertilizado estanques con alta salinidad (¿interacciones químicas? ¿número restringido de especies algales?).
Se pueden usar dos clases de abonos o una combinación de ambos: abonos orgánicos, tales como la gallinaza seca, y abonos inorgánicos (productos comerciales usados por la agricultura local) con un alto contenido en nitrógeno y fosforo.
Generalmente, los abonos inorgánicos estimulan el crecimiento del fitoplancton más rápidamente, mientras que los estiércoles actuan más lentamente, pero proporcionan una actividad de largo alcance, ya que, primeramente, tienen que ser degradados por la acción bacteriana, liberando los nutrientes necesarios para las plantas. Los fertilizantes orgánicos son más baratos que los inorgánicos paro son mucho más voluminosos y mucho más trabajosos de usar.
Las tasas óptimas de aplicación son dificiles de establecer, ya que varian de gran manera de una region a otra, debido a diferencias climáticas locales y a la fertilidad del suelo y del agua. No obstante, se pueden recomendar como guión las siguiantes dosis.
Estas concentraciones han probado ser efectivas pero otras combinaciones y tasas, de aplicación no están, por supuesto, excluidas.
Estiércoles
Hasta ahora la mayor experiencia se tiene con la gallinaza, aunque los estiércoles de vaca y de cabra han sido tambien empleados con éxito. Los productos deben ser secados, en el caso de la gallinaza tamizado (para eliminar restos, plumas, etc.), y eventualmente molidos. Sin embargo Jumalon et al., (1985) ha registrado buenos resultados utilizando gallinaza fresca.
Tasa de aplicación: 0,5 a 1,0 Tonelada/Ha al comienzo; relanzamientos de 100-200 kg cada 2-3 días
Abonos inorgánicos
Recientemente se han empleado, con éxito, los desechos orgánicos disueltos del procesado de la mandioca (en la extracción del almidón) como fertilizantes en estanques de Artemia.
Tanto los fertilizantes orgánicos, como inorgánicos, es mejor esparcirlos uniformemente por toda la superficie del estanque. Si los fertilizantes en gránulos se disuelven lentamente en el agua, es preferible disolverlos con anterioridad en un cubo (dejándolos humedecer durante la noche), o colocarlos en una plataforma a 15–20 cm por debajo de la supericie del agua, para evitar pérdidas de nutrientes en el suelo.
La cantidad de quistes necesaria para aclosionar el número requerido de nauplios (teniendo en cuenta un 30% de mortalidad), debe de ser calculada en base al volumen del estanque y de la eficiencia de eclosión (HE) de la capa de quistes seleccionada; ej.

Los quistes serán eclosionados preferentemente en un lugar cercano a los estanques. Las condiciones óptimas de eclosión, como las descritas en la sección 5.1.1., son a menudo difíciles de encontrar en situaciones de campo, sin embargo se deben tener en cuenta los siguientes aspectos:
Es esencial recolectar los nauplios en el primer estado, ya que estados superiores no sobrevivirían el choque de salinidad al ser inoculados en un medio natural de hasta 100 ‰ de salinidad. Los nauplios en estado I (tubo digestivo = endodermo, sin contacto abierto con el medio externo; larvas con una glándula de la sal muy eficiente; cf. Conte, 1984) resisten la transferencia directa desde agua de mar de 30 ‰ a 100 ‰, experimentando en condiciones óptimas de cultivo (ej. temperatura alrededor de 30°C) una muda y desarrollo larvario normales hasta alcanzar el estado adulto, ej. hembras grávidas en menos de 10 días despues de la inoculación.
Tras la eclosión, los nauplios serán recogidos sobre un filtro de 125 μm, lavandolos repetidamente y serán transvasados a agua de mar limpia o a agua del estanque a una densidad mitad de la de eclosión, siendo transportados hasta el estanque. Si el estanque no se encuentra a una distancia corta del lugar de eclosión, se deberá suministrar aireación durante el transporte (por medio de bombas con funcionamiento a pilas o con un tanque de oxígeno) para evitar mortalidades. Cuando el tiempo de transporte se extiende durante varias horas es mejor enfriar el recipiente de los nauplios a 0–5°C (usar agua de mar enfriada o añadir bolsas de hielo). A estas bajas temperaturas el metabolismo naupliar y la actividad motriz están fuertemente reducidas. Se debe proporcionar una aireación moderada (ej. con una bomba de acuario a pilas) para mantener los animales en suspensión sin movimientos. De esta forma se pueden transportar con éxito aproximadamente, 100 millones de nauplios durante un período de varias horas en bolsas de plástico de 20 1, dentro de cajas enfriadas de polexpan (“stryrofoam”).
El mejor momento del día para inocular un estanque es al oscurecer cuando la temperatura del agua es más baja y continuará descendiendo hasta las primeras horas de la mañana. Si esto es imposible, inocular temprano por la mañana.
Cuando los nauplios han sido transportados a baja temperatura, dejar que la temperatura del recipiente suba, para que los animales puedan recuperar su actividad motriz, antes de ser introducidos en el estanque. Bajo condiciones de viento fuerte, se recomienda sifonar los nauplios sobre el lado protegido del estanque para evitar que sea arrojados sobre la orilla, por acción del fuerte oleaje.
Al día siguiente de la inoculación, es difícil poder ver los nauplios, ya que han perdido su color anaranjado característico y tienden a concentrarse en las partes más profundas del estanque. Se tiene que esperar que alcancen el primer estado pre-adulto para poder ser observados (1-2 semanas despues de la introducción) y comprobar si la inoculación ha sido un éxito.
Una vez que los nauplios introducidos han alcanzado el estado adulto, la población aumentará por medio de la reproducción ovovivípara. La primera generación de nauplios crecerá hasta el estado adulto, produciendo una segunda generación de nauplios, y así en adelante, hasta que una población superior al inóculo original se haya formado. Las condiciones del estanque (profundidad del agua, temperatura, concentración de alimento) determinará hasta donde crecerá la población. En estanques manejados intensivamente, que son fertilizados regularmente, y funcionan en circuito abierto se alcanzarán densidades animales de 100–500 ind./1. En estanques manejados extensivamente, ligados a la productividad natural, sin un manejo específico en la entrada de agua, se estabilizarán a densidades generalmente mucho más bajas.
Los parámetros más críticos son un aporte regular de agua (conseguido de forma óptima en una salina en funcionamiento, donde las salinidades en los estanques se mantienen constantes) y la disponibilidad de alimento. En función del tiempo de retención del agua se vertirá más o menos Artemia en el estanque siguiente. En salinidades superiores a 180‰ la Artemia puede ser retenida con mallas en los efluentes del estanque (instalando una red de filtración en la compuerta del estanque, ver sección 8.1.) bien para el cosechado de esta biomasa o para mantener esta población para una producción ulterior.
La disponibilidad de alimento es en realidad el factor que controla el éxito de la producción. Para ello se necesita aplicar, regularmente, fertilizaciones de relanzamiento para mantener una (re-) producción continuada.
Estimaciones precisas de las densidades animales, para el cálculo de las máximas cosechas disponibles, son muy difíciles de hacer dada la distribución heterogénea de la Artemia en los estanques, que se ve influenciada por: viento, temperatura del agua, luz, profundidad del estanque, etc. (Marchant y Williams, 1977; Lenz, 1980; Wear y Haslett, 1986).
Nosotros recomendamos seguir la composición de la población lo que proporcionará una valiosa información sobre la dinámica de la misma, en los estanques de Artemia.
| Tiempo de muestreo | Nauplios | Juveniles | Preadultos | Adultos | Quistes |
| A | ++ | - | - | - | - |
| B | - | - | + | ++ | - |
| C | ++ | - | - | + | - |
| D | + | + | + | + | - |
| E | + | - | - | ++ | - |
| F | - | - | - | ++ | - |
| G | - | - | - | ++ | + |
| H | + | + | + | + | + |
A intervalos semanales, se tomará una muestra representativa de plancton, muestreando en varios lugares del estanque y analizando la composición de la población, con la ayuda de un microscópio de disección.
Las Artemias son catalogadas como, quistes, nauplios (Estado I-IV), juveniles (Estados V-XII, larvas con toracópodos en desarrollo), pre-adultos (forma de adulto pero sin tener todavía fase reproductora) y adultos.
| La presencia relativa en la muestra de plancton es evaluada de la siguiente forma: | - ausente * presente ** presente dominante |
De un gran interés es poder evaluar la actividad reproductora de las hembras, con ovisacos llenos o vacíos, llevando nauplios o quistes.
Como se puede ver en la Tabla XXVII la evolución de la composición de la población puede proporcionar una valiosa información con relación a la capacidad de producción de la Artemia y la necesidad de cambiar el manejo del estanque (ej. añadir fertilizantes, variar el tiempo de retención del agua, etc.). La población cambia desde A hasta D (ej. a intervalos semanales) revelando una población muy sana, siendo (A) inoculación, (B) crecimiento hasta el estado pre-adulto, (C) liberación de la primera generación de nauplios, (D) reproducción continua y buenas condiciones de crecimiento. Sin embargo, la composición de la población permanece en estado (E) durante las siguientes semanas, evolucionando eventualmente hacia una situación (F) que revela unas condiciones de limitación de alimento, que aunque fuese suficiente inicialmente para que los adultos mantuviesen su actividad reproductora, es insuficiente para los nauplios y en un estado (F) posterior el alimento tambien es limitante para los adultos. Cuando la oviparidad es la actividad reproductora dominante, no se observa reclutamiento de la población (G); mientras que en estanques fuertemente fertilizados se observa, a menudo, una actividad reproductora mixta (H).
Las mejores condiciones para la producción de biomasa se dan a niveles bajos de salinidad (100 ‰) y en circunstancias muy regulares de disponibilidad de alimento. Con la Artemia es imposible de determinar, en la práctica, las producciones máximas mantenibles. Las cosechas deben ser ajustadas en función de los cambios de la población (estimando densidades y distribución por clases de tallas).

Fotografía 27. Recogida de quistes en un estanque de una salina estacional integrada para la producción de Artemia

Fotografía 28. Redes de almacenamiento de biomasa de Artemia cosechada (parte superior de la fotografía) en estanques de una salina estacional integrada para la producción de Artemia
La producción de quistes es inducida a salinidad alta, bajo condiciones elevadas de eutrofización (amplias fluctuaciones de O2 entre el día y la noche) y períodos prolongados de carencia alimenticia. Esto puede suceder naturalmente, cuando funciona la salina, en los últimos estanques de producción; o puede ser promovido (e incluso realizado a bajas salinidades) incrementando las tasas de fertilización, especialmente con estiercoles. La oviparidad solo se inducira cuando la densidad de población sea suficientemente alta como para que no tengan lugar nuevos reclutamientos mientras que como resultado de la mortalidad la densidad de población descenderá.
Las técnicas para la cosecha de quistes/biomasa, procesado y control de calidad han sido descritas anteriormente (ver secciones 4, 5.3., 6, 7.4. y 8.1.).
Como se puede observar en las Tablas XXVIII a XXX la calidad de los quistes puede variar ampliamente. Es muy probable que las diferencias observadas en la calidad de eclosión entre los quistes parentales y esos cosechados de poblaciones inoculadas, sean debidos a diferencias en las técnicas de cosechado, procesado y almacenamiento. (ver tambien la sección 4).
Los resultados prueban que, incluso, una inoculación con quistes de baja calidad puede producir excelentes quistes. La calidad de eclosión del material parental no debe ser considerada como un criterio importante de selección de cepas para una inoculación.
En las inoculaciones en Tailandia y Filipinas, los quistes recogidos siempre han tenido un color marrón oscuro, lo que indica un alto contenido en hematina en la cápsula del quiste (Gilchrist y Green, 1960), lo que a su vez probablemente está correlacionado con una alta concentración en hemoglobina en la madre. El medio ambiente juega un papel evidente en el contenido de Fe de la dieta ingerida y en las bajas concentraciones de oxígeno del agua. Así, las diferencias marcadas entre los quistes parentales de San Francisco Bay y los quistes de Barotac Nuevo, a través de la inoculación de Jaro, podrían ser explicados por unas temperaturas medias del agua mucho más altas y consecuentemente unas menores concentraciones de oxígeno en esas condiciones tropicales, comparadas con las del medio ambiente de San Francisco Bay. El efecto de la salinidad puede ser obviado, en esta comparación, ya que los quistes de San Francisco Bay son producidos en intervalos similares de salinidad (Carpelan, 1957; Saker, 1966; observ. pers.). Los mismos razonamientos se aplican al color oscuro de los quistes de Macau (Brasil) que son producidos desde 1978 a partir de otro transplante de quistes de San Francisco Bay (Sorgeloos et al., 1979). No es, sin embargo, una regla general que en biotopos tropicales calurosos se produzcan los quistes más oscuros, ya que los quistes de Mundra que estuvieron expuestos a iguales condiciones de calor y salinidad que las inoculaciones tailandesas o filipinas, continuaron siendo tan pálidos como su cepa parental de San Francisco Bay. Es por lo tanto dificil predecir el color de los quistes, ya que eso parece estar controlado por un conjunto de factores ambientales, y no es ciertamente uná característica dependiente de la cepa.
| Lugar | Superficie del estanque (m2) | Profundidad del agua (cm) | Temperatura del agua (°C° | Intervalo de salinidad (pp0) | Alimento | Origen de los quistes usados para la inoculación | Identificación del lote de quistes cosechados en los estanques inoculados |
| Bangpakong (Tailandia) | 220 | 20–30 | 25.5–37.0 | 100–150 | Productividad natural (entrada regular del agua del manglar) | San Francisco Bay Brand Cy lote 1728 (SFB 1728) | BP 1979 |
| Barotac Nuevo (Filipinas) | 16 000 | 30 | 25.0–37.0 | 80–170 | Productividad natural (entrada regular de agua del manglar) | San Francisco Bay Brand Cy lote 2596 (SFB 2596) | BN 1978 |
| Jaro (Filipinas) | 1 250 | 30–45 | 25.0–37.0 | 100–140 | Fertilizacìón inorgá nica (entrada regular de salmuera) | Barotac Nuevo lote 1978 (BN 1978) | JA 1981 |
| Mundra (India) | 3 000 | 40 | 28.0–35.0 | 100–160 | Productividad natural (entrada regular de agua del manglar) | San Francisco Bay Brand Cy lote 2596 (SFB 2596 | MU 1979 |
Características de quistes y nauplios provenientes de quistes parentales y de otros cosechados de poblaciones inoculadas (ver la definición de las abreviaturas en la Tabla XXVIII) (según Vos et al., 1984)
| SFB 1728 | BP 1979 | SFB 2596 | BN 1978 | JA 1981 | MU 1979 | |
| Eficiencia de eclosión (nauplios/g) | 100800 | 304000 | 267200 | 214000 | 339200 | 236800 |
| Características de la tasa de eclosióna | ||||||
| T0 | 24.5 | 14.5 | 15.0 | 14.7 | 14.4 | 14.6 |
| T50 | 32.8 | 18.8 | 17.6 | 18.8 | 17.6 | 16.3 |
| T90 | 39.2 | 25.6 | 20.5 | 22.0 | 22.0 | 18.9 |
| Color de los quistes | pálido | oscuro | pálido | oscuro | oscuro | pálido |
| Diámetro de los quistes (μm) | 225.8 | 232.2 | 224.7 | 228.0 | 225.2 | 222.1 |
| Desviación estandar | 17.3 | 11.8 | 12.4 | 13.0 | 11.7 | 10.8 |
| Supervivencia de los nauplios al 7 ° día (%) | 94 | 96 | 94 | 86 | ..c | 88 |
| Crecimiento de los nauplios al 7 ° díab | 100 | 106 | 100 | 97 | ..c | 105 |
Resultados de los ensayos de alimentación de Mysidopsis con nauplios de Artemia provenientes de poblaciones inoculadas (ver la definición de las abreviaturas en la Tabla XXVIII) (según Vos et al., 1984)
| Resultados con Mysis | Origen de la Artemia | |||||
| SFB | MU | BN | JA | SFB | BP | |
| 2596 | 1979 | 1978 | 1981 | 1728 | 1979 | |
| Supervivencia (%) | 93.3 | 86.7 | 94.0 | 75.0 | 81.3 | 90.0 |
| s | 5.2 | 13.8 | 5.5 | 10.6 | 11.0 | 8.9 |
| Peso seco (μm) | 318.1a | 371.9a | 385.8a | 264.0**b | 306.6 | 311.9 |
| s | 44.1 | 47.7 | 48.2 | 31.8 | 22.4 | 37.7 |
| Talla (μm) | 4467*b | 4479a | 4369*b | 3192**c | 4748 | 4758 |
| s | 185 | 181 | 170 | 193 | 166 | 145 |
| Datos reproductivos (%) | ||||||
| ♂i/♂♂ | 4.6 | 0 | 0 | 0 | 0 | 0 |
| ♀i/♀♀ | 50.6 | 13.3 | 8.0 | 48.2 | 48.8 | 30.3 |
| ♀o/♀♀ | 49.4 | 73.5 | 76.0 | 51.9 | 51.2 | 51.5 |
| ♀m/♀♀ | 0 | 13.3 | 16.0 | 0 | 0 | 18.2 |
Definición de los símbolos:
a, b, c Medias con distintos exponentes (a, b, c) son significativamente diferentes a los nivelesde
* : 0.05 ó
** : 0.01
♂i : macho inmaduro
♂♂ : número total de machos
♀o : hembras con huevos en el ovario
♀i : hembra unmadura
♀♀ : número total de hembras
♀m : hembras con huevos en el marsupio
Composición porcentual de esteres metilados de ácidos grasos (EMAG) de nauplios de Artemia procedentes de poblaciones inoculadas (ver definición de las abreviaturas en la Tabla XXVIII) (según Vos. et. al., 1984)
| EMAG | SFB 2596 | MU 1979 | BN 1978 | JA 1981 | SFB 1728 | BP 1979 |
| 14:0 | 1.3 | 0.9 | 1.7 | 1.4 | 1.8 | 0.7 |
| 14:1 | 0.9 | 2.4 | 1.4 | 1.5 | 0.9 | 2.6 |
| 15:0 | 0.3 | 0.9 | 1.4 | 1.5 | 1.3 | - |
| 15:1 | 0.2 | 1.4 | 0.7 | 0.8 | 0.7 | 0.7 |
| 16:0 | 13.0 | 12.7 | 14.4 | 11.4 | 14.4 | 10.1 |
| 16:1w7 | 21.9 | 8.9 | 15.9 | 13.7 | 16.3 | 10.3 |
| 16:2w7–17:0 | - | 1.6 | 1.9 | 2.1 | 1.3 | - |
| 16:3w4–17:1w8 | 0.8 | 2.3 | 4.0 | 4.7 | 5.3 | 1.3 |
| 18:0 | 3.0 | 2.8 | 3.3 | 3.9 | 3.3 | 2.9 |
| 18:1w7,w9 | 34.1 | 27.9 | 29.6 | 27.0 | 28.0 | 31.4 |
| 18:2w6 | 4.7 | 12.0 | 9.1 | 15.0 | 4.5 | 5.5 |
| 20:0a | 7.8 | 14.6 | 4.2 | 12.9 | 9.2 | 23.3 |
| 18:3w3,w6a | ||||||
| 18:4w3 | 1.9 | 3.0 | 1.2 | 1.1 | 1.1 | 3.2 |
| 20:2w6,w9 | 0.2 | 0.3 | 0.3 | 0.5 | 0.4 | 0.3 |
| 20:3w3,w6 | 0.1 | 0.2 | 0.2 | - | 0.2 | 0.1 |
| 20:4w3,w6 | 1.9 | 1.5 | 2.1 | 1.3 | 2.5 | 1.7 |
| 22:1 | 0.3 | 0.8 | 0.3 | 0.1 | 0.2 | 0.6 |
| 20:5w3 | 7.9 | 5.3 | 8.9 | 1.9 | 13.8 | 5.3 |
| 22:2–21:5 | - | 0.3 | - | - | - | - |
| 24:0 | - | 0.2 | - | - | - | - |
| 22:5 | - | 0.1 | 0.3 | - | - | - |
La constancia del diámetro de los quistes (intervalo total: 222–232 μm) y el crecimiento de los nauplios (97–106% de crecimiento registrado en la cepa de referencia) confirma conclusiones anteriores de Vanhaecke y Sorgeloos (1980), sobre que esas características son dependientes de las cepas y exceptuando pequeñas diferencias, permanecen inalteradas en un nuevo ambiente. Esas características son pues, criterios esenciales que deben ser considerados en la selección de cepas adecuadas para inoculación o transplante.
El valor nutritivo inferior de los nauplios de quistes procedentes de Jaro para Mysidiopsis bahia se relaciona con un menor contenido en el HUFA 20:5 W3. Ello confirma los hallazgos de Johns et al., (1981) y Léger et al., (1985) de que los nauplios de Artemia con niveles bajos de 20:5 w3 dan unos resultados mediocres como alimento de los juveniles de Mysidiopsis. El menor contenido de determinados acidos grasos en los nauplios está probablemente explicado por diferencias similares en los perfiles del alimento ingerido por los adultos productores de quistes (Hinchcliffe y Riley, 1972). El manejo del alimento en los estanques es pues de una importancia crucial. Sin ambargo, hasta la fecha no existen guías de manejo a este respecto, dada la variabilidad de las condiciones locales. La inoculación en Jaro fue la única en la que la fertilidad del agua (salmuera procedente de una salina adyacente) fue suplementada con una fertilización inorgánica. Esto originó unos afloramientos de algas rojizas que puede que no fuesen un alimento ideal para Artemia. De cualquier forma, parece que los resultados más seguros pueden ser obtenidos en aquellas inoculaciones donde la disponibilidad de alimento tiene una composición con mayor grado de diversidad, tal como sucede en las inoculaciones que emplean la fertilidad natural del agua de entrada (ej. manglares, estuarios), y/o abonos orgánicos como se hace actualmente de forma rutinaria en Tailandia, con excelentes resultados.
En vista de la importancia que representa el tener un nivel suficiente de 20:5 w3 en los nauplios, y teniendo en cuenta el hecho de que los perfiles de ácidos grasos están determinados, mayormente, por la composición del alimento asimilado, no se puede asegurar que la inoculación de quistes de buena calidad, dará igualmente quistes de un alto valor nutritivo.
En lugares donde las aguas de entrada a la salina puedan estar contaminadas (ej. estuarios polucionados con desechos domésticos o industriales, y/o por aguas de escorrentía procedentes de campos agrícolas rociados de pesticidas, herbicidas, etc.) el riesgo de contaminación de la Artemia (quistes y biomasa) con hidrocarburos clorados persistentes, metales pesados, etc. es más elevado. Dada su alta tolerancia a varios productos contaminantes, la población de Artemia puede no verse afectada directamente, pero la consecuencia será la bioacumulación en los animales.
Aunque es obvio que la producción de Artemia estará mucho más justificada, en lo que a costos se refiere, cuando esté integrada en una salina en funcionamiento, en determinadas ocasiones (ej. competición con la producción de sal altamente rentable), se puede tener en consideración la construcción de nuevos estanques para el cultivo de Artemia.
No es nuestro objetivo el cubrir en detalle todos los aspectos relacionados con la selección de lugares y la construcción de estanques; preferimos referirnos para ello a libros especializados (New y Singholka, 1982; Wheaton, 1977; Woynarovick, 1975).
Nosotros nos limitaremos aqúi a resumir algunos aspectos que serán de aplicación específica en el cultivo de Artemia en estanques.
La producción de Artemia en estanques puede unicamente ser tenida en cuenta en climas (mayormente del cinturón tropical y subtropical) con estaciones periódicas secas y calurosas, durante las cuales una fuerte evaporación permite la producción de salmueras concentradas.
La estación seca debe estar bien definida, preferiblemente sin tormentas ocasionales o tifones que puedan rebajar bruscamente la salinidad. Se requiere un mínimo de cuatro meses secos para hacer que la inoculación de Artemia sea rentable. Aunque puede ocurrir que una gran región no posea las condiciones climatológicas óptimas (ej. SE-Asia), tambien puede que se encuentren lugares específicos donde un microclima local resulte tener una cantidad de precipitaciones extremadamente bajas (ej. SW-Bangkok en Tailandia; SW-Panay en las Filipinas; Sabah en Malasia; Cam Ranh Bay en Vietnam). La presencia local de salinas (incluso si solo son operativas unos pocos meses al año) es un indicador claro de la idoneidad del clima local para la producción de Artemia en estanques.
Dadas las aguas hipersalinas que requiere el cultivo de Artemia, los lugares seleccionados deberan estar vecinos al mar, o taner acceso al agua de mar, o a aguas salobres por medio de un canal de suministro (ej. estuario, afluente, canal de agua de mar) o de un pozo de salmuera de alta capacidad.
La zona será tan plana como sea posible, para facilitar la construcción de los astanques con unas formas regulares. Una pendiente gradual puede facilitar eventualmente, el flujo por gravedad dentro del complejo de estanques.
Los estanques daben estar protegidos de inundaciones. Los diques y otras estructuras, tales como el muro perimetral se tendrán en consideración en áreas con riesgos de avenidas.
Los estanques serán accesibles an cualquier momento para permitir acciones correctoras inmediatas.
Tanto el agua de mar, como la salmuera, deben estar disponibles con facilidad y en cantidades suficientes para permitir un manejo adecuado de los estanques. En el caso que la salmuera no se pueda obtener de una salina cercana, se tendrán que tener en consideración instalaciones propias para la evaporación del agua de mar (basadas en los principios clásicos del manejo de una salina).
El uso de sal bruta para incrementar la salinidad de un estanque, no debe tenerse en cuenta dadas las grandes cantidades que serían necesarias (ej. son necesarias 12 toneladas de sal para aumentar la salinidad de 70 a 100%. en un estanque de 1000 m2 con una profundidad de 40 cm) y porque esta salmuera tendría una débil capacidad tampón (ej. ausencia de carbonatos). Cuando se dispone únicamente de un período de cultivo limitado (dependiendo de la duración de la estación seca), se llenarán los estanques de Artemia desde el comienzo con aguas de alta salinidad, ya que sino llevaría varios meses aumentar la salinidad de un estanque desde 35 a 100‰. A tal fín es necesaria la disponibilidad de un stock de salmuera. Las aguas de vertido de los cristalizadores, las llamadas aguas madres (“bittern”), no se pueden usar ya que son tóxicas para la Artemia; ej. contienen pequeñas concentraciones de NaCl pero muy altas de otras sales. Aparte de la salmuera tambien son necesarias aguas de menor salinidad (hasta 70 ‰, preferentemente de aguas altamente productivas, ej. un afluente de manglar) para compensar una avaporación demasiado rápida, ej. bajando, eventualmente, la sali- nidad del estanque por debajo de 100‰.
A causa del largo tiempo necesario para producir aguas de alta salinidad, los estanques de Artemia deben ser absolutamente impermeables. Aunque se pueden considerar estanques de cemento o recubiertos por una lámina plástica, se dará preferencia a los estanques de tierra, ya que son mas baratos en su construcción y proporcionan un intercambio beneficioso de nutrientes con el agua.
El suelo de los estanques sará arcilloso con un contenido mínimo de arena y estará bien compactado. Una pruaba sencilla de comprobación consiste en hacer una bolita con un trozo de sualo, si la bola no se deshace, incluso despues de bastante manipulación, el suelo tiene un contenido alto en arcilla y es adecuado para la construcción de muros y estanques. Cuando se excavan nuevos estanques, se debe prestar atención al riesgo de los problemas de acidez (ver Simpson y Pedini, 1985), ya que la Artemia no puede crecer a pH inferiores a 7,5.
Cuando se emplean estiércoles (ej. gallinaza) no se recicla todo el abono en fitoplancton y hay una acumulación gradual de materia orgánica en descomposición en el fondo del estanque. Tal como sucede con el cultivo intensivo de langostino, los estanques de Artemia deben ser secados a intervalos regulares (¿una vez cada 6 meses?, no hay experiencia hasta la fecha de producción de Artemia en estanques durante todo el año; las salinas del Sudeste Asiático, con intagración de producción de Artemia, son secadas y limpiadas con agua dulce durante la estación lluviosa).
El fondo seco de los estanques será rastrillado y arado varias veces e incluso, eventualmente encalado para asegurar una buena oxidación del suelo (ej. el color cambia de negro a pardo-grisáceo). Este tratamiento del fondo del estanque puede durar una semana.
Tanto los nuevos estanques como aquellos que han sido transformados para el cultivo de Artemia, deberán cumplir los siguientes requisitos básicos: estarán orientados con su eje más largo paralelo o en diagonal a la dirección del viento dominante, lo que permitirá a los quistes acumularse en las esquinas de las partes más estrethas (Fig.63); tendrán una profundidad mínima de agua de 30 cm (preferentemente entre 0,5-1m.) y un tamaño fácil de manejar (ej. para fertilizaciones, y cosecha de quistes y biomasa). La mayor experiencia se tiene hasta ahora con estanques pequeños (máximo de 1 Ha); aunque superficies mayores tambien pueden ser manejadas, queda claro que su rendimiento de producción decrecerá proporcionalmente.
Los estanques bajo nivel (Fig. 64) están totalmente excavados y su fondo está más bajo que el nivel del suelo circundante. Estos estanques tienen unos costos de construcción más elevados y solo pueden ser vaciados por bombeo, por el uso de un profundo canal de desagüe, o por estanques adyacentes.
Los estanques elevados (Fig.65) tienen los fondos prácticamente al mismo nivel que la tierra circundante y el agua queda retenida por diques o muros. Estos estanques tienen unos menores costos de construcción y permiten un vaciado completo sin bombeo. El suelo empleado en la contrucción de los diques puede tomarse eventualmente de un canal perimetral en el estanque.
Las configuraciones recomendadas para los diques están representadas en la Fig. 66. Para la contrucción de los diques en altura, se tendrá en cuenta hasta un 30% de pérdida por contracción (que tendrá lugar durante el secado del suelo) y una parte libre por encima del nivel del agua de 30 cm Para prevenir percolaciones, el nuevo dique será compactado mientras que el suelo no esté demasiado húmedo (ej. sin que se libere agua durante la compactación). Cuando se sube de altura un dique antiguo, las pérdidas por percolación ocurren normalmente en la zona de interfase entre el suelo antiguo y nuevo; el dique antiguo será primeramente humedecido y hendido antes de añadir el nuevo suelo.

Figura 63. Orientación del estanque de Artemia.

Figura 64. Sección longitudinal de un estanque excavado.

Figura 65. Vista superior y secciones longitudinales de estanques sobreelevados.

Figura 66. Sección transversal del muro de un estanque
Durante los procesos de secado pueden aparecer fracturas en los diques, lo que causa pequeñas perdidas. Tales pérdidas pueden ser detenidas extendiendo localmente sobre los diques, suelo arcilloso o vertiendo agua salada, lo que cementara las fracturas.
Los canales tendrán la misma relacion de pendiente 1:1 que los diques. Pueden sér diseñados como canales de distribución o de desagüe, o bien, realizar ambas funciones al mismo tiempo. Los canales de desagüe tendran un lecho situado mas bajo que el fondo de los estanques de sarvicio y estarán generalmente localizados en el lado opuesto del estanque, paralelos al canal de distribución (Fig. 65).
Los estanques de Artemia estarán dotados de estructuras de captación y vertido de agua, utilizadas para transvasar el agua de un estanque a otro, salvo que se usen bombas. Existe una gran variedad de tales estructuras que serán seleccionadas conforme a las condiciones locales, experiencia e instalaciones. Sin embargo, es esencial tener en cuenta las siguientes consideraciones:

Figura 67. Vista superior de una compuerta para la toma o vaciado de agua

Figura 68. Sección transversal del muro de un estanque mostrando la tubería de suministro de agua
Elementos útiles son:
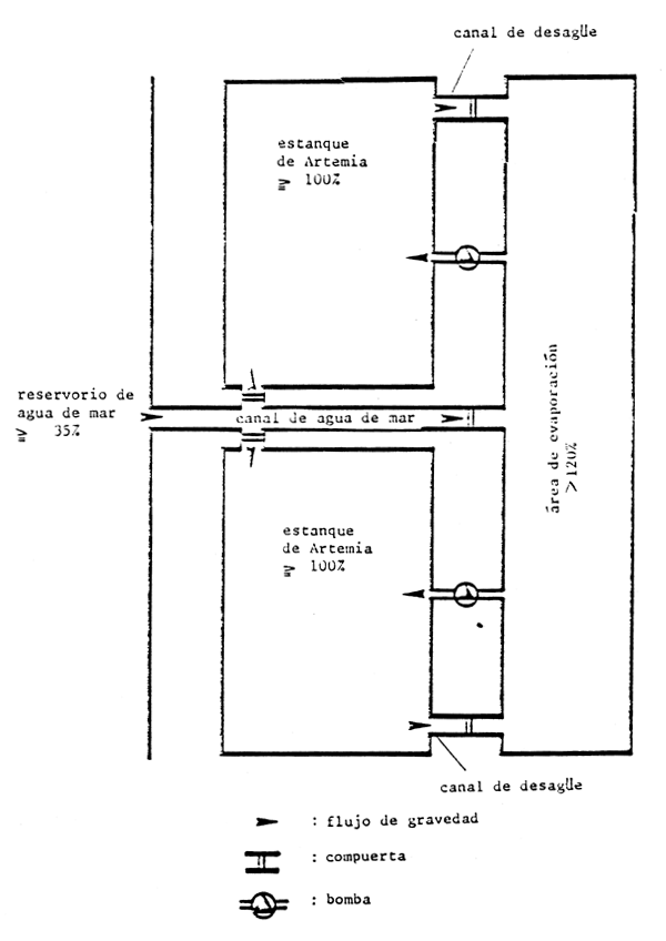
Aunque el mejor sistema para la producción de Artemia (tanto biomasa como quistes) es el de circuito abierto (ver más adelante, en situaciones particulares solo se puede utilizar el llamado cultivo estático de Artemia. En tal sistema (ver diagrama en la Fig. 69) los estanques de producción están dotados con dos tipos de aguas, una de alta (>120 ‰) y otra de baja (35-70 ‰) salinidad, que son mezcladas en los estanques para lograr una salinidad adecuada. En tales sistemas, cada estanque de producción puede ser manejado (llenado y vaciado) individualmente, sin que el agua fluya de un estanque a otro. Este diseño requiere canales independientes de suministro y vaciado, pero es facilmente reajustable para otras actividades acuícolas (ej. cultivo de peces y langostinos durante la estación lluviosa), ya que emplean básicamente las mismas instalaciones.
La producción mejor y más barata de Artemia se hace en condiciones de circuito abierto con flujo de agua de un estanque a otro, con lo que se logra un incremento gradual de la salinidad por evaporación. En tales sistemas, los estanques no se manejan individualmente y no son necesarios los canales de distribución. En estos estanques, con una salinidad adecuada, la producción de Artemia se puede contemplar tras el profundizamiento de los mismos (o aumentando la altura de los muros con la construcción de un canal perimetral; eventualmente necesita bombas supletorias; ver diagra- ma de una granja con integración de sal y Artemia en la Fig, 70). Un sistema de circuito abierto es facilmente combinable con la producción de sal, ya que las salinas más tradicionales utilizan tales sistemas para su funcionamiento.

Fotografía 29. Molino de viento usado en salinas estacionales en el SE de Asia

Figura 69. Diseño de una granja de Artemia manejada según el sistema de cultivo estático

Figura 70. Diseño de una granja integrada para la producción de sal + Artemia.
Aunque la integración de la producción de sal y Artemia no interferirá con la calidad de la sal (más bien al contrario, ver sección 8.2.) existen otras razones que pueden hacer imposible la producción de esta especie dentro de la salina. Como se representa en la Fig. 71, los estanques de Artemia pueden estar construidos adyacentes a la salina, utilizando la salmuera en condiciones de circuito abierto y devolviendola posteriormente a la salina (ej. tras un incremento en la salinidad despues de un tiempo de retención de algunos días/semanas en la granja de Artemia).
Ya que se tienen que mezclar en los estanques, diferentes tipos o aguas de salinidades diversas, para un primer llenado, o durante los manejos ulteriores, las siguientes fórmulas pueden ser útiles para el cálculo de los volúmenes:
![]() | d2 = df - d1 |
d1 = altura (en cm) a tomar del primer tipo de agua.
d2 = altura (en cm) a tomar del segundo tipo de agua
df = profundidad final (en cm) en el estanque de cultivo
s1 = salinidad del primer tipo de agua
s2 = salinidad del segundo tipo de agua
sf = salinidad deseada

Figura 71. Diseño de un estanque de Artemia adyacente a una salina
Ejemplo:
La profundidad de agua en el estanque de cultivo tiene que ser de 60 cm (df) con una salinidad de 110‰ (sf) y las aguas disponibles tienen unas salinidades de 35 % (S1) y 150‰ (S2)
d2 = 60 - 21 = 39 cm de altura de agua se tomaran del estan que de 150 ‰
Un modelo simplificado de una granja de Artemia con una superficie total aproximada de 2 Ha, está representado en la Fig. 72. Las tasas de bombeo, los tiempos de retención y las superficies de los estanques, a las salinidades respectivas, están basados en los siguientes cálculos:
- Tasa de bombeo en el estanque i (Pi) (en litros/día)
E = tasa de evaporación en el estanque (en litros/m2/día)
A = superficie del estanque (en m2)
S = salinidad en el estanque (en ‰)

Figura 72. Diseño de una granja nueva de Artemia funcionando según el principio de cultivo en circuito abierto (p = profundidad del agua en cm; s = salinidad en %; P volumen en litros; R = tiempo de retención en días).
- Superficie del estanque i + 1 (Ai+1) (en m2)

con Pi + i = Pi - (Ei × Ai)
- Tiempo de retención en el estanque i (Ri) (en dias)

con Vi = Ai × d × 1000
con V = volumen del estanque en litros
d = profundidad del agua (en m)
Todos los cálculos están basados en las condiciones siguientes:
Los estanques 2, 3, y 4 están orientados con su eje mayor en la dirección del viento dominante (= mejor acumulación de quistes). La granja está dotada con un colector de salmuera para almacenar, durante la estación lluviosa, la salmuera producida. Los estanques 2,3, y 4 así como el colector de salmuera están equipados con compuertas con mallas para evacuar el agua dulce en caso de lluvias importantes. De esta forma y utilizando eventualmente la salmuera del colector, se puede esperar que las salinidades se mantengan entre 100 – 120 ‰ incluso durante la estación lluviosa permitiendo una producción prolongada de biomasa. El exceso de salmuera en el colector puede tambien ser usado para un comienzo más rápido (por sus salinidades más altas) al inicio de la estación seca.
Extrapolando de las cosechas obtenidas en Tailandia y Filipinas se pueden estimar las siguientes producciones:
primer año (1 mes de inicio y 3 meses de producción)
quistes: a 15 kg peso seco/Ha/mes
15 × 3 × (8,36 + 0,24 + 0,13) = 33 kg peso seco/año
biomasa: a 500 kg peso húmedo/Ha/mes
500 × 3 × (0,36 + 0,24 + 0,13) = 1095 kg peso húmedo/
año
segundo año y posteriores
quistes (4 meses de producción)
15 × 4 × (0,36 + 0,24 + 0,13) = 44 kg peso seco/año
biomasa (12 meses de producción)
500 × 12 × (0,36 + 0,24 + 0,13) = 4380 kg peso
húmedo/año