(México, D.F., 14 a 16 de marzo de 1994)
La I Mesa Redonda Regional sobre SIPAL, fue organizada por el Proyecto AQUILA II con los siguientes objetivos:
identificar los reales requerimientos específicos de los usuarios del sistema de cada uno de los países, para cada uno de los niveles de decisión involucrados, con el fin de determinar cuales de los elementos de los varios módulos del SIPAL inicialmente programados se deberán retener y finalizar a fin de garantizar su utilidad clara e inmediata;
orientar la finalización de la aplicación APS, dirigida a la evaluación técnica y económica de proyectos productivos de inversión en el sector acuícola y establecer un plan de acción detallado para su terminación;
precisar las especificaciones técnicas y las modalidades operativas (recursos, responsables, tiempos de ejecución) para los reajustes y las finalizaciones necesarios para los demás módulos seleccionados;
definir métodos y procesos adecuados — y realísticamente adaptados a las condiciones existentes en cada país — para recopilar, almacenar y procesar la información manejada por el SIPAL, una vez que el Sistema haya sido transferido;
evaluar el rol que podrá desarrollar la Oficina Regional de la FAO para América Latina y el Caribe (RLAC), bajo la coordinación de los Oficiales Regionales de Pesca, a través de las Redes Regionales y/o de la Copescal;
fijar compromisos operativos dirigidos a garantizar, antes de la fecha límite del 30/6/94, la efectiva transferencia del SIPAL a las instancias correspondientes identificadas.
El evento contó con la participación de representantes de cinco países de la Región (Colombia, Cuba, Chile, México y Trinidad y Tobago), de los Oficiales Regionales de Pesca de la Oficina Regional de la FAO para América Latina y el Caribe y de personal de la Sede de FAO. En el Anexo I se presenta la lista de los participantes.
La FAO agradece sinceramente las instituciones nacionales de los países representados en la Mesa Redonda por su valiosa colaboración que ha permitido el buen desarrollo del evento.
El Representante de la FAO en México, Lic. Santiago Funes, inauguró la Mesa Redonda dando la bienvenida, a nombre de la FAO, a todos los participantes y dirigiéndoles una breve plática sobre la importancia de los sistemas informativos en el desarrollo de actividades productivas, subrayando, en este marco, la exigencia de que la información alcance eficazmente los usuarios finales.
El Director del Proyecto AQUILA II presentó a los participantes el programa de la Mesa Redonda y sus objetivos. La agenda se adjunta como Anexo 2.
Los representantes de Colombia, Cuba, Chile, México, y Trinidad y Tobago hicieron una breve ponencia sobre la situación y los requerimientos del SIPAL en sus países. Las presentaciones se incluyen también como Anexo 3.
Los Oficiales Regionales de Pesca de la Oficina Regional de la FAO para América Latina y el Caribe expusieron en detalle la situación de sus respectivas oficinas en relación a un posible soporte al SIPAL, después de la conclusión del Proyecto AQUILA II.
La Mesa Redonda enfatizó la necesidad de que se asignen recursos adecuados para permitir la transferencia y ulterior desarrollo y operación del SIPAL Regional. Al respecto, se sugirió la formulación de una propuesta de PCT regional que sería apoyado por los países representados en la Mesa Redonda.
Con referencia a los módulos desarrollados por el Proyecto y por los países, incluidos en el prototipo ya presentado, la Mesa Redonda expresó su substancial acuerdo sobre la estructura del sistema, estimándose que una ampliación — aunque deseada — no es posible en el corto plazo a disposición del Proyecto AQUILA II.
Para discutir en detalle: (a) las específicaciones técnicas y modalidades operativas necesarias para la terminación de los módulos actualmente en desarrollo y su transferencia a los beneficiarios, y (b) los compromisos operativos para la transferencia del sistema y su utilización en forma permanente, se formó un Grupo de Trabajo que, a conclusión de sus debates, presentó las recomendaciones que se adjuntan como Anexo 4 y que fueran aprobadas por la Mesa Redonda.
Respecto a las modalidades de adquisición, almacenamiento y procesamiento de datos a nivel nacional, los participantes estimaron que no era posible en este momento definirlas y que sería necesario conocer previamente la localización y la forma de operación del SIPAL Regional.
El Proyecto Aquila II presentó a los participantes el prototipo del nuevo software analítico para evaluación de proyectos acuícolas APS (Aquaculture Planning Simulator).
La Mesa Redonda expresó su interés por esta aplicación e indicó su acuerdo para la inclusión en el SIPAL de APS, en su versión completa, tras obtener garantías por parte del Proyecto Aquila II de que la finalización de APS no interferiría con el trabajo a realizar para completar los demás módulos, que se consideran prioritarios por parte del los representantes de dos países.
Respecto a las mejoras a aportar al prototipo de APS, la Mesa sugirió lo siguiente:
Que fuese posible volver del módulo de simulación al módulo de descripción a fin de poder afinar los varios parámetros de los proyectos a evaluar.
Que se estableciese una rutina a través de la cual, con el mismo módulo de descripción, fuese posible producir un análisis financiero del proyecto en evaluación.
Que se estudiase la posibilidad de mejorar la presentación gráfica del APS.
El Proyecto Aquila II aseguró que las dos primeras modificaciones serían incluidas en la versión a ser entregada antes del 30/6/94. Para realizar la tercera, que requeriría la reedición del software en formato gráfico en ambiente Windows™, será necesario esperar a una definición del futuro del SIPAL.
Asimismo, los representantes de los países subrayaron la oportunidad de someter el APS a una fase de pruebas a fin de poder mejorarlo y formular al respecto las oportunas sugerencias. Esta fase de pruebas sin embargo será realizable solamente tras la conclusión del Proyecto Aquila II.
Después de una amplia discusión, la Mesa Redonda aprobó el presente informe y los Anexos.
Ciudad de México, 16 de marzo de 1994.
| Colombia | Carlos Guillermo Barreto Reyes |
| Jefe de División de Sistematización y Estadísticas | |
| Instituto Nacional de Pesca y Acuicultura | |
| Cuba | Juana María Castiñeiras Gareía |
| Directora de Sistemas Automatizados | |
| Ministerio de la Industria Pesquera | |
| Chile | Cristian Jélvez Flores |
| Jefe de la Unidad Técnica de Cultivo y Repoblación de Peces | |
| Instituto de Fomento Pesquero | |
| México | Víctor Ríos Arias |
| Jefe Departamento Estadísticas Coyunturales | |
| Dirección General de Acuacultura de Sepesca (DGA) | |
| Secretaría de Pesca | |
| José de Hoyos Nieves | |
| Asesor en Computación del D.G., DGA | |
| Miguel Ramírez | |
| Consultor de la DGA | |
| Irma López López | |
| Subdirectora de Apoyo Técnico, | |
| Instituto Nacional de Pesca (INP) | |
| Alejandro Liedo Galindo | |
| Investigador de la Subdirección de Apoyo Técnico, INP | |
| Gabriela Morales García | |
| Investigador de la Dirección de Análisis de Pesquerías, INP | |
| Trinidad y Tobago | Boris Fabres |
| Oficial de Pesca | |
| Ministerio de Agricultura y Recursos Marinos | |
| FAO | Mario Pedini |
| Asesor Principal (Desarrollo de la Acuicultura), FIRI | |
| S. Rino Coppola | |
| Oficial de Recursos Pesqueros, FIRM | |
| Bisessar Chakalall | |
| Oficial Regional de Pesca, RLAC, en Puerto España | |
| Andrés Mena Millar | |
| Oficial Regional de Pesca, RLAC, en Santiago de Chile | |
| FAO - Aquila II | Claudio Gregorio |
| Director | |
| Enrico Varsi | |
| Experto en acuicultura | |
| Juan Carlos de Wit | |
| Oficial Profesional Asociado | |
| Alessandro Moretti | |
| Consultor | |
| José Martínez Santamaría | |
| Analista Programador |
Lunes 14 DE MARZO DE 1994
| 9:30–9:45 | Inauguración |
| S. Funes | |
| 9:45–10:00 | Receso |
| 10:00–10:15 | Presentación Mesa Redonda |
| C. Gregorio | |
| 10:15–12:00 | Presentación del SIPAL |
| E. Varsi | |
| 12:00–14:00 | Presentación del Módulo APS |
| A. Moretti | |
| 14:00–15:30 | Receso |
| 15:30–16:00 | Informe de Colombia |
| C. Barreto | |
| 16:00–16:45 | Informe de Cuba |
| J.M. Castiñeiras | |
| 16:45–17:15 | Informe de Chile |
| C. Jélvez | |
| 17:15–17:30 | Receso |
| 17:30–18:30 | Informe de México |
| V. Ríos, M. Ramírez, J. de Hoyos, A. Liedo | |
| 18:30–19:15 | Informe de Trinidad y Tobago |
| B. Fabres |
Martes 15 DE MARZO
| 8:30–10:30 | Rol de los Oficiales Regionales de Pesca y de las Redes Regionales en el funcionamiento futuro del SIPAL. B. Chakalall y A. Mena Millar |
| 10:30–10:45 | Receso |
| 10:45–12:30 | Discusión: reajustes del Sistema necesarios en base a los re- querimientos expresados. |
| 12:30–13:30 | Plan de acción para la terminación del módulo APS |
| 13:30–15:00 | Receso |
| 15:00–16:45 | Grupos de trabajo: (a) Elaboración especificaciones técnicas y modalidades operativas para el reajuste del SIPAL (b) Mo- dalidades de adquisición, almacenamiento y procesamiento datos. |
| 16:45–17:00 | Receso |
| 17:00–18:00 | Grupos de trabajo: (c) Definición de los compromisos opera- tivos para la transferencia del Sistema y su utilización en forma permanente. |
Miércoles 16 DE MARZO
| 8:30–10:30 | Elaboración del documento final. |
| 10:30–10:45 | Receso |
| 10:45–13:30 | sigue elaboración del documento final. |
| 13:30–15:00 | Receso |
| 15:00–19:30 | sigue elaboración del documento final. |
| 19:30–22:00 | Discusión y aprobación. |
| 22:00 | Clausura |
Junto con la creación del Instituto Nacional de Pesca y Acuicultura (INPA), se incorporó a su organigrama la División de Informática y Estadística. Por este motivo se reforzó la estructura ya existente en el entonces Instituto Nacional de Recursos Naturales Renovables (Inderena), denominada Sistema Estadístico Pesquero Colombiano (SEPEC). Éste se encuentra constituido por dos partes importantes: la estructura logística, o sea la de creación del sistema para la toma de información, y el diseño computacional o formulación del paquete de programación capaz de recibir los datos colectados y procesarlos de una forma automática.
La base fundamental con que se contaba para la captura de información del SEPEC radicaba especialmente en la información originada por los salvoconductos de pesca. Este sistema tenía fallas profundas en los esquemas básicos de información y además, aparentemente, originó comportamientos poco juiciosos por parte de los inspectores del Inderena. Por ello, dicho sistema fue abolido por la Ley 13 de 1990. Debido a lo anterior, los datos deberán ser tomados, en el futuro, mediante la acción directa de los funcionarios del Inpa, la contratación de servicio para tal fin y la participación y cooperación periódica de los industriales pesqueros.
El presente documento pretende proponer un sistema que pueda orientar el funcionamiento de la toma de información pesquera, a todo nivel, desde el punto de vista institucional y empresarial y a nivel tanto nacional como internacional. En él se dan algunas normas y procedimientos para la obtención, proceso y publicación de los datos estadísticos pesqueros.
Desde su puesta en funcionamiento, el SEPEC ha tenido como objetivo principal diseñar y desarrollar un sistema de información de estadísticas pesqueras, tanto de aguas dulces como marinas.
El área de cubrimiento de la información comprende todo el territorio de Colombia, incluyendo los sistemas marinos y de aguas dulces (ciénagas, embalses, lagunas y ríos). De la misma manera, se toma información relacionada con las actividades acuícolas, sea de tipo marino, sea continental (ver mapa en la página siguiente).
Debido a que la División de Sistemas y Estadísticas del INPA cuenta solamente con dos personas para realizar todas las labores correspondientes al desarrollo del sistema, se tomó la decisión de formular un programa de recolección de información que tuviese como base el llenado de una serie de formularios por parte de los usuarios del recurso.

De todas maneras, se cuenta con la colaboración del personal de las tres principales oficinas regionales del INPA que desempeña varias funciones, entre otras recibir y clasificar la información proveniente de los usuarios.
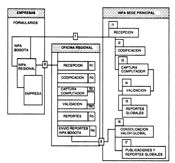
Bajo este sistema, la información recibe el tratamiento representado en el flujograma de la siguiente página.
Como puede observarse, los datos son tomados en original y tres copias, cada una de las cuales tienen el siguiente recorrido:
El original se envía a la sede principal ubicada en las oficinas de Santafé de Bogotá, y es allí codificado e ingresado al sistema computacional; la información es validada, con el fin de determinar si está correctamente diligenciada y si se ajusta a los patrones establecidos. En caso contrario, se corrige mediante consulta directa con la fuente primaria y luego se pasa a la base de datos. Cada trimestre se hace un reporte global de información, la cual es comparada con la regional, y finalmente se publican dos boletines por año.
La información de la segunda copia es recibida por un funcionario en la oficina regional y es allí codificada e ingresada al sistema computacional recibiendo el mismo tratamiento que la información de la sede principal.
La tercera copia se queda en cada una de las empresas que generan la información primaria, y debe servir como registro interno y comparativo en caso de presentarse algún tipo de revisión, bien sea por la sede principal o por las regionales.

El sistema está siendo desarrollado en su totalidad en la sede principal y de manera parcial en las oficina regionales, debido principalmente a la escasez de personal.
Según las disposiciones del SEPEC, toda la información debe ser diligenciada y enviada a la entidad los cinco primeros días de cada mes; dicha información es sistematizada de acuerdo a los siguientes parámetros:
Acumulación mensual: la información recibida es almacenada en el programa denominado SEPEC, elaborado en la base de datos relacionados dBASE IV.
Agregación: el programa permite agregar la información por departamentos, por especies y por tipo de cultivo; cada departamento está codificado con la utilización de dos dígitos y cada especie se identifica con tres.
En la actualidad, los usuarios de la información pesquera y en especial la procedente de la actividad de la acuicultura, son las entidades financieras nacionales así como los organismos del Gobierno que deben realizar labores de planificación, universidades que desean realizar investigaciones y, en general, particulares que desean realizar inversiones en el sector.
La demanda de la información está orientada principalmente hacia el campo de la inversión financiera, para responder a interrogantes sobre, p. ej., el costo de la adecuación de una hectárea para determinada especie. Se solicita igualmente información sobre el tipo de cultivo que se está realizando (extensivo, semintensivo, intensivo y superintensivo), la especie a cultivar de acuerdo al clima, así como el número de cosechas anuales, las principales características biológicas y medioambientales que propician la optimización del cultivo y las ganancias y canales de comercialización. Hasta el momento toda la información se tiene disponible únicamente por consulta directa o por intermedio de los boletines estadísticos que se publican semestral y anualmente.
Bajo los parámetros ya descritos, el costo de la consecución de la información es bastante reducido, ya que consiste solamente en el salario de dos funcionarios en la sede principal a tiempo completo y de unos 12 profesionales a tiempo parcial; sin embargo, este sistema tiene problemas del flujo de información que ocasionan retrasos en los informes y errores en los reportes.
La historia legislativa de Colombia en materia de pesca se parte en dos distintas fases delimitadas por la Ley 13 de 1990. En efecto, actualmente toda la actividad pesquera se rige por esta Ley y su Decreto Reglamentario 2256 de 1991.
La Ley 13 trata expresamente, en el Capítulo 5, de la acuicultura: el Art. 41 define la actividad y el Art. 42 le da las facultades al INPA como Ente rector de todas las actividades relacionadas con la pesca. Por lo tanto, el INPA dicta las disposiciones relacionadas con la actividad y establece los procedimientos legales para la recopilación de la información de tipo estadístico. De igual manera, el Título VII del Capítulo 2 trata el tema de las estadísticas pesqueras, reglamentando el SEPEC.
A su vez, el Decreto Reglamentario, en el Título IV, ordena todas las disposiciones relativas al desarrollo de la acuicultura en el país. Por otra parte, el Título XII, Art. 150, reza: «Las personas naturales o jurídicas vinculadas a la actividad pesquera así como a las diferentes formas asociativas de pescadores artesanales, están obligadas a proporcionar periódicamente al INPA las informaciones básicas de sus actividades, con el fin de permitir de forma efectiva, controlar y evaluar sistemáticamente el desarrollo de la pesca y de la acuicultura en el país.» De esta manera, se hace claridad que es el INPA, el único Ente con autorización para el manejo de la información pesquera, incluyendo la acuicultura.
Con respecto a la estructura de los datos requeridos para alimentar el módulo APS (Aquaculture Planning Simulator), cabe señalar lo siguiente:
Con relación a “IDENTIFICACIÓN DEL PROYECTO”, actualmente el SEPEC toma sólo información relacionada con las fechas de comienzo de la producción, nombre del municipio y superficie de la granja.
Con relación a “CARACTERÍSTICAS DEL CENTRO DE PRODUCCIÓN Y PRODUCCIÓN ESPERADA”, se toma sólo información relativa al tipo de producto, al tipo de especie y al mercado destino.
Con relación a “PARÁMETROS DE INFRAESTRUCTURA DEL PROYECTO”, se considera que, bajo las actuales circunstancias logísticas, es bastante difícil tomar toda la información requerida; en la actualidad se dispone sólo de datos sobre la superficie final de las granjas.
Con relación a “PARÁMETROS TÉCNICOS DEL PROYECTO”, se dispone de información relativa al tipo de alimento y su conversión alimentaria, mortalidad y densidad de siembra; para recopilar el resto de la información requerida, que es de interés para la actividad nacional, es necesario disponer de personal y recursos adecuados.
Con relación a “PARÁMETROS ECONÓMICOS DEL PROYECTO”, no se dispone de información y se estima que mucha de ésta es difícil de recopilar, ya que las empresas suelen considerar estos datos confidenciales.
En el caso de Colombia, se estima que el nivel de confiabilidad de la información alcanzable varía dependiendo de su naturaleza. Así, por ejemplo, los datos relacionados con la identificación del proyecto son confiables, los datos técnicos presentan un 70% de confiabilidad, mientras que datos económicos reales son los más dificiles de obtener.
Como ya se mencionó, el SEPEC debe recopilar información mensualmente, aunque la regularidad de esta periodicidad se ve afectada por factores externos como dispersión geográfica, nivel de desarrollo de la granja y eficiencia de los correos.
Los recursos actualmente disponibles se consideran insuficientes para cometer el proceso de información estadística originado por la actividad pesquera y acuícola del país.
El sistema informático del sector acuícola comprende las siguientes categorías de datos:
Las instituciones involucradas en estas categorías de datos son:
La captura, el procesamiento y la distribución de la información se realiza en los complejos acuícolas y los complejos de camaronicultura. En el caso de los complejos acuícolas, éstos remiten su información a la Empresa Nacional de Acuicultura.
Toda la producción extractiva y de alevines se realiza por las instituciones mencionadas, contándose con toda la información de los indicadores definidos en los sistemas informáticos vigentes.
En todas estas instituciones se registran los datos en el momento de la ocurrencia del hecho.
En los complejos acuícolas esta información se actualiza cada cinco días y en los de camaronicultura en forma diaria.
Se emiten diversos informes por ciclos, especies y territorios con periodicidad diaria, cada cinco días, cada diez días, mensual y acumulado del año, según los casos.
Los usuarios primarios de la información son las instituciones antes mencionadas y los finales son el Ministerio de la Industria Pesquera - MIP (economistas, planificadores, especialistas pesqueros, inversionistas y personal de dirección) y los centros de investigación.
Los usuarios primarios utilizan la información con las periodicidades antes descritas y los finales mayormente con frecuencia mensual, siendo en ambos casos los boletines la modalidad de consulta más utilizada.
El MIP operará el SIPAL como punto focal nacional de esta categoría.
Las entidades responsables de esta categoría son:
Las empresas arriba mencionadas captan y procesan la información. Los indicadores definidos para esta categoría, de igual forma que en la anterior, refleja la totalidad de la información sobre la comercialización de los productos acuícolas del país.
El documento de facturación constituye el elemento primario del sistema informático, cuyo procesamiento conlleva la emisión de reportes con periodicidad de diez días y mensual.
Las exportaciones se analizan por países, tipo de producto y tamaños y la distribución interna por productos y destinos.
Los usuarios primarios son las propias empresas comerciales y el usuario final el MIP.
Ambos usuarios utilizan esta información con periodicidad de diez días y mensual, principalmente mediante boletines.
También en este caso el MIP operará el SIPAL como punto focal nacional.
La captura y procesamiento de la información se efectúa en el Centro de Investigaciones Pesqueras (CIP).
El nivel de disponibilidad de estos datos corresponde a la detección de las enfermedades. Las dificultades presentadas en los procesos productivos generan investigaciones a partir de las cuales se precisa la ocurrencia de la enfermedad.
Mediante un sistema informático se registran las enfermedades por vectores, lugar geográfico de la ocurrencia, especies afectadas y tratamiento.
Los usuarios primarios son los investigadores del CIP y los finales los complejos acuícolas y camaroneros.
La utilización de esta información es según necesidad y la modalidad de consulta es por pantalla, para los investigadores, y mediante informes escritos para los usuarios finales.
El CIP operará el SIPAL como punto focal nacional de esta categoría.
Las entidades involucradas en la información bibliográfica son:
Se realiza la captura, el procesamiento y la distribución de la información por estas dos entidades.
Se dispone de la información bibliográfica internacional que llega al país y la que se genera nacionalmente por los Centros de Documentación Científico-Técnica de las entidades pesqueras. La información se agrupa por temáticas, autores, países, años, etc…
Son usuarios todos los investigadores, técnicos y personal dirigente relacionados con la actividad acuícola, accediéndose a la información solicitada principalmente mediante pantalla.
La Dirección de Ciencia y Técnica del MIP es el punto focal nacional para el SIPAL.
Las categorías de datos de Producción Extractiva, Producción de Alevines y Comercialización están reguladas por resoluciones del Comité Estatal de Estadísticas y del MIP, que son de obligatorio cumplimiento para todas las entidades que componen el sector acuícola.
Entre estas disposiciones legales, juegan un papel preponderante las que establecen el Sistema de Información Estadística Nacional (SIEN) y el Sistema de Información Estadística Complementaria (SIEC) para la industria pesquera.
Fundamentalmente en estas disposiciones se establece:
También existen disposiciones que regulan las vías de envío, por ejemplo mediante tele-transmisión, soportes magnéticos y otras.
En base a las posibilidades que brindó el Proyecto FAO-AQUILA II con el desarrollo del SIPAL y dada la importancia que para Cuba tiene la actividad acuícola, se comenzó a elaborar un módulo nacional que diera respuesta a la demanda de información y a su vez incluyera la interfase con el Módulo Regional del SIPAL.
Por otro lado, teniendo en cuenta los distintos niveles de automatización alcanzados por los diferentes países de la Región, el módulo nacional fue acometido con un enfoque standard que lo hiciera transferible a aquellos que así lo requirieran.
De esta forma, y teniendo en cuenta las prioridades de Cuba, se concluyeron los módulos de Estadísticas de Producción, Sanidad acuícola y Bibliográfico, encontrándose en proceso de conclusión el de Estadísticas de Exportación y el de Legislación. En la elaboración de estos módulos no ha podido incluirse la interfase con el SIPAL Regional por carecer de los elementos de diseños necesarios.
Teniendo en cuenta el grado de avance del SIPAL nacional standard de Cuba se proponen las siguientes acciones:
transferirlo a los países que así lo demanden;
precisar los elementos necesarios para dotarlo de la interfase al Módulo Regional, que posibilite en el futuro, cuando las circunstancias lo permitan, implementar este Módulo;
suministrar a los países, para su utilización, los Módulos FAO, Ampliado y Analítico.
En el caso de Cuba, están dadas las condiciones para que el SIPAL pueda explotarse adecuadamente en forma permanente ya que dispone de:
un sistema informático consecuentemente estructurado basado en un sistema de registro uniforme para todas las entidades que componen la infraestructura del sector acuícola, garantizándose así la confiabilidad de los datos;
una disciplina estadística, un mecanismo y diversas vías de comunicación que permiten la captación eficiente de los datos;
un personal técnico (estadísticos, economistas, analistas-programadores, etc…) de alta calificación.
Cuba está en disposición de prestar asistencia técnica a los países del área que así lo demanden para:
la valoración de sus condiciones concretas (organización del sector acuícola, sistema informático y personal), y
a partir de ellas, adecuar los módulos del SIPAL nacional standard, para una adecuada explotación en el país dado.
Junto con este informe, se entregaron los codificadores utilizados en el SIPAL nacional standard confeccionado en Cuba que son:
También se entregó el Manual de Usuario de los módulos del SIPAL nacional standard.
En Chile no existe un sistema informático propiamente dicho que integre la información relativa a todas las actividades asociadas al sector pesquero, donde se inserta la acuicultura, aún cuando varios organismos oficiales recopilan la información que es procesada y publicada a través de documentos con diversos grados de periodicidad.
La administración y el manejo del sector pesquero chileno se encuentran centralizados en el Ministerio de Economía, Fomento y Reconstrucción (Minecom).
En dicho Ministerio se insertan la Subsecretaría de Pesca (Subpesca) y el Servicio Nacional de Pesca (Sernap).
Subpesca es el organismo normativo superior pesquero, con facultades para proponer a Minecom la política pesquera nacional, pronunciarse a través de resoluciones sobre las solicitudes de permiso para la instalación, aplicación o traslado de industrias pesqueras y de establecimientos de cultivos, orientar la actividad industrial, promover y coordinar la investigación pesquera y difundir información sobre el sector pesquero nacional.
En su estructura organizacional se encuentra el Departamento de Acuicultura, instancia encargada de la normativa de esta actividad.
Subpesca recopila información relativa a la actividad de acuicultura (producción, personal y su calificación, disponibilidad de infraestructura, etc…) a través de encuestas anuales a los productores. Esta información es procesada en el Departamento respectivo y utilizada para complementar los indicadores que tipifican la actividad nacional, publicados en documentos de amplia distribución.
Por su parte, el Sernap tiene por misión ejecutar la política pesquera nacional y fiscalizar su cumplimiento y está facultado para llevar los registros oficiales de las actividades relacionadas al sector pesquero.
En este contexto, cualquier actividad extractiva, de cultivo y de transformación de productos pesqueros, debe estar registrada en Sernap, el cual informa de su situación a Subpesca.
Los principales registros que Sernap establece, son los siguientes:
Así mismo, Sernap lleva las estadísticas de desembarque extractivo, producción de cultivo y transformación a nivel nacional e importaciones de material biológico vivo (ovas, larvas, alevines, reproductores, etc…) de los diferentes insumos empleados en la acuicultura.
El Sernap realiza directamente la captura de la información gracias a la facultad otorgada por ley de requerir y obtener información de los productores y operadores del sector. Para ello, el Sernap dispone de oficinas regionales, provinciales y comunales establecidas a lo largo de todo el país.
De igual modo, realiza el procesamiento de los datos disponiendo actualmente de un sistema automatizado. Toda la información se centraliza en el Departamento de Sistemas de Información y Estadísticas Pesqueras, con sede en Valparaíso que prepara y publica el Anuario Pesquero Chileno, documento oficial de las estadísticas del sector.
En el ámbito de otras fuentes para las estadísticas, se encuentra el Servicio Nacional de Aduanas, el cual dispone de la información relativa a las exportaciones e importaciones de productos pesqueros que es manejada por computadora y con acceso para cualquier usuario a un costo proporcional al volumen requerido.
Otro organismo que recopila y publica estadísticas del sector es el Instituto de Fomento Pesquero (IFOP), especialmente aquella información relativa a aspectos económicos, desembarques, captura y esfuerzo de la flota industrial, producción industrial de harina de pescado, precios de playa y legislación. Dicha información es capturada por los propios sistemas del IFOP, mientras que la de exportación se obtiene del Servicio Nacional de Aduanas. El IFOP dispone, además, de capacidad computacional y de programas específicos para el procesamiento, análisis y publicación de las estadísticas en su Departamento de Informática establecido en la sede central de Santiago.
La publicación de estas estadísticas se realiza a través del Sistema de Información Pesquera, que emite boletines mensuales a nivel general y específicos para salmónidos y algas. El acceso a esta información es a través de suscripción pagada.
Otra publicación realizada por IFOP corresponde al Directorio Pesquero Chileno, que compila toda la información relativa a los agentes públicos y privados asociados a la actividad pesquera nacional, incluida la acuicultura.
Para lo que concierne la investigación científica desarrollada en el país, la capacitación de profesionales investigadores y la inversión, opera la Comisión Nacional de Investigación Científica y Tecnológica (Conicyt), organismo asesor de la Presidencia de la República, que recopila y publica estadísticas sobre niveles de inversión en investigación, dotación nacional de científicos, programas y proyectos de investigación, publicaciones científicas nacionales, calendario de eventos nacionales e internacionales, programas de intercambio científico internacional, programas de becas nacionales e internacionales y mantiene un sistema de registro de publicaciones existentes en el país (libros, revistas especializadas y bibliotecas receptoras).
La información es publicada mensualmente a través del boletín Panorama Científico, y en publicaciones específicas anuales, siendo todas de amplia circulación y, en general, de distribución gratuita.
Con relación a catálogos de proveedores del sector, se encuentra el Catálogo de la Industria Pesquera de Chile, editado anualmente por la Escuela de Ciencias del Mar, Facultad de Recursos Naturales de la Universidad Católica de Valparaíso, cuya distribución es gratuita. Específicamente en acuicultura, se ha iniciado una publicación anual denominada Compendio Acuícola en Chile que contiene información sobre el sector, manuales técnicos, nómina de productores, nómina de proveedores de insumos, equipos y servicios, directorio de ejecutivos, glosario de términos de uso habitual y guía de compras. El Compendio, editado en forma bilingüe (español e inglés) por una empresa privada, se distribuye por venta directa.
Otras publicaciones que incluyen información sobre el sector corresponden a dos revistas especializadas: Chile Pesquero, editada por una organización privada y Aquanoticias Internacional, especializada en acuicultura y editada por Fundación Chile. La distribución de ambas es por suscripción anual.
Por otra parte, la información relativa a mercado interno, p. ej. volúmenes y precios, puede ser parcialmente obtenida de publicaciones periódicas del Terminal Pesquero de Santiago.
Finalmente, se encuentra el Instituto Nacional de Estadísticas, cuya función es preparar las estadísticas nacionales, utilizando las diversas fuentes primarias existentes en el país y desarrollando sus propios sistemas para la captura y procesamiento de aquella información en esas no disponible. Esta información es publicada anualmente en el Compendio Estadístico y en publicaciones específicas sobre los aspectos sociales, demográficos, económicos y otros, cuya distribución es a través de venta directa.
El nivel de disponibilidad de datos, así como su agregación y frecuencia es variable según sea la instancia primaria. Todas las fuentes que a continuación se señalan disponen de bases de datos propias o adquiridas, manejadas según sus propios programas de proceso y análisis. Por tanto, todas son disponibles en medio magnético.
Los datos base oficiales sobre el sector acuícola son recopilados mensualmente por Sernap, a través de una encuesta a los productores. La disponibilidad de ellos es restringida, por tratarse de información confidencial. Estos datos consisten en:
Importación de material biológico: por especie, cantidad, estado, mes, origen y destino (publicados ocasionalmente).
Centros de cultivo: por empresa autorizada, especies, año, región, provincia y comuna (publicados ocasionalmente).
Indicadores de la actividad: año, número de empresas, número de centros por especies, tipo de cultivo, etapa de cultivo, región, provincia y comuna; personal en número por categoría y especialización, integración vertical (etapa de cultivo, disponibilidad de planta de procesamiento, laboratorio, planta de producción de alimentos), capacidad instalada (por rubro y etapa de cultivo o procesamiento), inversiones por rubro (p. ej.: salmones, agua dulce, fase marina, ostiones, plantas de procesamiento, plantas de alimentos, etc…).
Producción: es posible acceder a la información según la agregación presentada en el Anuario Estadístico de Pesca.
La frecuencia de actualización de los datos base es a nivel mensual.
Con relación a información de exportación e importación disponible en el Servicio Nacional de Aduanas, el nivel de agregación es bajo, pudiéndose obtener nombre de exportador o importador, recurso y tipo de presentación, glosa, volumen, valor unitario, valor total, origen, destino y puerto embarque o desembarque.
La frecuencia de actualización de los datos base mensual y su acceso tiene un costo proporcional a la cantidad de información requerida.
La información relativa a la comercialización en el mercado interno es recopilada con cierto nivel de confiabilidad en un punto focal, el Terminal Pesquero de Santiago; sin embargo, el grado de agregación no permite establecer su origen (cultivo o extracción) y por tanto los datos de especie, valor de comercialización y volumen se manejan a nivel global.
Estatales: diversas agencias estatales requieren información del sector para sus propios análisis y planificación, como, p. ej.:
Congreso Nacional, en particular algunas comisiones de la Cámara de Diputados y del Senado.
Gobierno, además del Ministerio de Economía, el Consejo Nacional de Pesca, el Consejo de Investigación Pesquera, los consejos zonales y regionales, los Ministerios de Hacienda (presupuestos de la nación e inversión pública, inversión extranjera), de Planificación Nacional (planificación de programas, proyectos de inversión pública), de Defensa Nacional (concesiones de acuicultura), laComisión Nacional del Medio Ambiente (protección del medio ambiente), la Corporación de Fomento de la Producción (programas de apoyo a las empresas, créditos de fomento, proyectos de investigación para el desarrollo), la Oficina de Promoción de Exportaciones, Prochile (promoción de productos chilenos en el extranjero, contacto empresarial externo), el Banco Central de Chile (exportaciones, importaciones, inversión, extranjera) y, en menor grado, el Ministerio de Obras Públicas (inversión en infraestructura vial, portuaria y aeropuertos), el Servicio de Impuestos Internos y las secretarías regionales ministeriales.
Entre las organizaciones autónomas del sector público, se encuentran el Instituto Nacional de Estadísticas, el Servicio de Cooperación Técnica, la Comisión de Investigación Científica y Tecnología, así como universidades e institutos profesionales.
Privados: asociaciones de productores de salmón y trucha (una a nivel nacional y una a nivel provincial), asociación de cultivadores de ostión y ostras, asociación de mitilicultores, asociaciones de industriales pesqueros, institutos privados de investigación, empresas de cultivo, universidades privadas, proveedores de insumos y materias primas, representantes de equipos, etc…
La temporalidad de uso de la información es diferente en cada caso, así por ejemplo se tiene:
Organismos gubernamentales: estadísticas básicas anuales.
Organismos privados: estadísticas e información mensual.
Asociación de productores, empresas: estadísticas vitales en forma permanente (por lo menos semanal).
Si bien en el país existe un desarrollo importante de los sistemas computacionales, tanto en el sector público como privado, en una primera instancia es preferible el suministro de información vía documentos escritos, que pueden ser accedidos rápidamente por los varios estamentos de las organizaciones, complementados con boletines de una periodicidad no superior a la semana, especialmente para el sector privado productor.
En el mediano plazo, será posible establecer un medio de comunicación mediante soportes magnéticos, o sistemas de acceso electrónico a los bancos de datos, directamente por el usuario.
Con relación a los costos involucrados, como referencia se proporcionan los valores de suscripción (incluidos los impuestos respectivos) de algunas publicaciones periódicas sobre estadísticas pesqueras:
| Anuario Estadístico de Pesca | gratuito |
| Compendio Acuícola de Chile | US$4 |
| Sistema de Información Pesquera (IFOP) | US$1,280 (anual) |
| Boletín Estadístico (IFOP) | US$770 (anual) |
Con relación a la disponibilidad de financiamiento parcial o total de un sistema como SIPAL, se estima de poco interés por parte de los usuarios, siendo la modalidad más utilizada el pagar por el servicio que se otorgue (en general, el usuario desea conocer previamente el producto antes de adquirirlo).
Cabe señalar, que las publicaciones mencionadas anteriormente son financiadas por el presupuesto de la nación, en el caso del Anuario Estadístico de Pesca editado por Sernap, o a través de la suscripción, en el caso del Sistema de Información Pesquera de IFOP o venta directa, en el caso del Compendio Acuícola.
Un eventual financiamiento del SIPAL puede provenir de la o las entidades que constituyan puntos focales del sistema, aún cuando se recomienda considerar que el producto a obtener deberá tener un costo para el usuario (suscripción periódica, venta de publicaciones específicas, ventas de servicios especiales, etc…). De esta forma, será posible también mantener un mercado cautivo base para sustentar el sistema en forma permanente.
La legislación vigente faculta a Subpesca y Sernap para requerir al productor de toda la información relacionada con la actividad de acuicultura desarrollada y obliga al productor proporcionar dicha información, parte de la cual es manejada en términos confidenciales.
Los siguientes elementos son prioritarios, en orden jerarquizado:
Módulo Nacional:
Módulo FAO.
Módulo Analítico:
• APS.
Los datos disponibles en exportaciones e importaciones son accesibles previo pago de un proceso primario a la fuente que los dispone (Servicio Nacional de Aduanas), mientras que los datos de producción (Sernap) pueden ser obtenidos directamente de anuarios estadísticos.
La frecuencia de captura disponible es a nivel de mes para exportación e importación, mientras que, en producción, dicha frecuencia es anual.
La confiabilidad de los datos es buena, dado que la fuente primaria tiene sistemas efectivos para su captura.
Con respecto a recursos financieros y equipamiento disponibles, existen equipos básicos en los puntos focales probables (IFOP, Sernap y Subpesca) que no están conectados en red, mientras que, en general, no existen recursos financieros específicos para el desarrollo y mantenimiento del sistema. Paquetes informáticos comerciales, así como personal capacitado, existen en los tres probables puntos focales.