The three most common raft culture methods used for Laminaria grow-out in China are: (i) vertical or hanging kelp rope raft culture, (ii) horizontal kelp rope raft culture, and (iii) one-dragon kelp rope raft culture. This chapter gives detailed descriptions of these three basic methods. The chapter also describes a “mixed” method combining vertical with horizontal kelp rope culture, and introduces several other variations of the basic raft culture methods.
In hanging kelp rope raft culture, kelp culture ropes are suspended vertically from a floating raft rope (Fig. 5.1). The floating raft rope, which is between 30–70 m long depending on conditions at the raft site, is anchored with wooden stakes and is buoyed with glass, plastic or bamboo floats. Culture ropes are spaced at 50–100 cm intervals, depending on cultivation intensity and grow-out stage, and are tied to the raft ropes with hanging connecting ropes. Each kelp culture rope is weighted with a .5 kg stone so that it sways in the water with a pendulum-like motion.

Fig. 5.1. Vertical or hanging kelp rope raft culture method.
1: floating raft rope 2: float 3: anchor rope 4: wooden anchor stake 5: hanging connecting rope 6: kelp culture rope with young sporophytes attached 7: stone weight tied to the kelp culture rope
Advantages of the Hanging Kelp Rope Raft Culture Method
This raft culture method makes good use of water space. It is a simple, easily managed procedure. Where possible floating raft ropes should be installed at right angles to the currents so that hanging kelp ropes sway freely in the currents, enabling plants to receive good illumination. If raft ropes are installed parallel and not at right angles to the currents, then kelp culture ropes have a tendancy to intertwine and twist around the raft ropes, resulting in loss of production. Care must be taken to avoid this problem.
Spacing between kelp ropes allows currents to pass through them, thus stimulating sporophyte growth. Because plants hang downwards on the kelp ropes they shade each other from exposure to sunlight. Thus plants near the top ends of culture ropes suffer from excessive illumination which may result in twisted blade disease (described in Chapter X). Some occurrence of this disease is virtually impossible to prevent, though it can be minimized by reversing kelp ropes.
Disadvantages of the Hanging Kelp Rope Raft Culture Method
Because kelp culture ropes hang vertically downwards from the raft ropes, illumination decreases with water depth. Plants at the lower ends of kelp ropes may not get enough illumination to meet their growth requirements. This is especially the case when plants grow to a length of 2 m or more. Plants attached to the lower ends of kelp ropes, shaded by plants higher on the ropes, may exhibit stunted growth, decreased fresh weight output and fading or discolouration.
Tables 5.1 and 5.2 show growth measurements for plants attached at different depths on hanging cuture ropes. The data illustrate the problem of differential growth rates, with plants attached at upper levels of kelp ropes having a faster growth rate and producing between 24.8% and 61.6% higher dry weight yield per plant at harvest.
If care is not taken the hanging kelp rope culture method tends to result in too great a density of kelp plants on kelp culture ropes, too many kelp culture ropes on floating raft ropes and too small a distance between floating raft ropes. Consequently yield may be lowered because current flow, nutrient levels and light intensity are reduced.
Reversing Kelp Ropes to Obtain Uniform Growth
The problem of uneven growth rates for plants attached at different levels of the kelp culture ropes can be managed by reversing the kelp ropes periodically, especially when lower plants are observed to be stunted or faded. During grow-out kelp culture ropes may be reversed several times, as required. Though reversing kelp culture ropes doesn't completely remedy the problem of uneven illumination at different levels, it does allow plants to take turns in being exposed to sunlight. However reversals cause trauma, because plants experience sudden changes in light exposure and because some degree of physical damage may be done to kelp fronds in the process. As well, kelp rope reversing operations are labour intensive, adding to production costs.
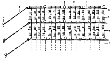
The horizontal kelp rope raft culture method was developed by seafarmers in Shandong Province. Usually between 10–40 floating raft ropes are anchored in parallel series, spaced 3–5 m apart, to form a block of rafts. Pairs of kelp culture ropes are then suspended horizontally between adjacent parallel raft lines. They are held in horizontal position by tying together their lower ends with a connecting rope or with a bamboo rod shackle (Fig. 5.2b). Additional hanging connecting ropes (Fig. 5.2: a–8) may be attached to the main floating raft lines for use in integrated seafarming or polyculture (see Chapter X)). These are used for suspending mussel culture ropes or net bags containing scallops.
Advantages of the Horizontal Kelp Rope Raft Culture Method
The hanging kelp rope raft culture method can be widely adapted to suit many different environmental conditions. The method may be used in shallow sea areas where turbidity is high, in inshore areas where currents are slow-moving, or in deeper water areas where currents are fast-moving.
In turbid shallow waters, typical of conditions found along coastlines in southern China, horizontally positioned culture ropes give greater and more evenly distributed illumination to all plants attached along culture ropes, compared with the hanging kelp rope raft culture method. In inshore areas with slower currents, use of this culture method allows the currents to spread plants more evenly in the water so that light intensity and nutrient exchange are optimized.
In deeper water regions with stronger currents plants thrive because currents spread the plants downcurrent, thereby enhancing gaseous and nutrient exchange. Daylight is refracted and scattered by the moving water, giving even illumination to all plants. Thus plants grow faster and output is much higher with development of longer and thicker blades. Typically, yield from using this method in deeper waters with stronger currents can reach 2.5–3.0 tons/mu. Moreover, because of strong and surging tidal currents it is difficult for competing seaweeds, fouling organisms and mud to attach to Laminaria fronds. Thus blades are kept clean and free of debris, ensuring that photosynthesis is unimpaired.

Fig. 5.2. Horizontal kelp rope raft culture method.
a: six metre section of the horizontal kelp rope raft facility showing three parallel floating raft lines and twelve pairs of horizontally suspended kelp culture ropes
b: connecting loops with bamboo rod shackle used to join pairs of kelp culture ropes together
1: floating raft rope 2: float 3: anchor rope 4: wooden anchor stake 5: connecting rope 6: horizontal kelp culture rope 7: stone weight 8: hanging connecting rope 9: rope ring 10: wood or bamboo rod shackle
Alterations in raft design can be made to suit specific conditions at the raft site. In stronger currents floating raft lines may be shortened to between 30–40 m and anchored more securely. The chief advantage of the horizontal raft culture method is that it allows very flexible adjustments of the various connecting ropes (Fig. 5.2: a–5). Adjustments are made to alter the depth of kelp culture ropes in response to changing factors such as water transparency and turbidity, seasonal differences in light intensity, and stages of kelp growth and development.
Tables 5.3, 5.4 and 5.5 show data comparing hanging and horizontal kelp rope raft culture methods for grow-out of Laminaria. The horizontal kelp rope raft grow-out method is superior, showing higher growth rate per day (Table 5.3), between 43–124 g higher dry weight yield per plant at harvest and lower fresh:dry weight ratios (Table 5.4). Overall output from the horizontal kelp rope raft culture method is on average 23.4% higher compared with the hanging kelp rope raft culture method. Data from a comparison between hanging and horizontal kelp rope methods at Dalian show an increase in fresh weight output of 40% for the latter method (Table 5.5). For these reasons, the horizontal kelp rope raft method has been the preferred method for kelp grow-out since the 1960s in China.
Disadvantages of the Horizontal Kelp Rope Raft Culture Method
When floating raft lines are positioned at cross-currents kelp plants suspended from horizontal ropes have a tendancy to twist, intertwine and bunch together. This usually happens during stormy weather when current forces are stronger. After storms plants must be disentangled and rearranged on the kelp ropes, a task that is both time-consuming and labour intensive.
The spreading of plants on horizontal culture ropes suspended at cross-currents is beneficial throughout most of the grow-out period. But immediately following transplantation the newly attached holdfasts, which are photophobic, may become dislodged before they have firmly attached to the culture ropes, causing young sporophyte plants to fall off. This is especially the case in regions of northern China with high water transparency, where holdfast loosening may result in more than 50% of plants falling off horizontal kelp culture ropes.
In addition to the problem of over-illumination of holdfasts, there is also the problem of under-illumination of frontal blades. The latter problem occurs in areas with weak currents where kelp fronds may droop and hang downwards from the horizontal kelp ropes instead of being lifted and spread in the water. This may result in excessive shading and inadequate water circulation, frequently resulting in a high incidence of greenrot disease.
As already noted, the horizontal kelp rope raft method is not suitable along the northern coasts of China where the seawater is more transparent to sunlight, even though output from using that method is usually higher than for the hanging kelp rope raft culture method. The problem of over-illumination may be overcome, however, by using the mixed vertical / horizontal culture method described below.
The mixed grow-out method combines vertical (hanging) and horizontal kelp rope raft culture methods. Kelp culture ropes are first suspended vertically and are then lifted into horizontal position. Pilot experimental studies of the mixed method were first undertaken by the Shandong Mariculture Research Institute in 1960–1963. Results of these studies (Tables 5.6 and 5.7) confirm that the mixed method is superior to the hanging kelp rope method alone. Table 5.6 shows a higher growth rate for the mixed method compared with the hanging kelp rope method. Table 5.7 shows an average 20% increase in harvested Laminaria product compared with using the hanging kelp rope raft culture method. The mixed method has now been widely adopted by Laminaria seafarming enterprises in China.
Floating raft lines are positioned in raft blocks with parallel floating lines spaced 3–5 m apart. Since newly transplanted sporophytes are very light-sensitive, culture ropes with newly transplanted sporophytes attached are at first suspended vertically from the floating raft lines, as in the hanging kelp rope raft culture method. The water depth of culture ropes is adjusted to decrease light intensity, providing shading which prevents loosening of photophobic holdfasts and falling-off of the young sporophytes.

Fig. 5.3. Mixed vertical / horizontal kelp rope raft culture method.
1: floating raft rope 2: float 3: anchor rope 4: wooden anchor stake 5: connecting rope joining pair of culture ropes 6: connecting rope between raft rope and kelp culture rope 7: horizontal kelp culture rope 8: stone weight
Advantages of the Vertical / Horizontal Kelp Rope Raft Culture Method
Higher productivity is obtained from the mixed method of kelp rope raft culture because illumination can be adjusted and improved during middle and late grow-out stages. Whereas in hanging kelp rope raft culture alone, shading of plants at lower levels on culture ropes becomes an increasing problem as blades grow in size. With the mixed vertical/horizontal kelp rope method, plants receive on average 26.17% higher illumination compared with plants cultured using the hanging kelp rope raft method. Plants also receive more uniform exposure to sunlight and therefore reversals of kelp ropes are not required.
The mixed method combines advantages of both the hanging and the horizontal grow-out methods, being a sort of “hybrid” of the two. Hanging kelp rope culture, used initially, gives lower levels of illumination to young sporophytes immediately following transplantation. Most plants attached to the hanging kelp ropes are shaded except for a few plants near the top. The weaker illumination is beneficial to the photophobic holdfasts and therefore fewer sporophytes are dislodged from the kelp ropes compared with using the horizontal kelp rope raft culture method. Because of the shading, the frontal blade or lamina, i.e. the flat and straight part of the plant, forms earlier and grows faster.
When Laminaria blades reach a length of about 2 m illumination is decreased by plant shading. Plants tend to stunt and fade because of the lowered light intensity. By changing culture ropes into the horizontal position this problem is overcome. Other adjustments to culture ropes can be made to raise kelp ropes to shallower water depths, thereby further improving illumination. Even with these adjustments, however, in the absence of good current flow the drooping of plants may remain somewhat of a problem.
Generally speaking the mixed vertical/horizontal kelp rope raft culture method overcomes disadvantages encountered when using either the vertical or the horizontal kelp rope raft culture methods alone. All plants receive well-balanced daylight and differences in growth and in weight are reduced.
Furthermore, the vertical/horizontal grow-out method is less labour intensive than the hanging kelp rope raft method because it doesn't require periodic reversals of the kelp ropes. Adjustments of connecting ropes usually need to be done only once a month. Thus labour costs are much reduced.
This raft culture method is well-suited for either turbid inshore waters with low transparency or more exposed deep water areas with strong current flows.
The one-dragon raft consists of a floating raft rope 50–60 m in length, anchored at both ends, with a series of connecting ropes at regular intervals spaced about 1.5 m apart suspending a long length of kelp culture ropes joined together with connecting ropes. The result — a long undulating kelp culture rope suspended beneath the floating raft rope - looks like a dragon as the name implies (Fig. 5.4).

Fig. 5.4. One-dragon kelp rope raft culture method.
1: floating raft rope 2: float 3: anchor rope 4: wooden anchor stake 5: hanging connecting rope 6: stone weight 7: kelp culture rope
The one-dragon culture method is mostly used in southern China. In seedling-rearing stations in southern China culture mats are made with shorter 10 m long culture ropes wrapped around a wooden frame. When the culture mats are dismantled the kelp rope may either be sectioned into shorter 2 m long kelp culture ropes or left intact. The cut 2 m long or uncut 10 m long sections are then joined together with connecting ropes to form the long undulating kelp culture rope that is suspended beneath the floating raft rope.
Shorter cut 2 m kelp culture ropes are used when one-dragon rafts are positioned in turbid seawater with low transparency, conditions typical of inshore seawater regions in southern China. Using sectioned kelp ropes joined with connecting ropes helps improve water circulation, nutrition and illumination of kelp plants during grow-out. These beneficial effects result from decreased planting density, since the number of connecting ropes without attached plants is increased. (I.e. the proportion of the total length of joined culture ropes having plants attached is decreased. Interval space occupied by barren connecting ropes is increased.) About 40 cut 2 m long sections of kelp culture rope may be joined together with connecting ropes to form a continuous length of kelp culture rope that can be suspended beneath a 60 m long floating raft rope.
Longer uncut 10 m kelp culture ropes are used when one-dragon rafts are positioned in deeper and more exposed seawater regions where currents are stronger and light intensity is higher. Planting density is thus increased because fewer connecting ropes occupy intervals between the culture ropes. In this case, about 8–10 uncut 10 m long kelp culture ropes may be joined together with connecting ropes to form a continuous length of culture rope that can be suspended beneath a 60 m long floating raft rope.
The one-dragon floating raft grow-out method is well-suited for turbid waters where water transparency is low and hence where it is not good to use more intensive raft culture methods, such as the method of positioning parallel horizontal kelp rope rafts in raft blocks. When using the one-dragon kelp rope raft culture method, rafts should be positioned parallel to tidal currents, i.e. downcurrent, so that the long undulating kelp rope is oriented in the direction of prevailing current flows.
Advantages of the One-Dragon Kelp Rope Raft Culture Method
In deeper waters the one-dragon raft method is a simple, relatively safe and easily managed procedure. Each raft is independently anchored, therefore damage is avoided or lessened when one-dragon rafts are exposed to strong currents and waves during winter storms.
Each one-dragon raft supports only a single horizontal kelp culture rope. The total length of kelp culture rope relative to the length of floating raft rope is only two-fifths of the total length of kelp culture rope supported by the horizontal kelp rope raft. The result is a higher rate of growth per plant with a lower fresh:dry weight ratio for the one-dragon method compared with the horizontal kelp culture rope method (Table 5.8).
With less length of culture rope per length of floating raft rope, the one-dragon culture raft has lighter plant loads and greater buoyancy. Hence there is less resistance to wind, wave and current forces and less likelihood of damage being done to raft facilities during heavy swells or winter storms.
Because all plants hang from one horizontal line of interconnected kelp culture ropes suspended at the same water depth, they receive uniform illumination and thus their daily rate of growth is higher and more even. Table 5.6 shows data comparing growth characteristics of plants for this method and for the horizontal kelp rope raft culture method. Table 5.6 indicates that a more uniform growth rate occurs in different parts of kelp plants when the one-dragon culture method is employed.
In 1975, studies of output obtained from different grow-out methods were done in Rongcheng County, Shandong Province. Results showed that yield from the one-dragon culture method is 30% higher than from either the horizontal kelp rope or the vertical/horizontal kelp rope raft culture methods.
Disadvantages of the One-Dragon Kelp Rope Raft Method
This method occupies greater plantation space with lowered cultivation intensity, i.e. it uses a lower number of kelp ropes per seafarming area. In order to raise production output equivalent to output using the horizontal kelp rope method, four times more plantation area is required.
High cost of raft facilities is a second major drawback of this method.
Weighing the advantages and the disadvantages of using the one-dragon kelp rope culture method, some combination of raft facilities that will reduce costs but take advantage of the high quality of output from the one-dragon raft method is most appropriate. The one-dragon raft culture method is best used in more exposed areas where there are strong tidal currents, or in nearshore areas where turbidity is so high that even horizontal kelp rope raft culture is unsuitable.
In planning management of raft methods for a plantation area, one-dragon culture rafts may be located in two regions: (a) in exposed outer areas and (b) in very nearshore areas. Positioned in outer regions they resist strong wave and tidal action and create a breakwater effect. (Horizontal kelp rope rafts can be located in the shelter of this effect.) Positioned in nearshore areas, one-dragon rafts provide plants with high levels of illumination where water transparency is unusually low due to high turbidity.
The main disadvantage of one-dragon rafts is that they are costly facilities relative to the plant cultivation density they sustain. But this disadvantage may be outweighed by their great flexibility for growing high quality plants in seawater areas (very exposed or very turbid) where other raft methods cannot be used.
Other Raft Culture Methods Used in China
The four methods of raft culture described in sections 1–4 are the main methods currently used for growing Laminaria in China. Methods described in the remaining sections of this chapter are either variations of the four basic methods adapted to special seafarming circumstances or are no longer used but are included for historical interest.
Two floating raft ropes about 30 m long are spaced about 6 m apart. They are buoyed with a parallel series of 6 m long bamboo poles spaced about 1.5 m apart. Three continuous kelp culture ropes about 3 m apart are suspended horizontally from the bamboo pole floats (Fig. 5.5). This was the original horizontal kelp rope raft culture method developed in southern China. It is no longer in use because of the fragility of materials which are unsuited to modern large scale production methods.

Fig. 5.5. Horizontal kelp rope raft culture using bamboo pole floats.
1: floating raft rope 2: floating bamboo pole 3: anchor rope 4: wooden anchor stake 5: connecting rope 6: kelp culture rope 7: stone weight
This method of grow-out culture is used mainly in Fujian and Zhejiang Provinces. It is essentially the same as the usual horizontal kelp rope raft culture method, with some differences in method of installation and operation (Fig. 5.6).
As many as 10 or 20 floating raft ropes spaced 3–5 m apart may be anchored in parallel to form a block of rafts. Glass ball or plastic floats are tied at intervals of about 5 m along the 7 floating raft ropes. To gain additional floatation, 2.7 m long bamboo poles are attached between the floats. Kelp culture ropes are suspended from connecting ropes at 50–100 cm intervals along the floating raft ropes. The bottom ends of pairs of hanging kelp culture ropes are joined with connecting ropes to raise the kelp culture ropes horizontally between the floating raft ropes. Again, the method is rarely used today except in parts of southern China.

Fig. 5.6. Horizontal kelp rope raft culture using auxiliary bamboo pole floats.
1: floating raft rope 2: bamboo pole 3: glass ball float 4: anchor rope 5: wooden anchor stake 6: horizontal connecting rope 7: horizontal kelp culture rope 8: connecting rope joining a pair of horizontal culture ropes
This grow-out method was created in Fujian Province and is especially suited for sea regions where water transparency fluctuates widely, since the water level of the submerged raft can easily be raised or lowered in response to changes in turbidity and levels of illumination.
Two raft ropes are used, one floating, the other submerged (Fig. 5.7). The floating raft rope is buoyed, as usual, with glass floats. The submerged raft rope, buoyed with smaller glass floats, is suspended 1.0–1.5 m below the floating raft rope. Hanging kelp culture ropes are attached along the submerged raft rope. The method is now rarely used in China.

Fig. 5.7. Double floating/submerged raft unit with hanging kelp culture ropes.
1: floating raft rope 2: water surface 3: connecting rope 4: submerged raft rope 5: hanging kelp culture rope 6: anchor rope 7: wooden anchor stake

Fig. 5.8. Horizontal kelp rope raft culture using double floating/submerged raft ropes.
Sideview of double floating/submerged rafts showing fourteen metre long section of double rafts with 11–13 pairs of horizontal kelp culture ropes suspended between the submerged rafts.
1: floating raft rope 2: bamboo pole float 3: anchor rope 4: wooden anchor stake 5: hanging connecting rope 6: submerged raft rope 7: horizontal kelp culture rope
This method is a variation of the double raft method, again for use in southern China where water transparency fluctuates. The usual floating raft rope is buoyed with glass balls or with bamboo poles. Hanging connecting ropes hold in place the submerged raft rope (Fig. 5.8). A sufficient number of connecting ropes must be used to hold the submerged raft rope steady and parallel to the surface floating raft rope. Many double floating/submerged rope raft units may be anchored parallel to one another, spaced 3–5 m apart. Kelp culture ropes are strung horizontally between parallel submerged raft ropes.
The depth of the submerged raft ropes can be adjusted by shortening or lengthening the hanging connecting ropes. The depth of many kelp culture ropes can be altered at once by changing the depth of the submerged raft ropes rather than by changing the depth of each kelp culture rope individually. Since the number of connecting ropes is usually fewer than the number of kelp culture ropes, this method of adjustment is labour-saving.
This method, used in nearshore shallow waters, is yet another variation of the horizontal kelp rope raft culture method. Instead of the usual floating raft rope, however, the raft is formed by glass floats positioned separately at 5–6 m intervals. Each glass float is attached to a hanging connecting rope which, in turn, is attached to an anchor rope tied to a large stone weight. A chain of kelp culture ropes, each about 5– 6 m in length, is strung horizontally between hanging connecting ropes (Fig. 5.10).
As water transparency changes, the depth of the kelp ropes can be altered by shortening or lengthening the distance between anchored connecting ropes. Or depth of culture ropes can be changed by altering the lengths of connecting ropes and anchor ropes.

Fig. 5.10. Horizontal kelp rope culture without a floating raft rope.
1: glass or plastic ball float 2: hanging connecting rope 3: main anchor rope 4: main anchor stone 5: kelp culture rope 6: anchor rope 7: anchor stone