Oleh
Sri Istini, A.Zatnika dan Suhaimi1)
Rumput laut merupakan salah satu sumber devisa negara dan sumber pendapatan bagi masyarakat pesisir. Selain dapat digunakan langsung sebagai bahan makanan, beberapa hasil olahan rumput laut seperti agar-agar, carrageenan dan alginat merupakan senyawa yang cukup penting dalam industri. Indonesia di samping mengekspor rumput laut juga mengimpor hasil-hasil olahannya yang dari tahun ke tahun semakin meningkat jumlahnya. Sampai saat ini industri pengolahan di Indonesia yaitu agar-agar masih secara tradisional dan semi industri, sedangkan untuk carrageenan dan alganit belum diolah di dalam negeri.
Guna meningkatkan nilai tambah dari rumput laut dan mengurangi impor akan hasil-hasil olahannya, pengolahan di dalam negeri perlu dikembangkan. Disini diuraikan beberapa proses pengolahan rumput laut serta manfaat dari hasil-hasil olahannya.
1. PENDAHULUAN
Rumput laut merupakan salah satu hasil perikanan laut yang dapat menghasilkan devisa
negara dan merupakan sumber pendapatan masyarakat pesisir. Sampai saat ini sebagian besar
rumput laut diekspor dalam keadaan kering dan baru sebagian diolah menjadi agar-agar di
samping dimakan sebagai sayuran.
Jenis-jenis rumput laut yang sudah diolah diantaranya Gracilaria sp., Gelidium sp. menjadi agar-agar
yang dilakukan oleh negara-negara Jepang, Amerika, New Zealand, Australia maupun
Indonesia. Namun di Indonesia pengolahan agar-agar masih pada tahap semi tradisional,
yaitu dalam bentuk lembaran, batang dan bubuk. Selain itu terdapat perusahaan agar-agar
yang hanya melakukan pengepakan saja. Produksi agar-agar di Indonesia hanya untuk memenuhi
kebutuhan dalam negeri yang digunakan sebagai makanan.
Sampai saat ini Indonesia masih mengimpor agar-agar dari negara lain. Gambaran impor agar-agar pada tujuh tahun terakhir dapat dilihat pada tabel berikut ini :
| Tahun | Volume (Kg) | Nilai (US) |
| 1970 | 95.518 | 556.763 |
| 1979 | 25.872 | 144.670 |
| 1980 | 159.349 | 848.019 |
| 1981 | 43.372 | 300.710 |
| 1982 | 261.947 | 542.957 |
| 1983 | 330.111 | 526.957 |
Sumber : Biro Pusat Statistik.
1) Staf Deputi Pengkajian Ilmu Dasar dan Terapan, BPP Teknologi Jakarta.
Untuk mengurangi impor agar-agar dan menaikkan nilai tambah dari rumput laut perlu dikembangkan pabrik pengolahan agar-agar di Indonesia dengan ditunjang oleh produksi rumput laut sebagai bahan baku yang memenuhi kualitas dan kuantitas yang diharapkan.
Selain jenis rumput laut penghasil agar-agar, terdapat juga jenis lain yang cukup potensil dan banyak di perairan Indonesia yaitu Eucheuma sp. yang dapat menghasilkan karaginan dan dapat dimanfaatkan dalam berbagai kegunanaan, dimana karaginan tersebut bersifat hidrocolloid, terdiri dari dua senyawa utama, senyawa pertama bersifat mampu membentuk gel dan senyawa kedua mampu menyebabkan cairan menjadi kental.
Komponen tersebut pada hakekatnya adalah suatu polisacharida yang terdiri dari ketiga kelompok besar : agar-agar, carrageenan dan gelans yang memiliki beberapa sifat yang mirip dengan alginat pada ganggang coklat dan secara kolektif polisacharida dari ganggang tersebut dikenal sebagai phycocolloid.
Polisacharida-polisacharida tersebut terdiri dari unit-unit Galaktose dan membentuk ikatan Glucosidec secara berselang dengan α1–3 dan β 1–4. Kandungan ester sulfat dapat digunakan sebagai parameter untuk membedakan berbagai jenis polisacharida dari ganggang merah. Menurut Food Chemical Codex (1974) yang disebut carrageenan minimal harus mengandung sulfat 18% dari berat kering, sedangkan agar-agar hanya mengandung sulfat 3–4%.
Seperti halnya agar-agar dan carrageenan yang dapat dihasilkan dari ganggang merah (Rhodophyceae), alginat yang dapat dihasilkan dari ganggang coklat jenis Sargassum banyak pula digunakan. Sampai saat ini jumlah rumput laut jenis ini sangat sedikit di Indonesia, sedangkan kebutuhan alginat cukup besar yang dapat dilihat pada data impor (Tabel 2).
| Tahun | Volume (Kg) | Nilai (US $) |
| 1981 | 4.639.508 | 5.114.598 |
| 1982 | 2.938.303 | 4.764.968 |
| 1983 | 3.717.901 | 4.848.997 |
| 1984 | 3.652.365 | 5.473.142 |
| 1985* | 849.491 | 1.885.703 |
Sumber : Biro Pusat Statistik
*) Sampai bulan April 1985.
Dari data tersebut di atas dapat dilihat bahwa dari tahun 1981 s/d 1984 kebutuhan alginat di dalam negeri cukup besar, yaitu antara 2.900 ton s/d 3.700 ton dengan nilai yang semakin meningkat. Untuk mencapai kebutuhan bahan baku alginat perlu dikembangkan usaha budidaya rumput laut jenis Sargassum.
Pada prinsipnya proses pengolahan senyawa-senyawa di atas seperti agar-agar, karaginan dan alginat adalah sama, yaitu dengan mengekstrak senyawa-senyawa tersebut dari rumput laut. Proses-proses pengolahan dalam makalah ini berdasarkan study literatur dan sebagian dengan study lapangan pada pengolahan secara tradisionil dan semi tradisionil.
2. MANFAAT RUMPUT LAUT
2.1. Jenis-jenis rumput laut komersil
Rumput laut dibagi dalam empat kelas yaitu : Chlorophyceae (ganggang hijau), Rhodophyceae (ganggang merah), Cyanophyceae (ganggang biru), Phaeophyceae (ganggang coklat).
Dari keempat kelas tersebut hanya dua kelas yang banyak digunakan sebagai bahan mentah industri, yaitu :
2.2. Kegunaan rumput laut dan hasil olahannya
Rumput laut telah lama digunakan sebagai makanan maupun obat-obatan di negeri Jepang, Cina, Eropa maupun Amerika. Diantaranya sebagai nori, kombu, puding atau dalam bentuk hidangan lainnya seperti sop, saus dan dalam bentuk mentah sebagai sayuran. Adapun pemanfaatan rumput laut sebagai makanan karena mempunyai gizi yang cukup tinggi yang sebagian besar terletak pada karbohidrat di samping lemak dan protein yang terdapat di dalamnya. Hasil analisa dari sebagian jenis rumput laut yang berasal dari daerah Sulawesi Selatan dan Bali dapat dilihat pada tabel 3.
| Jenis analisa | E. spinosum (Bali)% | E. spinosum (Sul Sel)% | E. spinosum (Bali)% | G. gigas (Bali)% |
| Kadar air | 12,90 | 11,80 | 13,90 | 12,90 |
| Protein (Crude protein) | 5,12 | 9,20 | 2,69 | 7,30 |
| Lemak | 0,13 | 0,16 | 0,37 | 0,09 |
| Karbohidrat | 13,38 | 10,64 | 5,70 | 4,94 |
| Serat kasar | 1,39 | 1,73 | 0,95 | 2,50 |
| Abu | 14,21 | 4,79 | 17,09 | 12,54 |
| Mineral:Ca | 52,85 ppm | 69,25 ppm | 22,39 ppm | 29,925 ppm |
| Fe | 0,108 ppm | 0,326 ppm | 0,121 ppm | 0,701 ppm |
| Cu | 0,768 ppm | 1,869 ppm | 2,736 ppm | 3,581 ppm |
| Pb | = | 0,015 ppm | 0,040 ppm | 0,190 ppm |
| Vitamin B1 (Thiamin) | 0,21 mg/100g | 0,10 mg/100g | 0,14 mg/100g | 0,019 mg/100g |
| Vitamin B2 (Riboflacin) | 2,26 mg/100g | 8,45 mg/100g | 2,7 mg/100g | 4,00 mg/100g |
| Vitamin C | 43 mg/100g | 41 mg/100g | 12 mg/100g | 12 mg/100g |
| Carrageenan | 65,75% | 67,51% | 61,52% | = |
| Agar | = | = | = | 47,34% |
Sumber : hasil analisa di FTDC
Di samping digunakan sebagai makanan, rumput laut juga dapat digunakan sebagai penghasil alginat, agar-agar, carrageenan, fulceran, pupuk, makanan ternak dan Yodium. Beberapa hasil olahan rumput laut yang bernilai ekonomis yaitu :
Karaginan, biasanya diproduksi dalam bentuk garam Na, K, Ca yang dibedakan dua macam yaitu Kappa karaginan dan lota karaginan berasal dari Eucheuma cottonii dan Eucheuma striatum. Iota kagarinan berasal dari Eucheuma spinosum. Kedua jenis karaginan tersebut dapat berfungsi sebagai stabilizer, thickener, emulsifer, gelling agent, pengental.
Pemakaian karaginan diperkirakan 80% digunakan di bidang industri makanan, farmasi dan kosmetik. Pada industri makanan sebagai stabilizer, thickener, gelling agent, additive atau komponen tambahan dalam pembuatan coklat, milk, pudding, instant milk, makanan kaleng dan bakery.
Untuk industri non food antara lain pada industri :
3. PENGOLAHAN AGAR.
Agar-agar merupakan senyawa ester asam sulfat dari senyawa galaktan, tidak larut dalam air dingin, tetapi larut dalam air panas dengan membentuk gel. Rumus bangun agar-agar :

Rumus molekul : (C12H14O5(OH)4)n
Beberapa sifat dari agar-agar :
Sebelum dilakukan proses pengolahan, untuk mendapatkan bahan baku yang bersih perlu dilakukan hal-hal sebagai berikut : Rumput laut hasil pemetikan dari alam dibersihkan dari kotoran-kotoran yang menempel seperti pasir, karang, garam dan kotoran lainnya. Setelah bersih dicuci dengan iar tawar sampai berwarna putih kemudian dikeringkan. Pencucian dan pengeringan dilakukan beberapa kali sampai diperoleh rumput laut kering yang bersih dan putih. Pengeringan dilakukan dengan penjemuran sinar matahari. Hasil pengeringan rumput laut mempunyai kandungan air berkisar 15–25%.
3.1. Pengolahan secara tradisionil di Pameungpeuk Garut
Pada pengolahan secara tradisionil/sederhana diperlukan peralatan yang cukup sederharna yaitu :
Rumput laut yang akan diolah adalah jenis Gracilaria sp (agar merah) dan Hypnea sp (bulu kambing). Rumput laut yang sudah kering dan bersih (3Kg), sebelum dimasak dalam drum yang berisi air 150 1 ditambahkan asam sulfat encer 2 sendok dan asam cuka 2 sendok, diaduk sampai merata, selanjutnya dimasak. Dalam satu hari dapat dilakukan dua kali pemasakan (2×4 jam). Pemasakan dilakukan sampai mendidih dan rumput laut hancur serta larut menjadi suatu masa yang berbentuk bubur encer, kemudian dilakukan pemisahan antara larutan dan residu. Hasil pemisahan (larutan) dituangkan pada loyang kemudian didinginkan selama satu malam sampai membeku.
Agar yang sudah membeku dipotong dengan ketebalan 1 cm dan diletakkan diantara kain yang berukuran sama dengan cetakan/loyang, kemudian disusun dalam alat pengepres sampai ketinggian kira-kira 0,5 m dan dipres dengan cara memberi beban (batu) di atas tumpukan agar-agar. Hasil pengepresan berupa lembaran agar-agar tipis, kemudian dianginkan dan dijemur 1 sampai 2 hari hingga kering. Dalam 3 kg rumput laut kering dapat menghasilkan 780 gram agar-agar atau 78 lembar agar-agar dengan berat pelembar 10 gram.
Untuk menghasilkan agar-agar dalam bentuk batangan pada prinsipnya hampir sama dengan pengolahan agar-agar dalam bentuk lembaran, tapi tidak dilakukan pengepresan, hanya penyaringan biasa dan dicetak dengan ukuran 10×4×3 cm. Hasil cetakan didinginkan dan dibekukan semalam, kemudian dikeringkan dengan penjemuran di bawah sinar matahari.
3.2. Pengolahan secara semi tradisionil
Pada pengolahan secara semi tradisionil, rumput laut diolah menjadi agar-agar berbentuk bubuk ataupun bentuk lain yaitu agar batangan dan agar lembaran.
Adapun peralatan yang diperlukan yaitu :Proses pengolahan :
Rumput laut yang telah melewati proses pembersihan awal dicuci lagi supaya lebih bersih. Pencucian dilakukan dalam drum-drum berisi air yang mengalir secara over flow atau pencucian dengan mengalirkan air tawar ke dalam drum berlubang arah horizontal yang berisi rumput laut. Drum berputar mengikuti porosnya.
Setelah dicuci bersih direndam dalam kaporit 0,25% selama 4–6 jam sambil diaduk, sehingga diperoleh rumput laut berwarna putih dan bersih. Setelah direndam dicuci kembali untuk menghilangkan bau kaporit, kamudian direndam dalam asam sulfat encer 10% sampai lunak.
Rumput laut hasil rendaman dengan asam sulfat dimasak dengan menambahkan air dalam suatu tangki pemasak. Pemanasan dilakukan sampai suhu operasi 90–100°C, pH = 5–6 (dalam suasana asam), dimana pH diatur dengan jalan menambahkan asam cuka 0,5%. Di samping untuk mempertahankan pH, asam cuka juga berfungsi sebagai stabilizer sehingga diperoleh tekstur molekul yang konsisten. Pemasakan dilakukan selama 4–8 jam sambil diaduk sampai merata.
Setelah rumput laut hancur semua, dilakukan pemisahan melalui penyaringan dengan filter press. Filtrat ditampung, kemudian didinginkan selama lebih kurang 7 jam (sampai membeku).
Hasil pembekuan dihancurkan dan dipress dengan menggunakan kain. Hasil pengepresan adalah agar-agar dalam bentuk lembaran dengan ukuran sekitar 40× 30 cm.
Lembaran agar-agar diangin-anginkan kemudian dijemur di bawah sinar matahari sampai kering. Lembaran agar-agar yang sudah kering dihancurkan dangan mesin penghancur sehingga berbentuk agar-agar dengan ukuran 5×5 mm. Agar-agar hancur dimasukkan ke mesin pembuat bubuk (mill) sehingga diperoleh agar-agar powder yang berwarna putih. Dapat ditambahkan vanili untuk menambah aroma.

Gambar 1. Skema pembuatan agar-agar.
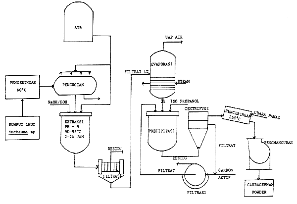
4. PENGELOLAAN KARAGINAN
Karaginan sampai saat ini belum diolah di Indonesia walaupun bahan baku yang dapat digunakan untuk membuat karaginan banyak terdapat di Indonesia antara lain Eucheuma spinosum. Karaginan adalah suatu campuran yang kompleks dari beberapa polisacharida. Lambda dan Kappa karaginan secara bersama-sama dapat diekstrak dari rumput laut jenis Chondrus crispus dan beberapa species dari Gigartina, sedangkan lota karaginan diekstrak dari Eucheuma spinsosum.
Rumus bangun dari karaginan :

Beberapa sifat dari karaginan antara lain :
Dalam air dingin seluruh garam dari Lambda karaginan larut sedangkan Kappa dan lota karaginan hanya garam Natriumnya saja yang larut.
Lambda karaginan larut dalam air panas, Kappa dan lota karaginan larut pada temperatur 70°C ke atas.
Kappa, Lambda dan lota karaginan larut dalam susu panas, dalam susu dingin Kappa dan lota tidak larut, sedangkan Lambda karaginan membentuk dispersi.
Kappa karaginan membentuk gel dengan ion Kalium, lota karaginan dengan ion Calsium dan Lambda karaginan tidak membentuk gel.
Semua type karaginan stabil pada pH netral dan alkali, pada pH asam akan terhidrolisa.
Pengolahan pasca panen :
Pengolahan pasca panen atau pengolahan awal dilakukan untuk pembersihan/ menghilangkan pasir, garam dan kotoran - kotoran lain yang melekat dengan cara mencuci dengan air tawar (pencucian dilakukan dua sampai tiga kali). Hasil pencucian dikeringkan hingga diperoleh rumput laut yang bersih dengan kandungan air 10 – 25 %. Pengeringan dapat dilakukan dengan sinar matahari atau menggunakan alat pengering. Hasil pengeringan dapat langsung diproses atau dapat juga digunakan untuk kebutuhan ekspor rumput laut kering.
Alat-alat yang diperlukan :
Bahan-bahan yang diperlukan :
Proses pengolahan karaginan :
Bahan baku pembuatan karaginan adalah rumput laut Eucheuma sp. yang telah mengalami pengolahan awal (pencucian dan pengeringan). Rumput laut dalam bentuk kering merupakan stock untuk kebutuhan ekspor atau keperluan pengolahan dengan kadar air berkisar antara 15 – 25%.
Rumput laut yang sudah bersih dan kering sebelum diolah perlu dilakukan pencucian lagi. Pencucian dengan air tawar dapat dilakukan dengan drum berputar yang berlubang dan kedalamnya disemprotkan air sehingga kotoran-kotoran akan lepas.
Rumput laut yang telah mengalami pencucian tadi dibuat alkalis dengan menambahkan suatu basa berupa larutan NaOH, Ca(OH)2 atau KOH, sehingga pH mencapai sekitar 9 – 9,6.
Setelah dibuat alkalis dilakukan ekstraksi dengan air dalam suatu tangki dengan perbandingan di mana jumlah air 20 kali berat rumput laut yang akan diekstraksi. Ekstraksi dilakukan selama 2 – 24 jam pada suhu 90 – 95°C. Supaya sempurna ekstraksi dilakukan selama satu hari (24 jam).
Dari hasil ekstraksi dipisahkan antara larutan (ekstrak) dan residu (kotoran-kotoran yang terdiri dari rumput laut yang tidak larut).
Pemisahan dilakukan dengan penyaringan yang menggunakan filter aid. Filtrat yang keluar berupa larutan yang mengandung 1% karaginan, dan residunya di buang.
Larutan yang mengandung 1% karaginan dipekatkan menjadi 3% dengan jalan menguapkan airnya dalam suatu Evaporator pada suhu 100°C dan tekanan 1 atmospher.
Larutan hasil pemekatan ditambah dengan larutan centrifuge, larutan direcovery dan kedalamnya ditambahkan carbon aktif untuk menghilangkan warna dai larutan. Larutan dan carbon aktif dipisahkan dengan filtrasi. Larutan hasil filtrasi digunakan kembali untuk proses pembentukan endapan karaginan.
Serat karaginan yang terbentuk sebagai endapan kemudian dikeringkan dalam suatu drum dryer pada suhu 250°C.
Serat karaginan yang sudah kering dihancurkan dengan alat penghancur (mill) sehingga
diperoleh karaginan powder.
Karaginan powder ini siap untuk dikemas dalam drum plastik atau dalam kantong-kantong
polyethylene.

Gambar 2. Skema pembuatan carrageenan.
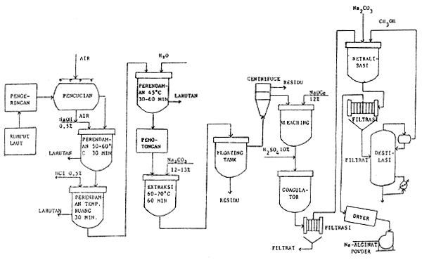
5. PENGOLAHAN ALGINAT
Alginat diekstrak dari rumput laut coklat (Phaeophyceae), misalnya Laminaria dan Sargassum. Asam alginat adalah suatu polisacharida yang terdiri dari D-mannuronic acid dan L-guluronic acid yang merupakan asam-asam karbosiklik (R-COOH) dengan perbandingan mannuronic acid/guluronic acid antara 0,3–2,35.

Alginat biasanya digunakan dalam bentuk garam misalnya garam Sodium, Calsium, Potasium dan Amonium dan juga dalam bentuk ester seperti Propylene glycol alginat. Sodium alginat komersil mempunyai berat molekul antara 32.000–200.000 dengan derajat polimer 180 – 930. Asam alginat dan garam Calciumnya sangat sedikit larut dalam air, sedangkan garam Sodium, Potasium dan Amonium serta Propylene esternya larut dalam air panas dan air dingin.
Proses pengolahan :
Sebelum diolah rumput laut dibersihkan dari kotoran-kotoran seperti pasir dan pecahan-pecahan batu karang. Pencucian dilakukan dengan menyemprotkan air. Supaya bisa disimpan agak lama, rumput laut perlu dikeringkan. Pengeringan dapat menggunakan sinar matahari atau alat-alat pengering misalnya drum dryer, kemudian disimpan dalam gudang. Bila kontinuitasnya terjamin, rumput laut dapat langsung diolah tanpa dikeringkan dahulu.
Rumput laut kering dari gudang penyimpanan sebelum diolah lebih lanjut dicuci kembali dangan air untuk menghilangkan kotoran-kotoran yang mungkin terikut selama penyim-panan dan transportasi.
Untuk menghilangkan kotoran-kotoran yang larut dalam alkali, rumput laut direndam dalam larutan 0,5% NaOH pada 50–60°C selama 30 menit.
Kemudian direndam dalam 0,5% HCL pada temperatur ruang selama 30 menit untuk menghilangkan kotoran-kotoran yang larut dalam asam dan juga untuk merubah garam-garam alginat dalam rumput laut menjadi asam alginat.
Setelah dicuci dengan air panas 45°C selama 30–60 menit, rumput laut dipotong-potong untuk kemudian diekstraksi.
Ekstraksi dilakukan pada 60–70°C selama 60 menit dengan larutan Na2CO3 12–13%. Untuk mempermudah pemisahan larutan alginat dengan residu, biasanya ditambahkan air sebanyak empat kali volumenya.
Larutan alginat dipisahkan dari residu dengan floating tank, kemudian untuk memisahkan kotoran-kotoran yang terikut larutan dimasukkan kedalam pemisah centrifugal.
Larutan dibersihkan dalam Bleaching tank dengan menambahkan larutan 12% NaOH e sebanyak 1/10 volume larutan.
Pembentukan gel asam alginat dilakukan dengan menambahkan larutan 10% H2SO4 sebanyak 1/10 volume larutan alginat dan dimasukkan bersama-sama kedalam tangki coagulasi.
Gel asam alginat dipisahkan dari larutan dengan filtrasi atau pemisah Centrifugal.
Asam alginat dirubah menjadi sodium alginat dengan menambahkan bubuk Na2CO3 dan metyl alkohol.
Sodium alginat kemudian dipisahkan dari larutan dengan filtrasi. Metyl alkohol dalam filtrat dapat diambil kembali dengan distilasi.
Sodium alginat dikeringkan dan dihaluskan menjadi bubuk 80–100 mesh.
6. CATATAN PENUTUP
Indonesia yang cukup potensial akan rumput laut sudah harus memikirkan pengolahannya didalam negeri untuk meningkatkan nilai tambah rumput laut dan mengurangi impor hasil-hasil olahannya, terutama agar-agar dan karaginan yang bahan bakunya selama ini banyak diekspor.
Proses pengolahan, terutama untuk agar-agar dimana pengolahannya secara tradisionil cukup sederhana dan tidak membutuhkan peralatan yang rumit dapat diterapkan pada daerah-daerah yang potensil dan belum ada pabrik pengolahan agar-agar. Hal ini dapat dilakukan oleh para petani sebagai industri rumah tangga untuk meningkatkan pendapatannya.
DAFTAR PUSTAKA
AKIO OKAZAKI, 1971, Seaweeds and their uses in Japan, Tokai University Press, Tokyo. CHAPMAN, V.J. 1970, Seaweeds and their uses, Methuen & Co. LTD, London. DAVIDSON, R.L., 1980 Handbook of Water-Soluble Gums and Resins, Mc. Graw-Hill, Inc, New York.
OTHMER,K., 1969 Encyclopedia of Chemical Technology, Seaweed Colloid, Vol 17 : 763– 784, John Wiley & Sons, Inc, New York.
SUGIARTO, A., dkk, 1978, Rumput Laut (Algae), manfaat, Potensial dan Usaha Budidayanya, LON - LIPI, Jakarta.
WHISTLER, R.L., DAN BE MILLER, J.N., 1973, Industrial Gums, Academic Press, New York.
WINARNO, F.G., 1985, Teknologi Pengolahan Rumput Laut, makalah pada diskusi panel pengembangan industri Pengolahan Rumput Laut di Indonesia, Jakarta.

Gambar 3. Skema pembuatan natrium alginat.