| NACA/WP/84/11 | November 1984 |
![]() |
OVERVIEW OF PENAEID SHRIMP CULTURE IN ASIA* |
by
Pinij Kungvankij
Network of Aquaculture Centres in Asia Regional Lead Centre in the Philippines
Hyperlinks to non-FAO Internet sites do not imply any official endorsement of or responsibility for the opinions, ideas, data or products presented at these locations, or guarantee the validity of the information provided. The sole purpose of links to non-FAO sites is to indicate further information available on related topics.
This electronic document has been scanned using optical character recognition (OCR) software. FAO declines all responsibility for any discrepancies that may exist between the present document and its original printed version.
Pinij Kungvankij
NACA-FAO/UNDP
Marine shrimp farming is a century-old practice in many Asian countries. Until a decade ago, this commodity was still generally considered as secondary crop in traditional fish farming practices. in Thailand, Malaysia, Singapore and India, shrimp fry were accidentally trapped in the salt beds and paddy fields around estuarine areas, whereas in Indonesia and the Philippines, marine shrimps enter milkfish ponds during tidal exchange. Only recently, due to higher income derived from the harvest of marine shrimp than the principal crop, the farmers eventually converted these fields into shrimp farms.
In traditional shrimp farming, sources of wild shrimp fry are either through natural entrance during tidal water exchange or intentionally gathered from the wild and stocked directly in the ponds. Production is dependent on the seasonal abundance of wild fry which fluctuates widely from year to year. In addition, water depth in rearing pond is generally shallow which often leads to extreme fluctuations of water temperature and salinity causing large scale mortality. Predation by carnivorous fishes gaining entrance in the ponds also accounted for considerable loss of shrimps. Production relies almost entirely on natural pond fertility since fertilizers and feeds are not generally used. Consequently, yields are low in the range of 100 – 300 kg/ha/year.
Gradually, over the years, some improvements in the traditional methods of culturing shrimp have evolved. For instance, the stocking density could be increased with the aid of water pump and increasing water depth in the pond which favors shrimp growth since temperature can be maintained and mortality reduced. Production can also be raised by increasing stocking density in pond with the fry collected from the wild. However, supply of seed from the wild is still inconsistent and insufficient that large scale development of the industry cannot be realized.
In 1934, Dr. Fujinaga, the world's acknowledged father of shrimp culture, successfully spawned and partially reared larvae of Penaeus japonicus in Japan. The success in larval rearing and subsequently in the grow-out of shrimp had brought the art to the point that mass culture was possible. In 1963, Mr. Harry Cook of the Galveston Laboratory in Texas, USA, in collaboration with Dr. Fujinaga, successfully spawned and reared the larvae of two American species, P. setiferus and P. aztecus. The technique was later adopted in Taiwan, Philippines, Thailand and Malaysia for local species such as P. monodon, P. merguiensis, P. indicus and P. orientalis.
However, the recent development showed that with proper management, yield in traditional ponds can be increased to 500 – 800 kg/ha/year without supplementary feeding (Cook, 1977). In the meantime, yield equivalent to 5 tons/ha/year have been obtained in Thailand with supplementary feed (Kungvankij, 1976) and 10 tons/ha/ year in Taiwan with artificial feed and aeration (Liao, 1977).
The long gestation period in shrimp farming development is partly due to insufficient technical and financial input to demonstrate its commercial viability. Shrimp farming in commercial scale has been developed into an important food industry through the long years of trial and error by shrimp farmers in some countries such as Japan, Taiwan, Indonesia, Thailand, India, Malaysia and the Philippines. However, it is relatively new in many Asian countries such as China, Pakistan, Bangladesh, Sri Lanka and many countries in the Indo-Pacific region. High market demand and export price, growing opportunities in shrimp farming and generation of employment and foreign exchange earnings have encouraged many countries in the region rich in aquatic resources to place high emphasis in the development of the shrimp culture industry.
The shrimp species cultured in Asian countries belong to the family Penaeidae; genera Penaeus and Metapenaeus. Among the dozen species of these genera, Penaeus monodon, P. japonicus, P. merguiensis, P. indicus, P. orientalis and Metapenaeus ensis are the important ones.
Aquafarming of P. japonicus is well established in Japan and Taiwan. Spawners are readily obtained in large numbers from the wild. It is hardy and can withstand handling. Survival rate for long distance transportation of live adult shrimp is high. However, it cannot tolerate low salinity, high temperature and requires sandy bottom for grow-out ponds as well as high protein (about 60%) feed for best growth. The other temperate species, P. orientalis is cultured in China and Korea. It shows a single pronounced spawning season during spring. Since both shrimps are temperate species, the period of hatchery operation is relatively limited.
Known as tiger or jumbo tiger shrimp, P. monodon is the most common or well known species in Southeast Asian countries. It is the fastest growing of all shrimps tested for culture. In ponds, fry of 3 cm in length have been grown to a size of 75 to 100 g in five months at the stocking density of 5000 per hectare. Forsters (1974) was able to grow them to 25 g in 16 weeks in a tank stocked at 15/m2. Kungvankij (1976) grew them to 42 g in 210 days in earthen pond. Liao (1977) grew them to 35 g in three months in tanks stocked at 15/m2. It is euryhaline and grows well in salinity range of 15–30 ppt. It is hardy and not readily stressed by handling. Presently, the major source of fry for stocking still comes from the wild but the supply is sparse. Although several hatcheries have been established notably in the Philippines, Taiwan and Thailand, fry production is not steady due to the dependence on spawners caught from the wild which is difficult to obtain in sufficient numbers. Spawners, especially the females, are more difficult to mature in captivity than other penaeid species although excellent progress on this is being achieved. Reliable techniques for maturation are also being developed.
Generally, the characteristics of these species are the same. Based on actual field surveys, there are many fish farmers who could not distinguish the two species from each other. However, there are some indications of behavioral differences between these two species. P. indicus prefers sandy substratum and is difficult to harvest by draining the pond, while P. merguiensis found most frequently in ponds with muddy bottoms moves out of the pond readily when water is drained. Gravid females of these species are easily obtained in large quantities from the wild and can mature in captivity. Larval rearing techniques are well developed. However, larvae of these species are found to be weaker than other species and juveniles or adults cannot stand rough handling. Large quantities of fry can be obtained from natural grounds and the growth rate is relatively fast, reaching 12–15 g within the first three months of culture. With the present technology, great difficulty has been encountered after three months of culture without incurring heavy mortality.
The species is very tolerant to low salinity ranging from 5 to 30 ppt and high temperature of 25 to 45°C. Wild fry are abundant, have short growing periods and survival in ponds is usually high. This shrimp usually does not grow to a large size and has a low market price compared to other species. However, the studies on culture of this species is limited. The production usually comes from trapping pond and as by-product species of other shrimp farm.
There are other two neo-tropical species which have been successfully cultivated in America. From experiments within a culture period of 144 days, USA production obtained were 1320–2180 kg/ha/crop and 1722 kg/ha/crop in intensive culture and 747 kg/ha/crop and 776 kg/ha/crop in semi-intensive culture of P. vannamei and P. stylirostris, respectively (Chamberlain, 1980–81). These species show a fairly fast growing rate in ponds particularly in countries like Panama and Ecuador. Many farmers and researchers want to adopt its culture in the region as a substitute for P. indicus or P. merguiensis which normally encounters heavy mortality after culture period of three months. The possibility of transplantation of these animals should be carefully considered as a new environment may not be suitable to allow continuous propagation of such species. Introduction of new pathogenic organisms may also occur, which could affect the endemic species.
Basically, there are two hatchery systems being adopted, the large tank hatchery which was originally developed in Japan and is still a popular system used in many countries in the region (China, Taiwan, Thailand, Philippines, Indonesia, etc.) and the small tank hatchery that originated from Galveston, Texas, USA which has been applied in the Philippines and to some extent in Malaysia and Thailand.
The big tank hatchery system was established in Japan by Kittaka in 1964. This was based on the idea of utilizing the naturally occuring diatom in the rearing water as food for the larvae. To ensure the growth of diatom, water in the larval rearing tanks were enriched with fertilizer daily. The tanks used are concrete rectangular or square in shape with a capacity ranging from 40 tons to 2000 tons, located outdoor or indoor. The depth of the tanks range from 1.5 to 2 meters. In indoor tanks, transparent roofing is provided to allow sunlight penetration. In this system, spawning larval rearing and nursery operation are done in the same tank. Technical grade fertilizers are applied directly into the tanks after removal of spawners and hatching of eggs. This operation minimizes the manpower and technical input such as the provision for an algal culture room and algal specialist.
This system was developed in the National Marine Fisheries in Galveston, Texas, USA in late 1960. It utilized separate algal or diatom cultures for controlled feeding of larvae. Due to inconsistent supply of spawners however, the design of the hatchery is much smaller in size than the Japanese system. Spawning tanks are separated from larval rearing tanks, both are usually made of plastic or fiberglass. The sizes of larval rearing tanks range from 1000–2000 liters and the spawning tanks from 100–250 liters. The stocking density per tank is high (200–300 nauplii/liter) so that larvae can only be reared up to P1-P5. Thus, an earthen pond or concrete nursery tank is necessary to raise the larvae to juvenile size before stocking in grow-out ponds.
Both hatchery systems mentioned above have their advantages and disadvantages (see Appendix 1) in terms of the environmental requirements, availability of spawners of the desired species, etc. In Japan and China, for instance, where the commonly cultured species are P. japonicus and P. orientalis, respectively, there are no problems on the availability of spawners and water supply. The size of a hatchery tank can be as big as 200 m3 in capacity. On the other hand, in some Southeast Asian countries, the supply of P. monodon spawners is limited. In addition, the farmers prefer bigger sized larvae for stocking in grow-out ponds. Therefore, the designed hatchery for this species has been developed with the combined advantages of both systems to meet the requirements of the farmers and maximize the utilization of the tank (Kungvankij, 1981). This system makes use of spawning tanks with capacity of 100–200 liters and larval rearing tanks with capacity of 1000 to 3000 liters and nursery tanks with capacity of 30 to 100 tons which are capable of rearing the larvae up to P30 (Fig. 1).
Spawners are collected by professional fishermen from the coastal waters. Although spawning occurs throughout the year, there are distinct periods of the year when majority of the shrimps spawned. In the case of P. monodon in Southeast Asia waters, there are two pronounced spawning seasons from December to March and June to September. For P. merguiensis and P. indicus, it is from June to September whereas with P. japonicus, it is from April to August.
In Japan, hatchery operators can easily procure spawners from fish markets because these are sold live which are preferred by consumers over dead ones. In contrast with some Southeast Asian countries, hatchery operators must deal directly with fishermen to secure live spawners. In most cases, the hatchery operators provide the fishermen with necessary facilities such as aerators, tanks, etc. and teach them handling techniques to ensure getting quality live spawners.
Once the spawners arrive in the hatchery, these are kept in holding tanks then placed in the larval rearing tank in the afternoon just before sunset. The volume of rearing water for spawners in the spawning tank varies from species to species, e.g. P. japonicus, 1 spawner per 2 cubic meters of water: P. monodon, about 1 per 5 cubic meters P. indicus or P. merguiensis, I per 1 cubic meter are normally practiced. An initial water level of 100 cm (half of the depth) is generally maintained. Spawning usually occurs the night upon transfer from the holding to the larval rearing tank. The spawners are then removed in the early morning of the following day. Often, the number of eggs or nauplii is few, and then the spawners may be maintained in the tank for one more night. Soon after hatchout, application of 3 ppm KNO3 and 0.3 ppm of Na2HPO4 is made to fertilizers the rearing water. The amount of fertilizers applied thereafter depends on the density of plankton present in the rearing water. Shrimp larvae begin to feed on plankton when they reach the protozoea stage. During this stage, about 10 – 20 cm of fresh filtered sea water is added daily depending upon the density of plankton. If the density of plankton is not enough to feed the larvae, soybean cake, egg yolk, or fertilized eggs of oyster are usually given as supplementary feed. During the mysis stages, feeding with rotifer (Brachionus plicatilis) or brine shrimp nauplii (Artemia salina) is employed. In the early post larval stage, brine shrimp is usually given as feed. Once the post larvae reach the sixth day (P6), these are fed with minced mussel, clam meat or formulated larval feeds with corresponding decrease in ration quantity of brine shrimp nauplii until it reaches PL9. Beyond this stage, the larvae are fed solely minced mussel, clam meat or artificial diets 3 – 4 times daily.
To ensure sufficient amount of algae in the rearing tank, an improvement of this system makes use of pure culture of diatom before application of fertilizer.
In this system, the algae are cultured separately and fed to the larvae at a pre-determined quantity. Skeletonema costatum and Tetraselmis are cultured in algal culture rooms generally using 300lit to 1 ton tanks at a density of 3.5–5 × 106 cells/ml or 3.3–4 × 105 cells /m2 (Mock, 1974).
The spawners are placed individually in a series of spawning tanks. Separate spawning enables the eggs to be selected and distributed to larval rearing tanks or discarded as required. It also facilitates the removal of dead spawners, unfertilized eggs after hatchout of nauplii and the transfer of nauplii to larval rearing tanks. In the larval rearing tanks, algal cells are added daily during the protozoea stage while newly hatched artemia are given during the mysis and early post-larval stages.
In this system the spawners are placed individually in spawning tanks. After spawning, it is removed from the tank the following morning. Prior to cleaning, the eggs can be either collected and washed or draining out ⅔ of water in the spawning tank through filter nets and then replenished with new water and allowing the eggs to hatch in the same tank. The number of hatched nauplii is estimated and then transferred to a bigger tank (20–100 tons) if the count after hatching will average more than 0.5 million (20–30 nauplii/liter). In this tank, the larvae are reared until P25. On the other hand, if the number of nauplii is less than the minimum requirement in big tanks, stocking is carried out in the small larval rearing tank at the rate of 100–200 larvae/liter. The larvae are reared either to PL2 or PL6 afterwhich, these are transferred to the big tank and reared to PL25 (Figs. la and b).
Both pure algal culture and direct fertilization of rearing water are used in this system. This is typically practiced in Taiwan, Thailand and the Philippines.
Although shrimp farming has been developed for more than a century in Southeast Asian countries, most of these shrimp farms are still traditional viz, farming method is extensive. Such traditional practice is characterized by low production about 100–300 kg/ha/yr, irregular pond size and shape, relatively low technical and financial input. Due to high market demand, high export price and low acquisition cost of land, these traditional farms are still commercially profitable despite the low production.
Shrimp yield in pond can be increased by applying modern farming techniques such as intensification of culture operation through regularization of pond size, increasing stocking density, employment of aeration, application of formulated feed, etc. This will mean a considerable increase in financial and high technology inputs which most small farmers in the developing countries may not be able to afford.
This type of farming system is characterized by irregular shapes and sizes of the pond which range from 3–20 hectares. Usually, each pond has a peripheral ditch of 10–20 m wide and 30–60 cm deep. In Thailand, the middle portion of the pond is slightly elevated to about 40 cm thick (Fig. 2), while in the Philippines, the pond bottom is entirely flat.
Extensive farming has been considered the simplest culture approach. Seedstock normally comes from the wild and supply is seasonally dependent. Shrimp fry found in these farms either accidentally gain entrance during water exchange or are intentionally stocked by the farmer with fry collected from the wild. Extensive farming employs very low stocking densities, usually in the range of about 3000 to 5000 fry per hectare. In this grow-out scheme, supplementary feed is not given and water management is by tidal fluctuations. Traditional shrimp farming in Thailand, Indonesia, the Philippines and Malaysia are typical examples.
In Thailand, Indonesia and Malaysia, shrimps occur in ponds by mere opening of the pond gates during the high tide and the natural stocks of shrimp seeds are brought in by the incoming water. The gates are then closed at low tide. Trapped fry are allowed to grow inside the pond for two months before harvesting. In contrast, shrimp farmers in the Philippines do not rely on natural shrimp seed that come in with the water but rather, they stock their ponds (usually in polyculture with milkfish) with fry collected from the wild. The average stocking density range between 2000 to 5000 fry per hectare. In both culture approaches, yield per unit area is very low.
The past decade has been improvement and innovations on the extensive shrimp culture method which appreciably increased production. Among these improved techniques are: application of lime prior to stocking to condition the soil, the use of pesticides to control or eradicate pest, the predators, application of organic or inorganic fertilizers to enhance natural food production increased water depth in the pond and increased stocking density either through daily pumping water or direct stocking (Fig. 2). These innovations generate higher and consistent yields.
Despite many drawbacks in this culture approach, it is still the most profitable enterprise for the subsistent fish farmers with very little capital.
In this farming method, the improvement over the traditional method is the systematic layouting of ponds. The ponds are generally rectangular in shape with size about 1 3 hectare and depth of 0.80 meter to 1.2 meters. Each pond has separate inlet and outlet gates to facilitate water exchange, pond preparation and harvesting. A diagonal ditch, 5–10 meters wide and 30–50 meters deep extending from inlet to outlet is also constructed to facilitate draining of water, collecting of shrimp during harvest (Fig. 3). This also serves as the hiding place for shrimp during daytime. This method involves higher stocking rates, use of supplementary feed, and regular water management scheme. Current practices very from country to country and within each country, the normal practice of stocking “seeds” in semi-intensive system varies from 28,000 to 50,000 fry per hectare. Feeds either formulated or fresh are given daily as supplement feed to the stock in addition to the existing natural food produced through the application of fertilizers. This system also requires the use of a water pump to maintain good water quality.
While this approach would substantially increase yield per cropping, the use of supplemental feeds entails additional cost which generally accounts for the biggest share in operational expenditure. Hence, this deters most subsistent farmers from actually venturing into such level of farming operation.
It should be noted that the Amakusa type or pen culture in Japan can be classified under this level of culture. It is an artificial enclosure constructed along shallow bays and intertidal areas for holding and raising shrimps. A rectangular or square vertical wall made of concrete is constructed to a height of 1 meter for holding water during low tide and a wooden frame with nylon netting set on top of a concrete wall to prevent escape of shrimp and facilitate water exchange during high tide. This culture method takes advantage of the large body of water that is constantly being renewed through tidal fluctuation and by water current (Fig. 4).
The dimensions of the enclosure range from 2000 m2 to 10,000 m2 with depth of 1.0–1.5 meters. Stocking rate is between 20–30 per m2. Average production is about 300–400 gm/m2 or about 3–4 tons/ha/yr.
This culture operation is then most sophisticated requiring very high financial and technical inputs. Rearing facilities are either earthen pond or concrete tanks. The distinct features of this system include the use of hatchery produced seeds, high stocking density, use of formulated diets, application of aeration to increase dissolved oxygen level in ponds and intensive water management.
Sizes of pond or tank vary from 500 m2 – 5000 m2 as found in Japan, Taiwan, Philippines and Thailand. Dikes may be of pure earthen material, earth coated with plastic sheets and concrete. Most designs include separate inlet and outlet gates or small water inlets for flow through purposes. Drain out system is provided in the form of a centrally located drain pipe, a drain gate (sluice or monk type) or a combination of both (Fig. 5).
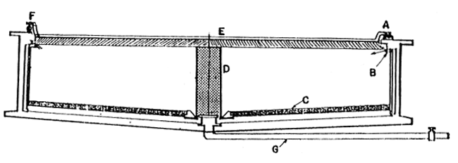
An excellent intensive culture method for Kuruma shrimps called the Shigueno type has been developed in Japan. Culture facilities consist of circular concrete tanks with capacities ranging from 1000 to 2000 and average height of 2 meters. Tank bottom is provided with sand substrates and water circulation is affected by flow through system (Fig. 6). The shrimps are fed daily with high protein formulated diet. Stocking density ranges from 200–250 per m2 and average production ranges from 1.5 to 3 tons per crop in 1000-ton tank and about 10–20 ton/ha/ year in earthen pond with concrete dikes.
Various hatchery and nursery techniques have been developed over the decades which are being adopted by both private and government hatcheries. However, hatchery seed production of the tiger shrimp is still inconsistent and erratic. In the mean time, 80% of shrimp farming in Asia are still operating on traditional method or commonly known as the extensive method which rely on wild fry or fry collected from the trapping pond.
Over 1.5 billion of post larvae of P. japonicus and P. monodon are produced annually in Taiwan and Japan. The farmer in these countries are entirely using hatchery bred post larvae for stocking the pond. In Japan, only 50% of larvae production are used for grow-out pond and the rest are stocked in open water.
In Southeast Asian countries, the Philippines, Indonesia and Thailand are the main producers of P. monodon post larvae. The Philippines is leading in the region in seed production of tiger shrimps at 300 m per annum, while Thailand and Indonesia produce only about 100 m per annum each. However, there is a need for a larger amount of fry to support the growing needs of shrimp farmers especially with the recent development of shrimp farming techniques which upgraded the traditional shrimp farming in the region.
At least 0.13 million metric tons of crustaceans had been produced through aquafarming in 1983 representing only 1.3% (Fig.7) of the total world aquaculture production (10 mmt) (Table 1) compared with production data in 1980. Crustacean production has increased by 77% (Table 2).
Over 61.1% (Fig.8) of total crustacean production through aquaculture are produced in Asia (Table 3). Indonesia caps the world top shrimp production. Six Asian countries, namely: Indonesia, India, Thailand, China (Taiwan), Philippines and Japan contribute at least 60% of the world production of crustacean.
About 123,000 tons of crustaceans were produced from aquafarming in 1983. Shrimps are the main crustaceans cultured. Almost 62% of the total world crustacean production is produced by nine Asian countries. The main species of shrimps that are being cultured in Asia are P. monodon, P. merguiensis, P. indicus in warm water of Southeast Asia, India and Taiwan and P. japonicus, P. orientalis in the temperate climate of Japan, China and Korea.
Earlier investment in shrimp industry were confined to the development of small scale shrimp farms mostly by the fish farmer's personal resources with little or no external financial support. As shrimp farming is considered a lucrative industry, investment by the private sector have increased considerably in recent years as evidenced by the number of new farms established in various levels of operation. In the last few years, many large-scale multi million shrimp farms have been developed especially in China, Thailand, Philippines and Malaysia.
On the other hand, investment from public sector has also increased due to the growing confidence in many countries on shrimp farming as a source of foreign exchange earnings, and as important component for rural development. However, public investments either through government's own input or through external aid focus more on small-scale shrimp culture such as upgrading the traditional shrimp farming practice.
Despite worldwide interest in the shrimp farming industry, large-scale investments in shrimp culture projects are still relatively limited. Investors are hesistant to large-scale shrimp culture ventures mainly because relatively few shrimp culture projects have proven to be a real long-term financial success. Some of the major constraints in enticing private venture in shrimp culture especially in countries where there are no traditional shrimp culture practices are technicians and scientific personnel with hands-on practical experience in shrimp farming and farm management; lack of relevant technical and economic information on pilot farms, and supply and distribution services such as seeds, feeds, fertilizers, etc. The major consideration for private investment is economic viability and the internal rate of return while public venture may place emphasis on socio-benefits instead of profitability alone.
The non-availability of insurance for aquaculture farms may reflect the instability of the industry. High risk and unstable technology have made it extremely difficult to propose bankable project which can be accepted by insurance companies. Although insurance schemes are now available in Japan for some technologically advanced, large-scale fishfarms, it is still not a common practice in most countries in Asia.
The main financial input in aquafarming is the initial capital needed for the procurement and development of the shrimp aquafarming facilities as well as the operatinal costs in feeds, fertilizers and seed which usually amounts to more than 70% of total operational cost.
Successful shrimp culture ventures as dependent on numerous technical, biological and economical factors. Proper choice of culture sites and suitable technical personnel with hands-on practical experience in the shrimp farming practices are perhaps the most important consideration to ensure success apart from management skill and adequate financial inputs. Experience in most developing countries in Asia seems to demonstrate economic feasibility in family level, low capital aquafarms instead of large scale, capital intensive shrimp farms. However, the remarkable success of large-scale shrimp farms in many countries in Asia through sufficient farm management ensures optimum economic production.
Inadequate supply of wild spawners remains as one of the major constraints in the development of the shrimp farming industry notably the tiger shrimp (P. monodon). To ensure consistent supply of the spawners of this species, many hatcheries in Southeast Asian countries have been undertaken to develop the techniques for maturing P. monodon on captivity but so far results are not consistent. Thus, techniques for gonadal maturation of captured and pond reared adult tiger shrimps need to be improved.
Natural food still remains the major feed in shrimp larval rearing operation. One of the key factors ensuring success in shrimp hatchery production is the timely supply of the needed food organisms in sufficient quantity. Majority of the hatcheries usually have algal culture and zooplankton areas to maintain pure stocks of the needed live feeds such as Chaetoceros, Skeletonema, Tetraselmis, Chlorella and Brachionus. The algal stocks can be easily maintained in the standard culture media whereas, a pure rotifer stock must be sustained through culture year-round. However, contamination by undesirable species always occur as well as failure in diatom bloom especially during the rainy months resulting to insufficient food supply for the larvae. Maintenance is not only costly but also requires a specialist for this purpose. On the other hand, big tank hatchery system utilizes natural diatom. The major problem encountered is the overblooming of diatoms some of which are undesirable species such as Nitzchia sp., which can not be easily eaten by the larvae and may normally attach to the appendages of larvae. This makes molting impossible and high mortality occurs particularly in outdoor hatcheries. Failure in diatom may also occur especially during raining season leading to lack of feed in the larval rearing tanks.
However, both private and government sectors have attempted to develop pelleted artificial feed or microencapsulated diet for larval rearing. It will be very advantageous for the shrimp hatchery industry if artificial larval feeds become reliable. However, supplemental live food is still needed.
Usually, shrimps are fed with minced trash fish or mussel as well as fine rice bran. However, not all portions of the given feeds are consumed or that the given feeds may be in excess so that it pollutes the pond water. This leads to lower feed conversion efficiency. For intensive culture, the use of formulated diets is essential especially so that the supply of fresh feeds is limited if not costly. Despite the limited studies on the nutritional requirements of shrimps, several formulated diets have already been developed and commercially produced in some countries. Some of these feeds appear to have better conversion efficiency compared to fresh feeds. However, the prices may be high and supply is insufficient. Since the formulation of these diets are considered trade secrets, the manufacturers generally limit production to increase market demand especially if the diet shows good feed conversion efficiency. Thus, feed cost will then increase. As a result of these conditions, the development of intensive culture of shrimp is hampered.
To offset these problems, more research must be done on the nutritional requirements of shrimp as well as its physiology and biology in order to improve existing formulated diets or develop new ones. Suitable cheap feedstuff must be found and incorporated into the diets. Testing of these diets must be done not only on an experimental scale but also in small commercial scale to ascertain conversion efficiency. Once found to be efficient, production technique must be standardized, packaged and made freely available to any interested small or large scale manufacturing company for commercial production. This will minimize monopoly of feed supply and thus lower cost and increase its availability to shrimp farmers who would pave the way to intensive shrimp farming.
Disease is a serious problem both in hatcheries and rearing ponds. The most serious diseases causing organism at larval stage are Zoothamnium, Fungi (Lagenidium) and bacteria (Vebrio) which may contaminate the intake water, or may result from a collapse of Artemia population in the pond. Lagenidium is found in the cyst form during the cold season in the ovary of wild spawners. When the shrimp spawns, Lagenidium is excysted and develop very quickly. Then they attach to the larvae as early as nauplius stage causing heavy mortalities. Vebrio mostly affects the shrimp during larval stage. Shrimp larvaes show general signs of severe stress that include: increased opaqueness of abdominal muscle, expansion of chromatophores (usually appears reddish in color), and occasionally a dorsal flexure of the third abdominal segment.
It is very difficult and expensive to treat the infected larvae. The only way is to prevent the onset of fungal and bacterial infection. This can be done by separating spawning tank from the rearing tank and using clean or purified rearing tank.
In rearing ponds, black gill disease caused by Fusarium spp. also occur when the bottom of the rearing pond is in bad condition. Body cramps has also been noted in pond reared P. monodon and P. japonicus when these were caught in daytime under the hot sun. High mortalities usually follow. Prevention is always better than cure. Intensive culture using high stocking densities should be avoided until effective treatment for this disease is found.
Although various techniques have been developed, existing techniques in shrimp farming as a result of more than 50 years of research studies have yet to be refined, standardized, packaged and tested in different environmental conditions into an appropriate technology that can be disseminated to the shrimp farmers. The techniques that has been established in one country may not be applicable to other countries. Hence, shrimp farming techniques are not disclosed and will remain untold until such time that aquaculturists/researchers are confident that the research results can be packaged into a standard technology.
Chamberlain, G.W. et al. 1980. Winter culture of Penaeus vannamei in pond receiving thermal effluent at different rate. Proc. World Mar. Soc. 11:30–43.
Chamberlain, G.W. et al. 1980. Mono-and polyculture of Penaeus vannamei and at P. stylirostris in pond. Jour. of World Mar. Soc. Vol. 12 (1) 2251-70.
Cook, H.L. and M.A. Murphy. 1966. Rearing penaeid shrimp from eggs to post larvae. Proc. East Fish Comm. l annu. conf. 283–288.
Cook, H.L, 1967. A method of rearing penaeid larvae for experimental studies. FR: BCSP/67E. 6 pages.
FAO. 1984. Inpress. Aquaculture production 1983. in press.
FAO-UNDP/SCSP. 1978. Manual on pond culture of penaeid shrimp. Asian National Coordinating Agency of the Philippines. Ministry of Foreign Affairs, Manila, Philippines.
Hanson, J.A. and Harold L. Goodwin. 1977. Shrimp and prawn farming in the Western Hemisphere. Dowdey Hutchingson & Ross, Inc.
Hirata, H.Y., Mori and M. Watanabe. 1975. Rearing of prawn larvae Penaeus japonicus - Feed scy-cake particles and diatoms. Men. Biol. 19:9–13.
Hudinaga, M. 1942. Reproduction development and rearing of Penaeus japonicus Bate. Japan Journal of Zoology 10 (2) : 309–395.
Hudinaga, M. and J. Kittaka. 1967. The large scale production of young kuruma prawn Penaeus japonicus Bate. Inf. Bull. Plankton, Japan, December issue.
Kittaka, J. 1975. Food and growth of penaeid shrimp. Proc. of the 1st Inter. Conf. on Aquacult. Nutrition. p. 249–285.
Kubo, I. 1949. Studies on the penaeids of Japan and its adjacent waters. J. Tokyo Univ. Fish., 20 (10) 870–872.
Kungvankij, P., N. Ruangpanit & S. Dangsukal. 1971. An experiment on artificial propagation of Penaeus semisulcatus de Hann. Contribution No. 2, Phuket Marine Fisheries Station.
Kungvankij, P. 1972. Study on seed production of marine shrimp, Report of the First Asian Seminar on Shrimp Culture.
Kungvankij, P. 1973. A survey of the distribution and abundance of economically important shrimp along the Indian Ocean Coast of Thailand. Phuket, Mar. Fish. Sta., Fish Cont. No. 3, 1-9 p.
Kungvankij, P. 1973. Observation of the spawning season of three commercially important species of shrimp from the Indian Ocean Coast of Thailand, estimated from gonad index, Phuket. Mar. Fish Sta., Fish Cont. No. 4, 1–8 p.
Kungvankij, P. 1975. Early developmental stages of jumbo tiger shrimp (Penaeus monodon Fabricius). Phuket Mar. Fish Cont. No. 6. 1–24 p.
Kungvankij, P. 1976. On the monoculture of jumbo tiger shrimp Penaeus monodon Fabricius. Phuket Mar. Fish Cont. No. 7. 14 p.
Kungvankij, P. 1982. The design and operation of shrimp hatcheries in Thailand. SCS/Gen./82/40. 117–120 p.
Kurata, H. 1975. Culture of the Kuruma shrimp. JICA culture of marine organisms. 15–50 p.
Liao, I.C. 1970. Experiment on propagation and culture of prawn in Taiwan. IPFC 3C70/Syn. 243. 1–22 p.
Liao, I.C. 1977. A culture study on Grass Prawn, Penaeus monodon in Taiwan - the patterns, the problems and the prospects. Journal of the Fisheries Society of Taiwan Vol. 5, No. 2. 29 p.
Mao Sheng Lin and Vic J. Mancebo. 1982. Pond culture of P. monodon in the Philippines - survival, growth and yield using commercial formulated feed. Journal of World Mariculture Society, Vol. 14. 75–85 p.
Mock, R.C. and M. A. Murphy. 1971. Techniques for raising penaeid shrimp from egg to post larvae. World Mariculture Society Workshop. 143–156.
Mock, R.C. and R. A. Neal. 1974. Penaeid shrimp hatchery system. CAR PAS/6/74/SB 29. 7p.
Motoh, H. 1981. Studies on the fisheries biology of the gaint tiger prawn Penaeus monodon in the Philippines. SEAFDEC Technical Report No. 7. 127 p.
Pillay, T.V.R. 1983. Aquaculture development in the tropic. Paper submitted to the International Conference on Development and Management of Tropical Living Aquatic Resources, August 2–5 1983. 13 p.
Ruangpanit, N. 1971. A preliminary study on the artificial propagation of Penaeus merguiensis de Man, Songkhla Marine Fisheries Station Report. 31 p.
Salser, B. R. and C. R. Mock. 19--- Equipment used for the culture of larval penaeid shrimp at the National Marine Fisheries Service Galveston Laboratory. Nat. Mar. Fish. Ser. Cont. 397. 15 pp.
Sinderman. 1977. Disease Diagnosis and control on North American marine aquaculture. Elsevier Science Publ. Co. 300 p.
Shigueno, K. 1970. Problem of prawn culture in Japan. OCTA. 33 p.
Shigueno K. 1975. Shrimp culture in Japan. Association for International Technical Promotion, Japan. 150 p.
Vanichkul, P. 1971. A report on Penaeus shrimp rearing experiments. Symposium on Marine Fisheries, M. F. L., Thailand, 15 p.
Wickins, F. 1976. Prawn biology and culture oceanography. Mar. Biol. Ann. Rev. 435–507 p.

FIG. 1A LAYOUT OF MEDIUM SCALE HATCHERY

Fig. 1B Layout of Combined Hatchery System.

Fig. 2 Typical extensive pond in Thailand

Fig. 3 Typical Semi-intensive pond

Fig. 4 AMAKUSA TYPE SHRIMP FARM IN JAPAN

Fig. 5 Intensive pond (earthen pond with concrete dikes)

| CROSS-SECTION OF CIRCULAR TANK | Legend: | |
| A: Gate valve of spray-pipe B: Aeration bubbling-tube C: Sand bed D: Cylindrical screen E: Spray-pipe F: Gate valve of supplying-pipe G: Drain pipe | ||
Fig. 6 Shigueno type intensive culture tank

FIG. 7 WORLD AQUACULTURE PRODUCTION 1983

Fig. 8 WORLD CRUSTACEAN PRODUCTION 1983