A. PROJECT TITLE
Development of deep-water semi-industrial fishing and improvement of fish processing at Lake Mobutu.
B. PROJECT LOCATION
The project will be located on the Zairian side of Lake Mobutu.
C. PROJECT HEADQUARTERS
The project headquarters will be at Kasenyi.
D. DURATION
The project will operate for two years.
E. OBJECTIVES
E1. Long-term objectives
controlled increase in production; and
increased supply of fish to the population.
E2. Immediate objectives
to improve fishing techniques;
to relaunch semi-industrial fishing;
to exploit new fish stocks;
to improve processing and storage techniques;
to help fishermen to organize; and
to strengthen the institutions involved.
F. JUSTIFICATION
Fishing on Lake Mobutu is now concentrated near inshore zones and market centres. The result is that:
some inshore zones are under-exploited;
distant zones (especially the large deep-water basin in the center of the lake) are unexploited although there are large stocks of Lates niloticus there; and
less large size species are caught.
Progressive deterioration of roads giving access to Lake Mobutu has isolated the lake fisheries and, most of the catch must be processed. Processing techniques are rudimentary, lowering both the market and the nutritional value of the product.
G. STRATEGY AND BRIEF DESCRIPTION OF THE PROJECT
As regards increasing production the projects' strategy is to achieve better distribution of fishing effort lake wide by using selective gear with mesh size appropriate to the large size species found in deep water. These resources are not exploited by small-scale fishermen because of the high cost of fuel and because their boats are unsuitable for deep water fishing. It is therefore necessary to reactivate the semi-industrial fleet, using 12 to 15 meter boats called “baleinières” with 6 to 10 barges in tow.
The advantages of this technique are:
the technique was used Greek companies in the past and proved profitable. It was abandoned following “zairization”;
the gear used is the gillnet, which is well known to lake fishermen;
the large mesh gillnet is a selective gear able to target fish stocks under-exploited at the present time; and
the use of this technique will reduce the exploitation costs.
The improvement of the processing technique will be accomplished by the introduction of brine salting and of “Chorkor” and “Altona” type ovens.
The latter in particular is an ideal oven for smoking large-size species caught by the product. It produces high quality processed fish that can be sold at high price.
“Baleinières” and large ovens are gear which lend themselves easily to collective use and can therefore be used to reactivate the “propêche”, or pre-cooperative groups, created by the French Cooperations' Lake Mobutu Project. The pilot project proposed here should complete the infrastructure created by the French program for the study of fishery potential planned for the whole lake.
Training for DAFECN agents is another necessity in the strengthening of Lake Mobutu institutions. Details of this program are given in Appendix 1, 2, 3 and 4.
H. EXPECTED RESULTS
The principal results expected are:
controlled increase in production;
re-activation of semi-industrial fishing;
mid-term creation of a fleet of 10 baleinières and 70 boats;
improved quality of processed fish and reduced losses;
training for fishermen in engine maintenance, fishing techniques and fish processing;
warehouses for storing fish produced by the project;
installation of improved smokers and brine-salting tanks;
equipment for a mechanics workshop;
equipment for DAFECN agents; and
training of these agents in processing, statistics, semi-industrial fishing techniques and extension services for fishermen.
I. PROJECT ACTIVITIES
The project will provide fishermen with the following services:
harvesting service: providing “propêche” fishermen with the project's “baleinières” and tow-barges;
fish processing service: diffusion of the project's improved processing and storage techniques; and
miscellaneous services: repairs for outboard motors, maintenance and minor repairs for diesel engines; management training for a limited number of fishermen from the five “propêche” groups.
J. PROJECT RESOURCES
J1. Government Resources
a senior staff member, trained in fisheries (biology specialist), counter-part of the Project CTP;
a intermediate-level staff member fisheries technologist;
a intermediate-level staff member processing technologist; counter-part of the project expert;
a intermediate-level staff member, socio-economist, counter-part of the expert;
8 field agents responsible for statistics and extension work; and
sites for infrastructures.
J2. External Resources
Personnel
A small-scale inland fishery techniques expert, the Project
CTP. He/she should have the following profile: several years
experience in fishery techniques and good experience in
training and diffusion. His/her principal task will be to
organize semi-industrial fishing activities and perfect the
necessary techniques, while training fishermen. In
particular, fishermen should be trained to repair diesel
engines.
Length of stay: 2 years
A processing expert with several year's experience in small-scale
fish processing in Africa.
Length of stay: 8 months
Consultants: the project will bring in consultants for specific problems as they arise.
| Equipment (US $) | ||
| A locally built ‘baleinière’ of 4 m sheet-metal, 15 m long, with a 100 hp diesel engine and spare parts, Estimated cost | 35,000 | |
| 8 | locally built barges | 20,000 |
| 4 | Altona ovens | 10,000 |
| 1 | rubber canoe with engines | 10,000 |
| 2 | vehicles 4×4 (pick-ups) and spare parts | 50,000 |
| 2 | vehicles (Renault-4 type) and spare parts | 30,000 |
| 8 | 125cc motor cycles and spare parts | 30,000 |
| 10 | canoes for the monitors/field agents | 4,000 |
| 10 | outboard engines | 10,000 |
| 10 | scales - 50 kg capacity | 8,000 |
| 30 | life vests | 5,000 |
| 30 | ring type life preservers | 3,000 |
| 2 | generators | 40,000 |
| 2 | electric pumps | 10,000 |
| 3 | typewriters | 1,000 |
| 1 | photocopy machine | 1,500 |
| 1 | micro-computer | 3,000 |
| other office furniture and equipment | 10,000 | |
| 2 | radios | 2,000 |
| 2 | portable motorola radios | 1,000 |
| 4 | air conditioners | 3,000 |
| 2 | vacuum packaging machines | 16,000 |
| 2 | slicing machines | 6,000 |
| 3 | slicing tables (formica) | 2,000 |
| 1 | refrigerator (350 litre capacity) | 1,000 |
| 1 | freezer (500 litre capacity) | 4,000 |
| miscellaneous processing materials | 5,000 | |
| 1 | cold storage truck (500 kg capacity) | 40,000 |
| furnishings for houses | 30,000 | |
| equipment needed for training | 15,000 | |
Materials to re-equip the mechanic's workshop
2 complete sets of wrenches including:
TOTAL US $ 12,000
Infrastructure (US $) | |
| 1 office, measuring (100 m2 at US $ 100 per M2;) | 10,000 |
| 3 houses, (300 m2 at US $ 100 per m2) | 30,000 |
| 1 fuel-oil station with 20,000 litre reservoir | 20,000 |
| 1 storehouse for fishing equipment (120 m2 at US $ 60 per m2) | 7,200 |
Consumable inputs (US $) | |
| Nets and accessories | 50,000 |
| plastic bags (20,000) | 30,000 |
| materials for building ovens and tanks | 20,000 |
| fuel, oil, gasoline | 200,000 |
BUDGET FOR GOVERNMENT CONTRIBUTION (in Zaires)
| Total | 1990 | 1991 | ||||
| M/H | Z | M/H | Z | M/H | Z | |
| Personnel | ||||||
| National director | 24 | 465 960 | 12 | 232 980 | 12 | 232 940 |
| 3 mid-level staff | 72 | 938 520 | 36 | 469 260 | 36 | 469 260 |
| 8 fisheries agents | 192 | 1 362 240 | 96 | 681 120 | 96 | 681 120 |
| 3 administrative assistants | 72 | 471 240 | 36 | 235 620 | 36 | 235 620 |
| 2 secretaries | 48 | 274 560 | 24 | 137 280 | 24 | 137 280 |
| 4 drivers | 96 | 491 040 | 48 | 245 520 | 48 | 245 520 |
| 1 general office assistant | 24 | 108 240 | 12 | 54 120 | 12 | 54 120 |
| SUB-TOTAL | 528 | 4 111 800 | 264 | 2 055 900 | 264 | 2 055 900 |
| Cost of interior missions | 4 800 000 | 2 400 000 | 2 400 000 | |||
| UNIT TOTAL | 8 911 800 | 4 455 900 | 4 455 900 | |||
| Operating costs | ||||||
| Medical fees | 220 000 | 110 000 | 110 000 | |||
| Salaries and fees | 900 000 | 450 000 | 450 000 | |||
| Fuel | 2 000 000 | 1 000 000 | 1 000 000 | |||
| UNIT TOTAL | 3 120 000 | 1 560 000 | 1 560 000 | |||
| OVERALL TOTAL | 12 031 800 | 6 015 900 | 6 015 900 | |||
BUDGET FOR INTERNATIONAL CONTRIBUTION (in US $)
| Total | 1990 | 1991 | ||||
| M/H | US $ | M/H | US $ | M/H | US $ | |
| Personnel | ||||||
| Master fisherman | 24 | 179 340 | 12 | 89 670 | 12 | 89 670 |
| Processing expert | 8 | 59 776 | 4 | 29 888 | 4 | 29 888 |
| Socio-economist | 8 | 59 776 | 4 | 29 888 | 4 | 29 888 |
| Consultants | 4 | 48 000 | 2 | 24 000 | 2 | 24 000 |
| SUB-TOTAL | 44 | 346 872 | 22 | 173 436 | 22 | 173 436 |
| Administrative support | 10 000 | 5 000 | 5 000 | |||
| Travel | 40 000 | 20 000 | 20 000 | |||
| Training | 20 000 | 10 000 | 10 000 | |||
| UNIT TOTAL | 416 872 | 208 436 | 208 436 | |||
| Durable equipment | 422 500 | 422 500 | ||||
| Infrastructures | 74 400 | 74 400 | ||||
| Consumable inputs | 273 000 | 163 000 | 110 000 | |||
| UNIT TOTAL | 769 900 | 659 900 | 110 000 | |||
| Miscellaneous (10% of total) | 120 000 | 80 000 | 40 000 | |||
| GRAND TOTAL | 1 306 772 | 948 336 | 358 436 | |||
Appendix 2-A: Experimental Activities
The following are areas of experimentation:
fishing using a “baleinière” towing 8 to 10 barges;
testing large-mesh gill nets (7-10-13 cm knot to knot);
test of planned improvements in traditional fishing methods;
tests and comparisons of different types of smoking ovens suggested by the project;
brine-salting tests;
adopting the most efficient processing methods to local conditions; and
determining which type of storage unit is most appropriate for the levels of production of a “propêche” group in fishing village.
Appendix 2-B: Improved Fishing Techniques
Improvements of fishing techniques will be based on the following principles:
A. RE-LAUNCHING SEMI-INDUSTRIAL FISHING USING “BALEINIERES” PULLING BARGES
The “baleinière's” specifications are:
length: 15 meters; sheet-metal hull (4mm); and
100/120 horsepower diesel motor.
There will be 8 to 10 tow-barges, of sheet metal, 5–6 meters long. Both “baleinières” and barges will be built on-site by a Greek craftsman under the supervision of the fisheries technologist. The fishing gears used will be demersal gill nets (mesh size 7-10-13 cm knot to knot) and long lines. There will be 10 nets-length: 1 km/per net/per barge. These gears will be used by the members of the 5 “propêche” groups.
Catches will be sold (with first option given to the “propêches”, for improved processing and the proceeds will be used to build new units (or to recondition old “baleinières”). It can therefore be expected that at the end of the project there will be several semi-industrial fishing units operating on the lake.
The fisheries technologist will see that “propêche” members are trained in engine maintenance and basic management.
B. IMPROVING EXISTING METHODS
Most effort will be concentrated on improving net construction. Agents responsible for distribution should concentrate on the most common nets: surface and bottom gillnets.
C. IMPROVING METHODS OF NET MAINTENANCE
The project should encourage adherence to the following principles of net maintenance:
protect synthetic materials from exposure to the sun;
hang nets up to dry rather than laying them flat; and
repair holes continuously, as required.
Appendix 2-C: Improved Processing Techniques
A. AT THE SMALL-SCALE FISHING LEVEL, THE PROJECT WILL PROMOTE THE FOLLOWING METHODS
Brine salting:
There is some brine processing at Lake Mobutu now but it is a method used for large species only. Tanks must be built in shapes appropriate for small species as well.
Chorkor oven:
This is a cement or “adobe” oven. Its advantages over the ovens now in use are that it reduces smoking time by 2/3, concentrates heat and smoke, burns 10 times less wood, reduces the work load and improves the quality of the product.
B. FOR THE “PROPECHE” GROUPS, PRODUCTION OF SMOKED LATES IS PLANNED
Although production is limited, it will serve as a test to see if small-scale semi-industrial production of smoked Lates is feasible. Basically, the project will cede a part of its production of the “propêche” groups. The Lates will be stored in the freezer for 12 hours and then cut into slices.
The slices will be smoked in the Altona oven and in the ovens designed by B. Raugel (FAO Project technologist at Kinshasa) which are described in Part C. The Altona is a metal oven with a smoking capacity of 70 kg/day. It produces high quality processed fish. Its disadvantage is its relatively high price.
The oven designed by Mr. Raugel has a smaller processing capacity but it costs almost nothing. It also produces a high quality product. The finished product will be vacuum-packed in plastic bags and sent by freezer-truck to Bunia, and from Bunia by air to Kinshasa.
The advantages of this system are the reduction of costs and of volume to be transported. Based on the results obtained, a second phase of this activity could be undertaken. The large quantities of Lates already produced by the small-scale fisheries (2,600 t) and the expected success of the semi-industrial fleet promise to make further development of this Lake Mobutu product possible.
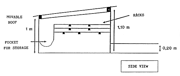
C. IMPROVED SMOKING OVEN WITH TUNNEL (by M.B. Raugel) (see drawing page 48)
The smoking oven consists of 4 walls of “poto poto”, laterite or parpen stone/bricks. There is a tunnel (chimney pipe) on one side of the oven, ending in a larger area which is the firebox. The tunnel is turned towards the prevailing wind, and a second tunnel can be installed for use if the prevailing wind direction should change during the year.
The upper part of the smoker is covered with a moveable roof of corrugated iron attached to two brackets (chimneys). The upper part of the roof brace (support) is slightly inclined to allow rain water to run off.
Inside the smoker there are three moveable racks resting on four rods of reinforced iron which cross the width of the oven. The racks consist of a wooden frame to which a reinforced mesh screening strengthened by three concrete rods is attached.
At the bottom of the oven there is a pocket made of screening and attached to two concrete rods. This pocket is used to store fish not yet completely smoked freeing the racks for the next load of fish.
This type of “coté sur le plat” smoking oven can smoke 45 kg of fish every 12 hrs, (depending on the intensity of the fire), using about 30 to 40% less wood than other models. The product is smoke-dried at low temperature with less breakage.



Appendix 2-D: Proposals for a Second Phase of the Lake Mobutu Project
The mission's report emphasizes that the most serious constraint to the development of Lake Mobutu fisheries is the appalling condition of the road which links Kasenyi to Buni (55 km). In the absence of a passable road the fisheries are virtually isolated. We would inform the government and backers interested in improving the country's transportation (road network) system that yield at Lake Mobutu is high (13,000 t). If it could marketed fresh, its commercial value could be doubled.
The potential socio-economic benefits are important. The number of people who earn their living directly or indirectly (production and marketing) from lake fisheries is estimated at 100,000. If the road was repaired, a second phase of the project could follow, based on fresh fish marketing (ice machine, cold storage, refrigerated trucks) and on the creation of infrastructure essential to a fishery (gas pumps and tanks/reservoirs).
If the semi-industrial processing of Lates becomes a reality, this second phase of the project may serve as a test of whether the abundant quantities of Lates caught in the lake can form the basis of a permanent industry providing many new jobs.