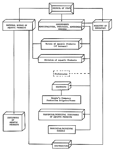
At the national level, the central administration for aquaculture - and fisheries in general - has been under the control of the National Bureau of Aquatic Products (NBAP) of Beijing since 1978 1. This Bureau, which is managed by a Vice-Minister, is directly answerable to the Council of State for fish-culture development policy, fish-culture research schemes (Section 4), as well as for technical aspects of fish-culture education and training in collaboration with the Minister of Education. Table 12 shows this organization schematically. The National Bureau of Aquatic Products, with a staff of around 400, is sub-divided into 10 Departments as follows: Marine Fisheries, Inland Water Fisheries, Science/Education, Planning/Finance, Investment Constructions, Material, Fishing Equipment, Purchasing/Marketing, Fisheries Administration and Foreign Affairs (Zu De-Shan, 1980). The Department of Inland Water Fisheries is concerned with the technical development of aquaculture in China.
On a regional scale, the Governments of the municipalities, provinces and autonomous regions (A.R.) have all set up an administration to deal with questions regarding fish culture (fisheries/aquaculture), with the exception of the A.R. of Xizan and Taiwan province. Where fish culture activities are carried out on a large scale (Table 13), these responsibilities are undertaken by a Bureau of Aquatic Products and where they are done on a small scale, they come under a Fisheries Division, incorporated into the Bureau of Agriculture and Fisheries, the Bureau of Water Conservation or the Marketing Bureau. Although they are affiliated to their respective governments, the Bureaux of Aquatic Products and these Fisheries Divisions depend directly, from a professional point of view, on the National Bureau of Aquatic Products.
Fish culture is carried out mainly in State farms or in the people's communes.
As an example of the former, the study group visited the State farm of Baitan Hu, in the district of Huanggang (Hubei), which currently farms 400 ha of water (Baitan Hu - Section 9.3 - ponds). When it was set up in 1951, it was run by 10 persons and the average output was only 75 kg/ha. Twenty-two years later, in 1973, there were 91 employees (8 senior officers and 2 technicians) and the average output had increased tenfold. In 1979, the State farm produced 51 million fry of 3 cm in size, 1 million stocking fry and 300 t of food-fish. The present target for food-fish is 500 t. Income from fish culture constitutes 80 percent of total income - other income resulting from the sale of lotus seeds (20 ha under cultivation), rice (13.3 ha), fruits (140 000 trees), pigs and transport. Staff are paid salaries, unlike those of the people's communes and their income is not affected by the yields obtained at the State farms.
Table 12
Organization chart: aquaculture administration

Table 13
Regional bureaux of aquatic products
(adapted from Zhu De-Shan, 1980)
| (a) | Municipal Bureaux of Aquatic Products (3): Municipalities of Beijing, Tianjin and Shanghai | |
| (b) | Provincial Bureaux of Aquatic Products: | |
| (i) | all maritime provinces and autonomous regions (8): Guangdong, Fujiang, Zhejiang, Jiangsu, Shandong, Hebei, Liaoning and the autonomous region of Guangxi | |
| (ii) | some inland provinces and one inland autonomous region (6): provinces of Hubei, Jiangxi, Anhui, Quighai, Heilongjiang and the autonomous region of Xinjiang | |
The main role of the State farms seems to be to act as a back-up to fish culture development in the communes of the region, by carrying out applied research, by popularizing new techniques, training personnel and selling fry.
The organization of the Chinese people's communes has previously been described in detail (FAO, 1977). Their structure is a three-tiered one, with the family unit as the basic social component: the production teams are at the lowest level, the production brigades come next and then the people's commune itself. The latter, which is the basic unit of political power in the rural areas, administers all activities carried out on the commune's territory, including agriculture, industry, trade, education, social welfare and security. Members' income depend essentially on their individual efforts for the success of operations (points system) and on the profits obtained by the commune.
Fish culture in ponds is usually done by the production teams and brigades, while fish culture in lakes, reservoirs, channels and rivers is usually done by one or several communes combined.
The relative importance of aquacultural activities varies considerably from one commune to another. They may make only a small contribution to total earnings, or they may be a major source of income. The study group had the opportunity of visiting one of each of these types of communes. Their main features are given in Tables 14 and 15.
There are purchasing and marketing cooperatives at the communal level, which are in charge of distributing consumer goods and purchasing crops and fish which are not consumed locally (Section 13.2.2).
The people's communes plan their development to enable them to finance themselves as far as possible, in accordance with the well-established policy of self-reliance, which is the main guideline for rural development in China. Each commune must therefore not only produce enough food to meet its own needs, but in addition, must sell a fixed quantity to the State. This extra output is either distributed to other regions where it complements local products, or is stored for future needs.
Table 14
Main features of people's communes which are not specialized in aquaculture
| People's commune | Shuangqiao PC Beijing | Hele PC Wuxi, Jiangsu | |
| Total surface area | 9 000 ha | 3 600 ha | |
| Population | |||
| No. of persons | 42 000 | 19 672 | |
| No. of families | 9 000 | 6 607 | |
| Production brigades | 13 | 6 | |
| Production teams | 95 | 62 | |
| Integrated agricultural production | grain, pulses, fruits, dairy cattle, pigs, ducks, fish | mulberry trees, pulses, tea, fruits, silk-worms, dairy cattle, pigs, ducks, chicken, fish | |
| Industrial production | insecticides, mechanics, bricks, wood-work, construction, etc. | 35 different workshops | |
| Annual average income per caput | Yuan 200 | - | |
| FISH CULTURE | |||
| Production surface | 80 ha | 260 ha | |
| Annual output | 100 t food-fish | 363 t over 74 ha | |
| Farming system | semi-intensive polyculture | semi-intensive polyculture | |
Table 15
Main features of people's communes specialized in aquaculture
| People's commune | Lelui PC Guangdong | ‘Liberation’ PC district of Qingpu, Shanghai | |
| Surface cultivated | 4 950 ha | 7 ha | |
| Population | |||
| No. of persons | 91 000 | ||
| No. of families | 17 000 | ||
| Production brigades | 29 | ||
| Production teams | 235 | ||
| Integrated, agricultural production | fish, sugarcane, mulberry trees, silk-worms, livestock (mainly pigs) | various | |
| Industrial production | glass, paper, printing, plastics, alcohol, oil, tools, medicines, electronics, agricultural machinery, boats, insecticides, limestone, bricks, etc. | factory for fish culture, machinery, aerators, granule-making machinery, mud pumps, transport crates, purifiers | |
| Annual average income per caput | Yuan 260 | Yuan 548 | |
| FISH CULTURE | |||
| Production surface | 2 400 ha/8 350 ponds | 771 ha | |
| Annual production | 7 700 t food-fish | 1 750 t food-fish | |
| 140 million fry | 500 kg pearls | ||
| Percentage total income | 30 | - | |
| Cultural system | semi-intensive polyculture | semi-intensive polyculture | |
The annual income of the salaried personnel of the State farms and the members of the people's communes varies. Whilst the former is fixed by the local Government, the latter not only depends on actual output, but also on output obtained over and above the fixed quotas (Section 3.3). Some annual income figures for 1979 (Yuan/person) were obtained by the study group as follows: Shuangqiao PC, Beijing - Y 200; Leliu PC, Guangdong - Y 260; ‘Liberation’ PC, district of Qingpu, Shanghai - Y 548; ‘October’ Production Brigade, district of Xishui, Hubei - Y 580. At the Baitan Hu State Farm in the district of Huanggang (Hubei), the average annual salary was Y 600. The senior officers' salaries reached Y 720. For the sake of comparison, it was pointed out that a market gardener working many hours overtime, could earn up to Y 900–1 000/year1.
Aquaculture development at all levels of production is an integral part of the Five-Year Development Plan and the Annual Development Plans. The planning process is relatively complicated and to a large extent, based on the two principles: “planning from the base up” and people's participation. Development objectives include quantities to be produced, minimum yields, taxes to be paid and purchases to be made to supplement local production. These targets are based on past performances and local development potential.
The central administration draws up a national development plan of production and distribution, on the basis of which it establishes objectives for each province (Table 16), municipality or autonomous region. These objectives are then discussed and reviewed in turn at each lower administrative level (e.g., province/district/commune). At commune level, the production brigades and teams are consulted. Many discussions are held, during which members' participation can be very important. At this level, and during revolutionary committee meetings, party members make sure that established political principles are respected. Production and purchasing targets are set in this way and a detailed plan is drawn up at the level of each commune. Gradually, through negotiation and successive adjustments, communal plans are upgraded to district level and these in turn to provincial level, before becoming national plans. Should there be serious disagreements on particular plans, they are sent back to their respective levels where new discussions are held in an attempt to reach an acceptable compromise.
These discussions, modifications and compromises always take into consideration the development guidelines set by the State, which always maintains effective control of production, through the use of input grants and marketing. Nevertheless, in spite of the State's significant role in the overall planning of production, the units of production draw up the details of the national plan and their approval of any modifications must be obtained.