El tamarugo pertenece al Orden Leguminosas, familia Mimosaceae. Se trata de una especie autóctona poco conocida, ignorándose las etapas sucesionales de su aparición, como también de su dispersión. Se han determinado edades de tamarugos en el sector de la Tirana asignándoles aproximadamente cuatrocientos años de edad C. Muñoz Pizarro, 1965.
Alcanza un promedio de 15 m de altura, 0.50 a 0.80 m de diámetro de tronco y un diámetro de copa de 15 m a 20 m. Sus ramas nuevas son delgadas y angulosas y poseen espinas de base ancha y de unos 3 cm de largo. Las hojas bipinnado compuestas, son cortas, glabras y caedizas, con 15 pares de folíolos de cinco milímetros. Inflorescencia en espiga; flores perfectas, actinomorfas y hermafroditas; de cáliz gamosépalo y corola gamopétala bien diferenciados; cinco sépalos fusionados formando un capuchón, pubescente en la base disminuyendo hacia el ápice; cinco pétalos amarillos, pubescentes sólo en la parte media y con vellosidades largas en la cara interna; androceo con diez filamentos estaminales cortos o largos y de colores vivos con antena versátil; gineceo con pistilo de estilo largo o corto; ovario unicarpelar que se encuentra rodeado y protegido por varias vellosidades blancas. La altura de los estambres puede sobrepasar la altura del pistilo o igualarla o alcanzar tan sólo hasta la parte de éste. El fruto es una legumbre gruesa y corta de 25 mm con forma de maní. Las semillas son pequeñas, de color oscuro, comprimidas y separadas por tabiques.
Las flores del tamarugo son polinizadas por insectos himenópteros como Centrix mixta y la abeja común Apis mellifera que son sus principales agentes polinizantes, con un período de actividad máxima entre comienzos de septiembre y noviembre.
El crecimiento del árbol ocurre durante todo el año, siendo máximo en los meses de agosto a noviembre; o sea, en la época de floración plena y mínimo crecimiento entre marzo y julio. Sin embargo, Acevedo (1970) establece un período de receso invernal, por la inactividad savial.
El tamarugo posee un doble sistema radicular: (1) Pivotante o de anclaje, formado por 3–4 raíces gruesas, no ramificadas, que alcanzan una profundidad máxima en suelos francos de 7 m a 8 m. (2) Masa o conjunto de raíces absorbentes que se desarrolla y penetra a una profundidad no mayor de 1.50 m. Las raíces absorbentes presentan en toda la proyección de su volumen una humedad que alcanza fácilmente a 40% según medidas efectuadas en el sector de Refresco en septiembre 1966 y enero 1976 en árboles de 30 años de edad prosperando en un suelo cuya napa freática estaba a 13 m de profundidad (Toro, 1967).
De acuerdo a los conocimientos que se tienen hasta el momento, es prácticamente imposible estimar la vida productiva del árbol. Se conoce cuando se incia la vida productiva que ocurre entre el 7° y 8° año después de su plantación, pero se ignora el período productivo en años, aunque por los ejemplares que existen en la Pampa puede considerarse que la producción es muy longeva. Se piensa que los antecedentes que se tienen bastan para estimar que la vida productiva del tamarugo es lo suficientemente larga como para amortizar un programa de inversión.

Tamarugo, natural en la Pampa del Tamarugal en el sector de La Tirana. Obsérvese la altura del árbol en relación a las personas ubicadas en el extremo derecho. (Foto: Mario Habit).

Vista panorámica de la localidad de Refresco en el Salar de Pintados, Pampa del Tamarugal. Plantación artificial de tamarugos realizada entre 1964 y 1969. En el primer plano se observan sectores demarcados con tamarugos a vía de cortinas cortaviento para futuras plantaciones.
Durante 1968 se realizaron estudios tendientes a relacionar el crecimiento del tamarugo, y las variables controladas de edad, distanciamiento de plantación y profundidad de la napa freática (Instituto Forestal, 1971).
Este análisis se efectuó mediante la construcción de gráficos de curvas que relacionan los parámetros medidos (estatura total, diámetro de copa) con las variables conocidas o sea, edad y distanciamiento. La relación edad-estatura del tamarugo es asintótica, pues en los primeros 24 años tiene un crecimiento positivo que alcanza a 10 m de estatura en promedio; este crecimiento no se incrementa significativamente a los 40 años de edad Ver lámina siguiente.
En cuanto a la relación diámetro de copa, distanciamiento y edad de plantación, se observa que las distancias más amplias, 13 × 13 m, a la edad de 36 años observan los árboles una copa mayor alcanzando en promedio un diámetro de 12 m, no así las plantaciones de 6 m × 6 m a la misma edad, que observan un diámetro de 6.50 metros. *
El análisis de la variación en altura en función de la profundidad de la napa freática y de la salinidad de ella, permite concluir que no existe ninguna tendencia. No obstante, todavía no es posible afirmar que no exista dicha relación, pues por analogía de todas las especies forestales, se establece que la altura es uno de los parámetros que más estrechamente está relacionado con el factor edáfico.
Numerosos experimentos de laboratorio empleando cultivos en soluciones han demostrado la estrecha relación entre crecimiento y presión osmótica de la solución nutritiva (Instituto Forestal, 1971). Esta relación indicaría que las soluciones salinas, debido a la concentración de las partículas del soluto en la solución, actúan como inhibidoras del crecimiento.
Además, existe el factor adicional, la tensión de humedad del suelo, que puede causar una disminución en la absorción del agua por las raíces, disminuyendo o regulando el crecimiento. La tensión de la humedad del perfil edáfico está íntimamente relacionada con la profundidad de la napa freática.
RELACION EDAD - ALTURA TOTAL DEL PROSOPIS TAMARUGO

RELACION EDAD - DIAMETRO DE COPA EN FUNCION DE DISTANCIA DE PLANTACION DE PROSOPIS TAMARUGO

El crecimiento de la copa del tamarugo, base de rendimiento de hojas y frutos, está en relación directa con el mayor distanciamiento de plantación iniciales de 6 m × 6 m; 7 m × 7 m; 10 m × 10 m y 13 m × 13 m. Por lo tanto, con el conocimiento del ritmo de crecimiento de la copa en función de las variables analizadas, es posible determinar la velocidad con que se cubre una superficie plantada dependiendo de la densidad inicial de plantación.
La productividad del tamarugo está relacionada con la edad, distancia de plantación, profundidad y calidad del agua de la napa freática; asimismo, el manejo inicial que se observa en las plantaciones, tiene incidencia en la productividad. Los factores entomológicos de plagas y sus tratamientos también tienen marcada incidencia.
La fructificación se presenta uniformemente en la copa del árbol; los frutos al caer se distribuyen en el suelo, existiendo mayor densidad en la proyección del árbol.
Aparentemente el rendimiento no varía considerablemente. Así Oyarzún (1967) informa de un control realizado en el año 1957 a 19 árboles, obteniéndose un peso medio de 2,10 kg de fruto por metro cuadrado en la proyección de la copa de los árboles; asimismo, en árboles de 30 años de edad, el promedio de frutos y hojarasca por metro cuadrado de la proyección del árbol, observó un rendimiento de 3,40 kg/m2 de materia seca; en árboles de 18 años el promedio fue de 1,80 kg/m2 de materia seca (Instituto Forestal, 1964). Ver Lámina en pág. 28.
Se estima que el 50% en peso del forraje producido por m2 del área de la proyección de la copa corresponde a frutos y el otro 50% a hojarasca.
RELACION EDAD - PRODUCCION DE ALIMENTO DE PROSOPIS TAMARUGO



Fruto (legumbre) de tamarugo. En la foto inferior “forraje” compuesto de los frutos y “heno de hojas”.
El tamarugo es un vegetal que ha demostrado poseer una especial elasticidad fisiológica que le permite desarrollarse en condiciones que para otros vegetales resultarían letales. La humedad nocturna compuesta por la neblina, rocío y humedad relativa, se caracteriza por su fluctuación, como también por su magnitud. Con respecto a otras especies, se ha logrado establecer por ejemplo, que un rocío artificial aplicado durante el período obscuro a plantas de Pinus insigne, prolonga la vida de plántulas hasta 45 días a pesar de estar establecidas en suelo seco.
Aunque se conoce la existencia de un fenómeno de absorción, varios investigadores enfatizan que ésta no sería vital para el vegetal y que su función sería más bien la de provocar una menor transpiración de los tejidos al constituir una capa protectora húmeda sobre la superficie foliar (Slatyer, 1967).
En experimentos realizados con Phaseolus vulgaris usando el marcador HHO18 se observó una rápida sustitución del agua intracelular por moléculas de agua atmosférica. Esto no sólo sucedió en los tallos y hojas, sino que a nivel celular de los tejidos (Vartepetyan y Kursanov, 1962). Lo que vendría a demostrar que en condiciones especiales los vegetales tienen una inversión en el flujo del agua de la raíz a las hojas, captando el agua atmosférica mediante la superficie foliar y traslocándola hasta los tejidos radiculares para ser eliminada por diferencia de potencial en la exudación molecular. Sin embargo, algunos investigadores consideran que esta exudación del agua al suelo es de poca magnitud, sirviendo sólo para prolongar por un tiempo la vida de algunas plantas en períodos de gran sequía (Muller-Stoll, 1965; Stone et al 1950; Kramer, 1959; Polster, 1963 y Slatyer, 1967). Sin embargo, investigaciones realizadas en laboratorios y posteriormente en zonas áridas y semiáridas, sugieren la posibilidad de una acumulación de agua que sobrepasaría a la humedad correspondiente a la capacidad de campo (Breazeale et al 1950; Breazale 1953a, 1953b, Gindel, 1966).
Experiencias realizadas en la Pampa del Tamarugal han demostrado que el riego foliar es efectivo en la prolongación de la vida de plántulas de tamarugo. Al someter plántulas, en condiciones de laboratorio y árboles jóvenes en el terreno, a tratamientos con agua marcada con Tritium, se logró establecer una positiva translocación del agua atmósferica, acumulándose ésta en la rizosfera, o sea, en las masas de raíces absorbentes (Sudzuki, 1969).
Observaciones sobre riego foliar en plántulas de tamarugo realizadas por Sudzuki (1969) en condiciones de laboratorio demostraron que las plántulas de tamarugo presentan una elevada resistencia al déficit hídrico. Si se examinan los resultados obtenidos se podrá observar que la menor pérdida diaria de peso la presentan las plántulas que recibieron riego foliar (Cuadro 6), lo que sugiere que las hojas del tamarugo tienen la capacidad de aprovechar el agua de la humedad atmosférica, con la cual contrapesan, en parte, posiblemente, la pérdida producida por la evaporación y transpiración.
CUADRO 6. Promedio diario de pérdida de peso expresado en gramos, en plántulas de tamarugo comparadas con macetas sin plantas con adición de agua, maceta sellada, y cubeta con agua.
| Plántulas | Macetas sin plántulas | Cubeta con agua | |||
| Riego foliar | Riego a tierra | Sin riego | Con adición 100 H2O | Maceta sellada | 100 grs. |
| 0.96 | 4.95 | 3.1 | 4.15 | 0 | 5 |
Posteriormente, los estudios realizados por Sudzuki fueron orientados a investigar la absorción foliar, condiciones necesarias para que se produzca la absorción y determinar si el agua absorbida era capaz de traslocarse por los tejidos y llegar a las raíces y éstas exudar el excedente hídrico al suelo a nivel de las raíces absorbentes. En las localidades de Refresco y Canchones en la Pampa del Tamarugal se emplearon plántulas de tamarugo en bolsas de polietileno, las que fueron selladas a la altura del cuello de las plántulas, con cinco testigos y cinco tratamientos. Se usó Tritium como marcador del agua, eligiendo la actividad de 4 MC/ml; para hacer la aplicación de Tritium las plántulas se colocaron bajo una carpa de polietileno y se hicieron pulverizaciones nocturnas con un atomizador hasta saturar el ambiente interno. La carpa se retiró al día siguiente, efectúandose la extracción del marcador el mismo día a través de un método de una bomba al vacío con un condensador de doble pared, colocando nitrógeno líquido para facilitar la obtención del vacío. Para determinar el Tritium se usó Dioxano como diluyente básico y Naftaleno como diluyente secundario en la solución del líquido centellante. La actividad específica fue determinada en un contador Mark y Liquid Scintillation System, durante diez minutos.

El agua constituye para los animales y los tamarugos el principal elemento biológico que hace posible el funcionamiento del ecosistema.
Los resultados indicaron que las aplicaciones del marcador efectuadas en la noche daban resultados positivos para lograr cierta radioactividad en la tierra de plantas mantenidas con atmósfera a base de Tritium durante el día; fue necesario repetir no menos de tres o cuatro días con varias aplicaciones diarias de Tritium. Los resultados concuerdan con lo que afirman algunos investigadores (Slatyer, 1967; Stone et al 1950) respecto a las condiciones bajo las cuales se efectúa la absorción foliar. El hecho de detectar radioactividad significativa 0.05% con una sola aplicación demostró que el radioisótopo se movilizó con cierta rapidez a través de los tejidos de la plántula hasta alcanzar la zona de las raíces absorbentes, lo que está de acuerdo con los trabajos de Vartepetyan y Kursanov (1962); los resultados logrados por Sudzuki (1969) pueden observarse en el Cuadro 7 donde compara los testigos, y las plántulas tratadas con el indicador radioactivo.
CUADRO 7. Radioactividad del extracto acuoso de la tierra contenida en las raíces de plántulas de tamarugo pulverizadas durante una noche bajo una carpa de polietileno y comparadas con el testigo (Pampa del Tamarugal, 1968).
| Testigo c.p.m. | B.G. c.p.m. | Tratamiento 4 Mc/ml c.p.m. |
| 215 | 249 | 956 + |
| 233 | 238 | 1.080 + |
| 244 | 673 + | |
| 251 | 1.264 + | |
| 125 | 504 + |
Resumiendo, Sudzuki concluyó que esta especie es capaz de absorber por las hojas el agua de la humedad atmosférica, trasladarla hasta sus raíces y éstas exudarla al suelo que las rodea mediante un proceso similar a la gutación; además la cantidad de agua absorbida por la vegetación foliar está relacionada con la hora durante la cual fue aplicada la humedad de saturación alcanzando el máximo durante la noche, como también la cantidad y/o rapidez con que el agua marcada alcanzó el suelo es inversamente proporcional al tamaño del árbol, como puede observarse en el Cuadro 8.
CUADRO 8. Acumulación de radioisótopos en la rizosfera de tamarugos de 7–8 años de edad con pulverización marcada con Tritium durante el día y la noche, en las localidades de Canchones y Refresco (Sudzuki, 1969).
| CANCHONES | REFRESCO | ||||||||
| No pulverizaciones en cpm | No pulverizaciones en cpm | ||||||||
| Tratamiento | 0 | 3 | 4 | 5 | BG cpm | 0 | 3 | 4 | 5 |
| 15.52 | 14.14 | 17.66 | 40.48 | 15.03 | 14.04 | 15.75 | 14.79 | 16.85 | |
| Día | 14.14 | 15.10 | 14.70 | 18.00 | 18.11 | 13.64 | 14.21 | 15.33 | 15.00 |
| 15.68 | 14.14 | 15.68 | 20.54 | 15.58 | 13.86 | 16.19 | 18.81 | 15.08 | |
| 17.35 | 14.07 | 17.81 | 21.49 | 11.74 | 13.89 | 16.34 | 17.66 | 19.77 | |
| Promedio | 15.67 | 14.36 | 16.42 | 25.13 | 15.11 | 13.86 | 15.62 | 16.65 | 16.66 |
| 14.69 | 14.87 | 16.91 | 28.76 | 14.14 | 17.97 | 18.68 | 81.46 | ||
| 14.63 | 17.92 | 16.25 | 65.99 | 15.13 | 18.41 | 16.37 | 75.99 | ||
| Noche | 16.40 | 17.58 | 18.25 | 20.13 | 11.35 | 18.71 | 22.02 | 48.58 | |
| 15.00 | 15.10 | 17.18 | 137.15 | 14.32 | 18.03 | 17.86 | 63.52 | ||
| Promedio | 15.18 | 16.36 | 17.14 | 64.01 | 13.74 | 18.28 | 18.74 | 66.39 | |
Pastene (1972) concuerda que la absorción foliar es un hecho y en el caso del tamarugo sería de una magnitud tal que permitiría una acumulación de agua en el suelo inmediato a sus raíces; además plantea el problema de establecer hasta qué grado esta absorción es vital para el vegetal. Repitiendo las experiencias que Sudzuki realizara en Santiago en 1966, este autor aumentó sustancialmente la muestra en la misma Pampa del Tamarugal e introdujo algunas variaciones metodológicas; empleó plántulas de distinto tamaño para los dos estudios que realizó en un límite de 55 días, concluyendo que las plántulas poseen la capacidad para captar el agua atmosférica; indica que las plántulas con riego foliar demostraron un proceso de adaptación que se manifestó en un aumento de la superficie foliar, visualizándose ésta en un retardo del crecimiento en altura y un aumento del número de brotes. Sin embargo, indica que la capacidad de absorción foliar no es constante, dependiendo en gran parte de la mayor o menor humedad del suelo, humedad del aire, temperatura y de otros factores que interactúan. Al parecer, las plántulas de tamarugo que no recibieron riego durante un tiempo más o menos prolognado, aceleran su proceso de absorción foliar tratando de captar en los días de alta humedad la máxima cantidad de agua con el objeto de acumularla en el suelo como reserva para los períodos de baja humedad; más aún, la exudación o paso de agua al suelo es, a veces, de tal magnitud que la humedad de este último sobrepasa la capacidad de campo. Ver Lámina en página 35.
El concepto de xerofitismo ha sido enfocado desde el punto de vista morfofisiológico; es decir, explicar los mecanismos que la planta tiene para acumular o evitar la pérdida de agua o que les permitan eludir los períodos de déficit hídrico. Muchos autores llaman a este fenómeno resistencia a la sequía. Esta característica fisiológicamente se explica por: (1) Cambio en el cuociente respiratorio que incidiría en la normal inhibición de la conversión almidón/azúcar; (2) Alteración de las proteínas; (3) Concentración de coloides hidrofílicos en las células que causan menores pérdidas; (4) Mayor o menor velocidad de algunas plantas de llegar al punto de marchitez permanente; (5) Presión de turgescencia a nivel celular que implicaría un rol crítico en el crecimiento celular; (6) Ajuste osmótico a nivel celular como mecanismo de adaptación en condiciones de déficit hídrico; (7) Cambios en el flujo energético; (8) Diferencia de potencial en la ionización de los metabolitos y estabilización de las biomembranas como agentes encargados de mantener la turgescencia celular; (9) Acomodo genotípico de la respuesta al medio de las especies y, variedades y ecotipos.

Tamarugo de 2–3 años en la localidad de Refresco, Pampa del Tamarugal. Porcentajes de humedad del suelo a diferentes profundidades. (según Sudzuki, 1969).


Tamarugo de tres años de edad en el salar de Pintados, Fundo Refresco. (Foto superior). Vista general de una sección del mismo fundo en condición de ser utilizada. Arboles de 6–7 años.
Levitt (1956) ha clasificado las plantas respecto a la resistencia a la sequía tomando en cuenta dos aspectos: (1) Presencia de algún mecanismo que facilite a las plantas enfrentarse a los períodos críticos; (2) Habilidad para aumentar la capacidad del metabolismo celular. Sudzuki (1975) agrega un tercer factor, es decir, aquel mecanismo que permite a las plantas aprovechar el agua de la humedad atmosférica. Esto implica el enfoque que lleva a revisar la forma y funciones que tendrían ciertas plantas para aprovechar esta importante fuente hídrica. De ahí que el término resistencia a la sequía, xerofitismo, debe incluir un aspecto más amplio de las formas y funciones en que las plantas utilizan el agua no sólo para retenerla sino que también para obtenerla.
Estudios realizados por Sudzuki (1969) indican que existen fluctuaciones muy variadas de la humedad en el perfil edáfico: presenta el caso de la localidad de Refresco en que se observó que la cantidad de agua existente en la rizosfera de las raíces absorbentes superaba a la capacidad de campo, correspondiendo un 24%, siendo que la capacidad de campo era de sólo 11.5%. Esto sugiere una posible acumulación de agua exudada de las raíces absorbentes que sería superior a la necesaria para lograr equilibrio entre el déficit de difusión de presión y las fuerzas de tensión de la humedad del suelo, por consiguiente, el agua absorbida por las hojas no se traslocaría desde los tejidos del vegetal al suelo como resultado de un simple proceso físico de succión de este último provocado por el gradiente negativo que se desarrollaría por la sequía y que tiende a equilibrar el déficit de difusión de presión y la fuerza de tensión de la humedad del suelo sino que, posiblemente, intervenga también otro proceso, aún no conocido, que permite exudar mayor cantidad de agua al suelo.
Sudzuki, Botti y Acevedo (1973) han caracterizado las relaciones hídricas del tamarugo, estudiando gradientes de potencialidades del sistema suelo-planta-atmósfera y de algunos aspectos fisiológicos que pudieran clarificar más el proceso de absorción foliar. Acevedo (1977) determinó que el tamarugo presenta una mayor actividad fisiológica en el verano con un activo movimiento savial y brotación; en cambio, en invierno estaría aparentemente en receso, al no detectarse movimiento savial, escasa brotación y abundante caída de hojas. También se detectó que el potencial hídrico de las hojas del tamarugo oscila entre -15 atm y -47 atm en verano y -24 atm a -80 atm durante el invierno. Sin embargo, durante el período de la investigación (verano e invierno 1973) no se presentó un potencial hídrico atmosférico que favoreciera una gradiente de potenciales para la absorción foliar.
Respecto al potencial hídrico del suelo, Acevedo (1977) informa que el potencial hídrico total más bajo del suelo medido en la zona de raíces absorbentes fue aproximadamente de -52 atm que, comparados con el potencial hídrico de la planta de -32 atm, observado en verano, favorecería una gradiente del agua hacia el suelo. El turgor relativo medido en las hojas dio porcentajes muy altos y relativamente constantes durante todo el día en verano e invierno, lo que indicaría que el tamarugo no tiene déficit hídrico en la rizosfera. Esto fue complementado al determinar que los estomas presentan un ritmo invertido de apertura; es decir, se abren preferentemente durante el período obscuro (noche) no presentándose nunca los estomas cerrados o abiertos en un 100%. Las variaciones de apertura estomática muestran una estrecha relación con el porcentaje de humedad relativa; mientras mayor sea ésta, mayor es el porcentaje de estomas abiertos, lo cual se determinó claramente en primavera y verano.
Botti (1970) caracteriza las condiciones hídricas del tamarugo analizando gradientes de potencial y ciertos aspectos fisiológicos de la planta que influyen en el proceso de absorción hídrica. Así trabajando en la localidad de Canchones en la Pampa del Tamarugal concluye: (1) la gradiente de potencial hídrico es inversa, desde la atmósfera hasta el suelo, cuando la humedad relativa de la atmósfera es igual o superior a 95%; (2) los estomas, en un alto porcentaje, permanecen abiertos durante el período luminoso y cerrados en el período obscuro; (3) durante el verano el flujo savial descendente en las noches alcanza 4 a 8 horas y ascendente el resto; (4) el turgor relativo de las hojas presenta un valor muy alto (80% – 90%) y constante a lo largo del día y del año, observándose en la planta de tamarugo un receso fisiológico invernal, fenómeno que se manifiesta por una abundante caida de las hojas resultado de la detención del movimiento savial y la falta de brotación y (5) el suelo cercano a la zona rizosfera activa tiene mayor contenido de humedad (18.8%) que los sectores a igual profundidad que alcanzan 1.5% solamente.

Tamarugos sin podar
1. Recolección de semillas. Se marcan los árboles productores según sus características fenotípicas; se recolectan los frutos procediendo a limpiarlos mecánicamente y luego molerlos en un molino de piedra con 4 mm de separación; después, por cribado y flotación, se obtiene la semilla limpia. Debe prevenirse el daño de insectos antes del almacenamiento de las semillas tratando con Aldrin al 0.2%. Un kilo contiene entre 65.000 y 75.000 semillas. Las semillas se tratan con ácido sulfúrico por siete minutos con el objeto de producir un desgaste de la cutícula y facilitar el intercambio de gases y la penetración del agua por la única abertura-micropilo que tiene la semilla. * Esto produce la rehidratación de los coloides y se inicia el proceso de la germinación.
2. Vivero. En el vivero se prepara una mezcla de suelo y guano de oveja en proporción de 2:1. Se llenan bolsas plásticas, sin agujeros, de 12 cm de diámetro por 30 cm de longitud, las que actúan como macetas. Estas se ubican en platabandas bien niveladas. La siembra se hace con 3–5 semillas por bolsa a una profundidad de 1.5 cm. En cuanto a riego es lo más importante mantener húmeda la parte superficial donde están ubicadas las semillas sin producir acumulación de agua para evitar la infestación de hongos. Previo a la siembra, es conveniente tratar el suelo con fungicidas específicos o fumigantes como el bromuro de metilo (CH3BR) a fin de evitar cualquier patógeno en los inicios del proceso de germinación y primeros estados de desarrollo de las plántulas.
Una vez germinada la semillas y emergida la plántula se riega con mayor cantidad de agua pero con intervalos de tiempo más largos, asegurando el suministro de humedad a la raíz que va creciendo en profundidad. ** Es importante no usar agua en exceso.
La plántula permanece en vivero de 3 a 5 meses, hasta que alcance una estatura de 8–10 cm. Como el desarrollo radicular es rápido y vigoroso hay que evitar que las raíces no pasen o rompan la bolsa de plástico (Lanino, 1972).
3. Plantación. Se realizaron en bloques de 1 km2 que corresponde a 100 hás. Utilizándose los siguientes sistemas de plantación: 10 × 10 m y 15 × 15 m en cuadrado y triangulación.
El hoyo de plantación de unos 30 cm de diámetro por 40 ó 50 cm de profundidad puede hacerse en forma manual o mecánica. En el primer caso pueden tener un diámetro mayor debido al proceso de remoción de las costras salinas superficiales; en el segundo caso se ejecuta la operación con un tractor oruga con pala frontal de diseño especial que deja una especie de trinchera de 80 cm de ancho por 1 m de longitud en su base. Al efectuar esta operación se llega al suelo agrícola o “suelo dulce” como también se le denomina. La profundidad de la taza depende del terreno; generalmente es de 80 cm de diámetro en relación a la profundidad de la costra salina, la cual hay que sobrepasarla antes de hacer el hoyo de plantación. Descubierto el suelo se hace el hoyo de plantación que tiene 30 cm de profundidad por 20 cm de diámetro, haciéndose manualmente o por medio de un barreno hoyador accionado mecánicamente.
Antes de plantar se da un riego de saturación al hoyo de plantación a fin de humedecerlo lo más profundo que se pueda.
4. Riego. Para que las plantas se establezcan normalmente la cantidad de agua de riego debe ser suficiente como para que penetre hasta el sector de las raíces manteniendo húmeda esa zona. El número de riegos de establecimiento según las condiciones del nivel freático y profundidad de la humedad va a variar considerablemente (Lamagdelaine, 1972). En promedio se puede calcular que durante el período de establecimiento se aplican ll riegos. El establecimiento de la planta se caracteriza por la emisión de brotes nuevos y cuando esto sucede, los riegos pueden distanciarse a 20 días uno de otro (Lanino, 1972).
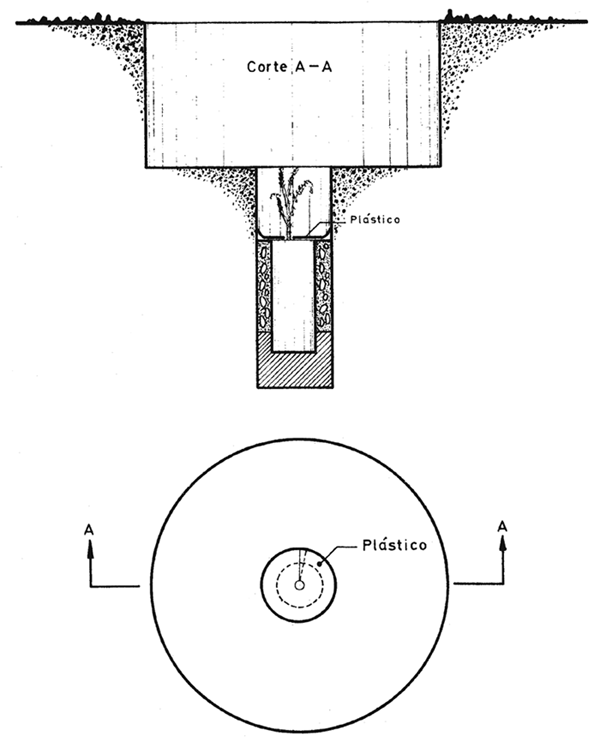
En los costos de plantación uno de los rubros más importantes corresponde al valor de los riegos. Una de las formas de disminuir el número de riegos es reducir la evaporación del agua de riego mediante la utilización de plástico en el hoyo de plantación y otro por medio de un suministro más lento del agua (goteo) que permite un mejor aprovechamiento. Al respecto, Carvallo (1970) * comparó cuatro tratamientos orientados a disminuir el número de riegos: 1) bolsa sellada, consistente en sellar la bolsa de polietileno, que sirve de maceta, a la altura del cuello de la planta; 2) cubrimiento del hoyo de plantación con una lámina de polietileno de 40 cm × 40 cm y 0.06 mm de espesor con perforaciones en la parte central sujeto con trozos de sal 3) lámina de polietileno al cuello de la planta, colocando una lámina de 25 cm × 25 cm y 0.06 mm de espesor dentro del hoyo de plantación a la altura del cuello de la planta, haciendo un corte radial para acomodarlo y cubriendo con tierra; 4) bolsa con agua de suministro lento del agua con dos variaciones: 4.1) bolsa con pequeño orificio en un extremo por donde sale el agua gota a gota y 4.2) en el extremo de la bolsa la perforación lleva una mecha que deja en contacto con el cuello de la planta y que no forma goteo sino que mantiene humedad constante a través de la mecha y 5) testigo, plantado en las condiciones usuales. Los riegos en los primeros 3 tratamientos se realizaron con 5 lts cada 10, 20 y 30 días y las láminas de plástico fueron retiradas a los 30 y 90 días. El autor concluye que no existen diferencias entre los tratamientos con respecto a la supervivencia de las plantas de tamarugo; tampoco existen diferencias significativas entre los calendarios de riego, es decir, que se podría regar cada 30 días; tampoco hay efecto en la permanencia del plástico y las bolsas de agua con goteo y distribución por mecha. Finalmente, el autor recomienda cambiar la frecuencia de riego a cada 20 días, lo que significa un 50% del costo de la faena de riego.
DIAGRAMA DEL HOYO DE PLANTACION.

DIAGRAMA DE COLOCACION DEL PLASTICO AL CUELLO DE LA PLANTA.

DIAGRAMA DE COLOCACION DEL PLASTICO EN FORMA DE TECHO



Plantación de tamarugo perforando la cubierta salina.
DIAGRAMA DE LA COLOCACION DE LA BOLSA CON AGUA.



Poda del Tamarugo para que pueda penetrar el ganado a la base de los árboles.
* Esta práctica puede reemplazarse por un escarificado.
** Indispensable inocular cuando no in-situ.
* Ver Láminas en páginas 41, 42, 43, 44 y 45
Las actividades de formación del bosque no terminan cuando las plántulas han arraigado y se suspenden los riegos. Debido al crecimiento abundante de las ramas basales y la presencia de espinas en aquellas, se hace necesario efectuar poda de éstas cuando el árbol cumple entre 4 y 6 años, pues las ramas dificultan el acceso de los animales al forraje.
La poda se hace manualmente, usando un rozón. Las ramas se eliminan o se cortan tomando en cuenta la altura conveniente para que puedan penetrar los animales. Las ramas luego se amontonan y pueden ser utilizadas para construir las cercas divisorias de los potreros.
Los antecedentes que se tienen de la capacidad forrajera del tamarugo son escasos y variables, exceptuando un informe de Elgueta y Calderón (1970). La característica general que se observa en este árbol es la gran variabilidad individual en cuanto a producción de forraje que existe entre árboles vecinos de la misma edad. Este aspecto es común para aquellas especies propagadas por semillas y, más aún, si se considera que la variabilidad aumenta por ser la Pampa del Tamarugal el más probable centro de origen de esta especie. (Klein, 1970).


Vistas aéreas de partes del bosque plantado por la Corporación de Fomento en el fundo Refresco. Pampa del Tamarugal.
Con el objeto de evaluar el rendimiento de frutos Klein (1970) sin considerar la hojarasca - en diversos sectores del bosque adulto cosechó en forma total y parcial 42 árboles de las secciones No1 y No3 del bosque de Junoy que fueron plantados cerca de 1930, a una distancia de 20 m × 20 m en cuadrado. Un sector fue tratado una vez con Endosulfan y otro permaneció sin tratamiento. La cosecha parcial se realizó a través de 8 canaletas de 1 m2 de superficie colocándolas en forma radial respecto al tronco. La cosecha total se realizó barriendo el suelo y recogiendo todo el material para seleccionarlo después. Se tomaron todas las características del árbol (radio, altura promedio, número de fustes en cada hoyo, número de fustes a 1 m de altura y diámetro, tipo de copa, número de ramas rastreras, tipo de fruto, distribución del fruto en el área de copa y sanidad general). En el laboratorio se estudiaron muestras de 100 frutos de cada árbol cosechado observando los parámetros siguientes: volumen, peso y sanidad. En este aspecto se consideró el tipo de daño presente y su causante, entre los que destacaron la palomilla violeta (Leptotes trigemmatus, Butler) y la polilla del fruto (Cryptophlebia carpophagoides, Clarke) y además el daño producido por el ratón pampino.
En la evaluación de daños Klein toma en consideración la enorme variabilidad de los rendimientos de fruto en relación a los datos relativamente homogéneos del área de copa.
Si se considera el promedio de las observaciones efectuadas resultan 57.361 kg. de fruto la media de rendimiento de tamarugos adultos con una pulverización química. Esta cifra equivale, en promedio, a un rendimiento de 0.508 kg por metro cuadrado de área de copa, cifra muy inferior a la estimada por Oyarzún (1967) y otros autores.
En cuanto al método empleado Klein (1970) compara el peso total de fruto cosechado (real) con el peso de fruto calculado (Cuadro 19), para lo cual utilizó 9 canaletas (bandejas corrugadas) por cada árbol para la recolección de frutos.
CUADRO 9. Validez del método de cosecha parcial usado para evaluar el rendimiento de fruto en tamarugo.
| Clave del árbol | Peso fruto total (real) cosechado (kg) | Peso fruto calculado (kg) | Diferencia entre valor real y calculado | |
| 13 Z | 141.48 | 133.50 | + | 7.98 |
| 17 Z | 63.36 | 65.04 | - | 1.48 |
| 19 Z | 98.37 | 105.92 | - | 7.55 |
| 22 Z | 54.33 | 56.96 | - | 2.63 |
| 23 Z | 27.90 | 26.37 | + | 1.53 |
| 26 Z | 123.90 | 97.77 | + | 26.13 |
| 28 Z | 49.56 | 45.83 | + | 3.63 |
| 30 Z | 46.11 | 45.28 | + | 0.83 |
| 31 Z | 41.55 | 43.75 | - | 2.70 |
| 646 | 620.76 | + | 26.34 | |
La relación entre el porcentaje de fruto dañado por insectos y el peso de 100 frutos también fue estudiada, estableciendo las relaciones que pueden observarse en el Cuadro 10.
CUADRO 10. Relación entre el porcentaje del fruto maduro dañado y el peso (Klein, 1970)
| Clave del árbol | Fruto dañado % | Peso de 100 frutos gr. | Volumen de 100 frutos cm3 |
| 11 Z | 42.8 | 89.70 | 225 |
| 12 Z | 21.5 | 77.77 | 225 |
| 13 Z | 22.0 | 71.26 | 225 |
| 14 Z | 28.8 | 80.81 | 250 |
| 15 Z | 28.8 | 67.88 | 225 |
| 17 Z | 45.4 | 70.30 | 200 |
| 18 Z | 65.6 | 70.66 | 225 |
| 19 Z | 39.7 | 92.95 | 300 |
| 20 Z | 57.0 | 68.16 | 250 |
| 21 Z | 46.7 | 70.53 | 225 |
| 22 Z | 49.6 | 101.80 | 325 |
| 23 Z | 43.0 | 80.14 | 250 |
| 24 Z | 15.0 | 55.14 | 175 |
| 25 Z | 38.0 | 63.26 | 225 |
| 26 Z | 33.3 | 75.44 | 250 |
| 27 Z | 37.3 | 96.20 | 325 |
| 28 Z | 70.7 | 95.20 | 300 |
| 29 Z | 38.1 | 86.08 | 275 |
| 30 Z | 24.0 | 64.20 | 200 |
| 31 Z | 47.7 | 92.56 | 275 |
| Promedio | 39.75 | 78.5 | 247 |
Observaciones interesantes resultan al analizar los resultados:
A pesar de la pulverización con Endosulfan, de cada 100 frutos 39 aparecen dañados preferentemente por la polilla del fruto (Cryptophlebia carpophagoides);
A pesar del daño, la incidencia en el peso total del fruto no parece ser muy significativa;
Es importante destacar que, a pesar de que no se observa una relación directa entre el peso del fruto y el ataque de insectos, las plagas que afectan al fruto producen una pérdida fuerte en los primeros estados de desarrollo del fruto, o sea, recién comenzada la cuaja; y
El menor ataque de insectos al fruto se produjo en un árbol productor de vainas pequeñas.
Comparando los datos obtenidos en el sector que no fue pulverizado se concluye:
El rendimiento de frutos de tamarugo está estrechamente relacionado con la variabilidad individual que presenta la especie. Es indispensable determinar si se debe a formas dentro de la especie o a ecotipos definidos.
El ataque de insectos tiene incidencia en el rendimiento de fruto. Así en el sector donde se aplicó Endosulfan se observó un crecimiento de 31.2%.
No se aprecia claramente la existencia de resistencia individual en cuanto a ataque de insectos. El hecho que árboles productores de fruto pequeño a mediano presentan ataque más reducido al fruto, no indica necesariamente que exista resistencia.
Los datos difieren con aquellos presentados por Elgueta y Calderon (1970) para el año 1969, de acuerdo al Cuadro 11.
CUADRO 11. Comparación entre los valores obtenidos por el Instituto Forestal (Elgueta y Calderon, 1970) y Klein (1970) en rendimiento de fruto de tamarugo.
| PARAMETROS | VALORES Instituto Forestal | KLEIN (tratado con Endosulfan) | KLEIN (no tratado) |
| Temporada | 1969 | 1970 | 1970 |
| No de árboles observados | 9 | 20 | 22 |
| Sistema de colección | 9–12 bandejas de 1 m2 en el área de la copa | 8 canaletas*de 1 m2 cosecha total | 8 canaletas * de 1 m2 cosecha total |
| Promedio kg/m2 fruto área copa | 0.781 | 0.508 | 0.387 |
| Promedio rendimiento de fruto por árbol (kg) | 91.45 | 57.36 | 49.88 |
El conocimiento de los artrópodos fitófagos asociados al follaje, ramillas, flores y frutos del tamarugo y, especialmente, sus enemigos naturales y polinizadores nativos o introducidos, constituyen uno de los aspectos importantes en el funcionamiento y manejo a largo plazo del ecosistema. El complejo entomólogico del tamarugo ha sido revisado por Klein y Campos (1977), autores que dividen este complejo en cinco grupos de acuerdo al rol dañino o benéfico que juegan las distintas especies: (1) Insectos y ácaros del follaje; (2) Insectos que destruyen la inflorescencia; (3) Insectos que dañan el fruto y la semilla; (4) Polinizadores naturales y (5) Polinizadores introducidos. La información que se presenta ha sido principalmente extraida de esos autores.
Leptotes trigemmatus Butler (Lepidoptera: Lycaenidae) “Palomilla violeta”. En el Norte de Chile se encuentra distribuida en todos los valles y quebradas donde se cultiva alfalfa, oasis piemontanos y toda la Pampa del Tamarugal hasta su límite en el valle de Quillagua. Los huéspedes principales: alfalfa, (Medicago sativa); tamarugo; algarrobo (Prosopis chilensis); “fortuna” (Prosopis strombulífera); tamarugo argentino (Prosopis burkartii) y remata (Cressa cretica). Se han observado adultos de este insecto alimentándose de flores de brea (Tessaria absinthioides) y eucaliptus (Eucaliptus sp.). El daño lo produce la larva, lo que alcanza un mayor significado sólo en viveros y en plántulas recién transplantadas. En plantas jóvenes y vigorosas se producen nuevos brotes secundarios que generalmente logran escapar a un nuevo ataque. El daño se caracteriza por una perforación circular que atraviesa el folíolo provocando una necrosis parcial. Practica un solo orificio por folíolo. Una vez completado el desarrollo la larva desciende para pupar preferentemente en el suelo bajo las costras de sal o bajo la corteza suelta, donde pueden encontrarse en gran cantidad durante los meses de octubre y noviembre. La población baja notablemente apenas comienza la maduración del fruto en el mes de diciembre y sólo se observa un rebrote con características de plaga en la floración secundaria de invierno. Probablemente se produce una migración masiva del adulto desde los alfalfares de los valles de cordillera hacia la Pampa apenas iniciada la brotación y floración de los Prosopis en septiembre, lo que explicaría la alta tasa poblacional inicial de la plaga.
En cuanto a los enemigos naturales existe un débil parasitismo de los huevos causado por el microhymenóptero Uscama sp. Los huevos parasitados se tornan de un color gris obscuro. Un depredador importante de huevos es el mírido (Rhinacloa aricana) Carvalho (Hemiptera: Miridae) que se encuentra en altas poblaciones tanto en las plantaciones nuevas como en los tamarugos adultos.
Tephrinopsis memor Dognin (Lepidoptera: Geometridae), “gusano medidor”. Este geométrido se encuentra ampliamente distribuido en la Pampa del Tamarugal especialmente en el tamarugo, aun cuando se han observado larvas alimentándose también de algarrobo. La larva en los primeros estadios es de color verde-amarillento para tomar posteriormente tonalidades de verde más obscuro con franjas amarillas; en el último estadio la larva mide 2.4 cm de longitud y son voraces consumidores de inflorescencia - donde causan el mayor daño - y hojas tanto en tamarugo como en algarrobo. En cuanto al control natural en algunos bosques, avispas del género Polystes predan sobre los estados larvales más desarrollados del geométrido.
“Pegador” de hojas. Un microlepidóptero no identificado distribuido ampliamente en el noroeste de Argentina en Prosopis alba, P. nigra en la zona fitogeográfica conocida con el nombre de El Monte. En la Pampa se encuentra bien distribuido en tamarugos y algarrobos. La larva en su mayor desarrollo mide hasta 3.8 mm y 2.8 mm de ancho y es de color amarillo-anaranjado y reacciona su cuerpo con convulsiones. La desfoliación puede ser muy intensa provocando daños especialmente en árboles jóvenes.
Hemiberlesia rapax (Comst.). (Homoptera: Diaspididae). Se trata de una conchuela distribuida de Arica a Llanquihue; este diaspídido ataca troncos y ramas pero no presenta mayor importancia económica. Se encuentra parasitado por varios endoparásitos.
Heteropysylla texana. Craw. (Homoptera: Psyllidae). Se encuentra ocasionalmente en el follaje e inflorescencia del tamarugo sin producir daños de consideración. En el algarrobo es un problema serio por la desfoliación y la formación de agallas que produce en las ramillas; el mayor daño lo produce al abortar las flores, la marchitez del ápice de crecimiento y la abundante secreción azucarada.
Aphis sp. (Homoptera: Aphididae). Se conoce como pulgón del tamarugo, color café obscuro y ataca los brotes jóvenes de la planta. El daño reviste importancia sólo en los viveros durante la primavera. Se encuentra bien controlado por predatores (crisopas y sírfidos) y por un parásito no identificado.
Cecidómido (Diptera: Cecidomydae). Especie no identificada. Se encuentra distribuido en todo el Norte Grande asociado con Prosopis; lo mismo se puede encontrar asociado en el noroeste argentino en plantas del mismo género. Los huevos son anaranjados de 0.12 mm de ancho por 0.8 mm de largo y de corion liso y brillante. Las larvas en su último estadio alcanzan 1.3 mm de longitud. Los adultos son de apariencia muy delicada; el macho es de color café obscuro a negro y la hembra presenta un color naranja a rojo intenso. Inmediatamente después de la eclosión de los huevos, las larvas insertan su aparato bucal en un punto determinado del tejido foliar y no cambia su posición hasta el último estadio larvatorio cuando se descuelga para pupar en el suelo. El daño producido se caracteriza por una mancha circular de color verde pálido de reborte clorótico donde la larva queda insertada; se producen desfoliaciones cuya intensidad varía con la época del año. Esta especie también ataca al algarrobo produciendo fuertes desfoliaciones especialmente a comienzos del perído estival (enero).
Dos microhimenópteros: Platygaster luctuosa (Hymenoptera: Platygasteridae) y Diglyplus sp. (Hymenoptera: Eulophidae), parasitan los estados larvales y pupas del cecidómico. En los meses de octubre y noviembre se observan otros enemigos naturales como Crysopa sp. predando sobre diferentes estados de desarrollo larvario de la plaga.
Eriophyes tamarugae (Wilson). (Acarina: Eriophydae). Erinosis del tamarugo. Se encuentra asociado al tamarugo en todos los salares de la Pampa del Tamarugal. La hembra del eriófido mide 180–220 micrones de largo por 48 micrones de ancho (Wilson, 1968). Los daños se manifiestan principalmente en el follaje de las plántulas en los viveros y en árboles adultos. El folíolo atacado se enrolla, engruesa y distorsiona creciendo en forma anormal. El color varía paulatinamente de amarillo a café obscuro hasta que cae al suelo la hoja. En cuanto al control natural, algunos neurópteros de la familia Hemerobidae ejercen acción. Sin embargo, el enemigo natural más importante es el ácarido Agistemus collyerae González (Acarina: Stigmaeidae) que se encuentra en los folíodos plegados alimentándose de adultos del eriófido.
Ithome sp. (lepidoptera: Walshiidae). “Polilla de la flor”. Se encuentra ampliamente distribuido en la Pampa del Tamarugal en todos los sectores donde prospera el tamarugo y Prosopis burkartii; sin embargo, no se ha encontrado afectando inflorescencia del algarrobo.
El adulto es de color negro grisáceo aterciopelado; en reposo alcanza hasta 5.3 mm de largo por 1.3 mm de ancho. Los huevos, algo cilíndricos, varían 0.38 mm de largo por 0.15 mm de ancho. Las larvas al nacer son pequeñas y miden 1 mm de longitud y son de color blanquecino con la cápsula cefálica de color café obscuro. Los últimos estadios larvarios miden 5.3 mm de largo y se tornan de color amarillento con manchas dorsales color ocre. La pupa es amarillenta y va cambiando a café obscuro cuando se acerca la emergencia del adulto 2.5 mm hasta 3.8 mm de largo por 0.8 mm de ancho en la parte media. La hembra oviposita en los botones florales de tamarugo a una profundidad de 0.5 mm. El huevo, al parecer, necesita un ambiente de alta humedad para desarrollarse normalmente. En flores abiertas no se han encontrado huevos. La larva recién nacida se alimenta preferentemente de la base del pistilo y después los estambres. A medida que la larva se va desarrollando va pasando de un botón floral (o florecilla abierta) a otro, perforando un pequeño tunel hacia el botón adyacente. Se pueden encontrar así entre 9 a 20 botones florales pegados unos a otros, destruyéndose el raquis a través de galerías, impidiendo la circulación de la savia lo que ocasiona posteriormente la marchitez y caida de las florecillas sin que éstas presenten daño aparente. Los daños producidos en la floración principal pueden estimarse en 20% – 40% de la floración total. No se han encontrado enemigos naturales.
Leptotes trigemmatus Butler. Desde sus primeros estadios la larva perfora el botón floral o flor abierta, para introducir la cabeza y protorax a nivel de los pétalos. Cuando se trata de botones sin abrir la larva consume prácticamente todo su interior y en el caso de las inflorescencias abiertas, destruye la base del pistilo (ovario), pudiendo ser completa la destrucción de la flor.
Tephrinopsis memor Dognin (Lepidoptera: Geometridae). El daño se encuentra en las florecillas abiertas destruyendo parcialmente los estambres, estilo y estigma y la parte superior de los pétalos, que aparecen con los bordes superiores comidos en un 30% a 50%, comprometiendo, generalmente, más de la mitad de la inflorescencia. El ataque se produce cuando la floración está avanzada.
Franhiniella rodeos Moult. (Thysanoptera: Tripidae). “Trips del tamarugo”. Son muy abundantes en la inflorescencia, especialmente desde que abren los botones florales. Los daños lo producen en la parte superior de los pétalos que aparecen con los bordes marchitos y necrosados. No se han evaluado los daños a pesar de las grandes poblaciones que se encuentran de septiembre en adelante.
Crytophlebia carpophagoides Clarke. (Lepidoptera: Olethreutidae). “Polilla del fruto”. Se encuentra en toda la Pampa del Tamarugal, valle de Lluta y valle de Azapa. El adulto es una polilla de color gris pálido con manchas de color metálico o negro sobre la superficie superior de las alas anteriores, muy semejante a la polilla de la manzana. Mide 10–11 mm de largo y tiene una expansión alar entre 25–26 mm. La larva es de color blanco con una cápsula cefálica de color negro que cambia a café. Las larvas recién nacidas penetran al fruto donde se alimentan de la semilla. Emergen por un orificio irregular característico para pasar a otra legumbre. Una vez completado su desarrollo larvario migran hacia lugares protegidos, generalmente corteza suelta del árbol. Los adultos comienzan a aparecer a fines de septiembre produciéndose la más alta densidad en el mes de octubre para mantenerse a niveles más bajos desde noviembre a diciembre coincidente. El mayor daño se produce en los frutos con escaso desarrollo donde puede destruir el racimo, alcanzando 17.4% de frutos dañados en ensayos realizados por Klein y Campos (1977). Se estima que el daño puede alcanzar hasta un 30%.
En cuanto a enemigos naturales el estado invernante presenta diversos parásitos del orden Hymenoptera: Dibrachys cavus (Walker), Bracon hebetor Say y Periossocentrus sp. Se puede estimar un parasitismo del orden 25% – 30% de larvas invernantes de la polilla del fruto.
Leptotes trigemmatus Butler (Lepidoptera). También ataca al fruto del tamarugo, especialmente en sus primeras etapas de desarrollo, produciendo la caida del fruto. Por lo general, las legumbres afectadas detienen su crecimiento y toman un color verde obscuro para deshidratarse y caer finalmente.
Scutobruchus gastoi Kingsolver (Coleoptera: Bruchidae). “Bruco del tamarugo”. Esta especie de brúquido es endémica de la Pampa del Tamarugal. Los adultos miden 2.2 mm de largo y emergen de las vainas maduras dejando orificios de más o menos 1 mm de diámetro muy semejantes a los que deja la palomilla violeta. Los individuos de la última generación pasan el invierno en los frutos del suelo, emergiendo en gran número la temporada siguiente en el momento de la floración.
(4) Insectos polinizadores
Pese a que las especies de tamarugos cuentan con polinización anemófila tanto abierta como cerrada, la participación entomófila parece ser importante para lograr una buena fructificación.
Existe la posibilidad de desarrollar la apicultura debido a la gran cantidad de flores ricas en néctar; sin embargo, esta posibilidad se ve limitada por las restricciones de clima, período de floración y ausencia de otra flora melífera. (Klein y Campos, 1977; Rolando, N., 1974).
La abeja solitaria Centrix mixta Friese desempeña el papel más importante en la polinización no sólo del tamarugo sino que de las demás especies de Prosopis. Construye sus nidos en el suelo salino a través de túneles cementados, consistentes. Los adultos comienzan a aparecer aproximadamente a mediados de agosto coincidiendo con el inicio de la floración del tamarugo, chañares (Gourliea decorticans) y citrus de los oasis. Cesan su actividad con el término de la floración que se produce a fines de noviembre. En invierno, cuando se produce una segunda floración, no se encuentran las abejas solitarias.
(6) Polinizadores introducidos
La abeja doméstica Apis mellifera fue ensayada con el objeto de mejorar la polinización y obtener un ingreso adicional. La especie tuvo excelente adaptación ecológica y en cuanto a la miel su calidad y cantidad (color y sabor) permiten deducir alguna forma de estimular el desarrollo de esta actividad.
Sin embargo, la concentración de la floración en tres meses trae consigo la necesidad de alimentar a las familias en forma artificial; aunque con un manejo adecuado y el traslado a los valles precordilleranos podrían balancearse estos requerimientos sin mayor costo que el traslado.
Cadahia (1970) presenta un calendario biológico de las principales plagas que afectan al tamarugo durante el período vegetativo, porcentaje del daño producido en los frutos y momento más recomendable para efectuar los tratamientos. (Cuadro 12).
Las tres especies consideradas de mayor importancia son “la polilla de la flor”, la “palomilla violeta” y la “polilla del fruto”. Las dos primeras presentan varias generaciones en la época crítica; en cambio, se cree que Cryptophlebia carpophagoides Clarke sólo tiene una generación ya que se observa que sus larvas después del último estado larvario pasan a un estado de diapausa que dura hasta el inicio de la próxima temporada. El daño de la inflorescencia causado por la polilla de la flor y la palomilla violeta es muy importante y puede alcanzar hasta sobre un 52% según León (1974).
CUADRO 12. Estudios biológicos de las principales plagas que afectan al tamarugo durante el período vegetativo, porcentaje del daño producido en los frutos y momento recomendable para los tratamientos de control (CADAHIA, 1970)

Leyenda
\\\\ período vulnerable para la producción de frutos
a adultos
qa adultos en reposo
h huevos
l larvas
lp larvas en diapausa
p pupas
ps pupas en el suelo
máxima población de adultos
Con el objeto de controlar los insectos que afectan al tamarugo León (1974) realizó un ensayo en el norte del Salar de Pintados con el objeto de comparar formulaciones de insecticidas emulsibles y en polvo sobre las tres especies más importantes que afectan a las flores y frutos del tamarugo. Como conclusión, los tratamientos con Endosulfan al 4% fueron estadísticamente superiores ya que se obtuvo el más alto porcentaje sano, aunque el rendimiento de frutos maduros fue similar a Endosulfan 35% E; además el menor tiempo de aplicación con los productos en polvo, diez veces superior, que el producto emulsible empleado, hace más recomendable su uso.
Experiencias anteriores realizadas por Klein (1969) indican que los mejores tratamientos fueron con Endosulfan E.C. 0.07% de ingrediente activo y Endosulfan W.P. 0.5% ingrediente activo, con un relevante aumento de los rendimientos en 45.1% y 100%, respectivamente. Además estudió el rendimiento potencial del fruto en tamarugo prescindiendo de la incidencia de las plagas. Las épocas de aplicación fueron: brotación, floración y formación de frutos con Endosulfan W.P. 0.5% ingrediente activo y metil paration 0.43% ingrediente activo, aplicado el primer insecticida el 12 de febrero, 6 de noviembre y 26 de noviembre, y el segundo el 10 de diciembre una vez comprobada la desaparición del polinizador Centrix mixta. Los resultados indicaron un aumento de 210 kg a 427 kg para dos árboles. En cuanto a los medios de aplicación se compararon tratamientos aéreos y terrestres con Endosulfan Emulsionado al 5% ingrediente activo en Gasoil. Los resultados indican mayor eficiencia en los tratamientos terrestres con 100% y 30% para el tratamiento aéreo. Este último tratamiento afectó a la abeja Centrix mixta.
El área donde se extiende esta gran unidad del desierto con sólo una alianza florística básica es muy pobre desde el punto de vista vegetacional y florístico. Sus unidades no representan una asociación determinada, pues las plantas que accidentalmente pueden encontrarse en ella, son algunas de las más fuertemente xerófitas de la zona. Es así como no se puede distinguir realmente una alianza ni fidelidad fitosociológica.
A veces se encuentra una cubierta muy abierta, pobre de arbustos y hierbas perennes, marcando el curso de corrientes subterráneas que fluyen a través de quebradillas superficialmente secas. Estas pueden o no llevar aguas corrientes durante los años accidentalmente lluviosos y por lo común, existe en esos sectores un subsuelo ligeramente más húmedo que en otras partes del desierto.
La comunidad vegetal actual es relativamente homogénea y está formada de muy pocas especies, encontrándose mayor variabilidad en donde la napa de agua subterránea es más superficial. Existen asociadas al tamarugo las siguientes especies: Prosopis strombulifera (Lam) Benth conocido como “fortuna”; Prosopis burkartii Muñoz, tamarugo argentino; Tessaria absinthioides DC, brea; Distichlis spicata “grama salada”; Cressa cretica L., retama; Atriplex spp., “pillaya”; Euphorbia tarapacana Phil. y Tagetea minuta L. Además en esta zona existen Prosopis chilensis Mol. algarrobo, el cual ha sido probablemente introducido. (León, 1974). Sólo en pequeños sectores que bordean los salares se encuentran especies de Atriplex, Chenopodium y Distichlis; que prosperan en promontorios arenosos, productos de la erosión eólica.
La población faunística asociada a las formaciones vegetales donde se encuentra su habitat y nichos, utiliza a éstos como territorios para conseguir su alimento o territorio de caza. En este ecosistema, la limitante ecológica es sin duda el agua, la que regula en gran medida la distribución y tipo de fauna que cohabita en este ambiente. Esta limitante ha enmarcado a la fauna silvestre en sectores bien determinados, lo que ha llevado al hombre a una explotación indiscriminada, lo que ha causado el exterminio de muchas especies interesantes para el hombre, reduciendo las poblaciones hasta tal grado que muchas de ellas están en franca extinción (Iren, 1976).
El factor de aridez limita fuertemente el desarrollo de una fauna de relativa importancia. Sin embargo, en los sectores en que hay disponibilidad de aguas corrientes o subterráneas y aquellas en las cuales existe influencia de camanchacas se desarrollan bosques abiertos de especies arbóreas que proveen alimento a los consumidores primarios del ecosistema y protección adecuada (Iren, 1976).
(1) Reptiles orden escamosos
Phrynosaura reichei. Conocido como lagarto que se presenta con una densidad poblacional muy baja, habitando en un medio muy adverso en cuanto a la falta de humedad, por lo cual su única fuente de alimentación la constituyen los artrópodos que llegan hasta el lugar por medio del viento. La mayor parte del día lo pasa oculto bajo las costras salinas para evitar una excesiva desecación.
Tropidurus tarapacensis. Conocido como “lagarto del desierto” que se encuentra en ambientes muy determinados por la vegetación de los tamarugos o bien en sectores más dinámicos como son los villorios estaciones de ferrocarriles.
(2) Mamíferos. Orden carnívoros
Dysicyon culpaeus. Conocido como “Culpeo” es el chacal - culpeo del norte, abundante desde la costa al altiplano y tiene hábito nocturno de preferencia. Recorre grandes distancias en busca de fauna de pequeño tamaño.
Dusicyon griseus domeikoaneus. Conocido como “Chilla” es bastante raro observarlo en la zona de los tamarugos. Es más abundante y frecuente en los valles.
Galictis cuya. Conocido como “Quique” es un pequeño hurón, de hábitos diurnos que recorre su territorio con su familia en ordenadas filas. Preda principalmente ratas y ratones y pequeñas aves. Es el animal más característico de la Pampa del Tamarugal pues se encuentra bien adaptado ecológicamente.
(3) Orden roedores
Ctenomys robustus. Conocido como “tuco-tuco”, roedor altamente especializado para la vida subterránea. Se alimenta de raícillas e insectos. Posee una membrana supranasal que permite cerrar los ollares y, además, dientes pequeños y fuertes en forma de cincel que le permiten cavar con profundidad.
Phyllotis darwini rupestris. Conocido como “lauchón” que convive en la Pampa del Tamarugal con un pequeño roedor afin, Akodon andinus dolichonix. Está aclimatado a todo el país. Se alimenta de larvas de artrópodos y residuos vegetales.
Como resultado de la revisión de antecedentes existentes para la fauna silvestre de la Pampa del Tamarugal se deduce que la dispersión de aquella se ha concentrado y reducido en superficie por acción antrópica incontrolada a través de la caza y persecución y la introducción del herbívoro doméstico (Iren, 1976).
La avifauna del desierto es menos rica que la de otros vertebrados pero notablemente inferior a la de los artrópodos. En la Pampa del Tamarugal es particularmente escasa debido a que su existencia está condicionada por la presencia del agua de bebida (Donoso, 1967).

P. tamarugo de cuatro años compitiendo con la especie nativa Atriplex atacamensis en el Salar de San Pedro de Atacama. Marzo, 1978