par
| P. Vincke | C. Nugent |
| Expert Associé - Biologie | Expert FAO - Formation et |
| Piscicole | Vulgarisation |
et
J.C.V. Arrignon
Directeur FAO du Projet
Développement de la Pêche et de la Pisciculture en Côte-d'Ivoire
B.P. 494
Bouaké, Côte-d-Ivoire
Résumé |
| Quatre types de cages de dimensions différentes mais d'un volume de 20 m3 sont décrites avec mention de tous les détails technologiques concernant les fournitures, le montage, l'installation et le prix de revient. |
| Chaque cage est constituée par une poche de filet sans noeuds, montée sur un cadre de bois supporté par des flotteurs. La construction fait appel à des matériaux locaux. |
| Il est également fait mention des mises en charge recommandées, de la nature et de la distribution des rations alimentaires ainsi que des rendements observés. |
Abstract |
| Four models of floating cage are described giving details of material used, assembly, installation and cost. Each model is of 20 m3 but with different dimensions. |
| Each cage consists of a net made from knotless nylon, suspended from a wooden frame with plastic drums for flotation. Only materials available locally, in Ivory Coast, are used for the construction. |
| Also discussed are stocking rates, feeding regime and possible yields that can be obtained. |
Les cages décrites ci-après sont inspirées du type de cage utilisé à Kossou par l'AVB1 (Campbell, 1978). On a également tenu compte des expérimentations faites par le CTFT2 en lagunes côtières (Magnet, 1980).
L'objectif est de mettre au point des cages d'élevage robustes, coûtant le moins cher possible, utilisant au maximum les matériaux locaux, aisément maniables et exploitables par les aquiculteurs ruraux.
Cette mise au point a été faite dans le cadre du développement de la pèche, de la pisciculture, de l'aquaculture en Côte-d'Ivoire par le Projet PNUD/FAO/MINEFOR/IVC/77/003.
Deux types de cages sont considérés suivant les caractéristiques limnologiques des plans d'eau supportant les cages:
un type de cage offrant une grande surface d'échange à l'interface air/eau et une faible profondeur (300 × 400 × 185 cm);
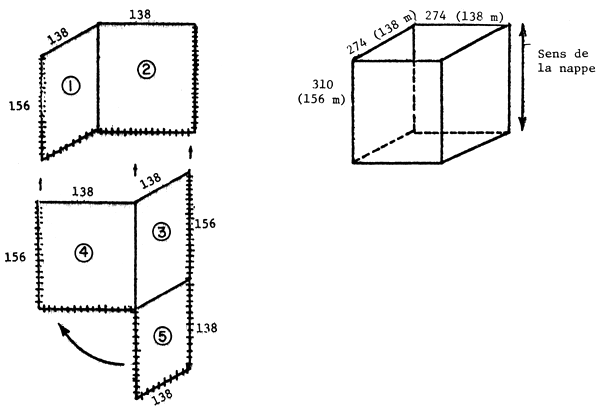
un autre type offrant une faible surface d'échange et une grande profondeur (275 × 275 × 310 cm).
Le premier type est utilisable dans les plans d'eau peu oxygénés en profondeur et à forte turbidité.
Le second type est utilisable dans les plans d'eau encore bien oxygénés 4 m en dessous du niveau de l'eau et à faible turbidité.
Deux types de filets sont utilisés afin d'en tester la solidité et la durée de vie (filet sans noeud = maille 14 mm, fil 210/18 ou 210/48). La différence entre les deux types de filets est la grosseur du fil (120/18 et 210/48) rendant le filet en fil 210/48 deux fois plus lourd que le filet en 210/18.
Nous avons donc construit 4 types de cages:
type 1: dimensions 275 × 275 × 310 cm filet sans noeud, maille 14 mm, fil 210/18
type 2: dimensions 300 × 400 × 185 cm filet sans noeud, maille 14 mm, fil 210/18
type 3: dimensions 275 × 275 × 310 cm filet sans noeud, maille 14 mm, fil 210/48
type 4: dimensions 300 × 400 × 185 cm filet sans noeud, maille 14 mm, fil 210/48
Le montage des filets en 210/18 se fait à 50 %, c'est-à-dire qu'une nappe de 100 m (mailles étirées) est montée sur une ralingue de 50 m.
Le montage des filets en 210/48 se fait à 71 %, c'est-à-dire que la nappe de 100 m (mailles étirées) est montée sur une ralingue de 71 m.
Ces différents montages permettent une plus grande solidité car les tractions sont réparties sur plusieurs mailles.
1 AVB = Autorité pour l'Aménagement du Bandama
2 CTFT = Centre Technique des Forêts Tropicales
Le cadre soutenant la cage (poche de filet) est constitué d'une armature de chevrons de bois blanc (Samba) de section 6 × 8 cm ou 8 × 8 cm suivant la disponibilité sur le marché.
Les flotteurs sont des fûts en plastique de 60 1, disponibles sur le marché local ou aux usines de filatures et tissages de Gonfreville/Bouaké.
L'assemblage est exécuté suivant les figures 1, 2 et 4.
Les montants du cadre en bois sont maintenus entre eux à l'aide de boulons de Æ 12 mm et de longueur 140 mm. Les montants sont montés les uns sur les autres et non assemblés par mortaises, ce qui permet une plus grande solidité (figure 4).
Le maintien du filet sur le cadre se fait avec des pitons à vis placés tous les 30–40 cm.
Les fûts en plastique sont fixés sur le cadre à l'aide de cordes en nylon ou en polypropilène (figure 4).
Cage No 1
La découpe de la nappe de filet en fil 210/18 se fait selon la figure 6, afin de perdre le minimum de filet.
Si le montage se fait à 50 %, la maille a la forme d'un losange dont les dimensions sont les suivantes:
côte = c = 14 mm petite diagonale = c = 14 mm grande diagonale = cV3 = 24 mm
Sachant que l'on monte le filet dans le sens de la nappe sur la hauteur de la cage, et dans le contresens sur les autres dimensions de la cage, il faut tenir compte de la forme de la maille qui est un losange avec des diagonales différentes.
Côte à 275 cm (contresens du filet)
• nombre de mailles =
= env. 196 mailles
| • armements1 | 19 fois 14 cm avec 10 mailles |
| 1 fois 8 cm avec 6 mailles |
Côté à 310 cm (sens du filet)
• nombre de mailles =
= env. 130 mailles
| • armements | 25 fois 12 cm avec 5 mailles |
| 1 fois 10 cm avec 5 mailles |


Figure 1 Assemblage du cadre - cage types 1 et 3

Figure 2 Assemblage du cadre - cage types 2 et 4

Figure 3 Coupe transversale d'une cage


Montage d'un flotteur

Figure 4 Détails sur l'assemblage du cadre

A. Fixation du filet sur la ralingue par armements

B. Fixation du fil sur la ralingue
Figure 5 Fixations


Figure 6 Découpe de la nappe de filet 210/18 pour le montage de la cage (1)
Pour le fond, il faut tenir compte aussi du sens de la nappe car pour une même longueur le nombre de mailles y sera différent à cause de leur forme.
On aura donc, pour deux côtés du fond carré:
= 114 mailles et, pour les deux autres
côtés:
= 196 mailles.
Pour les deux autres côtés à 114 mailles, il faut réaliser le montage des parois (196 mailles) avec le fond (114 mailles) de la manière indiquée ci-dessous:

NB: La ralingue verticale des 4 coins de la cage doit dépasser le fond de 50 cm afin de pouvoir accrocher le bloc en béton permettant de tendre le filet. Il n'est pas nécessaire de monter une ralingue sur le fond de la cage.
Cage No 2
La découpe de la nappe de filet 210/18 se fait selon la figure 7.
Comme pour la cage No 1, le montage sur la ralingue (Æ 6 mm) se fait à 50 %.
Le nombre de mailles sur les différents côtés est le suivant:
côté 300 cm (sens du filet)
• nombre de mailles =
= env. 214 mailles
| • armements | 21 fois 14 cm avec 10 mailles |
| 1 fois 6 cm avec 4 mailles |
côté 400 cm (sens du filet)
• nombre de mailles =
= env. 286 mailles
| • armements | 28 fois 14 cm avec 10 mailles |
| 1 fois 8 cm avec 6 mailles |
Côté 185 cm (contresens du filet)
• nombre de mailles =
= env. 79 mailles
| • armements | 15 fois 12 cm avec 5 mailles |
| 1 fois 5 cm avec 4 mailles |
Pour le fond, il faut découper un morceau de filet de 286 mailles dans le sens du filet sur 125 mailles dans le contresens du filet (figure 7).
Le montage se fait de la façon suivante:
joindre maille à maille les 2 parois à 286 mailles avec les deux côtés du fond à 286 mailles
joindre les deux parois à 214 mailles avec les deux côtés du fond à 125 mailles comme indiqué ci-dessous:


Figure 7 Découpe de la nappe de filet 210/18 pour le montage de la cage (2)


Figure 8 Découpe de la nappe de filet 210/48 pour le montage de la cage (3)


Figure 9 Découpe de la nappe de filet 210/48 pour le montage de la cage (4)

Cage No 3
Les dimensions sont les mêmes que celles de la cage No 1, mais le filet utilisé est différent (filet sans noeud, maille 14 mm, fil 210/48).
Le montage sur la ralingue Æ 6 mm se fait à 71 %, c'est-à-dire que la maille a la forme d'un carré dont les caractéristiques sont les suivantes:
côté = c = 14 mm
diagonales = cV2 = 19,8 mm
La découpe de la nappe de filet 210/48 se fait selon la figure 8.
Le nombre de mailles sur les différents côtés est le suivant:
côté à 274 cm (contresens du filet)
• nombre de mailles =
= env. 138 mailles
• armements 23 fois 12 cm avec 6 mailles
côté à 310 cm (sens du filet)
• nombre de mailles =
= 156 mailles
| 1 fois 11 cm avec 6 mailles | |
| • armements | 24 fois 12 cm avec 6 mailles |
| 1 fois 11 cm avec 6 mailles |
Pour le fond, il suffit de rabattre le morceau de 138 sur 138 mailles et de joindre les 3 côtés restants de la paroi, maille par maille, avec les 3 côtés libres du fond.
Cage No 4
Les dimensions sont les mêmes que celles de la cage No 2 mais le filet utilisé est différent (filet sans noeud, maille 14 mm, fil 210/48).
Le montage sur la ralingue (Æ 6 mm) se fait à 71 %. La découpe de la nappe de filet 210/48 se fait selon la figure 9.
Le nombre de mailles sur les différents côtés est le suivant:
côté 300 cm (contresens du filet)
• nombre de mailles =
= env. 152 mailles
| 1 fois 12 cm avec 7 mailles | |
| • armements | 23 fois 12 cm avec 6 mailles |
| 1 fois 12 cm avec 7 mailles |
côté 400 cm (contresens du filet)
• nombre de mailles =
= env. 202 mailles
| 2 fois 13 cm avec 7 mailles | |
| • armements | 29 fois 12 cm avec 6 mailles |
| 2 fois 13 cm avec 7 mailles |
côté 185 cm (sens du filet)
• nombre de mailles =
= env. 93 mailles
| • armements | 15 fois 12 cm avec 6 mailles |
| 1 fois 5 cm avec 3 mailles |
Pour le fond, il suffit de replier celui-ci comme indiqué sur la figure 9 et de joindre maille à maille les 3 côtés libres de la paroi et du fond.
Les nappes de filet vendues par COFIPECHE à Abidjan ont les dimensions suivantes:
longueur mailles étirées = 50 m
chute (hauteur de la nappe) = 400 mailles = 3,5 m ce qui donne une surface de nappe de 175 m2.
| CFA.F. | US$ | ||||
| nappe de filet en fil 210/18, maille 14 mm | 72 000 | 343 | |||
| prix du m2 de filet | env. | 415 | 2 | ||
| nappe de filet en fil 210/48, maille 14 mm | 144 000 | 685 | |||
| prix du m2 de filet | env. | 830 | 4 | ||
| ralingue, nylon Æ 6 mm (Peyrissac) | le m | 132 | 0,63 | ||
| Æ 10 mm ( " ) | le m | 340 | 1,62 | ||
| polypropylène Æ 6 mm (Fibako) | 100 m | 1 955 | 9,30 | ||
| Æ 10 mm | 100 m | 4 500 | 21,4 | ||
| bobine de 450 g de fil bleu 210/18 ou 210/48 (COFIPECHE) | 800 | 3,80 | |||
| chevrons “Samba” (bois blanc) 6 × 8 cm | le m | 150 | 0,71 | ||
| fût 60 l en plastique | 1 400 | 6,70 | |||
| boulon +écrou 12 × 140 mm | 180 | 0,86 | |||
| rondelle Æ 12 mm | 15 | 0,07 | |||
| piton à vis | 30 | 0,14 | |||
| nappe de filet maillant (mailles 30 mm, fil 10 000) | 4 500 | 21,4 | |||
| prix du m2 de filet | 25 | 0,12 | |||
| bloc en béton servant de corps mort (30 × 30 × 20 cm) | 200 | 0,95 | |||
| pirogue | 40 000 | 190 | |||
| main-d'oeuvre (env. 45 000 CFA.F./mois) | 1'h | 250 | 1,20 | ||
| Modèle 1 | Modèle 2 | Modèle 3 | Modèle 4 | Modèle 5 | |||||||
| Quantité | Prix | Quantité | Prix | Quantité | Prix | Quantité | Prix | Quantité | Prix | ||
| Filet 210/18 | 41,5 m2 | 16 600 | 38 m2 | 15 200 | - | - | - | - | 20 m2 | 8 000 | |
| 210/48 | - | - | - | - | 41,5 m2 | 33 200 | 38 m2 | 30 400 | - | - | |
| maillant (couvercle) | 7,6 | 190 | 12 m2 | 300 | 7,6 | 190 | 12 m2 | 300 | 6,25 m2 | 160 | |
| Ralingue polypropylène Æ 6 mm | 50 m | 750 | 55 m | 800 | 38 m | 750 | 40 m | 800 | 32 m | 650 | |
| Bobine fil nylon | 1 | 800 | 1 | 800 | 1 | 800 | 1 | 800 | 1/2 | 400 | |
| Bois “Samba” 6 × 8 cm | 23 m | 3 450 | 32 m | 4 800 | 23 m | 3 450 | 32 m | 4 800 | 22 m | 3 300 | |
| Fût 60 litres | 4 | 5 600 | 6 | 8 400 | 4 | 5 600 | 6 | 8 400 | 4 | 5 600 | |
| Boulons + écrous | 8 | 1 440 | 8 | 1 440 | 8 | 1 440 | 8 | 1 440 | 8 | 1 440 | |
| Rondelles | 16 | 240 | 16 | 240 | 16 | 240 | 16 | 240 | 16 | 240 | |
| Pitons à vis | 45 | 1 350 | 50 | 1 500 | 45 | 1 350 | 50 | 1 500 | 36 | 1 080 | |
| Main d'oeuvre: | |||||||||||
| - menuisier | 5 h | 1 250 | 5 h | 1 250 | 5 h | 1 250 | 5 h | 1 250 | 2 h 30 | 625 | |
| - filocheur | 30 h | 7 500 | 30 h | 7 500 | 30 h | 7 500 | 30 h | 7 500 | 15 h | 3 750 | |
| Divers (clous, ficelle, cordage, etc.) | - | 1 000 | - | 1 000 | - | 1 000 | - | 1 000 | - | 1 000 | |
| Coût de la cage | 39 170 (US$ 187) | 43 230 (US$ 206) | 56 770 (US$ 270) | 58 430 (US$ 278) | 26 245 (125 US$) | ||||||
| Ancrage (2 blocs de béton, ralingue) | 3 000 | 3 000 | 3 000 | 3 000 | 3 000 | ||||||
| Amortissement: calculé sur 3 ans (durabilité à Kossou excédant 4 ans) | |||||||||||
Les données qui sont indiquées ci-après sont des données de base issues des travaux de Campbell (1978), à partir desquelles un certain nombre de variantes sont en cours d'expérimentation, tant en ce qui concerne la mise en charge que la formulation et la périodicité de distribution des aliments.
Elle est basée sur une densité de 120 fingerlings de 20 à 30 g par m3 de cage avec une fluctuation possible en fonction de la teneur de l'eau en oxygène et du rapport interface/volume.
Elle varie donc présentement de 2 000 à 2 400 sujets par cage de 20 m3 représentant un coût de CFA.F. 12 000 par cage, soit US$ 57.
Elle est composée de granulés légers fabriqués par AFRIPORC à Dimbokro et, depuis 1980, par l'usine de Bouaké/Manikro.
La formulation de base est la suivante:
farine basse de riz 65 %
tourteaux de coton 18 % Coût variant de CFA.F. 50 à 75 le kg (US$ 0,23 à 0,35)
rémoulage de blé 12 %
farine de poissons 4 %
os calcinés, broyés 1 %
Le QN varie suivant les situations, de 2,02 à 3.
Entretien forfaitaire:
Par cage et par récolte, il faut compter: 1 chevron, 1 m2 de filet, 1 flotteur, du fil de ramendage, soit CFA.F. 3 000 (US$ 14,25).
Gestion:
main-d'oeuvre pour l'alimentation: 2 h/jour, soit, par mois,
sur 25 jours = 50 heures pour l'alimentation
8 heures pour la vidange et l'entretien
58 heures
Côut de la main-d'oeuvre 58 × 70 = CFA.F. 4 060 (US$ 19,35)
Empoissonnement = 2 400 fingerlings de 25 g = 60 kg
Mortalité = 5 %, reste à la vidange = 2 280 unités
Durée du cycle = 5 mois (parfois moins)
Gain de poids = 570 kg - 60 kg = 510 kg
Poids moyen du poisson = 250 g
QN moyen = 2,5
Quantité d'aliments à prévoir, par cycle et par cage 510 kg × 2,5 = 1 275 kg
Recettes moyennes à la vente = 570 kg × CFA.F. 300 = CFA.F. 171 000 (US$ 814,25)
Campbell, D., 1978 La technologie de construction des cages d'élevage de Tilapia nilotica (L) dans le lac de Kossou. AVB Rapp.Tech., (45)
Campbell, D., 1978 Formulation des aliments destinés à l'élevage de Tilapia nilotica (L) en cages dans le lac de Kossou, Côte-d'Ivoire. AVB Rapp.Tech., (46)
Centre Techniques des Forêts Tropicales, 1964 Confection, montage et réparation des filets de pêche. Publ.Cent.Tech.For.Trop., (25)
Magnet, E., 1980 Développement de l'aquaculture lagunaire. Ministère de la Production Animale. Rapport d'activités 8.10.80, Nogent sur Marne, Centre Technique des Fôrets Tropicales
by
O.V. Msiska
Fisheries Department
P.O. Box 44
Domasi, Malawi
Abstract |
| Fish culture appears to be an important potential source of dietary protein in Malawi, and may supplement the natural fishery if wisely developed. The latter fishery appears to be almost fully exploited. |
| A partial budget analysis shows that fish culture may also be a source of subsistence income. An income of Mlwi.K 28.59, Mlwi.K 81.3 and Mlwi.K 158.65 was collected in respective years by a farmer, owning a 0.30-ha pond. This compares favourably with an income of Mlwi.K 42.39–89.69/ha obtained from maize and groundnuts in Henga/Kasitu Valley but was lower than Mlwi.K 100 to Mlwi.K 200/ha from tea. A rise in economic returns accruing to the farmer over a three-year period was due to improved management, clearly illustrating the importance of training in fish culture management. |
| The costs of pond construction, stocking material, feeds and fertilizers (or manures), significantly influenced economic returns. The pond construction cost cannot be depreciated (due to undetermined life time) raising a problem in the analysis. It is suggested that cheap means of pond construction be tried, i.e., use of ox-drawn scoops and scrapers which farmers may use at a minimal cost. Some form of horizontal integration to include agricultural crops, livestock and fish may offer an ideal development strategy in a rural economy. |
| Possibilities for commercial fish production exist in Malawi, especially when using a polyculture system of Cyprinus carpio and Sarotherodon (or Tilapia) spp. Experiences gained elsewhere, show that the tropics offer the best opportunities for aquaculture development, and Malawi is particularly suited because it is endowed with a diverse fresh water system. |
Résumé |
| L'élevage du poisson paraît susceptible de donner au Malawi un apport important de protéines animales et pourrait, si développé avec critère, compléter les déficiences de la pêche. Les pêches du Malawi paraissent en effet être - ou presque - exploitées à fond. |
| Une analyse budgétaire partielle montre que l'élevage du poisson peut aussi représenter une source appréciable de revenus. Un pisciculteur possédant un étang d'une superficie de 0,30 ha réalisa au cours de trois années successives Mlwi.K 28,59, puis Mlwi.K 81,3 et enfin Mlwi.K 158,65. Comparaison très favorable avec les revenus de Mlwi.K 42,39 - Mlwi.K 89,69 par ha réalisés avec la culture du maïs et des cacahuètes dans la vallée du Henga/Kasitu, restant toutefois inférieurs aux revenus réalisés avec la culture du thé, revenus pouvant atteindre Mlwi.K 100 à Mlwi.K 200 par ha. L'augmentation successive des bénéfices réalisés par le pisciculteur sus-mentionné est due sans aucun doute à une meilleure conduite de son affaire, ce qui souligne l'importance de la formation dans ce domaine. |
| Les coûts de construction de l'étang, de stockage de matériel, des aliments et engrais ont une influence déterminante sur l'importance des bénéfices réalisés. Le coût de construction d'un étang ne peut être soumis à dépréciation (vu sa durée indéterminée), soulevant un problème dans l'analyse. Ce qui amène à suggérer l'emploi de moyens bon marché dans la construction des étangs, tels que par exemple charrues traînées par des boeufs et râtissoires, instruments que les pisciculteurs peuvent utiliser à un coût réduit. Une stratégie de développement idéale dans une économie rurale pourrait être de prévoir, sous quelque forme, une intégration horizontale pour inclure cultures agricoles, élevage de bétail et de poisson. |
| Il existe au Malawi des possibilités pour une production de poissons sur base commerciale, surtout si l'on emploie un système de polyculture de Cyprinus carpio et Sarotherodon (ou Tilapia) spp. On a pu déduire d'expériences faites ailleurs que les tropiques offrent les meilleures possibilités pour le développement de l'aquaculture, et le Malawi en particulier, celui-ci étant doté d'un système différencié d'eau douce. |
Fish culture in Malawi should be reappraised in line with current trends of fish production and its potential economic impact be re-examined. Fish production in Malawi fluctuates between 68 000 t and 84 000 t (FAO, 1978) of which only about 0.14 percent (100 t) are produced through fish culture. The overall fishery has shown a tendency to stagnate since the all time high of 1972 and in some specific fisheries (i.e., Clarias, Barilius and Labeo), notable declines have been reported (FAO, 1976).
Data based on the National Sample Survey of Agriculture of 1968/69 show that in Malawi at least 76.7 percent (wet weight basis) per caput animal protein consumption comes from fish. The consumption fluctuates between 14 and 16 kg. However, because the maximum sustainable yield of the natural fishery appears to have been reached, there is a pressing need to develop supplementary sources of fish protein, if consumption is to keep pace with the annual population growth of 2.6 percent (Malawi, National Statistics Office, 1977).
Experience gained since the 1950s in fish culture has shown the merits and failures of different development strategies. In ponds which are too small and where appropriate management skills are lacking little success has been obtained, while in bigger estate-type ponds there has been some measure of success. A fuller discussion of these may be found in reports by Jones (Unpublished UNICEF report, 1979) and Pruginin and Arad (1977).
In the present report some features arising from an economic analysis of a selected production trial are high-lighted using the monoculture of Sarotherodon shiranus chilwae. Attention is drawn to comparative economic returns with other agricultural crops to illustrate the potential role of fish farming in a rural economy in Malawi. Certain factors limiting fish production are also mentioned where these have a significant bearing on economic returns.
The use of the exotic fish species (Cyprinus carpio) in polyculture was found to be very promising, its acceptability among Malawians is excellent hence the author believes time is ripe for quasi-commercial and commercial fish farming units with emphasis on some form of integration.
Initially, Domasi (Zomba) was used as a government development and extension centre after Nchena-chena (Rumphi) was abandoned. At this site various sizes of ponds ranging from 0.06 to 0.75 ha have been constructed for fingerling production and grow-out. Pond construction has been manual utilizing the available labour force. This serves to demonstrate to local farmers the cheapest techniques used in construction. However, this is a painfully slow process and only a limited size of ponds can be constructed.
Kasinthula Fish Farm (Chikwawa) was started in 1970 to investigate estate-type fish farming through funding by FAO. It was hoped that pond productivity would be raised through the use of modern techniques of production, and later the site would be a base for training farmers. Eleven l-ha ponds were built; two 5-ha; two of 0.05 ha and ten of 0.1 ha, each pond was later added. Construction was by means of heavy farm machinery. Through demonstration, both the Government and FAO thought that commercial techniques of fish farming would spread to the surrounding area as in the ‘oil spot’ phenomenon. At Satemwa Tea Estate (Thyolo), six ponds of 0.15 to 0.40 ha were built by the Tea Company using available farm machinery. The site was carefully selected such that existing walls of a gorge were used and dykes were built across the walls. Here the fish were to be fed to employees as an incentive to attract the generally scarce labour force needed in tea plantations.
The OXFAM/Christian Service Committee began a pilot extension integrated fish farming project in 1975 to enable the construction of fish ponds at various selected sites including Chingale (Zomba). Hired manual labour was used in the construction work. The growout pond of 0.30 ha at Chingale cost Mlwi.K 178 and this was supported by other smaller ponds for breeding.
Stocking of grow-out ponds at the two government fish farms was normally around the optimum of 8 000–10 000 male Tilapia (Sarotherodon) per ha. The optimum stocking density was obtained through trials conducted at the respective government stations (Msiska, unpublished, research report, 1978). Males are easy to sex once they reach 20–30 g and depending on market demand, harvesting is done when the fish are at least over 150 g. This may be regarded as marketable size, however smaller fish are accepted when salted and smoked.
Satemwa and Chingale were both stocked by extension staff from Domasi. Satemwa now conducts its own stocking through the advice of the extension service from Domasi. At Chingale, government staff still supervise all stocking. It has been noted that mistakes made during stocking may later render results discouraging hence the need for close supervision at this stage of the production cycle. Evidently, this requires experience and is time consuming, if done on a big scale.
Depending on availability, manure and fertilizers have been added generally only as light applications. Feeding is carried out once daily (six days a week) using maize waste at 4 percent of the total fish body weight. It is still not known whether the food has any worthwhile nutritive value, or if it acts more as a fertilizer.
The major fish species used are Sarotherodon (or Tilapia) mossambicus and Sarotherodon shiranus chilwae. Tilapia rendalli is also occasionally used plus Clarias geriepinus, the latter may invade ponds from the wild. Sarotherodon mossambicus is raised only at Kasinthula and may eventually be used throughout the Shire Valley.
Since stocking rates and feeding rates were the same it was felt that yields could be compared directly. The pumped water at Kasinthula requires that production be substantially raised before a meaningful economic appraisal is possible (Meecham, 1976), it was therefore left out of this analysis. The basic budget analysis developed for channel catfish by Crawford and McCoy (1977) was used for the Chingale operation with appropriate modifications. Rental for the seine net and cost of supervision by government staff were not included.
Yields of up to 3 t/ha have been obtained at Kasinthula using Sarotherodon mossambicus However, because the logistics of the original plan did not materialize, i.e., lack of gravity fed water, the system is still far from viability. Elsewhere, the production of Sarotherodon shiranus chilwae were of the same order of magnitude as S. mossambicus at Kasinthula. The highest yields were attained at Satemwa Tea Estate where 1 014–5 863 kg/ha in 250 days were obtained. Incidentally, this is the only site where growth of over 1 g/day was recorded with S. shiranus chilwae. Domasi gave the lowest yields of 500–1 600 kg/ha. Yields from Chingale were intermediate between Domasi and Satemwa ranging from 1 366 to 2 262 kg/ha. Costs and returns for the operation at Chingale are given in Tables 1, 2 and 3.
Table 1
Costs/returns of fish production from a 0.30-ha pond at Chingale in 1977
| Item | Rate/unit | Quantity | Value (Mlwi.K) | ||
| Receipts: | Marketable fish | 575.5 kg | 107.86 | ||
| Fish stock | 30 t/kg | 7 408 | 10.20 | ||
| Manure/fertilizers | 40.28 | ||||
| Feeding/stocking/harvesting | 27 t/day | 35 man days | 9.45 | ||
| Interest on operating capital | 8 % | 4.71 | |||
| Total variable costs | 63.57 | ||||
| Fixed costs: depreciation | |||||
| - | assume 20 years life for pond construction | 15.70 | |||
| - | assume 5 years life for farm implements | ||||
| Total costs | 79.27 | ||||
| Net returns to land, management and equity capital | 28.59 | ||||
Table 2
Costs/returns of fish production from a 0.30-ha pond for 1978
| Item | Rate/unit | Quantity | Value (Mlwi.K) | |
| Receipts: Marketable fish | 584.9 kg | 169.72 | ||
| Variable costs: Fish stock | 291 | 39.68 | ||
| Feed | 3 507 kg | 18.20 | ||
| Feeding/stocking/harvesting | 27 t/day | 35 man days | 9.45 | |
| Interest on operating capital | 8 % | 5.39 | ||
| Total variable costs | 72.72 | |||
| Fixed costs: depreciation | 15.70 | |||
| Total costs | 88.42 | |||
| Net returns to land, management and equity capital | 81.30 | |||
Table 3
Costs/returns of fish production from a 0.30-ha pond at Chingale in 1979
| Item | Rate/unit | Quantity | Value (Mlwi.K) | |
| Receipts: Marketable fish | 915.5 kg | 286.24 | ||
| Variable costs: Fish stock | 5 000 | 30 t/kg | 58.18 | |
| Feed | 37 755 kg | 30.35 | ||
| Manure/fertilizer | - | - | - | |
| Feeding/harvesting | 27 t/day | 35 man days | 6.75 | |
| Interest on operating capital | 8 % | 7.90 | ||
| Total variable costs | 133.91 | |||
| Fixed costs: depreciation | 15.70 | |||
| Total costs | 127.61 | |||
| Net returns to land, management and equity capital | 158.65 | |||
Since the introduction of the Israel mirror carp to Malawi in 1976 a repeatable spawning technique has been developed.
Some preliminary growth trials have been conducted and are given in Table 4.
Schroeder (1974) reported rates of up to 5 000 fish/ha in Israel where growth was 25–100 percent faster in manured than in unmanured ponds. Carp of 18 g averaged 3.3 g/day in 40 days. The present studies were started with the understanding that both Sarotherodon and Cyprinus carpio may be raised on manure and that with rising energy and fertilizer costs, this may be a more viable alternative method of fish production in Malawi.
Indications were that even at light stocking densities of mirror carp fish production in ponds was augmented and that judicious addition of manure substantially increased production. Better planned studies are currently underway to confirm these observations, especially on the rate of manure application and on the influence of stocking density on growth of mirror carp.
Table 4
Yields of Cyprinus carpio vas specularis and Sarotherodon shiranus chilwae at Domasi Fish Farm
| Pond No. | Fish species | No. of fish | Manure per ha/month (kg) | Days of growth | Growth of fish | |||
| per pond | per ha | per fish (kg) | per pond (kg) | per ha-1 (kg) | ||||
| 1 | mirror carp | 2 000 | 6 589 | 123 | 1.30 | 312 | 1 029 | |
| 2 | mirror carp | 40 | 3 146 | 13 ducks Ammonium sulphate (40) | 117 | 3.0 | 14.04 | 1 239 |
| S. shiranus chilwae | 76 | 6 000 | 0.4 | 3.61 | 319 | |||
| 3 | mirror carp | 30 | 1 196 | Ammonium sulphate (40) | 117 | 5.6 | 19.54 | 386 |
| S. shiranus chilwae | 140 | 5 984 | 0.2 | 3.01 | 59 | |||
| 14 | mirror carp | 5 | 88 | 40.2 | 24.1 | 424.2 | ||
| S. shiranus chilwae | 500 | 8 800 | 364 | 120 | 0.98 | 58.8 | 1 034.9 | |
| Clarias geriepinus | 30 | 528 | 1.08 | 3.9 | 68.6 | |||
| 15 | mirror carp | 5 | 88 | 37.2 | 22.3 | 392.5 | ||
| S. shiranus chilwae | 500 | 8 800 | 364 | 120 | 0.96 | 57.5 | 1 012.0 | |
| Clarias geriepinus | 30 | 528 | 2.5 | 9.1 | 160.2 | |||
| 17 | mirror carp | 30 000 | 120 000 | 356 | 40 | 0.01 | 14.00 | Nursery |
| 20 | mirror carp | 500 | 9 880 | 5 704 | 120 | 6.26 | 1 130 | 7 185.8 |
| 22 | mirror carp | 464 | 464 | - | 370 | 3.07 | 527.5 | 527.5 |
| S. shiranus chilwae | 9 700 | 9 700 | 1.52 | 545.0 | 545.0 | |||
Richards (1978) used the gross margins (gross value of output minus its variable costs of production) as a criterion for evaluating returns of agricultural crops in the Henga/Kasitu Valley. He showed that per ha, with or without fertilization, respectively, maize produced Mlwi.K 42.39 and Mlwi.K 89.64, maize combined with pulses gave Mlwi.K 82.24 and Mlwi.K 69.83, while millet produced Mlwi.K 13.03 and Mlwi.K 3.70. Groundnuts alone produced between Mlwi.K 52.27 and Mlwi.K 71.98 and when combined with maize Mlwi.K 79.48 was realized. Other results did not vary much from these.
A gross economic analysis of Malawi tea by Tyler (1978) indicates that the price of the finished product (processed and packed) on the world market varied between Mlwi.K 272/ac in 1978 and Mlwi.K 597/ac in 1976. The raw product earns between Mlwi.K 100/ha and Mlwi,K 200/ha according to Jones (Unpublished UNICEF Report, 1979).
The basic budget developed by Crawford and McCoy (1977) for determining expected expenditures and returns for culture of channel catfish in watershed ponds was, with minor modifications, suitable for estimating profits from single crops of Sarotherodon shiranus chilwae males at a subsistence scale (at Chingale) in 1977. Partial budget analysis, which adjusted for added cost of stock, feed and added receipts for increasing sales were conducted for 1978 and 1979 yields, as shown in Tables 2 and 3. The net gains per 0.3 ha were Mlwi.K 28, 81 and 158, respectively. Results of fish yields obtained by this local farmer indicated that subsistence fish farming can be economically viable if support services are readily available and if the pond system includes breeding and nursery ponds (500 m2). The increased returns in subsequent years were commensurate with the expected rise in management skills of the farmer and his family. The highest single cost was due to pond construction. For accounting purposes, the pond life was assumed to be 20 years, although it is well known that the pond does not have a defined lifetime. The Department is in future urged to provide a team of ox-drawn scoops and scrapers for rental to fish farmers as a means of reducing the costs of construction or renovation.
This study suggests that problems with low yields would be uncommon if effort is made to stock only male fish, a system which may require that breeding be conducted on site or alternatively that a reliable seed source be established. Particular attention should then be paid to the size of grow-out ponds because if it is conducted as a business then economies of scale become important. For instance, production of Sarotherodon mossambicus males suggests that fish may grow better in a 3.3-ha pond than in 1.0-ha ponds (Unpublished results). In general, this study goes some way in support of practical proposals put forward by Linn (1974), that:
Extension encourage proper pond management on a local level, and
Efforts be directed to make fish culture an economically viable investment and endeavour.
Although mirror carp has only been recently introduced, it promises to make significant contribution to pond yields. Table 4 shows that yields of up to 7 186 kg/ha are possible with increased use of manure (up to 5 704 kg/ha/month). The Malawian consumers cherish this fish for the table and therefore an added effort should be made to raise the fish. The author believes that apart from producing a steady yield of fish, Malawi could usefully develop commercial fish culture units utilizing Sarotherodon and Cyprinus carpio vas specularis. In support of this, it has been shown that natural fish stocks are not inexhaustible and there is a general rise in fish prices at main markets (at least there has been an addition of Mlwi.K 0.05/fish from 1979 to 1980). Furthermore, the culture production cycle is fairly simple utilizing available agricultural by-products (maize waste, rice bran, maize bran, cotton seed cake, groundnuts meal, etc.). Clearly at a subsistence level, some form of horizontal integration with other livestock (chickens, pigs, cattle, etc.), will be to the mutual benefit of the otherwise separate enterprises.
Where conditions are right fish culture may just be as economical as other agricultural crops like maize, millet, groundnuts and pulses as this survey shows. Probably what is also significant about fish culture is that people far removed from the main lakes are not adequately provided with fish.
While estate-type farming is the better direction for future development, use of pumped water for fish production is economically indefensible, and contrary to the view expressed by Meecham (1976), the present author believes that use of labour-intensive methods remains the better alternative in view of increasing energy costs.
Like other agricultural sectors, there is a need to establish an infrastructure for research and development. Country-based experimental trials will have to be expanded to include other regions of Malawi. In the absence of an appropriate training institute in the country for professional and technical staff, financial help should be sought to train personnel in such areas as:
The Agriculture Rural Development strategy should provide growth centres where fish farming will eventually play a role in the economy, but not without careful consideration of sites in terms of availability of water, essential support services and markets.
Probably the programme outlined by Linn (1974) still remains the most promising course of action for the extension section of fish farming. However, there is now a stronger need for bilateral financial support to rationally develop this renewable resource and a project has been proposed to the Government for long-term development. Malawi may be particularly suited for this kind of development because it is endowed with a diverse freshwater system as at least 21 percent of the country is covered with water.
Crawford, K.W. and E.W. McCoy, 1977 Budgetting for selected aquacultural enterprises. Bull.Agric. Exp.Stn.Auburn Univ., (495)
FAO, 1976 An analysis of the various fisheries of Lake Malawi. Report prepared for the Government of Malawi by FAO of the UN acting as executing agency for UNDP. Based on the work of J. Turner. Rome, FAO/UNDP, FI:DP/MLW/71/516, Technical report 1:73 p.
FAO, 1978 Yearbook of fishery statistics. Annuaire statistique des pêches. Anuario estadistico de pesca. Catches and landings. Captures et quantités débarquées. Capturas y desemborques. Yearb.Fish.Stat./Annu.Stat.Pêches/Anu.Estad.Pesca, (44): pag. var.
Jones, T., 1979 OXFAM Extension Fish Farming Project. Final report. Fisheries Department
Linn, D.W., 1974 Development of fish farming in Malawi. Fish Farming Int., (3)
Malawi, Fisheries Department, Marketing and Statistics Section, Annual report, 1976 and 1977. Annu.Rep.Fish.Dep.Malawi, (1976/7)
Malawi, 1970 National Statistics Office, National sample survey of agriculture, 1968/69. Zomba, Government Printer
Malawi, 1977 National Statistics Office, Population census, 1977. District population by traditional authorities. Preliminary report. Zomba, Government Printer
Meecham, K., 1976 Aquaculture in Malawi. CIFA Tech.Pap./Doc.Tech.CPCA, (4) Suppl. 1:66–72
Pruginin, Y. and A. Arad, 1977 Fish farming in Malawi (3). a report for the promotion of Integrated Fishery Development Project. Rome, FAO, FI:DP/MLW/71/516/10:22 p.
Richards, E.M., 1978 An exercise in the use of gross margins for the analysis of farm management survey data (Henga/Kasitu area). In Symposium on Social Aspects of Rural Development in Malawi. Zomba, Malawi, University of Malawi
Schroeder, G.L., 1974 Use of fluid cowshed in fish ponds. Bamidgeh, 26(3):83–96
Tyler, G.P., 1978 Malawi's interest in an international tea agreement. In Symposium on Social Aspects of Rural Development in Malawi, Zomba, Malawi, University of Malawi