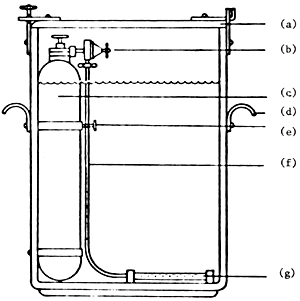
Pour examiner la conception technique des différents types de systèmes ouverts conçus pour le transport des poissons, on peut commencer par le petit fût à poissons (figure 11) décrit par Gilev et Krivodanova (1984). D'une capacité de 39 litres, il est muni d'une bouteille d'oxygène de 2 litres qui lui donne une autonomie de 30 heures et pèse une foisrempli 53,5 kg. L'oxygène est amené dans le distributeur poreux placé au fond du récipient.
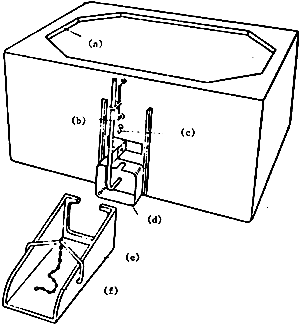
Le petit conteneur pour le transport des alevins ou pour un nombre réduit de truites (Vollmann-Schipper, 1975) est similaire à la bouteille. D'une capacité de 50 à 150 litres, l'oxygène est amené dans le distributeur poreux placé au fond du récipient.
Des grilles d'aération reliées à des sources d'air autonomes (compresseurs ou oxygène) sont généralement placées au fond des grands conteneurs (figures 13 et 14).
Les bacs conçus pour le transport à l'intérieur d'un établissement d'élevage n'ont pas de couvercle (figure 15). Leur volume varie de 200 à 1 000 litres. Une gouttière amovible est adaptée à la vanne pour l'évacuation des poissons. Les bacs destinés au transport interne fabriqués par la société EWOS sont présentés à la figure 16.
Les petits bacs, normalement en plastique renforcé de fibre de verre, que l'on peut placer dans une voiture de tourisme conviennent bien pour le transport de petites quantités de poissons (figure 17). Le bac fabriqué par Tess Aquaculture Ltd. (figure 18) en est un example. Il est équipé d'une pompe séparée, branchée sur le circuit électrique de la voiture dont la capacité est de 1 800 litres d'eau par heure ce qui permet une bonne oxygénation du poisson.

Figure 11 petit fût pour le transport des alevins (Gilev et Krivodanov, 1984)

(a) dessus amovible; (b) valve de réduction de la pression; (c) bouteille à oxygène (5–7 litres); (d) poignée; (e) support; (f) conduite en charge; (g) dispositif d'aération
Figure 12 Petit conteneur pour le transport des alevins ou des truites (Vollmann-Schipper, 1975)
De petites quantités de poissons peuvent également être transportées à bord de remorques tirées par des voitures de tourisme et sur lesquelles le bac à poissons est divisé en deux compartiments. La remorque est pourvue d'une bouteille d'oxygène. La remorque peut également être conçue pour un bac non traditionnel en feuilles de plastique fixé à une armature tubulaire en métal (figure 19). Grice and Young Ltd commercialisent une remorque pour voiture de tourisme destinée au transport des poissons (figure 20).

(a) tube rempli de pierre ponce; (b) distributeurs en céramique; (c) tuyau flexible perforé
Figure 13 Grille d'aération d'un bac de transport (Vollmann-Schipper, 1975)

Figure 14 Grille d'aération d'un bac de transport (Vollmann-Schipper, 1975)
Tube perforé en PVC adapté à un cadre correspondant aux dimensions du bac
Il en existe des modèles très divers. Certains sont pourvus de grilles d'aération, de doubles fonds, de filtres et de distributeurs d'eau, d'aérateurs séparés, de parois isothermes, etc., d'autres d'une valve de vidange pour l'écoulement de l'eau. Le schéma-type de ces bacs est présenté à la figure 21. Il s'agit en l'occurrence d'un bac muni d'une grande vanne sur laquelle doit être adaptée une gouttière amovible pour l'évacuation des poissons. La figure 22 reproduit un bac pourvu d'un col en saillie et d'un tuyau de déchargement. La taille du col et du tuyau dépend de la taille des poissons. Pour le col et le tuyau on compte un diamètre de 30–40 cm pour des alevins de 20 à 30 cm pour le frai et de 50 à 60 cm pour des poissons de plus d'un kilo (Horváth, Tamás et Tölg, 1984).

(a) rebord de protection contre les projections d'eau; (b) dispositif d'évacuation muni d'une plaque basculante; (c) crochet pour arrêter la chaîne; (d) col en saillie pour la fixation de la gouttière; (e) gouttière d'évacuation; (f) chaîne de fixation
Figure 15 Bac pour le transport interne

Figure 16 Bac pour le transport interne (fabriqué par la société EWOS). Dimensions: 110 × 65 × 65 cm, volume 400 litres; dessus sans couvercle, bords à déflecteurs

(a) tube d'aération avec embout en T; (b) corps en métal (environ 50 × 60 cm); (c) tuyau en plastique perforé
Figure 17 Petit bac transportable à bord d'une voiture (Vollmann-Schipper, 1975). Son volume est de 100–150 litres et une grille d'aération est adaptée aux dimensions du bac

Figure 18 Mini-bac de transport (fabriqué par TESS). Dimensions: 80 × 37 × 39 cm; poids: 9 kg; pompe: 12 volts

(a) dessus rabattable; (b) corps en PVC; (c) tube d'écoulement; (d) oxygène
Figure 19 Remorque pour voiture de tourisme conçue pour le transport des poissons (Vollmann-Schipper, 1975)

Figure 20 Remorque pour voiture de tourisme conçue pour le transport des poissons (fabriquée par Grice and Young Ltd, England)

Figure 21 Bac dont le volume dépasse normalement 1 000 litres F - grande vanne; B - valve pour le renouvellement de l'eau (Vollmann-Schipper, 1975). (a) poignée de serrage
De nombreux fabricants produisent des bacs servant au transport des poissons. Les figures 23 à 30 reproduisent certains de leurs modèles.
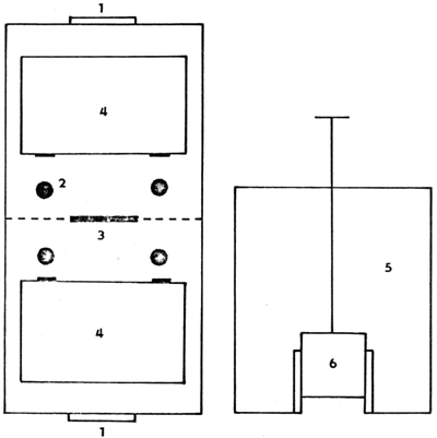
Les grands bacs employés aux Etats-Unis ont normalement deux compartiments et leur volume maximum est de 2 × 1 m3 (figure 31) comme l'indique Okoniewski (1975). On peut utiliser les deux compartiments séparément ou les relier en retirant la cloison. Ces bacs peuvent compter jusqu'à six aérateurs (figure 32), trois dans chaque compartiment.
Un bac à quatre compartiments est représenté à la figure 33.
Ces bacs sont installés sur des camions (figure 34) avec le matériel de survie (air, oxygène gazeux et liquide). Des bacs distincts sont utilisés pour transporter plusieurs espèces ou plusieurs tailles de poissons. Il est recommandé de combler l'espace entre les bacs avec de la mousse de polystyrène isolante.

Figure 22 Bac muni d'un col (a) pendant le transport; (b) pendant le vidage

Figure 23 Bacs de 100, 300 et 600 litres (EWOS) - Normalement fournis avec un couvercle percé d'un orifice laissant passer un tube pour l'oxygène. Les deux derniers modèles sont pourvus d'un dispositif permettant de puiser l'eau et de divers accessoires pour l'installation
Il existe des camions spécialement conçus pour le transport des poissons. Par example (Leitritz et Lewis, 1976) les éleveurs californiens utilisent des véhicules équipés de bacs de quatre tailles différentes - 11 400, 5 400, 2 700 et 1 800 litres - pour la distribution des poissons (figures 35–38). Tous les bacs sont isolés de manière à garder une température constante. Les trois plus gros sont pourvus d'un groupe frigorifique tandis que dans les plus petits on emploie de la glace pour régulariser la température. Les camions citernes, plus récents, sont équipés d'un générateur de manière que les refrigérateurs et les pompes de circulation de l'eau puissent fonctionner à l'électricité.

Figure 24 Bac de 900 litres spécialement conçu pour le transport des anguilles (EWOS). Le bac est normalement pourvu d'un double fond sous lequel est placé un tuyau souple d'arrivée d'air

Figure 25 Bac pour le transport (EWOS). Dimensions 150 × 100 × 85 cm; volume 1 200 litres. Ce bac peut contenir 100–150 kg de poisson dans de bonnes conditions si le trajet est bref (4–5 heures) et la température de l'eau inférieure à 10°C. Il est doté d'un couvercle hermétique, d'une valve de vidange de 5 cm et peut également être livré avec un col en saillie de 20 × 25 cm

Figure 26 Bac pour le transport (EWOS). Dimensions 200 × 100 × 100 cm. Volume 2 000 litres. Ce bac sert surtout aux transports de brève durée de truites arc-en-ciel vivantes mais peut être utilisé pour n'importe quel type de poisson vivant. Il peut contenir 200–300 kg de truites arc-en-ciel au cours d'une journée de transport si la température de l'eau ne dépasse pas 18°C. Le bac est livré normalement avec un couvercle grillagé et un dispositif de verrouillage et avec 2 valves munies d'un filtre pour la vidange. Options: col en saillie 20 × 25 ou 30 × 40 pour les poissons plus gros; double fond (placé lorsque des tuyaux souples d'arrivée d'air sont utilisés); grande ouverture avec déflecteurs; couvercle à deux battants; gouttière
Sur les autres modèles, les pompes et les réfrigérateurs sont actionnés par des moteurs à essence indépendants. Le système d'aération est en général conçu de manière que l'eau soit puisée par les pompes au fond du bac. Elle circule à travers un venturi qui lui injecte de l'air, puis est vaporisée à nouveau dans le bac sur les serpentins de réfrigération. Les bacs de 1 800 litres sont munis à chaque extrémité de petites pompes électriques actionnées par des batteries très puissantes. L'eau est prélevée au fond du bac et pulvérisée. Avec ce type de bac l'eau garde une température parfaitement constante sans qu'il soit nécessaire de recourir à un dispositif de réfrigération parce qu'elle ne circule pas à travers un venturi à l'extérieur du bac et que l'air chaud de l'atmosphère n'est pas injecté dans l'eau. Certains bacs, grâce à une bouteille d'oxygène comprimé et à un carborundum sont également alimentés en bulles d'oxygène. Les équipements destinés au transport du poisson, notamment les gros camions citernes, sont coûteux et d'une utilisation complexe. Un mode d'emploi devrait être fourni avec chaque pièce.
Un autre type de camion spécial pour le transport des poissons, décrit par Piper et al. (1982) est représenté à la figure 39.
Un petit véhicule spécial destiné au transport des poissons est reproduit à la figure 40. Il s'agit d'un camion tous terrains de ¾ tonnes, bien équipé. Le bac en acier inoxydable est divisé en deux compartiments. Des vannes spéciales et des gouttières amovibles permettent de décharger rapidement les poissons. L'aération est assurée par des agitateurs et de l'oxygène comprimé est disponible en cas d'urgence.
Les véhicules soviétiques spécialement conçus pour le transport des poissons ont également des contenances variables, la capacité du conteneur allant normalement de 2 400 à 4 000 litres. Mackevich et Shiyanov (1984), Pavlov (1973), Kozlov et al. (1977) et Dyagilev (1974) en donnent une description détaillée et en expliquent le fonctionnement. Un schéma-type de ces véhicules est représenté à la figure 41. L'eau du bac est aérée au moyen d'un compresseur. Sur certains modèles, le moteur du camion est utilisé pour l'alimentation en air. L'oxygénation de l'eau peut également être assurée avec de l'oxygène gazeux provenant de bouteilles sous pression. Les grandes cuves sont munies de cloisons qui servent à atténuer les mouvements de l'eau pendant le transport. Les camions de plus de 4 000 litres sont également munis d'un dispositif de refroidissement de l'eau contrôlé par un régulateur de température.

Figure 27 Bac pour le transport (EWOS). Dimensions 236 × 108 × 112 cm; volume 2 400 litres. Ce bac spécialement conçu pour les transports de longue durée a des parois doubles et une isolation en mousse de polyuréthane. Une valve pourvue d'un filtre permet la vidange; la valve est actionnée par un bouton placé sur le bac. Il est également pourvu d'une vanne d'écoulement de 20 × 25 cm. Ce bac peut contenir selon la durée du transport, la température et la qualité de l'eau de 300 à 400 kg de truites arc-en-ciel. Un chargement de 150–200 kg de truites de 25–50 cm convient à un trajet d'un jour pourvu que l'eau soit de bonne qualité et que sa température ne dépasse pas 10°C
En Union soviétique, on emploie un camion spécial pourvu d'un réservoir de 13 000 litres (Barekyan et al., 1975) pour transporter les poissons, notamment les reproducteurs, sur de longues distances (figure 42). Ce camion comporte un éjecteur puissant d'aération de l'eau qui maintient l'orientation des poissons au cours du transport. Le réservoir est isotherme et l'espace réservé aux poissons a les dimensions suivantes: 4,2 × 1, 4 × 1,6 m. Pour l'orientation des poissons le débit minimum de l'eau est de 0,2 m.s-1.
Il existe dans le monde beaucoup d'autres modèles de véhicules spécialement conçus pour le transport des poissons, comme par exemple le camion illustré par la figure 43 doté d'un bac à trois compartiments (2 227 litres) qui fait partie intégrante de la carrosserie spéciale montée sur un châssis-cabine pour utilisations sur route et tous terrains, ou encore le véhicule qui est répresenté à la figure 44 et qui est alimenté en oxygène liquide.
Pour le transport des alevins de salmonidés les éleveurs américains se servent de gros camions (Anonime, 1980) dont la capacité est deux fois supérieure à celle des camions utilisés auparavant (figure 45). Ces modèles ont été conçus pour éliminer les pompes de brassage de l'eau qui réchauffent celle-ci et qui rendent de ce fait nécessaire l'installation d'un dispositif de réfrigération pour freiner l'accumulation de chaleur. On emploie à leur place des pompes à air comprimé qui font circuler l'eau en utilisant la force de l'oxygène. Elle est injectée dans des lits de filtrage placés au-dessus du bac à poissons et se répand ensuite dans tout le bac, de sorte que la vitesse de circulation soit réduite et que soient éliminées les zones de stagnation. Les lits de filtrage agissent sur plusieurs milieux et ainsi débarassent physiquement l'eau des matières protéiques tandis que d'autres déchets comme le gaz carbonique et l'ammoniac sont éliminés soit chimiquement soit par adsorption. Le contrôle de la qualité de l'eau joue un rôle important. On en élimine l'azote dissous pour multiplier par 2,5 le niveau de saturation de l'oxygène. On contrôle le pH pour assurer une bonne élimination chimique du gaz carbonique dégagé par les poissons sans pour autant que la teneur en ammoniac n'atteigne des niveaux toxiques.

Figure 28 Bacs pour le transport (STRATIMER, France) fonctionnant à air comprimè, à oxygène comprimé, ou encore avec un mélange des deux. Volumes 150–1 400 litres, parois internes isolantes. Valve pour la vidange

Figure 29 Bac pour le transport (PUREWELL Ltd, Angleterre)

Figure 30 Bacs pour le transport (POLOPLAST, Italie

1 - ouverture d'évacuation; 2 - orifices pour les aérateurs; 3 - cloison de séparation; 4 - dessus du bac; 5 - compartiment; 6 - cloison de séparation
Figure 31 Schéma d'un bac à deux compartiments (Okoniewski, 1975)

1 - ventilateur de refroidissement pour le moteur; 2 - moteur électrique; 3 - transmission; 4 - pales agitatrices; 5 - grille de protection
Figure 32 Agitateur d'aération

Figure 33 Bac de transport en fibre de verre à quatre compartiments, chacun pourvu d'un aérateur électrique (flèche). Une oxygénation supplémentaire est fournie par des baguettes de carbone ou par des tubes placés au fond du bac (Piper et al., 1982)

Figure 34 Installation de bacs sur un camion dont la capacité est d'environ 8 000 litres (15 000 litres lorsqu'on ajoute une remorque)

Figure 35 Camion pour le transport des poissons d'une contenance de 11 400 litres. Les pompes à eau et les groupes frigorifiques fonctionnent à l'électricité (produite par un générateur diesel installé sur le camion) (Leitriz et Lewis, 1976)

Figure 36 Camion pour le transport des poissons d'une capacité de 5 400 litres. Les pompes à eau et les groupes frigorifiques sont actionnés par un générateur à essence (Leitriz et Lewis, 1976)

Figure 37 Camion pour le transport des poissons d'une capacité de 2 700 litres. Les pompes à eau électriques et les groupes frigorifiques sont actionnés par un générateur à essence (Leitritz et Lewis, 1976)
En Grande Bretagne, on se sert actuellement d'un semi-remorque de 20 tonnes (figure 46) pour transporter du frai et des alevins, essentiellement des civelles. Douze millions de civelles au maximum (quatre tonnes) peuvent être transportées dans 18 bacs placés deux par deux le long du châssis du véhicule. Il existe un système de survie alimenté par deux moteurs diesels reliés à deux alternateurs triphasés. L'alternateur fournit l'électricité nécessaire à l'aération, à la réfrigération et au système de circulation de l'eau. Un seul moteur diesel suffit, mais en cas de panne, un deuxième prend le relais dans les 30 secondes qui suivent. Ce semi-remorque, construit pour Bristol Channel Fisheries de Gloucester (Angleterre) (Anon., 1980, 1982), a également servi à acheminer 400 000 alevins d'anguille jusqu'en Hongrie, soit sur une distance de 3 600 km, en trois jours et demi. Pendant tout le voyage, la température de l'eau a été maintenue à 7°C par le dispositif de réfrigération installé dans la remorque et l'oxygène aux niveaux voulus grâce à de l'air comprimé refroidi distribué par des diffuseurs en céramique dans chaque bac. La même eau a été utilisée du départ à l'arrivée. Le changement d'eau expose les poissons à divers paramètres physiques et chimiques qui provoquent un certain stress. Par ailleurs, on risque en procédant ainsi d'introduire dans le lot des agents pathogènes exotiques. Ce véhicule est doté d'un double système de survie. Pendant les trajets en mer, le camion est relié à l'alimentation en courant triphasé du navire.
Le système d'aération de l'eau ou d'oxygénation doit encore être examiné en détail. Son efficacité est liée à un certain nombre de conditions techniques et économiques. Ces problèmes ont été traités par Heiner (1982, 1983), Johnson (1979), Proske (1982), Leis (1978) et d'autres. L'air et l'oxygéne gazeux sont désormais les moyens traditionnels de conditionnement de l'eau pour le transport, mais le recours à l'oxygène liquide commence à se répandre. Il présente l'avantage, comme l'oxygène gazeux comprimé, d'éviter les ennuis mécaniques, demande un équipement plus léger que celui nécessaire pour l'oxygène gazeux et coûte moins cher. L'oxygène liquide n'est pas conditionné de la même manière que l'oxygène gazeux, mais il se transforme immédiatement en gaz lorsqu'il sort du conteneur. L'émission de l'oxygène est assurée normalement par l'intermédiaire de tuyaux perforés placés au fond des bacs. On utilise ainsi simultanément l'air et l'oxygène pour l'aération afin d'éviter les conséquences d'erreurs dans l'apport d'oxygène en cours de route (ce phénomène connu sous le nom de “Brûlage du poisson” reste encore mal expliqué). C'est pourquoi certains camions modernes, comme par exemple le nouveau véhicule fabriqué par German HTT - Fishzucht-technologie GmbH (Anon., 1984) sont équipés d'un ventilateur incorporé qui écarte tout risque de “brûler” les poissons.
Outre les principes généraux énoncés au Chapitre 2, il apparaît à la lumière de l'expérience qu'il vaut mieux régler l'alimentation en air ou en oxygène avant de charger le poisson car, par la suite, il est pratiquement impossible de modifier la dimension des bulles. Après le départ (10 à 15 minutes) il est recommandé de faire un arrêt pour contrôler le comportement des poissons dans les bacs. En hiver le danger est accru: il suffit en effet d'un peu d'eau gelée dans les tuyaux de distribution de l'oxygène ou dans les appareils pour provoquer la panne de tout le système, aussi perfectionné soit-il.

Figure 38 Bac de 1 800 litres destiné au transport du poisson et monté sur un camion-plateau. Il est pourvu à chacune de ses extrémités d'une petite pompe électrique actionnée par un générateur ou par une batterie très puissante qui vaporise l'eau en son centre. La température de l'eau y reste parfaitement constante (Leitritz et Lewis, 1976)

Figure 39 Cuve en aluminium de forme elliptique pourvue d'un groupe frigorifique installé à l'avant. L'aération est effectuée par des pompes à gaz et de l'oxygène pur. A l'avant et à l'arrière de la cuve (flèche) sont placés des ventilateurs aspirants pour l'évacuation du CO2 (Piper et al., 1982)

Figure 40 Petit camion pour le transport des poissons pourvu d'aérateurs et d'une bouteille d'oxygène de secours (Dupree et Huner, 1984)
La température de l'eau est un facteur important pour le transport des poissons. Des données générales sur ses variations dans les véhicules spéciaux compte tenu de la durée du trajet et de la température ambiante sont évaluées par Leis, Kruzhalina et Dyagilev (1984), et figurent au tableau 19.
La littérature fournit très peu de données sur les densités de poissons que l'on peut envisager de transporter dans des systèmes ouverts. Leis (1978) donne bieu une méthode pour calculer les besoins des poissons en oxygène pendant le transport, mais on ne peut guère en généraliser l'utilisation dans la pratique car les formules en sont très compliquées. Par ailleurs, beaucoup d'auteurs affirment que les poissons ne consomment qu'une petite quantité de l'oxygène qui leur est fourni (10 pour cent au maximum selon Proske, 1982); les calculs des besoins en oxygène fondés sur cette consommation ne sont pas fiables. Comme avec les systèmes fermés, la densité optimale de poissons dans les bacs dépend d'une série de facteurs que l'expérience pratique plutôt que la théorie devrait permettre de découvrir et d'évaluer. La plupart des auteurs conseillent de tenir compte des éventuels retards dans le voyage, retards qui, sur de longues distances, peuvent aller jusqu'à 24 heures.
Tableau 19
Variations de la température de l'eau dans les camions spéciaux ne disposant pas de système de refroidissement
| Température initiale de l'eau (°C) | Durée du transport en heures | ||||
| 10 | 20 | 30 | 40 | 50 | |
| à une température ambiente de +5°C | |||||
| 10 | 10 | 9 | 8 | 7 | 7 |
| 15 | 13 | 11 | 9 | 8 | 7 |
| 20 | 16 | 14 | 12 | 10 | 9 |
| 25 | 20 | 16 | 14 | 12 | 10 |
| à une température ambiente de +15°C | |||||
| 5 | 7 | 9 | 11 | 12 | 13 |
| 10 | 11 | 12 | 13 | 13 | 14 |
| 20 | 19 | 18 | 17 | 17 | 16 |
| 25 | 23 | 21 | 19 | 18 | 17 |
| à une température ambiente de +25°C | |||||
| 5 | 10 | 14 | 16 | 18 | 20 |
| 10 | 14 | 16 | 18 | 20 | 21 |
| 15 | 17 | 19 | 21 | 22 | 23 |
| 20 | 21 | 22 | 23 | 23 | 24 |
| à une température ambiente de -5°C | |||||
| 5 | 3 | 1 | - | - | - |
| 10 | 6 | 4 | 2 | - | - |
| 15 | 10 | 6 | 4 | 2 | - |
| 20 | 14 | 9 | 6 | 4 | 2 |
Certains chiffres relatifs au transport des poissons sont fournis à titre indicatif par Horváth, Tamás et Tölg (1984) au tableau 20, par Proske (1982) au tableau 21 et par Dupree et Huner (1984) au tableau 22.
Uryn (1971) a établi des normes précises pour les densités de poissons transportés en ce qui concerne le jeune frai de Coregonus lavaretus et de Coregonus albula. Bien qu'appartenant à la même famille, ces deux espèces ont des besoins d'oxygène très différents en cours de transport: les alevins de C. lavaretus consomment en moyenne 2,4 fois plus d'oxygène que ceux de C. albula. Ce calcul repose sur la concentration limite d'oxygène (tableau 23) et sur l'intensité de l'utilisation de l'oxygène (tableau 24) pour chacune des deux espèces. Le calcul des normes de densité pour le transport des alevins peut être illustré par l'exemple suivant (le calcul s'applique à C. lavaretus): la durée du transport prévue est de 2 heures; l'eau est à 6°C et contient 7,5 mg 1-1 d'oxygène; à cette température la concentration limite est de 1,50 mg 1-1 et l'intensité de l'utilisation de l'oxygène est de 3 mg pour 1 000 alevins par heure (tableaux 23 et 24). Un litre d'eau contient donc la quantité suivante d'oxygène disponible pour les alevins: 7,5-1,5 mg 1-1 = 6 mg 1-1. Cette quantité convertie par heure de transport, peut être utilisée par le nombre suivant d'alevins:
| pour 1 000 alevins, | 3 mg. h-1 d'oxygène sont nécessaires; |
| pour x alevins, on a | 6 mg. h-1 d'oxygène, soit |
![]() | |
Le temps de transport envisagé étant de 2 heures, le nombre d'alevins devrait être divisé par deux: 2 000 alevins : 2 = 1 000 alevins . 1-1.
Tableau 20
Chiffres indicatifs pour le transport pendant 5 à 20 heures de poissons pesant en moyenne 1 000 g et convenablement alimentés en oxygène
| Espèces de poissons | Quantité de poissons (kg) pour 1 000 litres d'eau à | |||||||
| 0–5 | 5–8 | 8–10 | 10–15 | 15–20 | 20–25 | 25–28 | 30°C | |
| Carpe commune et tanche | 700 | 600 | 450 | 400 | 350 | 280 | 220 | 180 |
| Carpe de roseau | 750 | 650 | 500 | 450 | 400 | 310 | 250 | 200 |
| Carpe argentée | 300 | 250 | 200 | 150 | 100 | 80 | Pas de suggestion | |
| Carpe à grosse tête | 700 | 650 | 500 | 450 | 400 | 300 | 220 | 180 |
| Silure-glane | 800 | 700 | 600 | 500 | 400 | 320 | 250 | 200 |
| Sandre | 250 | 200 | 150 | 120 | 100 | 80 | Pas de suggestion | |
Notes:
On peut calculer la quantité d'eau nécessaire au transport en soustrayant le volume de poissons à transporter (avec une équivalence de 1 kg/1 litre) au volume total du réservoir
Au-dessus d'une température de 15°C, les données se rapportent à des poissons à jeun
Pour les poissons pesant de 1 000 à 1 700 g, le nombre conseillé peut être augmenté de 10–15 pour cent.
Les nombres figurant au tableau peuvent être diminués de:
20–30 pour cent si les poissons pèsent de 500 à 1 000 g; 30–50 pour cent si les poissons pèsent de
200 à 500 g; 50–60 pour cent si les poissons pèsent de 100 à 200 g; 60–80 pour cent si les poissons
pèsent moins de 100 g
Tableau 21
Poids de poissons (en kg) pour 100 litres d'eau lorsque la durée du transport est de 4 à 8 heures
| Température (°C) | Carpe | Truite arc-en-ciel | ||||||
| Alevins | Poissons d'un an | Poissons de deux ans | Poissons commercialisables | Alevins | Jeunes poissons | Poissons commercialisables | ||
| (4 cm) | (8 cm) | (12 cm) | (250 g) | |||||
| 5 | - | 30 | 50 | 70 | 15 | 25 | 30 | 35 |
| 10 | - | 25 | 35 | 50 | 12 | 20 | 25 | 30 |
| 15 | 10 | 20 | 25 | 35 | - | 10 | 15 | 20 |
Tableau 22
Quantité de poissons qu'il est possible de transporter dans 100 litres d'eau; les bacs sont pourvus d'agitateurs ou d'un système de ventilateurs; l'eau est dure et à une température de 18°C
| Type de poissons et longueur moyenne (en cm) | Durée du transport (heures) | |||
| 1 | 6 | 12 | 24 | |
| Alevins | ||||
| 5 | 20 | 15 | 10 | 10 |
| 20 | 30 | 30 | 20 | 15 |
| Poissons adultes | ||||
| 36 | 40 | 40 | 30 | 20 |
Tableau 23
Concentration limite moyenne d'oxygène pour le jeune frai de Coregonus spp. en fonction de la température de l'eau, en mg. 1-1
| Température (en °C) | ||||||
| 4 | 6 | 8 | 10 | 12 | 14 | |
| C. lavaretus | 1,3 | 1,5 | 1,5 | 1,7 | 1,7 | 1,8 |
| C. albula | 1,3 | 1,4 | 1,5 | 1,6 | 1,7 | 1,8 |
Tableau 24
Consommation moyenne d'oxygène des alevins de Coregonus spp. en fonction de la température de l'eau, en milligrammes, pour 1 000 alevins et pendant une heure
| Température (en °C) | ||||||
| 4 | 6 | 8 | 10 | 12 | 14 | |
| C. lavaretus | 2,7 | 3,0 | 3,8 | 4,0 | 4,8 | 4,8 |
| C. albula | 1,1 | 1,4 | 1,6 | 1,6 | 1,9 | 2,1 |
Le transport des sandres présente des caractères un peu particuliers car il s'agit d'une espèce extrêmement sensible à toute manutention. En règle générale, le transport s'effectue d'autant plus facilement que les alevins sont plus petits. Vollmann-Schipper (1975) recommande pour le transport des alevins de sandre un conteneur spécial (figure 47) muni d'un dessus hermétique et d'un système d'aération; Horváth, Tamás et Tölg (1984) conseillent pour leur part des bacs en plastique d'une contenance de 80–150 litres (figure 48) ou de 800–1 000 litres.
Les sandres se blessent - surtout aux yeux - à cause du mouvement de l'eau ou en se cognant les uns contre les autres. Ceci peut être évité en remplissant complètement le bac d'eau et en installant une valve pour les échanges gazeux (figure 48). Dans un bac hermétiquement fermé l'alimentation en oxygène s'arrête sous l'effet de la surpression et le poisson meurt.
Des données indicatives sur le transport des sandres dans des bacs, tirées des conclusions de Horváth, Tamás et Tölg (1984), figurent au tableau 25.
Tableau 25
Données indicatives sur le transport des sandres
| Groupe d'âge longueur totale | Durée du transport (heures) | Bac fermé contenant 120 1 (100 l d'eau + 20 1 O2) | Bac fermé contenant 1 200 1 (1 000 l d'eau + 200 1 O2) | ||||||
| Température (en °C) | |||||||||
| 10 | 15 | 20 | 25 | 10 | 15 | 20 | 25 | ||
| Jeune frai de 6–7 mm (mille) | 2 | 280 | 180 | 90 | - | 2 000 | 1 000 | 500 | - |
| 5 | 200 | 150 | 60 | - | 1 500 | 800 | 400 | - | |
| 10 | 150 | 90 | 40 | - | 1 200 | 600 | 300 | - | |
| 15 | 120 | 60 | 25 | - | 1 000 | 400 | 200 | - | |
| Juvéniles de 3–5 cm (mille) | 2 | 15 | 10 | 6 | 2, 5 | 180 | 120 | 80 | 25 |
| 5 | 12 | 8 | 4 | 1, 6 | 130 | 100 | 50 | 16 | |
| 10 | 8 | 5 | 2, 2 | 1, 2 | 90 | 60 | 25 | 10 | |
| 15 | 5 | 3 | 1, 5 | 0, 7 | 50 | 30 | 18 | 7 | |
| Alevins d'un été | 2 | 1 000 | 800 | 600 | - | 10 000 | 8 000 | 5 000 | - |
| 5 | 800 | 600 | 400 | 0 | 8 000 | 6 000 | 4 000 | - | |
| 10 | 600 | 500 | 300 | - | 6 000 | 4 000 | 2 500 | - | |
| 15 | 500 | 400 | 200 | - | 5 000 | 3 000 | 1 500 | - | |
| Poissons de deux étés | 2 | 180 | 100 | 60 | 0 | 1 800 | 1 200 | 700 | - |
| 5 | 140 | 70 | 40 | - | 1 500 | 800 | 500 | - | |
| 10 | 100 | 50 | 25 | - | 1 100 | 600 | 300 | - | |
| 15 | 50 | 30 | 15 | - | 600 | 400 | 200 | - | |
Toutefois, les juvéniles de sandre peuvent aussi très bien être transportés dans des bacs de type courant. Ainsi, Kavalec (1973) évoque l'acheminement d'alevins de sandre entre la Tchécoslovaquie et la Suède, soit une distance de plus de 1 200 km. Le voyage a duré de 41 à 55 heures, selon les lieux de livraison (en Suède). La température de l'eau était de 7°C et la teneur en oxygène de 7 mg 1-1; des compresseurs ont été utilisés pour aérer l'eau. Au cours du transport la teneur en oxygène est même descendue jusqu'à 4 mg. Un bac de 2 000 litres d'eau contenait 5 000 juvéniles de sandre de 11 à 14 cm de longueur, et des conteneurs de 1 000 litres étaient placés sur une remorque tractée par un camion et remplis avec 5 000 juvéniles de sandre de 9–10 cm. Les poissons sont arrivés à destination en parfait état.
Pour faire un tour d'horizon complet de la question, il convient de mentionner le transport par wagons-citernes. Ce système est toutefois en déclin car il est concurrencé par des transports routiers très performants, qui en font ressortir les inconvénients (double chargement et déchargement du poisson et durée plus longue du transport), que n'arrivent pas à compenser d'éventuels avantages économiques.
La figure 49 illustre la conception technique d'un wagon et la figure 50 en montre le système d'aération. Ce wagon est prévu pour le transport de 8–12 tonnes de poissons, en général des cyprinidés destinés à la commercialisation. La quantité de poissons transportée dépend de la température parce que les wagons ne sont pas normalement pourvus d'un système de refroidissement. Dans le modèle décrit par Vollmann-Schipper (1975) les dimensions du bac sont de 3 × 3 × 1,4 m. Des bouteilles d'oxygène sont gardées en réserve pour prendre le relais en cas de panne du compresseur utilisé au cours du trajet.
Lorsque la durée du transport est plus longue l'eau du bac est complètement renouvelée à la gare de triage. La vase qui s'est déposée au fond est évacuée en cours de route. Certaines expériences de transport ferroviaire de divers poissons ont été décrites par des auteurs soviétiques (Smorodinskaya et Khasman, 1973; Orlov, 1975; Kruzhalina, Averina et Vol'nova, 1970; Shevchenko, 1978; Demchenko, 1970).