Secondary processing consists of numerous different processes that may occur a varying number of times in different sequences in the manufacture of the products made from coconut palm wood (see Chapter 2). Here the basic construction material is cut timber having the following characteristics:
- sorted according to density, colour, defects, frequency and distribution of vascular bundles, and dimensions
- dried to a wood moisture content corresponding to the surrounding atmosphere (point of use) (indoor/outdoor use).
Thus the secondary processing methods include all wood machining methods such as sawing, planing, sanding etc., gluing techniques, and the techniques of surface finishing and assembly. Only the peculiarities that need to be taken into account specifically when processing coconut palm wood will be dealt with below.
| Important |
| Basically coconut palm wood is easier to machine when it is in the wet condition than when it is dry. It is advisable, especially for parts with rather large dimensions, to cut the wood to size and plane it out in the pre-dried state, i.e. with a rather high wood moisture content, and subsequently to dry it to the required final moisture content. The remaining processes can - be carried out after that. Dimensional changes on account of the final drying process must be taken into consideration! |
The processing sequences are shown below as flow diagrams for five different products/workpieces. The processing sequences and the work operations that they contain can be transferred to a wide variety of comparable products and work-pieces, and illustrate the individual secondary processing methods dealt with in the following chapters. The work operations contained in the processing sequences are mentioned when discussing the individual machining methods.
| Important |
| Quality Control is not distinguished separately in the processing sequences. It is an indispensable part of each work operation! |
The principle of the frame door with panelling is used both in furniture doors and in entrance and interior doors of houses. A door of this kind usually consists of:
- vertical side-members
- cross-pieces (rails) and
- panel(s).
Here the joints of the vertical members and cross-pieces have a dowelled design (Figure 52). They are used by way of example as representatives for straight, profiled solid wood components.
Fig. 52: Frame door with panelling

The working sequences for the different parts of the frame door with panelling are given in the following Figures 53, 54 and 55.
Fig. 53: Working sequence for frame components (vertical side-members, rails)

Fig. 54: Working sequence for the solid wood panelling of a frame door

Fig. 55: Working sequence for assembling a frame door

The chair back leg is a typical example of the working sequence for shaped, profiled components made of solid wood (Figures 56, 57).
Fig. 56: Chair back leg

Fig. 57: Working sequence for a chair back leg

The principle of a parquet block is shown in Figure 58 and the working sequence in Figure 59.
Fig. 58: Parquet block

Fig. 59: Working sequence for a parquet block

* = Procedures can be carried out on one machine (moulder).
** = Procedures can be carried out on one machine (double-end tenoner).
A turned component is shown in Figure 60 and the working sequence in Figure 61.
Fig. 60: Turned component

Fig. 61: Working sequence for turned components

* = May be unnecessary
A table-top is an example of the work sequence for laminated boards (Figures 62, 63).
Fig. 62: Table-top

Fig. 63: Working sequence for a laminated table-top

The aim of machining by wedge-shaped tools is to produce a geometrically defined object (workpiece) with a defined surface quality. The production of the object geometry does not constitute a problem if appropriate tooling is used. With inhomogeneous materials like wood, the surface is a complex structure that depends on numerous parameters affecting it (see Figure 64).
Fig. 64: Effects on surface quality

The parameters that have an effect are also inter-dependent. For example a required surface quality cannot be guaranteed solely based on the setting of certain machine data. Important factors affecting machinability are dealt with under the headings 8.3 to 8.5.
When defining surface quality, a fundamental distinction is made based on the intended use:
- ready for building; rough-sawn surfaces, adequate normally for building components
- ready-planed; surfaces planed
- ready for glue-bonding; planed surface, e.g. suitable for laminating
- ready for surface finishing; as a rule a sanded surface suitable for application of surface finishing materials.
Wood characteristics
As already mentioned in Chapter 1.2, coconut palm wood constitutes a parenchymatic ground tissue in which vascular fibre bundles are embedded. Each vascular bundle consists of phloem, xylem and parenchyma cells surrounded by sclerenchyma cells containing silica. This anatomy, which is distinct from all other species of wood, has particular results depending on the direction in which the fibre is cut during machining.
1. Cutting along grain or with grain (Figure 65)
Uses: e.g. planing, shaping
The lesser intrinsic strength of the parenchyma causes the latter to tear out more easily and to become visible as “raised grain” in the surface and/or along the edge.
Fig. 65: Cutting along grain or with grain

2. Cutting against grain (Figure 66)
Uses: e.g. planing, shaping
Part of the fibres and especially the vascular bundles cannot be cut off but are “torn out” and cause backward splintering on the surface and at the edges.
Fig. 66: Cutting against grain

3. Cross-cutting at right-angles to the grain (Figure 67)
Use: e.g. sawing
The lesser intrinsic strength of the parenchyma may cause the latter to break out more easily and to become visible as “raised grain” at the tool entry edge and at the tool exit edge.
Fig. 67: Cross-cutting at right-angles to the grain

4. Cutting in end grain (Figure 68)
Use: e.g. tenoning and mortising
In spite of the use of counter-stops, the parenchyma may break out at the tool exit edge. In addition the fibre ends may not be cut off flush and may project above the surface.
Fig. 68: Cutting in end grain

Constituents of the wood
The inorganic constituents fraction (ash content) in particular has an effect on cutting processes and in this case on cutting edge blunting. Silicon dioxide SiO2, which is present in amorphous particles, acts as an abrasive. Coconut palm wood has an SiO2 content between 0.02 % and 0.15 % with an average value, independent of the local distribution, of 0.10 %. The SiO2 particles (stegmata) are only to be found in densely packed form on the sclerenchymatic sheath of the vascular bundles. This proportion of SiO2 is relatively small compared to wood species that are well-known for their high, tool-blunting proportion of SiO2. The tool-blunting properties of coconut palm wood are probably caused by the large density difference between the vascular bundles and the ground tissue together with the fine dust that is formed during machining.
Cutting speed
The cutting speed is the speed of the tool cutting edges during the cutting movement into the workpiece. It is calculated by the formula:
| Vc = D × π × n/60 × 1000 [m/s] | |
| Vc | = Cutting speed |
| D | = Tool diameter [mm] |
| n | = Revolutions per minute [min1] (rpm |
| π | = 3,14 |
The following Table 21 shows the usual range of cutting speed for machining solid wood.
Table 21: Cutting speeds for solid wood
| Machining method | Cutting speed (m/s) |
| Sawing | 60 – 100 |
| Planing and moulding | 20 – 60 |
| Sanding | 20 – 40 |
The cutting speed is chosen with regard to several technical and economic criteria such as type of material, quality of cut, cutting tool wear and quantitative output. As a rule, higher cutting speeds allow larger feed speeds and thus a higher quantitative output under otherwise identical machining conditions. However the tool construction must be designed for the selected cutting speed. In addition it is generally true to say that the quality of cut under otherwise identical conditions increases at higher cutting speeds, but that the technical effort to implement higher cutting speeds and the cutter wear also increase. This means that there is an optimum cutting speed for each application, taking the technical and financial criteria into account.
Feed speed
The feed speed V, [m/min] is the speed of the forward feed movement of the workpiece or of the tool. The feed speed is proportional to the feed per tooth fz and is essentially responsible for the quantitative output. It is calculated by the formula:
| Vf = fz × n × z/1000 [m/min] | ||
| Vf | = | Feed speed [m/min] |
| fz | = | Feed per tooth [mm] |
| n | = | Revolutions per minute [min 1] |
| z | = | Number of cutting edges/teeth |
When machining solid wood feed speeds range from 1 – 220 m/min with a highest frequency of occurrence in the range 5 – 25 m/min. High feed speeds require large technical expenditure on tool construction, machine design, workpiece guidance, power demand etc.
Because of the high density of the material and resulting extreme cutting conditions, the higher feed speeds cannot be used with several methods with Cocos n. HD.
Feed per tooth
The length of the path through which the workpiece moves during cutting between the engagement of two consecutive cutting edges is called the feed per tooth fz. It is proportional to the feed speed Vf and is calculated by the formula:
| fz = Vf × 1000/n × z [mm] | ||
| fz ~ Vf | ||
| Vf | = | Feed speed [m/min] |
| fz | = | Feed per tooth [mm] |
| n | = | Revolution speed [min1] |
| z | = | Number of cutting edges |
Sample calculation:
- Cutter block with 2 knives
- Feed speed: 7 m/min
- Revolution speed: 3600 min-1
Feed per tooth:
fz= 7 m/min × 1000 mm/m/3600 min-1 × 2
fz= 1 mm
It follows from this that doubling the number of cutting edges (4 knives instead of 2) also enables the feed speed and thus the quantitative output to be doubled, theoretically with the same quality.
The feed per tooth is a technical coefficient. It can be affected by the feed speed Vf, the revolution speed n and the number of teeth z. As the feed per tooth decreases, the cutting forces become smaller, the average chip thickness becomes less and thus the cut surface quality becomes higher. The “feed per tooth” is identical with the “length of the cutter marks” and therefore a parameter for the surface quality of the respective cutting process. However it is also necessary to take account of the fact that if the chip thickness is too small, the cutting edges partly slip over the wood with a shaving effect, which leads to increased tool wear, and that as a rule the quantitative output decreases proportionally at small feed speeds.
Section 8.6 explicitly states the feed per tooth for the respective machining processes.
Pre-splitting (cleaving)
Because of the anisotropy and operating conditions, pre-splitting may occur with coconut palm wood. The chip is separated from the wood not by the surface of the cutters but by a cleavage process preceding it (see Figure 69). Provided that the wood grain runs outwards, a surface corresponding to the operating conditions is obtained. If the grain runs into the wood, irregular surfaces are obtained as a rule, since the chip is larger than the pre-determined size and breaks away in an uncontrolled manner.
The danger of pre-splitting also increases with increasing chip thickness.
Fig. 69: Pre-splitting during up-cutting

Down-cutting and up-cutting
Down-cutting
In a down-cut operation, the cutting movement of the cutting edge and the relative feed movement of the workpiece are in the same direction. The cut into the comma-shaped chip starts at its thickest point and its thickness decreases down to nil.
Advantages: Clean cut surfaces are produced even when the grain (fibre) direction is unfavourable and with a small feed force. It is possible to use high feed speeds.
Disadvantages: The life span (until blunt) is smaller because of the smaller amount of pre-splitting and the knife edge rubbing the timber after cutting. Down-cutting is suitable only for mechanical feed.
| Caution!! Accident hazard |
| Do not operate in down-cut with manual feed! |
Up-cutting
In an up-cutting operation, the cutting movement of the cutting blade and the relative feed movement of the workpiece are in opposite direction. The cut into the chip starts at its thinnest point and its thickness increases up to the cutter blade exit.
Advantages: Up-cutting results in longer life spans than down-cutting because of pre-splitting and the more favourable cutting edge engagement geometry. The cutting forces are reduced.
Disadvantages: Splintering and poor surface qualities can be produced with up-cutting, if the grain is poor, because of the increased extent of pre-splitting.
The results of a wood machining operation can be affected greatly by the design and construction as well as the current technical condition of a woodworking machine. Basically the woodworking machine should fulfil the functional requirements derived from the machining tasks. Further operational requirements in addition to these purpose-dependent functional requirements arise from the use and operation of the machine, such as accident safety, profitability, environ-mental friendliness etc.
Disturbances in the machining system occur if the functional and/or operational requirements are not fulfilled, and have a negative effect on the result of the operation with respect to work quality and (quantitative) output of work. The causes of the disturbances emanating from the woodworking machine can be very varied. Thus, in addition to incorrectly dimensioned machine elements, inadequate maintenance and repair can also be responsible for breakdowns of this kind. Frequent causes leading to inadequate work quality and/or output include concentric running inaccuracies in the tool and/or tool spindle area that can arise as a result of bearing play, excessive tolerances between the location hole of the tool and the spindle, or as a result of the tool itself. For tolerable deviations see Table 22.
Table 22: Tolerances on the machine
| Run-out error at the saw flange: | < 0.02 mm. |
| Concentric running error at the planer or shaper arbor: | < 0.02 mm. |
With regard to their design and construction, machines for working coconut palm wood must be designed for machining “heavy” woods. Limitations resulting from the woodworking machine may become apparent when machining high density coconut wood under certain operating conditions. This manifests itself by, for example, extreme vibration, very loud operating noises and by the poor quality of the machining.
The machining of coconut palm wood of medium and high density requires heavy dimensioning of:
- the machine base
- the motors
- the bearings and guides
- the templates and jigs.
In contrast to other types of wood, a large proportion of dust and chips with very small particle sizes is formed when machining coconut palm wood. They require design precautions
- against the escape of dust and chips from the area where they are formed into the surrounding air.
- against the penetration of the dust into the machine bearings, which leads to damage if the latter are not appropriately sealed.
This means that dust and chips must be removed effectively from the working area, preferably by pneumatically operating suction devices. On some occasions water is applied to the kerf area and onto the saw-blade. The effect of this is to cool the tool and to suppress the dust. A comparable effect occurs when machining “wet” wood.
| Important |
|
Machine tools are the carriers for the cutter knives needed for chip-cutting. A distinction is made between construction types according to the following Table 23.
Table 23: Tool construction types
| Tool construction types | Use |
| Solid toots (one-piece tools) Cutter knives and body are made of a single material throughout. | HSS drills CV saw blades HSS/HL cutter blocks |
| Tipped tools The cutting tips are fastended to the support body (brazed, welded) and are made of wear-resistant material. | TC boring bits TC/Stellite saw blades and cutter block |
| Composite tools Fastening elements clamp the knives onto the carrier body, usually with positive attachment. Advantage: quick knife changing. | Reversible tip drills/cutter blocks Tipped cutter block/cutter heads |
| Cutter sets At least 2 tools together with distance rings are combined into one unit in order to carry out several work operations in a single pass. | E.g. wtndowframe profile sets |
| System tools (sets of tools) Toot sets matched to one another for standard profiles. | E.g. tongue and groove cutter sets |
Chip thickness limitation
Saw-blades, cutter blocks and heads for manual feed are of limited chip thickness construction in order to reduce the risk of accidents. The deflector that prevents the workpiece being pulled into the tool is located in front of the cutter knife and the gullet (see Figure 70).
Fig. 70: Chip thickness limitation

| Caution!! Accident hazard |
| Use only limited chip thickness tools with manual feed! |
Cutting edge material
Four groups of cutting edge materials are used when machining solid wood :
| - | HL | = | High-alloy steel |
| - | HSS | = | High-speed steel |
| - | TC | = | Tungsten carbide |
| - | Stellite |
Tungsten carbide and stellite should be used as the preferred cutting edge material for the efficient and economic machining of coconut palm wood. Boring bits are the only case in which HSS can be used without serious disadvantages.
Wear and lifetime
The lifetime of the cutting edge is an important parameter for the economic-technical utilization of coconut palm wood. Lifetime means the time that elapses before a newly-sharpened tool no longer fulfils its specified function. This usually occurs as a result of cutting edge blunting or cutter breakage (= wear).
In woodworking, surface quality is an essential quality criterion, depending on the product, intended use etc. If a specified quality is no longer achieved, the tool or the cutter knife is replaced or re-sharpened. However the assessment of surface quality takes place subjectively based on the quality demands that are needed, i.e. cannot be defined unambiguously. There is a lack of suitable measurement methods that are usable in actual practice and which can determine the complex shape of a surface and its quality sufficiently well and quickly and which can be used to assess them.
| Important |
| The sharpness of the cutting edge is an important parameter affecting surface quality and the profitability of a cutting process! |
Cutting edge geometry
In addition to the cutter knife material, the cutting edge geometry has a great effect on surface quality, power requirement and lifetime. From the numerous influences on the cutting angle, only global statements can be made. Ultimately the optimum angles are derived from experience. Cutting edge geometries of the kind used when machining “heavy” tropical woods with abrasive properties apply to the working of medium and high density coconut palm wood.
Tolerances
The question as to how many cutting edges shape the surface or whether they merely pre-cut and do not participate in creating the surface depends on the order of magnitude of the tool tolerances (see Table 24).
Table 24: Tool tolerances
| Cutting circle tolerance in peripheral cutting: | 0.02 – 0.03 mm. |
| Run-out error in circular sawing: | < 0.1 mm. |
| Tool holder fitting: | H7. |
| Important |
| All of the cutting edges present on the tool should participate equally in the chip-cutting process and in the creation of the surface! |
Tool requirements
Tool lifetimes are relatively short because of the high cutting edge wear with coconut palm wood. Frequent changing of cutting knives or tools is necessary. This leads to several requirements and consequences relating to the tools for working coconut palm wood:
- Several tools or cutter knives of the same construction must be available for continuous machining on an industrial scale.
- Tipped and composite tools are preferable, since as a rule they are fitted with wear-resistant cutting edge materials (TC, stellite).
- The changing of cutter knives or tools should cause only short machine stoppages. The machines and tools should be designed for this.
- The use of TC reversible tips and of mechanized tool-changing systems should be examined carefully.
- The required sharpening equipment in the factory must be designed for these requirements, especially when the need for continuous operation must be fulfilled.
Care and maintenance of tools
Dust deposits on the cutter knives and becomes compacted into a layer when machining coconut palm wood. This increases friction and leads to heating and premature wear of the cutting edges and to some extent of the tools themselves. The dust deposit must be cleaned from the tools regularly by using clean ing baths. Cleaning baths must be used in accordance with the manufacturer's instructions because they involve corrosive chemicals. Tool maintenance must be carried out by specially trained personnel since improper sharpening causes the tools to wear out prematurely, reduces their lifetime and thus impairs profitability.
| Important |
| Deposits (compacted coconut wood dust) must be thoroughly cleaned from tools before sharpening the cutting edges in good time! |
| Caution!! |
| Cleaning baths consist of corrosive chemicals and must be used carefully (risk of accident and environmental damage)! |
The main function of sawing is cutting wood to size (cutting to length, trimming, cutting to width) and cutting to shape parallel to and perpendicular to the grain (Figure 71).
Fig. 71: Operating principle of sawing - parallel to the grain (left) and sawing - perpendicular to the grain (right)

Circular sawing is used for primary processing and secondary processing of sawn timber. Compared to primary processing, considerably smaller cutting heights are required in the secondary processing of sawn timber.
As a very universal method, circular sawing fulfils the following requirements and target parameters to a very large extent during secondary processing:
- high surface quality
- possibility of small cutting losses through the use of thinner saw-blades
- high dimensional accuracy through the least possible “untrue cutting” by the saw tools
- large cutting capacity and from there high feed speeds are possible
- good adaptability to different tasks.
Typical of the machining of solid wood is the following operating sequence for manufacturing prismatic parts (Figure 72):
Fig. 72: Working sequence for prismatic parts

In the work sequence shown above, “circular sawing” is used in work proce-dures 1,2,4 and 5. Further examples of the versatile use of “circular sawing” in the processing sequences for various products and parts can be found in Chapter 8.2.
The same relationships and principles apply to the cutting technology para-meters as for moulding/shaping with peripheral-cutting tools, with the difference that when cutting through wood, the circular saw blade projects above the latter by the distance p (see Figure 73).
Fig. 73: Principle of the circular saw cut (Ettelt, 1987)

A further peculiarity of circular sawing compared to peripheral shaping is in the creation of the cut surfaces. The lateral “cut surfaces” are generated by the minor cutting edges of the circular saw blade. Thus the quality of the surface is determined essentially by the cutting edge corners and by the blade stiffness and flat-running accuracy of the circular saw blade. Deviations from flat running can arise from the following causes:
- errors in setting/sharpening
- inadequate clamping of the saw-blade
- blade slap
- worn-out saw shaft bearings.
These manifest themselves as circular grooves of unequal depth in the cut surfaces. The quality of the surfaces can also be controlled by the value of the feed per tooth fz. The cutting forces are reduced as the feed per tooth decreases, the average chip size becomes smaller and thus the quality of the cut edges improves (see also Table 25).
Table 25: Favourable values for feed per tooth fz (= length of cutting marks) when circular sawing coconut palm wood
| Material | Feed per tooth fz [mm] |
| Cocos n. MD, HD | 0.05 – 0.1 |
| Cocos n. LD | 0.15 – 0.5 |
| Important |
| With large kerfs (thick workpieces, d > 50 mm) small feeds per tooth must be used since otherwise the chipping volume per tooth is too large! |
Technical construction of circular saw-blades
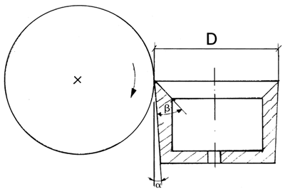
Circular saw-blades differ in their cutting edge angle, number of cutting edges for the same diameter (pitch), tooth form and cutting edge material. These parameters must be matched to the use and intended purpose (see Figure 74 and Table 26).
Fig. 74: Cutting angles - circular saw-blade (see also Figure 29)

The tooth ends on untipped saw-blades (HL, HSS) (Photo 45a) are bent outwards (set) in alternating directions in order to obtain a kerf that is wider than the thickness of the plate. This avoids friction between the plate and the cut surface. On saw-blades tipped with hard metal or stellite, the tooth width is greater than the plate (see Figure 75 and Photo 45 b). This again avoids friction against the cut surface. The rake angle y is always positive when machining palm wood and should be between 15° and 20° for longitudinal cuts in Cocos n. MD and HD. As a rule, tipped circular saw blades used in secondary processing are not re-tipped after the cutting edges have been completely used up.
Fig. 75: TC tooth shapes

Photo 45 a: Solid (one-piece) saw-blade

Photo 45 b: TCT-saw-blade

Table 26: TCT circular saw blades for machining coconut palm wood
| Type of use | Tooth shape | Tooth width (mm) | Wedge angle (°) β | Rake angle (°) γ |
| Cutting length and width to size | Square tooth | 20 – 40 | 55 | 20 |
| Format cut | Alternate top bevel teeth | 20 – 40 | 60 | 15 |
Technical requirements applying to circular saw machines
The numerous tasks that can be handled with circular saws are carried out partly on special machines and partly on universal machines. Typical machines a re listed in the following Table 27.
Table 27: Circular saw machines and their application
| Operation | Machine |
| Cutting to length | Cross-cutting saw, multiple length-trimming saw, radial arm saw |
| Cutting to width/ripping/edging | Table saw, dimension saw, multi-rip saw edger |
| Rabbeting, grooving | Table saw, dimension saw |
| Dimensioning/format cutting | Dimension saw, twin dimension saw |
| Processing corner joints for frames and boxes | Table saw, dimension saw, twin dimension saw, radial arm saw, tenoning machine |
The dimension saw (Photo 46) with the following facilities can be regarded as the basic machine:
- Fence
- Mitre-gange with stop-block
- Edge-trimming slides
- Cutting height adjustment
- Tilting arbor
- Revolution speed adjustment
- Suction nozzles
- Riving knife (“splitter”) and topguard
The feed can be manual or by mechanical feed devices.
Photo 46: Dimension saw (sliding table saw)

User information for circular sawing of coconut palm wood
Cocos n. MD and Cocos n. HD show edge splintering to some extent when sawing parallel and perpendicular to the grain. The parenchyma breaks out because of its low intrinsic strength. The extent of splintering depends, among other things, on the machining parameters (fz, Vc) and must be included in the amount of allowance given for subsequent machining steps (planing, moulding). In addition, as a rule vascular bundles protrude from the workpiece surface after sawing along the grain.
Splinters of the kind that are formed at the back edge of the workpiece (saw exit edge) when sawing at right angles to the grain can be prevented by the use of stop-blocks (Figure 76).
Fig. 76: Use of a stop-block

For Cocos n. MD and Cocosn. HD it is true to say that good cut surfaces and cut edges can be produced when sawing with a small feed per tooth (fz= 0.05 mm, 0.1 mm) and when using TC cutting tips. When machining Cocos n., the effects of different cutting speeds and saw-blade projections p are rather small with TCT tools (Table 28). Compared to stellite-tipped saw-blades, TCT saw-blades achieved both considerably better cut surface qualities and longer life spans. Cocos n. HD is only inadequately machinable with chromium-vanadium saw-blades, while thick workpieces (d > 50 mm) are not at all machinable with these.
Despite the higher procurement and maintenance costs of TCT saw-biades as compared to stellite-tipped ones, the lower processing costs are achieved with TCT tools.
Table 28: Technical data for circular sawing Cocos n. parallel and perpendicular to the grain
| Feed per tooth fz (mm): | 0.05 – 0.1. |
| Cutting speed Vc (m/s): | 60 – 90. |
| Cutting edge material: | TC, Stellite. |
| Important |
|
The main function of band-sawing in secondary processing (see Figure 77) is the division and curve-sawing of wood. Considerably smaller cutting heights are needed when secondary processing of sawn timber is compared to primary pro-cessing. Narrow band-sawing largely fulfils the following requirements and target parameters, especially during secondary processing:
- Low cutting losses due to small saw kerf width
- Curve-cutting is possible.
Narrow band-sawing is used when “sawing out the shape” in the working example “Chair back legs” in Section 8.2.
Fig. 77: Operating principle of narrow band-sawing
(sawing of curved or irregularly shaped outlines)

As with circular sawing, the cut surface is generated by the minor cutting edges. Thus the quality of the cut surface is determined essentially by the cutting edge corners and by the blade stiffness and blade guidance. The cut surface quality is also affected by the feed per tooth fz. The cutting forces become less, the average chip thickness smaller and thus the cut surface quality higher as the feed per tooth decreases (see Figure 78).
Deviations from the cut quality are characterized in particular by grooves whose causes lie in the tool/machine area:
- Setting/sharpening errors
- Inadequate saw-blade clamping
- “Worn out” bearings
- Defective saw-blade guides
- Faulty table mouth piece
Fig. 78: Technical parameters of band-saw blades

Technical construction of band-saw blades
Band-saw blades consist of chromium-nickel steel. Their thickness is 1/1000th of the wheel diameter of the band-saw machine.
Their width, pitch and tooth geometry are governed by the curve radius that is to be produced and by the engagement depth (material thickness) (see Table 29).
Table 29: Machining coconut palm wood with band-saw blades
| Wedge angle (°) β | Rake angle (°) γ | |
| Curve cut | 50 | 15 – 20 |
So that the saw-blade does not rub against the cut surface, the teeth must have a lateral overhang (set) which is achieved by setting, upsetting or by using teeth with laterally projecting cutting edges, e.g. as with stellite-tipped band-saw blades. The tooth tips can be hardened by high frequency equipment and thus achieve a longer lifetime. TCT band-saw blades are not used in woodworking.
Technical design of band-saw machines (Photo 47)
As a rule the feed on narrow band-saws is manual. In addition to a good band-saw guidance, a table mouth piece surrounds the saw-blade well should be used (Figure 79), which of course must be changed incorrespondance to wear. The table mouth piece supports the lower surface of the workpiece and thus helps to avoid splintering at the saw exit edge.
Photo 47: Narrow band-sawing machine

Fig. 79: Table mouth piece

| Vc = D × π × n/60 [m/s] | ||
| D | = | Wheel diameter [m] |
| Vc | = | Cutting speed [m/s] |
| n | = | Wheel revolution speed [min 1] |
User information for narrow band-sawing of coconut palm wood
The cut surface quality with ail density classes is good to very good when using work-sharp band-saw blades. The “grooves” produced by the saw-blade appear to a lesser extent at higher raw density and lower feed speed. Splintering occurs espe-cially during cross-grain cutting and when sawing against the grain.
The life distance of the saw-blades is a problem when machining coconut palm wood, since chrome-nickel steel saw-blades are used here. Depending on the densi-ty range, chip removal volume and number of teeth, the life distances that are achievable are only twice to five times the saw-blade length. The cut surface quality and the splintering on the workpiece underside very soon reach a magnitude that is no longer tolerable for further processing (e.g. shaping/moulding). The machining allowances must then be disproportionately large (5 to 10 mm) to enable the resulting defects to be removed. The technical data for band-sawing are summarized in the Table 30:
Table 30: Technical data for band-sawing
| Cutting speed Vc (m/s): | ca. 30. |
| Cutting edge material: | CN-hardened, Stellite. |
| Important |
| Coconut palm wood must be sawn using hardened band-saw blades! |
As a rule, planing (see Figure 80) and profiling follow the work sequences of cutting to length (trimming) and cutting to width.
Fig. 80: Working principle of planing

The following operations are needed to produce prismatic parts:

In peripheral planing, the cutting edge enters the workpiece and removes a comma-shaped chip at its peripheral path. On the workpiece the cutting edge produces a curved surface corresponding to the chip shape. The next cutting edge enters the workpiece displaced through a distance equal to the feed per tooth fzand again removes a chip (see Figure 81). A curved surface corresponding to the chip shape and called the cutter mark is formed on the workpiece. The length of the cutter mark corresponds to the feed per tooth fz.
fz = Feed per tooth (= length of cutter mark)
ae = Cutting depth
D = Toot diameter/cutting diameter
Fig. 81: Parameters on the chip in peripheral planing

Table 31 shows the surface quality depending on the length of the cutter marks.
Table 31: Surface quality
| Surface quality | Feed per tooth fz = length of cutter marks |
| Smooth | 0.3 – 0.8 |
| Medium | 0.8 – 2.5 |
| Rough | >2.5 |
The appropriate length of cutter marks (= surface quality) depending on feed speed, r.p.m., and number of knives can be read from the following graph (Figure 82):
Fig. 82: Graph of the theoretical length of cutter marks/feed speed/surface quality

(Soource: Letiz)
Actual length of cutter marks
In peripheral planing, the manufacturing and adjustment inaccuracies of the machine and tool system affect the surface quality and cutting edge blunting and already cause a considerable deterioration of the surface quality even at moderate feed speeds, since as a rule with tools having two cutting edges, only one cutting edge forms the surface while the second cutting edge only pre-cuts (Figure 83).
Fig. 83: Actual length of cutten marks

D1, D2: Cutting diameter of cutting edges 1 and 2.
Technical information for cutter heads
The following actions are taken to achieve the same cutting circle for all of the available cutting edges:
- sharpening the blades in situ in the blade shaft
- use of self-centring, exchangeable knives (turn blades)
- use of a hydraulically clamped tool (Figure 84)
- sharpening the cutter heads in the machine (jointing, only with a hydraulically-clamped tool).
Fig. 84: Hydraulic clamping

Coconut palm wood, which has an abrasive action, should be machined using knives tipped with TC/stellite. The tool parameters are given in the following Table 32.
Table 32: Cutting angles when planing and moulding coconut palm wood with TC blades
| Wedge angle (°)β | Rake angle (°) γ | |
| Planing | 60 | 15 |
| Milling | 55 | 20 |
Technical design of planing machines
Normally universal machines are used for planing. It may be advantageous to use four-side planing machines (see Photo 48) for machining rather large amounts of the same cross-section. Compared to the combination surface planer/thickness planing machine, the four-edge planing machine with mechanical feed has the disadvantage of a small passage width (= max. workpiece width) but as a multi-stage machine it can machine the workpieces on all of the long sides in one pass (often in conjunction with profiling).
Table 33: Planing machines and their application
| Operation | Mechine |
| Surfacing/square edge planing | Surface planer, |
| four-side planing machine | |
| Planing thickness/width | Four-side planing machine, |
| thickness planing machine |
Photo 48: Four-side planing/moulding machine

User information for planing coconut palm wood
Achieving the specified surface quality depends essentially on the value of the feed per tooth fz. With Cocos n. MD and HD, good surfaces are achieved in an fzrange of 0.5 – 1 mm (see also Table 34). This range must be ensured by suitable tooling systems. TC cutting edges show the best results when planing coconut palm wood of medium and high density. Stellite-tipped plan ing blades are inclined to blunt and then produce splintered back and broken-out surfaces. HSS planing blades are unsuitable and should be avoided if possible.
The parenchyma is more likely to break out when planing with the grain (vascular bundles), and the vascular bundles are more likely to splinter back when planing against the grain. Fibres splintered back can be sanded off well afterwards (see also Chapter 8.6.7). However they prevent the workpieces to converge closely (= tightness) during glue bonding which may lead to a thick glue line and inadequate strength.
Because of the structure, Cocos n. MD and Cocos n. HD are highly prone to edge splintering. The edge splintering and tool wear can be reduced by a small cutting depth ae. As a rule with sawing, a reduced cutting depth demands a good surface quality from the preceeding cutting process.
Table 34: Technical data for planing
| Feed per tooth fz [mm]: | 0.5 – 1. |
| Cutting speed Vc [m/s]: | ca. 40. |
| Cutting edge material: | TC. |
| Cutting depth ae: | as small as possible. |
From the cutting technology point of view, moulding (Figure 85) corresponds to planing, which is dealt with in Section 8.6.3.
Fig. 85: Operating principle of moulding - parallel to the grain (left) and - perpendicular to the grain (right)

The shaping of curved surfaces and edges of the kind that occurs in the working sequence for the chair leg (Chapter 8.2.2) can be controlled mechanically (copying template with copying pin or roller collar; Figures 86, 87) or program-controlled (CNC-control).
Technical design of cutter heads for spindle shapers/moulders
(see Photos 49 – 51)
The tool construction types are described in Section 8.5.2. A universal cutter head with exchangeable profile knives and limitoras illustrated in Photo 51 is especially suited when using different profile shapes. Coconut palm wood must be machined with TC/Stellite-tipped cutting edges, which enable good operating results. The cutting angles should be designed for machining hardwoods. The following table (Table 35) shows cutting angles with which good operating results have been achieved.
Table 35: Tool angle when shaping coconut palm wood with TC knives
| Wedge angle (°)β | Reke angle (°)γ | |
| Profile shaping/moulding along the grain | 55 | 20 |
Photo 49: Cutter with cutting tips of stellite or TC

Photo 50: TC-tipped shank type cutter for router

Photo 51: Profile cutter head with exchangeable knives

Technical design of spindle shaping machines
It is necessary to distinguish between the machines based on their application; primarily as to whether they are used for shaping straight or curved surfaces and edges (Table 36).
Table 36: Machines for shaping/moulding
| Application | Machine |
| Shaping straight surfaces and edges |
|
| Shaping curved surfaces and edges (form shaping/moulding) |
|
The spindle shaper (Photo 52) represents the universal machine that can be used for shaping/moulding both straight and curved surfaces. The workpiece feed can be manual or by mechanical feeding devices. It is advantageous for the spindle shaper to be equipped with facilities for an inclined spindle position and for varying the revolution speed.
Photo 52: Spindle shaper/moulder

Fig. 86: Principle of copy-shaping with a copying pin and template

Fig. 87: Principle of copy-shaping with a roller collar and template

User information for shaping/moulding of coconut palm wood
Coconut palm wood turns out to cause problems in moulding because the resulting back-splintering and tearing are too great for use in furniture-making and in the area of visible wooden structural elements. This is true primarily for profile shapes with a large profile depth/chip removal volume. To achieve good surface quality a multi-stage machining method is recommended in order to reduce the chip removal volume and/or the cutting depth ae per work cycle (see Figure 88):
Fig. 88: Multi-stage profile shaping

1. Oblique cut
2. Pre-moulding
3. Final moulding
Depending on the chip removal volume, very high cutting forces occur during moulding, which it is essential to take into account when selecting the tool, machine and template.
Because of the unsatisfactory surface quality, moulding at right angles to the grain should be avoided. This must already be taken into account during product development and design.
Torn edges of the kind that occur at the back edge of the workpiece when shaping at right angles to the grain can be avoided if counter-stops are used or if the splintering is included in the machining allowance (machining sequence: 1st cross shaping, 2nd lengthways shaping - see Figure 89).
Fig. 89: Operating sequence in shaping/moulding to avoid tearing of wood

Cocos n. MD and HD show good to very good results when form shaping with TC cutting edges. This is true both for up-cutting and down-cutting (Figure 90).
Fig. 90: Form shaping

Large cutting forces can also occur during form shaping, depending on the chip removal volume. Multi-stage machining is advisable here again, and the con-tour of the workpiece should be pre-cut on a band-saw. Because of the cutting condi-tions, the highest cutting forces and poor surface qualities occur when cutting grooves with shank type cutters (Figure 91). Multi-stage machining (roughing, fine finishing) and/or single-knife/cutter tools can provide a remedy here.

Fig. 91: Groove shaping with a shank type cutter
Table 37: Technical data for moulding
| Feed per tooth fz [mm]: | 0.5. |
| Cutting speed Vc [m/s]: | 40 – 60. |
| Cutting edge material: | TC, Stellite. |
| Cutting depth ae: | as small as possible. |
Table 38: Technical data for shaping
| Feed per tooth fz [mm]: | 0.125. |
| Cutting speed Vc [m/s]: | 10 – 30, |
| Cutting edge material: | TC. |
| Cutting depth ae: | as smalt as possible. |
| Caution!! Accident hazard |
|
| Important |
| Profiles with large chip removal volumes must be multi-step machined! |
In end-face planing (see Figure 92), the tool axis is not perpendicular to the workpiece surface but is slightly inclined relative to it. The hollow surface resulting from this design has a vertex height that is negligibly small.
Fig. 92: Operating principle of end-face planing

End-face planing can replace peripheral planing. Both methods aim at the same operational result, the “face planing” and “planing to thickness/width” of wide/narrow surfaces.
Technical constructions of end-face planing machines
End-face planing machines (see Photo 53) enable the machining of short work-pieces (min. 200 mm) without any additional clamping device. Basically two machine construction types can be distinguished based on the number and arrangement of the tooling:
- with several tools in a staggered arrangement relative to one another
- with one tool with a tool diameter corresponding to the working width (machines with a maximum working width of 2200 mm are available).
Photo 53: End-face planing machine

User information for end-face planing of coconut palm wood
Since end-face planing is a relatively “young” method in woodworking, it is not possible to report on a sufficient amount of practical experience. Laboratory tests with Cocosn. have shown good surface results that can be explained by the theory of end-face planing. For this reason no “Technical Data” is given here. It must be emphasized once again that end-face planing is applicable with good success partic-ularly when machining coconut palm wood because of the chip-cutting principle.
One reason for this is that in contrast to peripheral planing, the vascular bundles are not “pulled” out of the tissue in a direction parallel to the machining direction but are sheared off sideways. Tearing out of the vascular bundles and also of the parenchyma (ragged edges) occurs at the point where the moulding cutter head leaves the workpiece as a result of the cutting movement at right angles to the fibre. This can be prevented by counter-stops strips and/or table constructions with in the planing machine (see Figure 93).
Fig. 93: Preventing ragged edges when end-face planing by a suitable counter-stop

The operation of boring produces through holes or blind holes that are used to accommodate fasteners such as dowels or fittings (Figure 94). Boring represents the ideal technique for producing corner joints and joints for lamination of wood. The quality of the hole wall surface, hole entry edge and/or hole exit edge are critical, depending on the intended purpose of the hole. In this case the bit geometry and construction, and the appropriate workpiece-rest in the case of the exit edge, must be correctly constructed. This means that different bits should be used for blind and through holes to give good results (Figure 95).
Fig. 94: Operating principle of boring

Fig. 95: Through hole (left), blind hole (right)

Technical construction of bits
Depending on the drill type, the wall surfaces of the drilled hole are formed by the main cutting edges (twist bit with roof-shaped point, mainly for through holes) or by the pre-cutting edges (dowel bit with lip and spur, mainly for boring blind holes). The danger of splintering occurs mainly at the entry and exit into/out of the work-piece. When boring into cross-grain wood, the main cutting edges each cut at right angles to the fibre.
In addition to the intended use (e.g. bits for dowel holes or countersink bits), bits are classified according to the shape and arrangement of the cutting edges (Figure 96).
Fig. 96: Twist bit (Ettelt, 1987)

Technical constructions of boring machines
There are many types of boring machines (see Photo 54). Boring sets are often integrated into multi-stage machines designed for other processes. A boring machine which has a swivellable boring head and which is therefore able to make horizontal and vertical holes can be regarded as the universal machine.
Photo 54: Boring machine with swivellable boring head

User information for boring of coconut palm wood
With Cocos n. MD and Cocos n. HD, boring can be used with good results for holes drilled both along the grain and across the grain. Splintering seldom occurs at the hole edge when boring.
The life span of TC bits is considerably longer than HSS bits. The fit of dowels pressed into the bored holes is good. Splintering of the kind that occurs at the bore exit edge can be avoided by appropriate workpiece rests.
As a machining method, the purpose of sanding is to prepare surfaces with a specified shape and quality (Figure 97). Sanding can be used to smooth surfaces and/or to produce a particular geometry, as in abrasive planing. In the first case sanding is used immediately before surface coating and in the second case abrasive planing can replace planing by cutter heads.
Fig. 97: Operating principle of sanding

Technical construction of sanding tools
Sanding is a machining process with undefined cutting edge geometries (see Figure 98).
The material that is removed occurs as sanding dust. The cutting materials include aluminium oxide, silicon carbide, and, specifically for Cocos n., zirconia-alumina. These are glued to a backing material (paper, cloth) with phenolic resin. The cutting material is present as grit (granules). The grit is divided into sizes by sieving. The grit number gives the number of sieve meshes per inch. A grit value of 100 means that the grit has passed through a mesh which has 100 holes to the linear inch.
Fig. 98: Chip removal during sanding

(Source: Argyropoulus, 1991)
Sanding belts (wide belt sanding machines) or sanding cylinders (cylinder sanding machine) are used to sand wide surfaces.
The following sanding tools are used for edge and profile sanding:
- Sanding belts
- Sanding disks
- Sanding drums
- Sanding straps
- Orbital sanding shoes
- Strip/brush sanding heads
All of the above-mentioned sanding tools for edge and profile sanding can be used for flat or profiled surfaces. The tool engagement zone must then have the corresponding required shape. Compared to other sanding tools mentioned, sanding belts have the advantage of a longer lifetime (exception: rather long sanding straps) because of the smaller engagement frequency of the individual sanding grit particle. Disadvantages with sanding belts are their restricted usability on complex profiles and the higher investment costs for the equipment.
An advantage of sanding disks (Photo 55) and sanding straps is that they can be used on simple machines, e.g. spindle shapers with revolution speed control.
Photo 55: Profile sanding tool

Technical construction of sanding machines
With regard to pre-conditions and results, there are considerable differences be-tween the sanding directions along, across and perpendicular to the fibre (perpen-dicular to the end-grain). A rougher surface is obtained when sanding across the grain and a considerably higher amount of material is removed per unit of time (up to 100 %) than when sanding along the grain, under identical sanding conditions.
End-grain sanding requires sharp sanding belts, otherwise there is a danger of scorching the surface because of excessive friction and heat development without any chip removal.
The cutting speed when sanding is the same as the peripheral speed of the belt. When sanding solid wood the speed is between 20 and 40 m/s depending on the type of wood.
It may be beneficial to use the following work sequence, among others, when sanding wide faces of solid wood:
Sanding across the grain.
Sanding along the grain.
This combination is often used to achieve high-quality surfaces, since the first sanding pass (across the grain) shears off the fibres at the pore side edge and thus enables a better sanding quality. In addition, more material volume can be removed per unit time when sanding across the grain, as already mentioned. As a rule, the only additional thing that happens during the subsequent sanding along the grain is that the surface is freed from the transverse grooves left by the sanding grit of the cross-grain sanding, and is smoothed.
This principle can be implemented by several consecutive sanding operations and workpiece passes through one machine. However it can also be carried out in one workpiece pass by arranging the long and wide belt sanding units in a single machine, the cross-sanding machine.
User information for sanding coconut palm wood
For furniture-making requirements, 100 grit is adequate for Cocos n. HD as the last chip-cutting process before surface coating. For Cocos n. MD, 120 grit is needed.
The feed speeds on a wide belt sanding machine (Figure 99) should be set to 4 m/min for Cocos n. HD and 10 m/min for Cocos n. MD. When using wide belt sanding machines, flat engagement zones give slightly better operating results than cylindrical engagement zones, which show advantages at a high removal volume. Splintered-back and protruding fibres are sheared off well in flat sanding across the grain.
Fig. 99: Wide belt sanding set with pressure bar

(Source: Argyropoulus, 1991)
Because of the small anatomical differences in a radial and tangential direction in Cocos n,, all of the instructions also apply to the sanding of narrow surfaces. They can also be transferred to the use of profile belt sanding sets without any restrictions.
The life span of sanding belts with Cocos n.HD is small, especially under tropical climate conditions. A perfectly planed surface is advisable here, to save costs. Good sanding results with rather long life spans can be achieved at a small removal rate. Abrasive belts of the kind normally used for grinding metals also lead to longer life spans with Cocos n., and are being used successfully. In this case the abrasive particles consist of zirconia-alumina.
For sanding narrow surfaces at right angles to the grain Cocos n, HD shows well-sanded surfaces if the starting point, produced by the previous machining process, is already very good for this density class (cf. “Sawing-perpendicular to the grain” and “Shaping/moulding perpendicular to the grain”). The life span of the sanding tool in this direction of cut is small.
Splintering of the kind that occurs when sawing perpendicular to the grain and profile-milling perpendicular to the grain cannot be removed with an abrasive removal depth of 0.1 mm. The quality of the machining from the previous machining processes must be appropriately good if corresponding quality demands after fine finish machining are to be fulfilled.
Table 39: Technical data for sanding
| Grit: Cocos n. HD: | 100. |
| Grit: Cocos n. MD: | 120. |
| Cutting speed Vc [m/s]: | 20. |
| Cutting depth ae: | as small as possible. |
One of the commonest frame corner joints in woodworking is the mortise and tenon joint. Frame rails are divided across the thickness into an odd number of mortises and tenons. The joint is glued. The mortise and tenon joint has good strength values and is used both in furniture-making and in wooden structural elements (windows, doors).
Fig. 100: Operating principle of mortising and tenoning preceded by a dimensioning saw

The frame rail is “cut perpendicular to the end-grain”. The tools have a large cutting diameter because of the large cutting depth. Cutter blades whose cutting edge width corresponds to the mortise width are fixed to a relatively thin tool body (disk) by positive and frictional engagement. Because the chip removal volume is large and the fibre cutting direction affects the cutting edge angles, the cutting edges have a small sharpness angle and a large orthogonal clearance angle.
Table 40: Tool angles when mortising and tenoning coconut palm wood with TC blades
| Wedge angle (°) β | Rake angle (°)γ | Clearance angle (°)α |
| 55 | 10 – 15 | >15 |
The workpieces on a rolling table are moved mechanically or manually. Splintering at the tool exit surface should be prevented by using counter-stops.
Alternatively circular saws can be used, especially to prepare tenons. The circular saw cuts for the tenon shoulders must be at right angles to the tenon surface.
User information for mortising and tenoning
With Cocos n. MD, the results of machining are characterized by smooth tenon surfaces with splintering in the region of the parenchyma, good fit and marked edge raggedness at the workpiece exit edges despite the use of counter-stops. Although the splintering scarcely has disadvantageous effects after glue-bonding the mortise and tenon, the ragged edges mentioned above can have entirely disadvantageous consequences, at least through the visual appearance in the area of the narrow surfaces of the glue-bonded components. This kind of splintering may be removed by outside profiling after glue-bonding (e.g. window frames), but this must not take place in all cases.
A pre-sawn tenon shoulder shows perfect work results, but the ragged edges at the long edges of the mortises and tenons still occur.
Cocos n. MD can be machined satisfactorily with tool designs corresponding to the standard design of medium-density woods. However, because of the existing wood properties and wood quality in the case of Cocos n. MD, widespread use of this wood for very high demands with regard to product and machining quality cannot be expected.
Cocos n. HD shows the following features: smooth wall surfaces without splintering of fibres and parenchyma, press-fitting because of the elastic bending deformation of the mortise disks as a result of high cutting forces and/or short-duration compacting of the wood tissue during the cutting operation, edge ragged ness in the side surface longitudinal edge region of the tenon/mortise at the tool exit side, and slight or no splintering with a sawn tenon shoulder.
In practice, in frame designs based on mortise/tenon jointing, splintering can often be set in the non-visible areas (inner side) or it can be removed by subsequent format machining or outside profiling.
It may be necessary to resort to alternative frame corner joints, e.g. the use of dowels. The “boring” process used to prepare the dowel holes for this is feasible with very good results with all grain directions/feed directions.
A further point that should be mentioned about mortising and tenoning is that exceptionally large cutting forces occur with Cocos n. HD, that cause very strong vibrations of the woodworking machine (= high stress on bearings, guides etc.), and that very short tool/cutting edge life spans were recorded. In the event that spindle shapers with built-in sliding/rolling tables for mortise and tenon cutting are used, the machines and table structures must be of very solid construction.
Table 41: Technical data for mortise and tenon cutting with slot and tenon cutters
| Feed per tooth fz [mm]: | 0,01 – 0,025. |
| Cutting speed Vc [m/s]: | 20. |
| Cutting edge material: | TC (HSS is possible in some cases). |
Finger dovetailing is often used as a corner joint, mainly to join solid wood com-ponents together (Photo 56). Board surfaces are given equally spaced dovetails by cutting. The joint is glued and must be of high quality since it is often used in a visible position.
Photo 56: Operating principle of dovetailing

The special fibre cut direction and the requirements applying to the fit and quality of the cut surfaces demands tools with main and spurs cutting edges that are designed for this specific case.
Transverse profile cutting machines with mechanical feed are used in industrial applications, otherwise spindle shapers are also used. The use of counter-woods at the tool exit should prevent splintering.
User information for dovetailing
The result of the operation is good to very good when TC cutting edges and counter-stops are used in the dovetail cutting process.
Cocos n. MD shows splintering at the longitudinal edges of the dovetails (tears) but the inner surfaces and the dovetail base are smooth and the fit is good. Cocos n. HD shows smooth inner surfaces and a splinter-free dovetail base with
no ragged edges. One special feature that must be mentioned is the extreme tight fit of all of the dovetail components, which is very pronounced in spite of an identical machine/tool setting. This feature already occurs with newly-sharpened tools and it is very probably attributable to three causes:
The high density wood tissue opposes a large resistance to the cutting edges, the vascular bundles present in rather large numbers are pressed into the “softer” parenchyma from which they spring back again after the cutting process, and an elastic deformation of the tissue occurs.
The lateral cutting edges of the cutting tools deflect sideways because of the large cutting forces, altering the geometry. These deflections are in a range bet ween 0.01 mm and 0.02 mm, too small to be registered with common measuring tools.
Because of the high density, the dovetail cheeks do not compact when pressing together the joint components to the same extent as, for example, with woods of lower density.
This tight fit requires corresponding corrections in the machine adjustment and tool setting and/or construction. In addition special precautions are needed in the machine design and workpiece clamping because of the very high cutting forces with Cocos n. HD.
Finger joints of the kind used for the length and width jointing of solid wood are a problem with coconut palm wood because the tips of the cutting tool taper to zero and the wood tissue does not have sufficient strength. The parenchyma breaks out during machining and produces ragged cut edges and points, and the fibres protrude and prevent the profiled components from coming close together. The cutter tips also wear away very quickly.
Finger joints should be avoided with coconut palm wood (in this connection see also Chapter 2).
Swing chisel mortising produces openings in the wood (mortise holes), as a rule with rectangular cross-sections.
Fig. 101: Operating principle of swing chisel mortising

Source: Sherlock, 1991
For this purpose it is possible to use two known systems that differ in their tool construction and cutting kinematics. One system uses a three-part tool consisting of two lateral mortising chisels that oscillate linearly up and down, and one central chisel with two cutting edges that oscillates around a pivot and cleans out the opening (see Figure 102).
Fig. 102: Three-part swing chisel mortising tool

Source: Sherlock, 1991
The other system uses a single-part, toothed tool that moves in an oscillating path (Figures 101,103). The tool is moved by an eccentric and is guided in a straight slot at the top. This causes an elliptical cutting edge movement. Slightly rounded-off teeth, whose function is to carry the chipped material out of the opening, are ground onto the front edge of the tool where the chips produced by the lower cutting edge arise. The actual chip-cutting process is similar to shaping, taking into account the oscillating tool movement and the non-constant cutting speed. The cutting speed is at a maximum at the centre of the oscillation and at a minimum at the two tool reversal points.
At the tooth exit side the edge fibres of the workpiece must be supported by a hold-down device, also called a chip-breaker, since otherwise splinters occur at this area of the workpiece. The tool cutting edges have lip clearance angles at the sides to prevent the teeth from scraping on the walls of the opening.
As a rule, oscillating chisel tools are made from HSS steel, but can also be constructed with TC tips.
Fig. 103: Construction and principle of the single-part oscillating chisel mortising tool

Source: Sherlock, 1991
User information for swing chisel mortising
Swing chisel mortising achieves good to very good work results with splinter-free hole walls and edges. The feed speed that is used depends on the density. The cutting forces with Cocos n. HD can be described as exceptionally large, and the tools also blunt very quickly. Because the relative cutting movement differs from mortising and tenoning, the work results that are achievable when using a standard tool with coconut palm wood are considerably better than in tenon mortising. TC-tipped oscillating chisels that are processed for special individual cases can achieve rather long lifetimes. Care must be taken to use a particularly heavy machine con-struction and good workpiece clamping when chisel mortising Cocos n. HD.
Cylindrically smooth and profiled workpieces can be produced by lathe-turning (Figure 104). Because of the wood structure and relative cutting direction in turning, highly profiled geometries with profiles tapering to a point should be avoided with coconut palm wood (in this connection see also Chapter 2 “Products and Design”).
Fig. 104: Operating principle of straight (plain) lathe-turning

Technical construction of lathe tools
The machining process of turning produces rotationally-symmetrical workpieces by a circular cutting movement of the workpiece. The tool carries out the forward feed and adjustment movements. As a rule in this method the chip runs on the top cutting surface of the workpiece, chip removal taking place at the periphery of the workpiece.
The following remarks refer to machine designs in which the tool movement is mechanical (no manual tool guidance and movement). The tools used include lathe chisels of various designs and profiling cutters. The latter have the shape of the turned (work) surface that is to be produced and are inserted at right angles to the rotation axis (Figure 105).
HSS steels and in some cases tungsten carbide (TC) are used as the cutting edge materials. HSS and TC tools are only tipped with these cutting edge construction materials, the shafts then consisting of structural steel or other low-alloy manganese steels.
The cutter tip is at the same height as the axis of the rotating object. If the forward feed direction is parallel to the rotation axis, this is called long turning. The main cut direction is parallel to the fibre (grain) direction and the secondary cut direction is at right angles to the fibre direction.
The lathe chisel can be tipped with a bell-shaped knife (Figure 106) or cutting cylinder (circular cutting edge). In addition to the advantage of a relatively large cutting curve to achieve very small roughness depths, this cutting cylinder has the additional benefit that the entire cutting edge periphery can come into use by sequential turning of the cutting cylinder after a used position has been blunted. For the reasons mentioned above, this cutting edge shape has proved to be very good in the present case with coconut palm wood.
Fig. 105: Cutting angles and edges on lathe chisels

α = clearance angle
β = wedge angle
γ = rake angle
Vc = cutting/rim speed
Fig. 106: Diagram of the principle of a bell-shaped knife

User information for lathe-turning
Cocos n. MD shows break-outs in the parenchyma and severe back-splintering as the cutting edge bluntness increases.
Cocos n. HD shows good work results with only a slight tendency to break-outs and back-splintering.
As a result of the relative direction of cutting that occurs in longitudinal turning, long lifetimes are achieved by the favourable chip-cutting conditions. Lathe chisel cutting edges tapering to a point, as are used when turning conventional wood species, give bad results with coconut palm wood. This manifests itself as grooving and torn-out vascular bundles.
The cutting speeds in wood-turning are in the range from 1.0 m/s to 12 m/s and depend very greatly on the type of wood, among other things, and in the present case especially on the density. The cutting tool tip (lance) should always have a certain radius and for the reasons mentioned above it should not taper to a point.
Table 42: Technical data for (straight) longitudinal turning
| Cutting speed Vc [rm/s]: | 2. |
| Cutting tool material: | HSS (bell-shaped knife). |
| Cutting depth ae: | as small as possible (multi-step process if large volumes are to be machined away). |
It is often necessary to use a gluing (glue-bonding) technique, e.g. to manufacture wooden joints such as dowelled joints, mortise and tenon joints etc. and to obtain larger thickness, width and length dimensions. Because of the density distribution in the coconut palmtree trunk and the resulting cutting patterns, the maximum cross-section dimensions that are achieved from one density region are about 100 × 50 mm (4“ × 2”). Glue-bonded wood structures are used both in furniture construction and in wooden building components. Typical examples in the latter area include laminated window scantlings and laminated beams. A combination of palm wood with plywood to manufacture box beams or I-beams has already proved successful in several applications, e.g. in construction buildings in Zamboanga and Davao in the Philippines (see Chapter 2.2, Design - glue-bonded construction material).
Basically all types of glue designed for gluing wood can be used to glue coconut palm wood, e.g. PVA adhesive, urea, melamine and phenol-formaldehyde adhesives, as well as epoxide and polyurethane adhesives. The choice of adhesive depends mainly on the conditions of use (interior/exterior use, climate resistance) and on the machining conditions (joint gluing, assembly gluing, fitting tolerance of the components, wood moisture content etc.). In principle it can be stated that coconut wood has a very good gluability.
Pre-conditions for gluing Cocos n.
- The wood must be dried to the final wood moisture content corresponding to the subsequent application climate.
- The surfaces that are to be glue-bonded must be smooth and dust-free and there must be no vascular bundles projecting from the surface, as they impede the required joint fit.
- Wood joints must be machined to an accurate fit and must have sufficiently large adhesion surfaces appropriate to the joint strength requirements (e.g. dowels versus double mortise and tenon).
- An adequate amount of glue must be applied. The basic parenchymatic tissue of coconut palm wood has a high absorbency that takes up the adhesive rapidly and thus leads to a starved glue line. This effect occurs especially with cross-grain wood surfaces and with Cocos n. LD. Remedies include high-viscosity adhesives (based on PVA) or a double application of adhesive to these critical surfaces.
Note: Dowel holes may have a high proportion of cross-grain surfaces.
- It is essential that adhesives are stored, prepared and used in accordance with the adhesive manufacturer's instructions. This applies particularly to the open time at elevated ambient temperatures, which is critical and leads to defective gluing if it is exceeded.
Special instructions regarding the technique for glue-bonding Cocos n.
The use of glue-bonded profiles for full-width glue-bonding (Figure 107) may have advantages in certain applications (strength, reduction of thickness misalignment etc.). Care should be taken to ensure that glue-bonded profiles do not taper to a point since otherwise there may be machining problems and less accurate fits as a result of projecting vascular bundles. For this reason finger joints are not recommended.
Fig. 107: Design of glue-bonded profiles

It is entirely possible for the various layers to have different densities when manufacturing laminated scantlings and boards made of multiple layers, for example glued together in thickness. Thus in three-layer panels the facing layers can be made of Cocos n. HD and the core layer of Cocos n. MD. In contrast to conventional wood species, this does not cause any problems resulting from dissimilar shrinkage and swelling behaviour. This varies only slightly for coconut palm wood of different densities. This must be seen as a great advantage for the economic use of coconut wood, since the yield factor can be improved considerably as a result of the ability to use medium and low density wood.
| Important |
|
| Caution!! |
|
Finishing is one of the last manufacturing operations in interior completion and in furniture-making. Its main purpose is to protect the wood surface against environ-mental effects and it is a method for decorative finishing and for enhancing the utility of the product. Specific instructions for the surface treatment of coconut palm wood are given below.
The sequence of operations is as follows:

User information for the machining process of coconut palm wood
Sanding
A well-sanded wood surface is a pre-condition for high surface quality. The fine sanding of Cocos n. should be carried out with 100/120 grit, parallel to the grain and at a low pressure (see also Chapter 8.6.7).
Staining
Stains are materials for changing the colour shade of the wood. Their purpose is to equalize the colour, to emphasize the grain structure and to modify the colour shade. Stains consist of soluble dyes, pigments, chemical reactants, solvents and additives. The main types that are used are water stains and solvent stains (organic solvents). Quick-drying solvent stains are especially suitable for use in continuous processes. In contrast to the environmentally friendly water stains, they do not roughen the wood (do not raise the grain).
The batch of stain should be mixed according to the maker's instructions. A trial staining will reveal the true colour shade. Equipment contain ing iron (steel, ferrous metals) should be avoided when staining because it causes colour shade variations. Cross-grain surfaces and drilled holes/grooves absorb a larger amount of stain and have a darker appearance after drying. Cross-grain surfaces benefit from being wetted beforehand. If necessary, pre-stain and cover up drilled holes and grooves.
Cocos n. absorbs stain very well. The variations in the colour of the wood of the kind that often occur with Cocos n. can be evened out very well by staining. Because of its properties, the parenchyma absorbs the stain more strongly during staining than the vascular bundles, which leads to a negative staining pattern in the case of very dark stain shades, i.e. the vascular bundles appear paler than the parenchyma.
Prime and top coating
The prime and top coating of Cocos n. MD can give problems if the coating mate-rial is not properly formulated, because the parenchymatic tissue is softer than the fully cured/hardened coat layer. In the event of a mechanical stress (e.g. fingernail pressure), the brittle coat cracks or “whitens” because of the soft substrate. This effect can be avoided by using elastically formulated PU (polyurethane) paints. Fibres raise up after application of the prime coat, especially with water-based materials, and must be removed by intermediate sanding.
Basically it is true to say that coconut palm wood can be treated with all of the finishing systems that are suitable for finishing painting wood, provided that the material is formulated “elastically”.
| Caution!! |
|
Oiling/Waxing
Cocos n. can also be treated successfully with synthetic or natural oils and waxes. In a combined treatment, dissimilar materials must be matched to the sub-strate, i.e. to the density of the specific palm wood and to each other. The parenchy-ma is particularly absorbent when using oil or glaze. When using wax it may in some situations be necessary to refrain from using oil previously. Greying of the surface may occur if the above instructions are not obeyed.
| Important |
|
The technical data for the important machining processes when working with coconut palm wood are summarized in this chapter to enable a quick overview and access.
Table 43: Sawing - Parallel and perpendicular to the grain in Cocos n.
| Feed per tooth fz (mm): | 0.05 – 0.1. |
| Cutting speed Vc (m/s): | 60 – 90. |
| Cutting edge material: | TC, Stellite. |
Table 44: Narrow band-sawing
| Cutting speed Vc [m/s]: | ca. 30. |
| Cutting edge material: | CN-hardened, Stellite. |
Table 45: Planing
| Feed per tooth fz [m/s]: | 0.5 – 1. |
| Cutting speed Vc [m/s]: | ca. 40. |
| Cutting edge material: | TC. |
| Cutting depth ae: | as small as possible. |
Table 46: Moulding/profiling
| Feed per tooth fz [m/s]: | 0.5; |
| Cutting speed Vc [m/s]: | 40 – 60. |
| Cutting edge material: | TC, Steilite. |
| Cutting depth ae: | as small as possible. |
Table 47: Shaping/moulding
| Feed per tooth fz [m/s|: | 0.125. |
| Cutting speed Vc [m/s]: | 10 – 30. |
| Cutting edge material: | TC. |
| Cutting depth ae: | as small as possible. |
Table 48: Sanding
| Grit: Cocos n. HD: | 100. |
| Grit:Cocos n. MD: | 120. |
| Cutting speed Vc [m/s]: | 20. |
| Cutting depth ae: | as small as possible. |
Table 49: Mortising and tenoning with slot and tenon cutters
| Feed per tooth fz [m/s]: | 0.01 – 0.025. |
| Cutting speed Vc Em/s]: | 20. |
| Cutting edge material: | TC (HSS is possible in exceptional cases). |
Table 50: Straight lathe-turning
| Cutting speed Vc [m/s]: | 2. |
| Cutting edge material: | HSS (bell-shaped cutting knife). |
| Cutting depth ae: | as small as possible (multi-stage operation for rather large chip removal volumes). |
The sorting of Cocos n. into density ranges (see Chapter 5) is an essential pre-condition for the use of optimum machining conditions that are matched to the raw density class.
In addition, before processing cut timber consisting of Cocos n., the intended use/application should be known exactly, since the machining conditions must also be matched to this. The following sequence diagram shows the procedure for using and machining coconut palm wood, starting with unsorted cut timber and leading to the carrying out of the individual machining stages.
