Previous Page Next Page

1. Forging
a welded eyebolt

Agricultural engineering in development

FIGURE 1

Agricultural engineering in development

FIGURE 2

Agricultural engineering in development

FIGURE 3

Agricultural engineering in development

FIGURE 4

Agricultural engineering in development

FIGURE 5

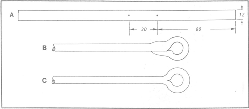
Material. Mild steel, 12 mm in diameter; a hand length or a piece 220 mm long, as desired.

Additional tools. A 14-mm drift; hole gauge; 12-mm screwing dies.

METHOD

Eye-bolts (Fig. 1C) are required for many applications. Unwelded eyes are good enough for some purposes, but a welded eye is stronger. Examples of uses include: spike-harrow spreader bars, door fixings, gate fixings, ox-carts and ploughs.

Mark off the metal (Fig. 1A). Take a near-welding heat between the marks, restrict the heat to this area by cooling adjacent metal with water and upset until the diameter is increased by about 3 mm. Take a near-welding heat and forge an abrupt, one-sided point on the end of the piece. In the same heat, bend the end around the drift (Fig. 3) to give the shape shown in Fig. 1B.

Take a full-welding heat and weld (Fig. 4), making use of the rounded edge of the anvil. Do not use a swage for this unless it has well-radiused edges. True up the eye over the beak (Fig. 5). If a square shank is required, merely upset a little more and leave a square section under the eye after welding. Eye-bolts with such a square section are used in wood to prevent their turning.

It is important to true up with accuracy the end to be threaded. Use a hole gauge to check the size.

Previous Page Top of Page Next Page