Previous Page Next Page

9. Forging blacksmiths' tongs

<DATA MISSING Page. no. 20,21>

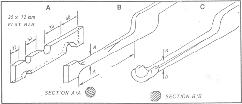
The common names for the tongs shown in Fig .64 are:

A. Close bit tongs for holding thin flat sections.

B. Flat hollow bits for holding small flat and small round sections.

C. Flat-angle bits (sometimes called duck-billed) for holding flat and square sections on edge, such as rings, etc.

D. Bolt tongs for holding round sections with an obstruction at or near one end. They will, for example, fit over the head of a bolt to grip the shank of the bolt.

E. Combination hollow bits for holding round sections in two positions, to upset or to draw-down, for example.

F. Box bits can be made to hold heavier flat or square sections and help to prevent the workpiece from slipping sideways.

G. Side-angle bits are similar to C but are additionally useful for holding tools with eyes such as hammers, axes and sets.

H. Plier bits are useful for picking up hot pieces of metal to permit minor adjustments to workpieces.

To begin, cut off two pieces of bar 10 mm in diameter and 350 mm long. Round off one end of each to give a half-spherical shape. Upset the opposite ends and scarf for welding as in Job 17 of Basic blacksmithing. Put these two pieces - the reins - to one side until needed.

For the bit, take a welding or near-welding heat on a hand length of 12 x 25 flat bar for a length of 75 to 100 mm from the end. Place over the rounded edge of the anvil (Fig. 65) with about 50 mm lying on the anvil face and flatten, taking it down to a little over 8 mm in thickness but maintaining the width at 25 mm.

Agricultural engineering in development

FIGURE 65

Agricultural engineering in development

FIGURE 66

In the same heat if possible, turn the workpiece a quarter of a turn anticlockwise. Make sure that the anvil edge farthest away from the smith is exactly in line with the shoulder already formed. Flatten down (Fig. 66) to a little under 12 mm, allowing the metal to spread sideways without restraint. Again turn the job a quarter turn anticlockwise, allow 30 mm of the flattened metal to overhang the anvil edge and again flatten (Fig. 67).

Another heat might be needed for this operation.

The metal is drawn-down until it is a little over 12 mm thick in the direction of working while being kept to a little under 12 mm in the other direction for a length of about 75 mm. At a distance of 75 mm from the last forged shoulder, the metal can be left up to 14 mm thick to save having to upset for scarfing. With a hot set, cut

Agricultural engineering in development

FIGURE 67

Agricultural engineering in development

FIGURE 68

Agricultural engineering in development

FIGURE 69

Agricultural engineering in development

FIGURE 70

Agricultural engineering in development

FIGURE 71

Agricultural engineering in development

FIGURE 72

<DATA MISSING Page. no.24, 25>

of the flat end to be carried out without sharp corners being left to work into the workpiece.

A and B of Fig. 82 illustrate the bending stages carried out to form bolt-tong bits.

Take a hand length of 12 x 25-mm flat bar. Place the bottom 12-mm fuller in the tool hole of the anvil and have the top fuller close at hand. Take a near-welding heat over about 75 mm along one end of the bar, place over the bottom fuller and position the top fuller (Fig. 83), estimating sufficient length to leave about 25 mm of the end of the bar unworked. Drive in the top fuller to a depth of 4 or 5 mm.

Agricultural engineering in development

FIGURE 80

Agricultural engineering in development

FIGURE 81

Agricultural engineering in development

FIGURE 82

Turn the bar on to the flat face of the anvil and flatten it back to its original thickness with the hand hammer. Reposition the work between the fullers and drive them in to leave no more than 12 mm thickness in the centre.

Again flatten the piece back to its original thickness on the surface of the anvil. With quick movements, position the work and the top 12-mm fuller (Fig. 84), estimating or measuring with a metal rule the position of the fuller to leave 50 mm between the fuller grooves, as in Fig. 81A. Drive this fuller in to a depth of 12 mm. Flatten the piece to its original thickness with the work on its side. More light fullering might be needed to complete this operation. Next, mark the position of the 25-mm fuller groove with a centre-punch mark.

Reheat the metal and drive in the large fuller (Fig. 85) to a depth of 12 mm. Again, turn and flatten the work. Some fullering might again be needed after this flattening. Next, begin drawing-down with the hand hammer (Figs 86 and 87), finishing as in Figs 87 and 88.

Agricultural engineering in development

FIGURE 83

Agricultural engineering in development

FIGURE 84

Agricultural engineering in development

FIGURE 85

Agricultural engineering in development

FIGURE 86

Note that this drawing-down is done to a square section after which the corners are removed (Fig. 88). With the hot set, cut off about 15 mm beyond the last fuller groove, draw-down to match the upset end of the reins and then scarf. See commencement of drawing-down in Fig. 89. Reins are now welded on, trued up and allowed to cool while the second side is brought to this stage. Next, flatten the end of the bit that is to form the nose to a thickness of about 6 or 7 mm while maintaining its width. Trim the end to length with the hot set, place in the large bottom swage and drive in the 12-mm fuller (Fig. 90). This forms the concave end.

Take a bright red heat close to the eye boss and cool the piece with water to restrict the heat to the eye-boss area. As shown in Fig. 91, the piece is placed on the anvil over the rounded edge of the anvil face, the helper holds it firmly with a sledgehammer and bending is started with the hand hammer. Bend as near as possible to the shape shown in Fig. 82A. Additional working

will be needed in most cases. Reheat and bend to the required curve (Fig. 92). Heat again close to the endpiece, cooling with water to restrict the heat to within about 15 mm of the formed end, and bend over the rounded edge of the anvil (Fig. 93). Punching, riveting and setting are next carried out as explained for flat tongs. Figure 94 is an illustration of completed tongs holding a bolt with clearance for the bolt head.

Agricultural engineering in development

FIGURE 87

Agricultural engineering in development

FIGURE 88

Agricultural engineering in development

FIGURE 89

Agricultural engineering in development

FIGURE 90

Agricultural engineering in development

FIGURE 91

Agricultural engineering in development

FIGURE 92

Agricultural engineering in development

FIGURE 93

Agricultural engineering in development

FIGURE 94

Previous Page Top of Page Next Page