KAINJI LAKE RESEARCH PROJECT
PROPOSED AQUARIUM
(Criteria Outline)
ORIENTATION
RESEARCH - Mainly Staff Participation.
State other Requirements.
RECREATION - Mainly Tourists, Schools
Colleges who seek Information and Research
OPERATIONAL AREAS
PUBLIC AREA
Reception/Information/Orientation Cashier
Lecture/Slide Shows; State others below: Theatre/Conference room separate entities
Lounge - (possibly a patio)
Rest rooms
PRIVATE AREA
Laboratories, State below number required and numbers of users of each:
Disease and water quality
Wet laboratory with space for tanks and four investigators.
Offices - State number required. (20)
(Aquarists office could be combined with the crew room)
SERVICES
Storage, State number required. (1 each) equipment, food, etc.)
Food prep room
Mop Closet
LIBRARY
State whether Research Library and Public Information Library should be combined or separated and possible number of Users and Book Holding: (don't think a public library would be practical)
EXHIBITS
WET - Fish Yes (Yes or No)
Aquatic Plants Yes (Yes or No)
*Aquatic Animals Yes (Yes or No)
*State possible samples such as Crocodile
Endemic aquatic reptiles and invertebrates.
DRY - Fish Yes (Yes or No)
Aquatic Animals Yes (Yes or No)
Aquatic Plants Yes (Yes or No)
Legend Boxes Yes (Yes or No)
Paintings, Posters & Pictures Yes (Yes or No)
WORKSHOPS
Tool Maintenance
Pump maintenance and Equipment
Stand-by Power PLants (2.5 KW)
Blowers (50 cfm 15 psi) oil free air
TECHNICAL DETAILS
TANK NUMBER - (see Schedule)
(Dependent on Species)
Predatory No. 20
Non Predatory No. 50
RESEARCH TANKS
Predatory No.
Non Predatory No.
* Note: These are noisy areas and should be located away from main work area requiring quiet.
TASK SIZES - (Capacity in Gallons).
DISPLAY TANKS
| (1) | (2) | (3) | (4) | (5) | |||||
| (6) | (7) | (8) | (9) | (10) | |||||
| (11) | (12) | (13) | (14) | (15) | |||||
| (16) | (17) | (18) | (19) | (20) |
RESEARCH TANK - (Capacity in Gallons).
| (1) | (2) | (3) | (4) | (5) | |||||
| (6) | (7) | (8) | (9) | (10) |
State possible location of the Research Tanks as would be convenient to Research Officers and Users.
STORAGE TASK - (capacity in Gallons).
Also state Special Features required and possible location.
(Note, a Closed System, by which 5000–6000 gallons of water are held in Reserve has been recommended by Mr. Peterson, the UN Specialist).
D.E. Filter capable of recirculating reservoir water through the unit at least twice per hour. Reservoir can be under operations area floor.
FILTRATION
Diatomaceous Earch Yes Recommend
Permanent Media Maybe Recommended
Porus Cartridge No
Biological Yes Recommended
Combination of (i) or (ii) and (iv) (i & iv)
PUMPS (Recommend)
Air Lift Yes
Centrifugal on power filters (iii)
PLUMBING (Recommend Materials)
Mostly non metal Materials
Asbestos Cement
Fibre Glass (for bigger Pipes)
P.V.C. Pipes Schedule 80 up to 3 inch (iv)
TEMPERATURE (mainly Environmental in the Laboratory Tanks and Spaces) State possible areas of Use.
DISPLAY TANK DESIGN (mainly Design aspect. Architects would like comments on background, materials, drainage and cleaning features).
Bottom drains on 300 gallons or more
Some dry diorama types good
Some hexagonal good
Water supply valve to tanks 200 gallons +
Air supply each side of 200 + gal tanks
MATERIALS FOR TANKS
Reinforced Fibre Glass. (up to 1 000 gal )
Concrete Tank for Large Tanks
Commercial glass aquaria up to 175 gal
SITE CONSIDERATION
Relationship with Administration Block.
Relationship with Wildlife Museum
Accessibility to Public and Traffic (in bringing of Specimens).
Easy Water Supply and Disposal.
D.E. must not be washed into a septic system
Expansion
OTHERS
Comments on Aquatic Plants essential to fish life in the tank.
Comment on other environment anticipated, other than Clean Water Tank Exhibits such as muddy conditions or holes, etc.
State provisions for Electrical connexions such as sockets, light
displays, spot lamps, etc.
(covered in general suggestions section)
Henderson, F., 1973 Kainji Lake Research Project, Nigeria. A Limnological description of Kainji Lake. FI:DP/NIR, 66/524/10: 47 P.
Holden, M. and W. Reed, 1970 West African freshwater fish., London, Longmans
Jennes, J., 1970 Fishermen of the Kainji Basin. Kainji Lake Research Project New Bussa, Working Paper 3, Nigeria, FI: SF/NIR 24
Lelek, A., 1972 Fish Populations of Kainji Lake: trends in their development and utilization. Rome, FAQ, United Nations Development Programme, Food and Agriculture Organization of the United Nations, Technical Report 2, FI:SF/NIR, 24
Lewis, D.S.C., 1973 An illustrated key to the fishes of Lake Kainji. Bussa, Nigeria, Director of the Kainji Lake Research Project
Peterson, E.J., 1970 Aquarium management. Class notes for the Coldwater 1970 (Unpubl.)
Peterson, E., R. Robinson and H. Willoughby, 1966 Paper presented at Aquarium Symposium of the American Society of Ichtyologists and Herpetologists, Miami, Florida, 21 June 1966
Reed, et al., 1970 Fish and fisheries of Northern Nigeria. The Ministry of Agriculture Northern Nigeria for Gasktya Corp., Zaria, N. Nigeria
Turner, J.L., Fish populations of the newly impounded Kainji Lake in Nigeria. West Afr. Sci. Assoc., 16
Table 1
POSSIBLE DISPLAY FISH
| Name | Max. Size | Habitat | Diet | Abundance | Remarks |
| Polypterus senegalus | 12 in | Inshore and rivers | Nymphs & fish | Common | |
| Polypterus bichir | 24 in | Variable | Fish | Common | |
| Heterotis niloticus | 36 in | Inshore and rivers | Zooplankton | Common | May be difficult to feed |
| Pellonula afseliusi | 3 in | Inshore | Zooplankton Fish | Abundant | May be combined with larger herbivours |
| Sierrathrissa leonensis | 1.5 in | All over | Zooplankton | Abundant | May be hard to feed |
| Hyperopisus bebe | 18 in | Bottom | Nymphs & seeds | Common | |
| Normyrus rume | 36 in | Bottom | Nymphs & seeds | Common | |
| Marcusenius senegalensis | 12 in | Bottom | Invertebrates & detritus | Common | |
| Normyrops deliciosus | 18 in | Bottom | Fish & Nymphs | Not Common | Would make an excellent |
| Petrocephalus bovei | 4 in | Bottom inshore | Insects & Prawns | Abundant | |
| Hippopotamyrus pictus | 10 in | Bottom inshore | Nymphs | Common | |
| Pollimyrus isidori | 4 in | Shallows | Nymphs | Common | |
| Gymnarchus niloticus | 60 in | River | Pish | Not Common | Would make an excellent specimen |
Table 2
DISPLAY SPECIMENS
| Name | Size | Habitat | Diet | Abundance | Remarks |
Hydrocynus brevis | 30 in | All over | Fish | Common | Must isolate due to piscivorous diet (Tiger Fish) |
| Hydrocynus forskahlii | 25 in | All over | Pish | Abundant | Must isolate (Tiger Fish) |
| Alestes dentex | 18 in | Grasses, seeds, insects | Common | ||
| Alestes baremose | 13 in | All over | Omnivorous | Abundant | |
| Alestes nurse | 10 in | All over | Omnivorous | Common | |
| Alestes leuciscus | 4 in | Omnivorous | Common | ||
| Alestes macrolepidotus | 16 in | Shoreline | Plants, insects | Common | |
| Micralestes acutidens | 2 in | Shallows | Omnivorous | Common | |
| Hepsetus odoe | 17 in | River | Not common | ||
| Phago loricatus | 6 in | Shoreline | Fish fins | Not common | May present a feeding problem |
| Distichodus rostratus | 20 in | Shallows | Grasses, herbivorous | Fairly common | |
| Distichodus engycephalus | 8 in | Shallows | Herbivorous | Fairly common | |
| Paradistichodus dimidiatus | 3 in | Unknown | Unknown | Quite common |
Table 3
DISPLAY FISH
| Name | Max. Size | Habitat | Diet | Abundance | Remarks |
| Citharinus citharinus | 20 in | Bottom | Algae | Common | Feeding may be a problem |
| Citharinus distichodoides | 26in | Bottom | Algae | Quite Common | Feeding maybe a problem |
| Labeo parvus | 6 in | Bottom shallows | Not uncommon | Feeding maybe a problem | |
| Labeo senegalensis | 16 in | All over | Algae | Very common | Feeding may be a problem |
| Labeo coubii | 20 in | Common | Feeding may be a problem | ||
| Barbus macrops | 4 in | Unknown | Unknown | Very common | |
| Barbus callipterus | 2 in | Unknown | Unknown | Fairly common | |
| Barilius senegalensis | 8 in | Insects & fish | Common | May be combined with equal size or larger herbivours | |
| Clarias lazera | 39 in | Bottom | Fish & Carrion | Common | |
| Clarias anguillaris | 39 in | Bottom | Fish & Carrion | Common | |
| Physailia pellucida | 6 in | Larva Zooplankton | Very Abundant | A very interesting specimen | |
| Siluranodon auritus | 6 in | Bottom | Invertebrates | Very common | |
| Eutropius niloticus | 10 in | Bottom | Omnivorous | Abundant | Can be kept with herbivours its size or larger |
Table 4
DISPLAY PISH
| Name | Max. Size | Habitat | Diet | Abundance | Remarks |
| Schilbe mystus | 12 in | Rivers | Pish | Common | It may be kept with herbivours its size or larger |
| Shilbe uranoscopus | 14 in | Fish | Common | ||
| Bagrus bayad | 30 in | Bottom | Insects & fish | Fairly Common | |
| Chrysichthys auratus | 8 in | Inshore | Omnivorous | Abundant | |
| Chrysichthys nigrodigitatus | 20in | Deep water | Nymphs | Common | May present a feeding problem |
| Clarotes laticeps | 28 in | Bottom | Fish | Fairly Common | |
| Auchenoglanis biscutatus | 20 in | Bottom | Nymphs, molluscs, detritus | Quite common | |
| Synodontis membranaceus | 20 in | Surface | Plankton | Common | May present a feeding problem |
| Synodontis batensoda | 10 in | Surface | Plankton | Common | May present a feeding problem |
| Synodontis resupinatus | 16 in | Plankton & detritus | Fairly common | ||
| Synodontis budgetti | 16 in | Detritus | Common | ||
| Synodontis eupterus | 10 in | Detritus | Fairly common | ||
| Synodontis nigrita | 7 in | Detritus | Common |
Table 5
DISPLAY FISH
| Name | Max. Size | Habitat | Diet | Abundance | Remarks |
| Malapterurus electricus | 50 in | General lakes & river | Pish | Fairly common | |
| Tilapia galilaea | 16 in | General lakes & river | Phytoplankton, algae | Very common | |
| Tilapia nilotica | 20 in | General lakes & river | Algae | Common | |
| Chromidotilapia guntheri | 4 in | Nymphs & fish | Fairly common | ||
| Lates niloticus | 40 in | Fish | Very common | The famed Nile perch | |
| Mastacembelus loennbergi | 6 In | Among stones in the shallows | Unknown | May be common | May be difficult to display because it hides |
| Tetradon fahaka | 16 in | Carrion, insects, molluscs | Uncommon | An interesting excellent specimen. (Puffer) | |
| Hemichromis bimaculatus | 4 in | Shallow rocky shorelines | Fish | ||
| Pelmatochromis | 6 in | Shallow rocky shorelines | Fish | ||
| Epiplatys sp. | 2 in | Shallow backwaters | Plants | ||
| Synodontis nigrata | Small | Common | |||
| Synodontis filamentosus | Small | Common | |||
| Synodontis ocelifer | Small | Common |
Table 6
DISPLAY FISH AND HOLDING UNIT CRITERIA
| Non Predatory Species | 1 | 2 | 3 | 4 | 5 | 7 | 8 | 0 | |||||
| in | lbs | lbs | gal | ft2 | ft3 | gal | gal | ft | ft | GPM | |||
| Name | Est. length | Weight | Number | Total Weight | Tank Vol. | Filter Area | Filter Vol. | Filter H20 Vol. | Total H20 Vol. | Filter Media Vol. | Depth of Filter | Circulation Hate | |
| Tilapia nilotica | 10 | 1 | 4 | 4 | 400 | 2 | 9 | 47 | 447 | 4.5 | 2.2 | 4.5 | |
| Tilapia galilaea | 10 | 1 | 4 | 4 | 400 | 2 | 9 | 47 | 447 | 4.5 | 2.2 | 4.5 | 1 |
| Tetradon fahaka | 11 | 1 | 1 | 1 | 100 | .5 | 2.3 | 12 | 112 | 1.1 | 2.2 | 1 | |
| Alestes baremose | 12 | .5 | 4 | 2 | 200 | 1 | 4.5 | 24 | 224 | 2.3 | 2.3 | 2.5 | 2 |
| Heterotis niloticus | 24 | 6 | 2 | 12 | 1000 | 5 | 23 | 120 | 1120 | 11.2 | 2.2 | 11 | |
| Mormyrus rume | 12 | .5 | 2 | 1 | 100 | .5 | 2.3 | 12 | 112 | 1.1 | 2.2 | 1 | |
| Petrocephalus bovei | 4 | .1 | 2 | 2 | 200 | 1 | 4.5 | 24 | 224 | 2.3 | 2.3 | 2.5 | 3 |
| Alestes macrolepidotus | 14 | 1 | 2 | 2 | 200 | 1 | 4.5 | 24 | 224 | 2.3 | 2.3 | 2.5 | 2 |
| Distichodus rostratus | 16 | 2 | 2 | 4 | 400 | 2 | 9 | 47 | 447 | 4.5 | 2.2 | 4.5 | |
| Citharinus citharus | 13 | 1 | 2 | 2 | 200 | 1 | 4.5 | 24 | 224 | 2.3 | 2.3 | 2.5 | 4 |
| Labeo senegalensis | 11 | .5 | 2 | 1 | 100 | .5 | 2.3 | 12 | 112 | 1.1 | 2.2 | 1 | |
| Chrysichthes auratus | 4 | .2 | 4 | .8 | 80 | Bottom Filter | 1 | ||||||
| Synodontis batensoda | 12 | 2 | 4 | 400 | 2 | 9 | 47 | 447 | 4.5 | 2.2 | 4.5 | 5 | |
| Synodontis eupterus | .2 | 4 | .8 | 80 | Bottom Filter | 1 | 5 | ||||||
Table 7
DISPLAY FISH AND HOLDING UNIT CRITERIA
| 1 | 2 | 3 | 4 | 5 | 7 | 8 | 9 | |||||
| Non Predatory Species | in | lbs | lbs | gal | ft2 | ft3 | gal | gal | ft3 | ft | GPM | |
| Name | Est. length | Weight | Number | Total Weight | Tank Vol. | Filter Area | Filter Vol. | Filter H20 Vol. | Total H20 Vol. | Filter Media Vol. | Depth of Filter | Circulation Rate |
| Epiplatus Sp. | 30 | Bottom Filter | 1 | |||||||||
| Aplocheilichthys Sp. | 30 | Bottom Filter | 1 | |||||||||
| Aphyosemion Sp. | 30 | Bottom Filter | 1 | |||||||||
| Pantodon buchholzi | 30 | Bottom Filter | 1 | |||||||||
| Barbus Sp. | 80 | Bottom Filter | 1 | |||||||||
| Physailia pellucida | 30 | Bottom Filter | 1 | |||||||||
Table 8
DISPLAY FISH AND HOLDING UNIT CRITERIA
| Predatory Species | 1 | 2 | 3 | 4 | 5 | 7 | 8 | 9 | ||||
| gal | ft2 | ft3 | gal | gal | ft3 | ft | GPM | |||||
| Name | Est. Length | Weight | Number | Total Weight | Tank Vol. | Filter Area | Filter Vol. | Filter H20 Vol. | Total H20 Vol. | Filter Media Vol. | Depth of Filter | Circulation Rate |
| Lates niloticus | 30 | 22 | 2 | 44 | 2000 | 10 | 45 | 237 | 2300 | 23 | 2.3 | 22 |
| Malapterurus electricus | 18 | 2 | 1 | 2 | 200 | 1 | 4.5 | 24 | 224 | 2.3 | 2.3 | 2.5 |
| Polypterus bichir | 12 | 1 | 2 | 2 | 200 | 2 | 4.5 | 24 | 224 | 2.3 | 2.5 | |
| Gymnarchus niloticus | 30 | 10 | 2 | 20 | 1000 | 5 | 23 | 120 | 1120 | 11.2 | 2.2 | 11 |
| Hydrocynus brevis | 28 | 10 | 3 | 30 | 2000 | 10 | 45 | 237 | 2300 | 23 | 2.3 | 22 |
| Hepsetus odoe | 12 | .5 | 2 | 1 | 100 | .5 | 2.3 | 12 | 112 | 1.1 | 2.2 | 1 |
| Phago loricatus | 4 | .2 | 2 | .4 | 80 | Bottom Filter | .5 | |||||
| Claris lasers. | 11 | .5 | 2 | 1 | 100 | 5 | 2.3 | 12 | 112 | 1.1 | 2.2 | 1 |
| Schilbe mystus | 80 | Bottom Filter | 1 | |||||||||
| Entropius niloticus | 80 | Bottom Filter | 1 | |||||||||
| Bagrus bayad | 12 | 1 | 2 | 2 | 200 | 1 | 4.5 | 24 | 224 | 2.3 | 2.3 | 2.5 |
| Chromidotilapia guntheri | Bottom Filter | 1 | ||||||||||
| Pellonula afseliusi | 30 | Bottom Filter | 1 | |||||||||
| Hemichromis bimaculatus | 30 | Bottom Filter | .5 | |||||||||
| Pelmatochromis guentheri | 80 | Bottom Filter | 1 | |||||||||
| Clarotes laticeps | 5 | 1 | 2 | 2 | 200 | 1 | 4.5 | 24 | 224 | 2.3 | 2.3 | 2.5 |
Table 9
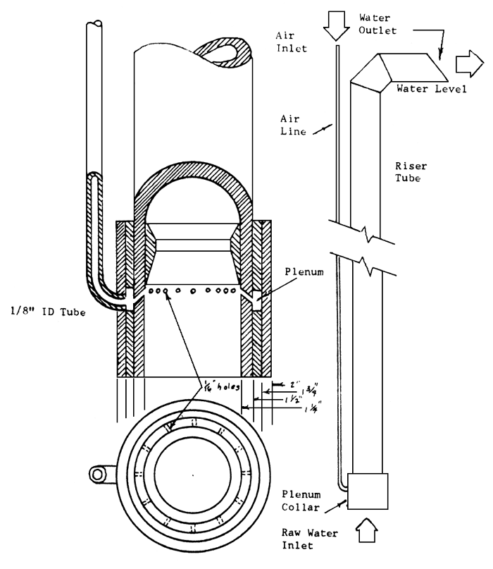
AIR LIFT PUMP FROM WEST'S CALCULATION
| A. | formula for working air-lift pump calculations: |
![]() | |
| The air pressure required measured in feet of water (B+s) | |
| B - | barometric pressure (one can assume, the efficiency of these units changes from minute to minute) in feet of water- Hg to H20 must be converted most of the tine, |
| s - | submergence of the pump - actually - about where the air enters. (In feet.) |
| v - | the consumption of free air (cubic feet or per cubic feet of water pumped). |
| l - | lift - in feet- (above the water level at rest). |
| The efficiency of these units runs about 50% (on down) and starting usually requires a greater pressure than while running. The volume pumped can be charged by raising or lowering the unit. So the air compressure should displace the quantity found by the formula and it is necessary to multiply by 2 to correct the efficiency. | |
| Therefore - the pipe should have an X -area (in2) equal to the discharge in gpm/12 (tons). Too large a pipe lets the air slip by and too small a pipe builds up excessive friction and hinders the expansion of air bubbles for lift. | |
| The POHLE (or side inlet method) is the type of air lift being used. (The Annular ring bir) | |
Table 10
DETERMINATION OF WATER AND FILTER REQUIREMENTS
| PURPOSE: | To determine the following: | |
| 1) | Filter size. | |
| 2) | Specimen loading in pounds. | |
| 3) | Rate of circulation in gallons per minute. | |
| 4) | Filter media depth (constant at 2.24') | |
| CRITERIA: | 1) | Min. of 1 cu. ft. filter media per pound of fish (governing). |
| 2) | Max. flow of 2 gpm/s.f. thru filter (secondary factor). | |
| 3) | Tin. of 2' depth of filter media. | |
| 4) | Tin. of 100 gals, of water/pound of fish (total system). | |
| 5) | 18 in water cover over filter media. | |
| 6) | 12 in water under filter media. | |
| 7) | Filter media contains max, of 30% water. | |
| 8) | Display tank water vol. turnover every 90 minutes. | |
| STEP 1 | Given: Display Tank Volume in Gallons | |
| STEP 2 | Filter Surface Area | |
| Step 1 + 200 = Square feet | ||
| STEP 3 | Filter Volume - Dry (less freeboard) | |
| Step 2 × 4.5 = Cubic feet | ||
| STEP 4 | Water Volume in Filter | |
| Step 2 × 23.714 = Gallons | ||
| STEP 5 | Water Volume of Total System (less pipe runs) | |
| Step 1 + Step 4 = Total gallons | ||
| STEP 6 | Specimen Load | |
| Step 5 + 100 = Pounds | ||
| STEP 7 | Volume of Filter Media (sand and gravel) | |
| Step 5 + 100 = Cubic feet | ||
| STEP 8 | Depth of Filter Media | |
| Step 7 + Step 2 = Feet | ||
| STEP 9 | Rate of Water Circulation in System | |
| Step 1 + 89.96 = Gallons per minute | ||
Table 11
GLASS THICKNESS IN INCHES WHEN USED IN AQUARIUMS
(Tank Length in Inches)
| 12 | 16 | 20 | 24 | 28 | 32 | 36 | 44 | 48 | 60 | 66 | 72 | |
| 12 | 1/8 | 3/16 | 3/16 | 3/16 | 3/16 | 3/16 | 3/16 | 1/4 | 5/16 | 3/8 | 7/16 | 7/16 |
| 16 | 3/16 | 3/16 | 1/4 | 1/4 | 1/4 | 1/4 | 5/16 | 5/16 | 5/16 | 3/8 | 7/16 | 1/2 |
| 20 | 3/16 | 1/4 | 1/4 | 5/16 | 5/16 | 5/16 | 3/8 | 3/8 | 3/8 | 7/16 | 1/2 | 1/2 |
| 24 | 1/4 | 5/16 | 5/16 | 3/8 | 3/8 | 7/16 | 7/16 | 1/2 | 1/2 | 9/16 | 9/16 | |
| 28 | 5/16 | 5/16 | 5/16 | 3/8 | 7/16 | 7/16 | 1/2 | 9/16 | 9/16 | 11/16 | 11/16 | |
| 32 | 5/16 | 5/16 | 3/8 | 3/8 | 7/16 | 1/2 | 9/16 | 5/8 | 11/16 | 3/4 | 3/4 | |
| 36 | 3/6 | 7/16 | 7/16 | 1/2 | 9/16 | 9/16 | 5/8 | 11/16 | 3/4 | 3/4 | ||
| 40 | 7/16 | 7/16 | 1/2 | 9/16 | 9/16 | 5/8 | 11/16 | 12/16 | 13/16 | 7/8 | ||
| 44 | 1/2 | 9/16 | 5/8 | 11/16 | 3/4 | 3/4 | 7/8 | 15/16 | 15/16 | |||
| 48 | 9/16 | 5/8 | 5/8 | 11/16 | 13/16 | 13/16 | 7/8 | 1.0 | 11/16 |
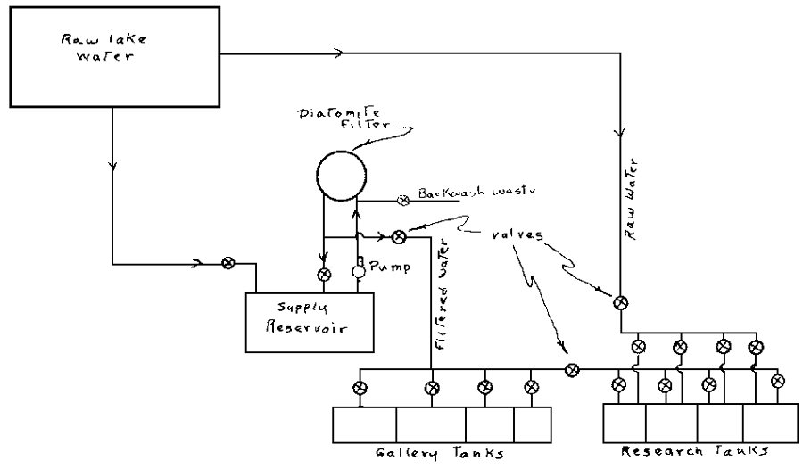
FIGURE I
BLOCK DIAGRAM OF WATER SUPPLY

FIGURE 2
AIRLIFT PUMP
