APÉNDICE V
(Secciones en el Trámite 5/8 del Procedimiento) SECCIÓN 2. DEFINICIONES
|
|||||||
Acuicultura |
Cría, durante una parte de su ciclo vital o la totalidad del mismo, de cualesquiera animales acuáticos, excepto las especies de mamíferos, reptiles acuáticos y anfibios destinados al consumo humano, con la exclusión de las especies mencionadas en la sección 7 del presente Código. Estos animales acuáticos se denominarán en adelante "pescado" para facilitar la referencia a los mismos en la sección 2.2 y la sección 6. |
||||||
Aditivos para piensos |
Sustancias químicas distintas de los nutrientes para peces y crustáceos, que han sido aprobadas para ser añadidas a los piensos. |
||||||
Alimento para peces |
Pienso destinado a los peces en los establecimientos de acuicultura, en cualesquiera formas o composición. |
||||||
Buenas prácticas de acuicultura (o de cría de peces y crustáceos) |
Prácticas que deben aplicarse en el sector de la acuicultura a fin de obtener productos alimenticios de calidad, conformes a la legislación y a las normas alimentarias. |
||||||
Coloración |
Procedimiento para obtener carne de pescado de un color particular mediante la incorporación, en el alimento de los peces, de sustancias o aditivos naturales o artificiales aprobados para tal fin por el organismo competente. |
||||||
|
|||||||
Cría extensiva |
Es la cría en condiciones de control escaso o incompleto sobre factores tales como el flujo del agua, el número y peso de las especies criadas, y con aportaciones de nutrientes de calidad y cantidad bajas |
||||||
Cría intensiva |
Cría de peces en condiciones de completo control sobre factores como el aporte externo de una alimentación completa de elementos nutritivos y las prácticas operativas adoptadas, en que el crecimiento depende totalmente del suministro externo de una alimentación completa de alta calidad desde un punto di vista nutricional. |
||||||
Cría semiintensiva |
Cría de peces en condiciones de control parcial sobre el aporte de nutrientes de la dieta, mediante la inclusión de fertilizantes externos y/o el suministro de una alimentación complementaria de elementos nutritivos, en virtud de lo cual el crecimiento de los peces depende del consumo de organismos alimentarios vivos suministrados endógenamente y de piensos suministrados externamente, como fuente complementaria de nutrientes en la alimentación. |
||||||
Densidad de repoblación |
Cantidad de pescado por unidad de superficie o volumen. |
||||||
Establecimiento de acuicultura |
Cualquier instalación para la producción de peces o crustáceos vivos destinados al consumo humano, con inclusión de la infraestructura interna de apoyo y las zonas circundantes que dependen de la misma administración. |
||||||
Granja piscícola |
Unidad de producción acuícola (de base terrestre o acuática); por lo general comprende las instalaciones que contienen el pescado (cubetas, estanques, conductos, jaulas), la planta (edificios, zonas de almacenamiento, instalaciones de elaboración), los equipos y materiales de mantenimiento. |
||||||
Medicamento veterinario |
Toda sustancia aplicada o administrada a cualquier animal destinado a la producción de alimentos, tales como los que producen carne o leche, las aves de corral, los peces o las abejas, con fines tanto terapéuticos como profilácticos o de diagnóstico, o para modificar las funciones fisiológicas o el comportamiento. |
||||||
Organismo oficial competente |
Autoridad o autoridades encargadas del control de la higiene de los alimentos (denominadas a veces autoridades competentes) y/o de la higiene de la acuicultura. |
||||||
Período de suspensión |
Período que se deja transcurrir entre la administración de un medicamento veterinario a un pez o crustáceo, o entre la exposición de éstos a una sustancia química, y su recolección, a fin de asegurar que la concentración del medicamento o la sustancia química en la carne comestible del pescado destinado al consumo humano se ajuste a los límites máximos de residuos permitidos. |
||||||
Pez enfermo |
Pez en cuyo interior o superficie se observan alteraciones patológicas u otras anomalías. |
||||||
Plaguicida |
Cualquier sustancia destinada a impedir, destruir, atraer, repeler o combatir cualquier plaga, incluidas las especies indeseadas de plantas o animales, durante la producción, almacenamiento, transporte, distribución y elaboración de alimentos, productos agrícolas o piensos, o que pueda administrarse a los animales para combatir ectoparásitos. El término normalmente excluye los fertilizantes, nutrientes de origen vegetal y animal, aditivos alimentarios y medicamentos veterinarios. |
||||||
Recolección |
Operaciones relativas a la captura de peces y crustáceos en el medio acuático. |
||||||
Residuo de plaguicidas |
Cualquier sustancia especificada presente en alimentos, productos agrícolas o piensos debido al uso de un plaguicida. El término incluye cualquier derivado de un plaguicida, tales como productos de conversión, metabolitos y productos de reacción, y las impurezas. |
||||||
Residuos |
Cualesquiera sustancias extrañas, incluidos sus metabolitos, que se encuentran en el pescado antes de la recolección a causa de su aplicación o por exposición accidental. |
||||||
Sustancias químicas |
Cualquier sustancia, natural o sintética, que puede afectar a los peces y crustáceos vivos, a sus patógenos, al agua, al equipo utilizado para la producción o a las tierras que se encuentran en el establecimiento de acuicultura. |
||||||
|
|||||||
|
|||||||
|
|||||||
|
|||||||
|
|||||||
|
|||||||
|
|||||||
|
|||||||
2.6 PRODUCTOS PESQUEROS REVESTIDOS CONGELADOS RáPIDAMENTE |
|||||||
Aserrado |
Acción de aserrar (a mano o por medios totalmente mecánicos) bloques de pescado congelado rápidamente de forma regular en trozos adecuados para su revestimiento posterior. |
||||||
Empanado |
Pan rallado u otros preparados en polvo, principalmente a base de cereales, con colorantes y otros ingredientes que se utiliza para el revestimiento final de productos pesqueros. Los tipos más frecuentes son el empanado fino, el empanado grueso y el empanado harinoso. |
||||||
Freidura previa |
Freidura de productos pesqueros empanados y rebozados en un baño de aceite de manera que el núcleo permanezca congelado. |
||||||
Rebozado |
Preparado líquido a base de cereales molidos, especias, sal, azúcar y otros ingredientes y aditivos para el revestimiento. Los tipos más frecuentes son el rebozado con levadura y el rebozado sin levadura. |
||||||
Revestimiento |
Acción de cubrir la superficie de un producto pesquero rebozándolo o empanándolo. |
||||||
SECCIÓN 6 – PRODUCCIÓN ACUÍCOLA
Preámbulo
Los establecimientos acuícolas deben actuar con responsabilidad de manera tal que cumplan las recomendaciones del Código de Conducta para la Pesca Responsable (FAO, Roma 1995), a efectos de reducir al mínimo toda consecuencia negativa de su actividad en la salud humana y el medio ambiente, y en particular cualesquiera cambios ecológicos posibles.
Las explotaciones acuícolas deben aplicar una gestión eficaz de la salud y el bienestar de los peces. Las semillas y alevines deberán estar libres de enfermedades y ajustarse a los códigos de prácticas de la OIE (Código Sanitario para los Animales Acuáticos, sexta edición, 2003). Durante el crecimiento de los peces se vigilará la presencia de enfermedades. Si se utilizan sustancias químicas en los establecimientos acuícolas se tendrá especial cuidado de que tales sustancias no pasen al ambiente circundante.
Si bien las cuestiones relacionadas con la salud de los peces, el medio ambiente y la ecología son aspectos importantes que deben tenerse en cuenta en las actividades acuícolas, la presente sección se centra en los asuntos relacionados con la inocuidad y calidad alimentarias.
Esta sección del Código se aplica a las actividades industrializadas y comerciales de acuicultura en las que se produce todo tipo de animales acuáticos con excepción de las especies de mamíferos, reptiles acuáticos y anfibios para el consumo humano directo, pero excluyendo los moluscos bivalvos regulados por la sección 7 del Código; en adelante los productos en cuestión se denominarán “pescado”. En los sistemas de acuicultura intensiva y semiintensiva de ese tipo se utilizan densidades más elevadas de población y poblaciones procedentes de viveros, se emplean principalmente piensos preparados y en ocasiones se recurre a medicamentos y vacunas. El presente código no abarca los sistemas extensivos de cultivo de peces que prevalecen en muchos países en desarrollo, ni tampoco los sistemas integrados de ganadería y piscicultura. Esta sección del código abarca las fases de alimentación, crecimiento, recolección y transporte de la producción acuícola. La manipulación y elaboración posteriores del pescado se regulan en otra parte del código.
Con miras a reconocer los controles en las distintas fases de elaboración, en esta sección se ofrecen ejemplos de posibles peligros y defectos y se describen directrices tecnológicas que pueden utilizarse para establecer medidas de control y medidas correctivas. Para cada fase concreta, sólo se enumeran los peligros y defectos que podrían introducirse y controlarse en ella. Hay que tener presente que, al preparar un plan de APPCC y/o de puntos de corrección de defectos (PCD), es esencial consultar la Sección 5, en la que se ofrece orientación para la aplicación de los principios de APPCC y de análisis de PCD. Sin embargo, dentro del ámbito de aplicación de este Código de Prácticas, no es posible dar detalles de los límites críticos, la vigilancia, el mantenimiento de registros y la verificación para cada una de las fases, ya que son específicos de los peligros y defectos concretos.
El diagrama de flujo ilustrativo proporcionará orientación para algunas de las fases comunes de la producción acuícola.
Este diagrama de flujo se propone sólo para fines ilustrativos. Para la
aplicación de los principios de APPCC, se ha de crear un diagrama de flujo completo
y exhaustivo para cada producto. Las referencias corresponden a las secciones
pertinentes del Código.
![]()

6.1 CONSIDERACIONES GENERALES
Se aplican a la producción acuícola los principios generales de la Sección 3
junto con lo que se indica a continuación:
6.1.1 Selección del emplazamiento
• En la selección del emplazamiento y en el proyecto y construcción de
los establecimientos piscícolas deberán seguirse los principios de las buenas
prácticas de acuicultura apropiados para las especies producidas.
• Deberá verificarse asimismo el ambiente físico por lo que respecta a
la temperatura, la corriente y la profundidad, ya que diferentes especies tienen
diferentes requisitos ambientales.
• Las piscifactorías deberían estar emplazadas en zonas que presenten
riesgos mínimos de contaminación por sustancias químicas, físicas o microbiológicas
y donde puedan controlarse las fuentes de contaminación.
• El suelo utilizado para la construcción de los estanques de tierra no
deberá contener concentraciones de sustancias químicas tales que puedan dar
lugar a la presencia de niveles inaceptables de contaminación en el pescado.
Los estanques deberán disponer de conductos de alimentación y de descarga separados,
de forma que los suministros de agua y los efluentes no se mezclen.
• Las entradas y salidas de agua de los estanques deberán disponer de
filtros que eviten la entrada de especies indeseadas.
• Los fertilizantes, materiales de encalado u otras sustancias químicas
y biológicas deberán utilizarse de conformidad con las buenas prácticas acuícolas.
• Todos los emplazamientos deberán hacerse funcionar en forma ecológicamente
aceptable de manera que no afecten a la salud humana.
6.1.2 Calidad del agua de cría
El agua en la que se crían los peces deberá ser adecuada para la obtención de productos inocuos para el consumo humano.Las piscifactorías no deberán estar ubicadas donde exista el riesgo de que se contaminen las aguas de cría.Deberán adoptarse medidas de diseño y construcción apropiados de las piscifactorías para asegurar el control de los peligros y evitar la contaminación del agua.
6.1.3 Procedencia de las semillas y los alevines
• La procedencia de los productos postlarvales, semillas y alevines deberá ser tal que se evite la transmisión de posibles peligros a las poblaciones de cría.
6.2 IDENTIFICACIÓN DE PELIGROS Y DEFECTOS
El consumo de pescado y productos pesqueros está relacionado con una variedad de peligros para la salud humana. En términos generales, se encuentran los mismos peligros en los productos acuícolas que en las variedades correspondientes capturadas en el medio natural (Sección 4.1). El riesgo de daños debidos a un peligro particular puede ser mayor, en algunas circunstancias, en los productos acuícolas que en el pescado capturado en el medio natural: por ejemplo, la presencia de residuos de medicamentos veterinarios. La elevada densidad de población de las granjas piscícolas, en comparación con la del medio natural, podría aumentar el riesgo de infecciones cruzadas ocasionadas por patógenos en las poblaciones de peces. Por otro lado, el riesgo de sufrir daños puede ser menor para los peces cultivados. En los sistemas en que los peces se alimentan con piensos artificiales se reducen notablemente los riesgos asociados con la transmisión de enfermedades a través del alimento consumido. Por ejemplo, las infecciones debidas a nematodos no afectan a los salmones cultivados, o los afectan en medida mucho menor que a los salmones que se capturan en el medio natural. La cría de peces en jaulas en el medio marino suscita pocos peligros y bajos riesgos. En los sistemas de recirculación cerrada los peligros se reducen aún más. En esos sistemas, el agua es sometida a una purificación y reutilización constantes y su calidad se controla con medidas inocuas.
6.2.1 Peligros
Los productos acuícolas presentan en general los mismos peligros que se encuentran en las variedades correspondientes capturadas en el medio natural (Sección 5.3.3.1). Los posibles peligros específicos de los productos acuícolas incluyen, entre otros: residuos de medicamentos veterinarios en exceso de las directrices recomendadas y de otras sustancias químicas utilizadas en la producción acuícola, contaminación de origen fecal cuando las instalaciones se encuentran cerca de las viviendas humanas o explotaciones ganaderas.
6.2.2 Defectos
En los productos acuícolas se encuentran los mismos defectos que en las variedades correspondientes capturadas en el medio natural (Sección 5.3.3.1). Un defecto posible es la presencia de olores o aromas objetables. Durante el transporte de pescado vivo, es importante reducir el estrés, ya que el estrés del pescado puede dar lugar al deterioro de su calidad. Asimismo, debería procurarse reducir al mínimo los daños mecánicos que puedan producir magulladuras al pescado.
6.3 OPERACIONES DE PRODUCCIÓN
6.3.1 Suministro de piensos
Los piensos utilizados en la producción acuícola deberán ajustarse al Proyecto de Código de Prácticas sobre Buena Alimentación Animal (en preparación en el Grupo de Acción Intergubernamental Especial sobre Buena Alimentación Animal).
Posibles peligros: |
Contaminación química, micotoxinas y patógenos microbiológicos. |
Posibles defectos: |
Piensos descompuestos, deterioro fúngico. |
Orientación técnica: |
|
• Los piensos y alimentos frescos deberán comprarse, someterse a rotación y utilizarse antes de que caduque su plazo de duración en almacén.
• Los piensos para peces deberán almacenarse en zonas refrigeradas y secas para evitar el deterioro, la formación de mohos y la contaminación.
• Los ingredientes de piensos no deberán contener niveles peligrosos de plaguicidas, contaminantes químicos, toxinas microbianas, u otras sustancias que los adulteren.
• Los piensos completos e ingredientes de piensos producidos industrialmente deberán estar debidamente etiquetados. Su composición debe ajustarse a la declaración que figura en la etiqueta, y deben ser higiénicamente aceptables.
• Los ingredientes deberán satisfacer las normas aceptables y, en su caso, las normas reglamentarias para los niveles de patógenos, micotoxinas, herbicidas, plaguicidas y otros contaminantes que puedan dar origen a peligros para la salud humana.
• Los piensos sólo podrán contener colorantes aprobados en la concentración correcta.
• Los piensos o ingredientes de piensos húmedos deberán ser frescos y de calidad química y microbiológica apropiada.
• El pescado fresco o congelado, el pescado ensilado, los despojos de pescado deberán llegar al establecimiento en un estado de frescura apropiado.
• Los desechos de mataderos deberán esterilizarse mediante un procedimiento adecuado, antes de su aceptación.
• Los piensos preparados industrialmente o en el establecimiento deberán contener solamente los aditivos, sustancias estimuladoras del crecimiento, colorantes de la carne del pescado, antioxidantes, aglutinantes o medicamentos veterinarios que hayan sido autorizados para el pescado por el organismo oficial competente.
• Los productos deberán registrarse en el organismo nacional competente, según proceda.
Las condiciones de almacenamiento y transporte deberán ajustarse a las especificaciones de la etiqueta.
• Los medicamentos veterinarios y otros tratamientos químicos deberán efectuarse de conformidad con las prácticas recomendadas y en cumplimiento de los reglamentos nacionales.
• Los piscicultores deberán aplicar las instrucciones de los fabricantes en el uso de los medicamentos veterinarios.
• Deberá asegurarse la rastreabilidad de todos los ingredientes de piensos mediante el mantenimiento de los registros apropiados.
6.3.2 Medicamentos veterinarios
Posibles peligros: |
Residuos de medicamentos veterinarios |
Posibles defectos: |
Improbables |
Orientación técnica: |
|
• Todos los medicamentos veterinarios para uso en la piscicultura deberán ajustarse a los reglamentos nacionales y las directrices internacionales (de conformidad con el Código Internacional Recomendado de Prácticas para el Control de la Utilización de Medicamentos Veterinarios (CAC/RCP 38-1993) y las Directrices del Codex para el Establecimiento de un Programa Reglamentario para el Control de Residuos de Medicamentos Veterinarios en los Alimentos (CAC/GL 16-1993)).
• Previamente a la administración de medicamentos veterinarios deberá haberse establecido un sistema para vigilar la aplicación del medicamento a efectos de garantizar que pueda verificarse el período de suspensión del tratamiento en el lote de pescado tratado.
• Los medicamentos veterinarios o piensos medicados deberán utilizarse de conformidad con las instrucciones de los fabricantes, con particular atención a los períodos de suspensión.
• Los productos deberán registrarse ante la autoridad nacional competente;
• Los productos deberán ser prescritos o distribuidos solamente por personal autorizado conforme a los reglamentos nacionales.
• Las condiciones de almacenamiento y transporte deberán ajustarse a las especificaciones de la etiqueta.
• La lucha contra las enfermedades mediante medicamentos deberá efectuarse sólo sobre la base de un diagnóstico cuidadoso.
Deberán mantenerse registros del uso de medicamentos veterinarios en la producción acuícola. Si la concentración media de medicamentos en el pescado sometido a ensayos es superior a los LMR, (o en algunos países, a un nivel más bajo impuesto por una industria), deberá aplazarse la matanza del lote hasta que éste se ajuste al LMR. En el control aplicado después de la matanza, deberá rechazarse todo pescado que no se ajuste a los requisitos establecidos por el Codex Alimentarius para los residuos de medicamentos veterinarios.
6.3.3 Cría
Posibles peligros: |
Patógenos microbianos y contaminación química |
Posibles defectos: |
Variación del color, aroma fangoso, deterioro físico |
Orientación técnica: |
|
• Deberá controlarse la procedencia de los productos postlarvales, semillas y alevines para asegurar una población sana.
• Las densidades de población deberán basarse en las técnicas de cultivo, las especies de pescado, su tamaño y edad, la capacidad de carga de la piscifactoría, la supervivencia prevista y el tamaño deseado en el momento de la recolección.
Los peces muertos o enfermos deberán eliminarse en forma sanitaria que prevenga la difusión de enfermedades y permita investigar la causa de la muerte.
• Deberá mantenerse una buena calidad del agua utilizando tasas de repoblación y alimentación que no excedan de la capacidad de carga del sistema de cultivo.
• Deberá vigilarse regularmente la calidad del agua de cría, de forma que se identifiquen posibles peligros y defectos.
La piscifactoría deberá disponer de un plan de gestión que incluya un programa de saneamiento, actividades de vigilancia y medidas correctivas, períodos determinados de descanso, un uso apropiado de sustancias agroquímicas, procedimientos de verificación de las operaciones piscícolas y el mantenimiento de registros sistemáticos.
• Los equipos, tales como jaulas y redes deberán diseñarse y construirse de forma que se asegure el mínimo daño durante la fase de cría.
6.3.4 Recolección
Posibles peligros: |
Improbables |
Posibles defectos: |
Daños físicos, cambios físicos o bioquímicos debidos a estrés del pescado vivo |
Orientación técnica: |
|
Deberán aplicarse técnicas de recogida apropiadas para reducir al mínimo los daños físicos.
• El pescado vivo no debe someterse a condiciones extremas de calor o frío o variaciones repentinas de la temperatura.
• El pescado deberá quedar libre de fango y algas en exceso poco después de haber sido recogido, para lo cual se lavará con agua de mar o agua dulce limpia a una presión idónea.
• El pescado deberá manipularse en forma higiénica de conformidad con las directrices de la Sección 4 del Código.
• La recogida deberá ser rápida a fin de que el pescado no quede expuesto a temperaturas excesivamente altas.
6.3.5 Mantenimiento y transporte
Posibles peligros: |
Patógenos microbianos y contaminación química |
Posibles defectos: |
Descomposición, cambios físicos o bioquímicos debidos a estrés del pescado vivo |
Orientación técnica: |
|
• Pueden darse defectos de calidad en pescado sometido a estrés.
• El pescado deberá transportarse sin excesivo retraso.
• El equipo de transporte del pescado vivo deberá estar diseñado de forma que permita una manipulación rápida y eficaz sin causarle daños físicos o estrés.
• Deberán mantenerse registros del transporte de pescado para asegurar la plena rastreabilidad.
• El pescado no deberá transportarse junto con otros productos que puedan contaminarlo.
6.3.6 Almacenamiento y transporte de pescado vivo
Esta sección se refiere al almacenamiento y transporte de pescado vivo procedente de la acuicultura o la captura.
Posibles peligros: |
Patógenos microbianos, biotoxinas, contaminación química (p. ej.,por aceite, agentes de limpieza y desinfección) |
Posibles defectos: |
Pescado muerto, pescado dañado, olores desagradables, cambios físicos o bioquímicos debidos a estrés del pescado. |
Orientación técnica: |
|
• Sólo deberán seleccionarse animales sanos y no dañados para el almacenamiento y transporte de pescado vivo. Los animales dañados, enfermos y muertos deberán eliminarse antes de introducir el pescado en los tanques o antes de su acondicionamiento.
• Los tanques deberán inspeccionarse periódicamente durante el almacenamiento y el transporte. Los animales dañados, enfermos y muertos deberán eliminarse inmediatamente cuando se detecten. (2)
• El agua limpia utilizada para llenar los tanques, o para lavar el pescado entre las cubetas o acondicionarlo, deberá ser similar, en cuanto a sus propiedades y composición, al agua de la que procedía el pescado, con el fin de reducir el estrés.
• El agua no deberá estar contaminada por residuos cloacales humanos o contaminación industrial. Los tanques y sistemas de transporte deberán estar diseñados y ser utilizados en forma higiénica para evitar la contaminación del agua y del equipo.
• El agua contenida en los tanques de depósito y acondicionamiento debe haberse aireado bien antes de transferir a ellas el pescado.
• Cuando se utilice agua de mar en los tanques de depósito o acondicionamiento de especies expuestas a contaminación por algas tóxicas, deberá evitarse el uso de agua de mar que contenga elevadas concentraciones de células, o bien será necesario un filtrado adecuado.
• No deberá alimentarse el pescado durante el almacenamiento y el transporte de pescado vivo. La alimentación contaminaría muy rápidamente el agua de los tanques.
• El material de los tanques de depósito y acondicionamiento, bombas, filtros, tuberías, sistemas de control de la temperatura, envases o recipientes de envasado intermedio y final no deberá ser perjudicial para el pescado ni presentar riesgos para los seres humanos.
• Todo el equipo y las instalaciones deberán limpiarse y desinfectarse periódicamente según sea necesario.
6.3.7 Pescado vivo almacenado y transportado a temperatura ambiente
Posibles peligros: |
Patógenos microbianos, biotoxinas, contaminación química (p. ej., agentes de limpieza y desinfección) |
Posibles defectos: |
Pescado muerto, pescado dañado, olores desagradables, cambios físicos o bioquímicos debidos a estrés del pescado vivo |
Orientación técnica: |
|
• Dependiendo de la procedencia del agua, de los requisitos de la especie y el tiempo de almacenamiento y/o transporte, tal vez sea necesario recircular el agua y filtrarla por filtros mecánicos y/o biofiltros.
• La toma de agua de los tanques a bordo de las embarcaciones deberá estar ubicada de forma que se evite la contaminación por residuos cloacales, desechos y descarga de líquidos de enfriamiento del motor de la embarcación. Debería evitarse el bombeo de agua cuando la embarcación llega al puerto, o la navegación por aguas cercanas a desagües cloacales industriales. Deberán adoptarse precauciones análogas para la toma de agua en tierra.
• Las instalaciones (tanques) para el almacenamiento y transporte de pescado vivo deben estar en condiciones de:
• Tal vez sea necesario separar el pescado en jaulas individuales o atarlo de forma que se eviten daños, sobre todo en casos de especies que muestran fenómenos como canibalismo, fuerte instinto territorial o hiperactividad en condiciones de estrés (un método alternativo es la reducción de la temperatura, véase 6.3.8).
6.3.8 Pescado vivo almacenado y transportado a bajas temperaturas
Posibles peligros: |
Patógenos microbianos, biotoxinas, contaminación química (p. ej., aceite, agentes de limpieza y desinfección) |
Posibles defectos: |
Pescado muerto, pescado dañado, olores desagradables, cambios físicos o bioquímicos debidos a estrés del pescado vivo. |
Orientación técnica: |
|
• El acondicionamiento del pescado a bajas temperaturas deberá efectuarse de acuerdo con las características de las especies (temperatura mínima, velocidad de enfriamiento, requisitos de agua/humedad, condiciones de envasado). El acondicionamiento es una operación biológica para reducir la tasa metabólica de los animales disminuyendo al mínimo el estrés.
• La temperatura que habrá de alcanzarse deberá ser conforme a la especie y las condiciones de transporte y envasado. Hay una gama de temperaturas en que los animales no muestran actividad física o ésta se reduce. El límite se alcanza a la temperatura en que se reduce al mínimo la tasa metabólica de los animales sin causarles efectos perjudiciales (tasa de metabolismo basal).
• Al proceder al acondicionamiento, podrán utilizarse únicamente anestésicos y procedimientos aceptados por los reglamentos.
• El pescado acondicionado deberá envasarse sin demora en envases debidamente aislados.
• El agua restante o el agua que ha de utilizarse con material de envasado para pescado acondicionado deberá estar limpia y ser de composición y pH similares al agua de donde se ha tomado el pescado, pero ha de estar a la temperatura de almacenamiento.
• Las almohadillas, madera triturada, virutas o aserrín y material para atar que absorban agua y que puedan utilizarse para el envasado de pescado acondicionado deberán estar limpios, no haberse utilizado antes, estar libres de posibles peligros y haberse humedecido poco antes del momento del envasado.
• El pescado acondicionado y envasado deberá almacenarse o transportarse en condiciones que aseguren un control apropiado de la temperatura.
SECCIÓN 10 – ELABORACIÓN DE PRODUCTOS PESQUEROS REVESTIDOS CONGELADOS RÁPIDAMENTE
Con miras a reconocer los controles en las distintas fases de elaboración,
en esta sección se ofrecen ejemplos de posibles peligros y defectos y se describen
directrices tecnológicas que pueden utilizarse para establecer medidas de control
y medidas correctivas. Para cada fase concreta, sólo se enumeran los peligros
y defectos que podrían introducirse y controlarse en ella. Hay que tener presente
que, al preparar un plan de APPCC y/o de PCD, es esencial consultar la Sección
5, en la que se ofrece orientación para la aplicación de los principios de APPCC
y de análisis de PCD. Sin embargo, dentro del ámbito de aplicación de este Código
de Prácticas no es posible dar detalles de los límites críticos, la vigilancia,
el mantenimiento de registros y la verificación para cada una de las fases,
ya que son específicos de los peligros y defectos concretos.
10.1 CONSIDERACIONES GENERALES QUE COMPLEMENTAN EL PROGRAMA DE REQUISITOS
PREVIOS
• los Sistemas de transporte que se utilicen para transportar pescado
revestido y no revestido estarán proyectados y construidos de manera que se
eviten daños a los productos y la contaminación de éstos;
• los trozos aserrados para obtener productos de la forma deseada y en
espera de tratamiento térmico se mantendrán a temperaturas que impidan el deterioro
de la calidad esencial del producto;
• si el proceso se desarrolla de forma continua, deberá haber un número
de cadenas de elaboración suficiente para evitar interrupciones e intermitencias.
Si el proceso ha de interrumpirse, los productos intermedios se almacenarán
congelados hasta su elaboración ulterior;
• los baños utilizados en la freidura previa y los congeladores utilizados
para la recongelación estarán equipados de dispositivos permanentes de control
de la temperatura y de la velocidad de la cinta;
• la proporción de residuos de aserrado se reducirá al mínimo mediante
la utilización de equipo de aserrado idóneo;
• el residuo del aserrado se mantendrá separado de los núcleos de pescado
utilizados para elaborar productos revestidos, se someterá a temperatura controlada,
no permanecerá durante demasiado tiempo a temperatura ambiente y se almacenará
preferiblemente congelado antes de su elaboración ulterior para obtener productos
idóneos.
10.2 IDENTIFICACIÓN DE PELIGROS Y DEFECTOS
Véanse también la Sección 5.3.3 y el Apéndice XI.
En esta sección se describen los principales peligros y defectos específicos
del pescado y marisco revestido congelado rápidamente.
10.2.1 Peligros
Véase la Sección 5.3.3.1
La producción y almacenamiento del baño que ha de aplicarse a las porciones,
filetes, etc. de pescado podrá comportar ya sea la rehidratación de una mezcla
comercial para empanado o rebozado o su preparación a partir de ingredientes
en bruto. Durante la preparación y utilización de esta mezcla deberá controlarse
el posible peligro de proliferación de Staphylococcus aureus y Bacillus
cereus y producción de sus toxinas.
10.2.2 Defectos
Los posibles defectos se esbozan en los requisitos esenciales de calidad, etiquetado
y composición descritos en la Norma del Codex para Barritas y Porciones de Pescado
Empanadas o Rebozadas Congeladas Rápidamente (CODEX STAN 166.1989, Rev. 166-1989).
En las especificaciones para el producto final que se esbozan en el Apéndice
XI se describen los requisitos facultativos específicos para los productos pesqueros
revestidos congelados rápidamente.
10.3 OPERACIONES DE ELABORACIÓN
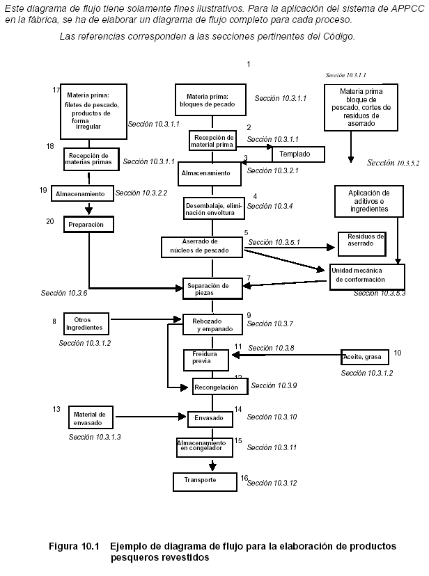
Véase un ejemplo de diagrama de flujo para la elaboración de productos pesqueros revestidos en la Figura 10.1.
10.3.1. Recepción 10.3.1.1 Pescado
Posibles peligros: |
Contaminación química y bioquímica, histamina; |
Posibles defectos: |
Manchas, irregularidades de los bloques, bolsas de agua y aire, material de envasado, materias extrañas, parásitos, deshidratación, descomposición. |
Orientación técnica: |
|
• se registrarán las temperaturas de todos los lotes que entren a la planta;
• se examinará el material de envasado de los productos congelados para determinar si contienen suciedad, presentan desgarraduras o muestran signos de descongelación;
• se controlará la limpieza e idoneidad de los vehículos utilizados para transportar productos pesqueros congelados;
• se recomienda la utilización de dispositivos para registrar la temperatura de los cargamentos;
se tomarán muestras representativas para su ulterior examen, a fin de detectar posibles peligros y defectos.
10.3.1.2 Otros ingredientes
Posibles peligros: |
Contaminación química, bioquímica y microbiológica |
Posibles defectos: |
Mohos, alteraciones de color, suciedad, arena |
Orientación técnica: |
|
• se inspeccionarán los productos utilizados para empanar y rebozar, a fin de detectar material de envasado roto, signos de infestación por roedores e insectos y otros daños, como suciedad de los materiales de envasado y humedad;
• se controlará la limpieza e idoneidad de los vehículos utilizados para transportar los productos alimenticios;
• se tomarán muestras representativas de los ingredientes para cerciorarse de que el producto no está contaminado y cumple con las especificaciones para su empleo en el producto final;
• los ingredientes se expedirán en vehículos de transporte que sean idóneos para manipular productos e ingredientes alimentarios. No se emplearán, para transportar productos o ingredientes alimentarios, vehículos en los que se hayan transportado con anterioridad materiales potencialmente dañinos o peligrosos.
10.3.1.3 Materiales de envasado
Posibles peligros: |
Materias extraña; |
Posibles defectos: |
Manchas de los productos |
Orientación técnica: |
|
• el material de envasado debe estar limpio e íntegro y ser duradero, suficiente para el uso previsto y de calidad alimentaria;
• el material de envasado para los productos sometidos a freidura previa deberá ser impermeable a la grasa y el aceite;
• se controlará la limpieza e idoneidad de los vehículos utilizados para transportar material de envasado de alimentos.
• etiquetas preimprimidas y material envasado deberá ser examinado con atención
10.3.2 Almacenamiento de materias primas, otros ingredientes y material de envasado
10.3.2.1 Pescado (Almacenamiento en congelador)
Véase la sección 8.1.3
10.3.2.2 Pescado (Almacenamiento en refrigerador)
Para el almacenamiento de pescado no congelado, véase la sección 8.1.2.
10.3.2.3 Otros ingredientes y material de envasado
Posibles peligros: |
Contaminación biológica, física y química |
Posibles defectos: |
Pérdida de calidad y características de los ingredientes, rancidez |
Orientación técnica: |
|
• todos los demás ingredientes y material de envasado deberán almacenarse en un lugar seco y limpio y en condiciones higiénicas;
• todos los demás ingredientes y material de envasado deberán almacenarse de forma apropiada en lo que concierne a la temperatura y la humedad;
• se establecerá y mantendrá un plan sistemático de rotación de las existencias para evitar que caduquen los materiales;
• los ingredientes se protegerán contra insectos, roedores y otras plagas;
• no se utilizarán ingredientes ni material de envasado defectuosos.
10.3.3 Filetes de pescado congelado/temperatura de bloques
Posibles peligros: |
Improbables |
Posibles defectos: |
Dimensiones incorrectas debido al aserrado de carne de pescado ablandada en exceso (en el caso de las barritas de pescado) |
Orientación técnica: |
|
• Dependiendo del uso previsto del pescado, la templadura de bloques/filetes de pescado congelados deberá llevarse a cabo de una manera que permita elevar la temperatura del pescado sin descongelarlo.
• La templadura de bloques/filetes de pescado congelados en el almacenamiento en refrigerador es un proceso lento, que por lo general requiere como mínimo 12 horas o más.
• Deberá evitarse el ablandamiento excesivo de las capas exteriores, que no es conveniente ya que crea dificultades para el aserrado. Esto puede impedirse manteniendo las instalaciones que se emplean para la templadura a una temperatura de 0-4º C y apilando en capas los bloques/filetes de pescado.
• La templadura por microondas constituye un método alternativo que, sin embargo, también deberá controlarse para evitar el ablandamiento de las capas exteriores.
10.3.4 Desembalaje, eliminación de la envoltura
Posibles peligros: |
Contaminación microbiológica |
Posibles defectos: |
Material de envasado que no se ha detectado, contaminación por suciedad |
Orientación técnica: |
|
• durante el desembalaje y la eliminación de la envoltura de los bloques de pescado se tendrá cuidado para no contaminarlos;
• se prestará especial atención a los pedazos de cartón total o parcialmente incrustados en los bloques;
• todo el material de envasado se eliminará en forma apropiada y a la mayor brevedad;
proteger los bloques de pescado envueltos, sin envolver y desembalados que se encuentran en las líneas de limpieza y saneamiento durante las pausas y entre turnos de trabajo, en caso de que el proceso de producción se interrumpa.
10.3.5 Producción de núcleos de pescado
10.3.5.1 Aserrado
Posibles peligros: |
Materias extrañas (partes de metal o plástico de las sierras) |
Posibles defectos: |
Piezas o porciones de forma irregular |
Orientación técnica: |
|
• los instrumentos para aserrar se mantendrán limpios y en condiciones higiénicas;
• se inspeccionarán periódicamente las cuchillas de las sierras para evitar desgarraduras de los productos y roturas;
• el residuo del aserrado no deberá acumularse en la mesa de aserrar, sino recogerse en recipientes especiales si se destinará a elaboración posterior;
• los trozos aserrados que se utilizan para obtener núcleos de pescado de forma irregular mediante presión mecánica se mantendrán limpios y en condiciones higiénicas hasta su ulterior elaboración.
10.3.5.2 Aplicación de aditivos e ingredientes
Véase también la Sección 8.4.3
Posibles peligros: |
Materias extrañas, contaminación microbiológica |
Posibles defectos: |
Adición incorrecta de aditivos |
Orientación técnica: |
|
• Durante el proceso de mezclado se controlará adecuadamente la temperatura del producto para evitar la proliferación de bacterias patógenas.
10.3.5.3 Conformación
Posibles peligros: |
Materias extrañas (partes metálicas o de plástico de las máquinas) y/o contaminación microbiológica (sólo en mezclas de pescado) |
Posibles defectos: |
Núcleos de pescado de forma defectuosa, núcleos sometidos a una presión excesiva (esponjosos, rancios) |
Orientación técnica: |
|
La formación de núcleos de pescado es una operación sumamente mecanizada para producir núcleos de pescado destinados a ser rebozados y empanados. En esta operación se utiliza ya sea la presión hidráulica para introducir los trozos (porciones aserradas de los bloques de pescado) en moldes que se expulsan sobre la cinta transportadora, o bien la conformación mecánica de las mezclas de pescado.
• las máquinas para formar núcleos de pescado se mantendrán en condiciones higiénicas;
• una vez formados, los núcleos se inspeccionarán detenidamente para comprobar si poseen la forma, peso y textura apropiados.
10.3.6 Separación de piezas
Posibles peligros: |
Materias extrañas |
Posibles defectos: |
Piezas o porciones adheridas |
Orientación técnica: |
|
• los núcleos de carne de pescado cortados de bloques o de filetes de pescado, u otros materiales de forma irregular a base de pescado congelado rápidamente, se separarán perfectamente unos de otros y no se adherirán entre si;
• los núcleos de pescado que se toquen durante la fase de rebozado en húmedo deberán ser retirados y colocados de nuevo en el transportador con el fin de que reciban una capa uniforme de rebozado y empanado;
• se controlarán los núcleos de pescado para detectar la presencia de materias extrañas y otros peligros y defectos antes del revestimiento;
• se eliminarán de la producción todas las piezas rotas, de forma defectuosa o que no cumplan con las especificaciones.
10.3.7 Revestimiento
En la práctica industrial, el orden y el número de las fases de revestimiento podrán diferir y, por consiguiente, discrepar considerablemente de este esquema.
10.3.7.1 Revestimiento en húmedo
Posibles peligros: |
Contaminación microbiológica |
Posibles defectos: |
Cobertura insuficiente o excesiva del revestimiento |
Orientación técnica: |
|
• los trozos de pescado deberán revestirse perfectamente por todas partes;
• el líquido en exceso que vaya a reutilizarse se transportará de nuevo en condiciones de limpieza e higiene;
• el líquido en exceso de las piezas de pescado deberá eliminarse mediante aire limpio;
• deberá vigilarse y controlarse la viscosidad y temperatura de las mezclas de rebozado hidratadas para que se mantengan dentro de determinados parámetros a efectos de absorber la cantidad apropiada de empanado;
• para evitar la contaminación microbiológica de la mezcla hidratada de rebozado se adoptarán medios apropiados a fin de cerciorarse de que no se produce un desarrollo microbiano excesivo, como por ejemplo, control de la temperatura, vertido del contenido líquido y limpieza y/o higienización periódicas o programadas durante el turno de fabricación.
10.3.7.2 Revestimiento en seco
Posibles peligros: |
Contaminación microbiana |
Posibles defectos: |
Revestimiento insuficiente o excesivo |
Orientación técnica: |
|
• el revestimiento en seco deberá cubrir la totalidad del producto y adherirse perfectamente al revestimiento en húmedo;
• el revestimiento sobrante se eliminará insuflando aire limpio y/o haciendo vibrar los transportadores, y se retirará de manera limpia e higiénica si se tiene la intención de utilizarlo de nuevo;
• el empanado deberá fluir libremente y de manera uniforme y continua de la tolva del aplicador;
• se vigilarán los defectos del empanado, que deberá ajustarse a lo dispuesto en la Norma del Codex para Barritas y Porciones de Pescado Empanadas y Rebozadas Congeladas Rápidamente (Codex Standard 166-1989);
• la proporción entre el empanado y el centro de pescado deberá ajustarse a lo dispuesto en la Norma del Codex para Barritas y Porciones de Pescado Empanadas y Rebozadas Congeladas Rápidamente (Codex Standard 166-1989);
10.3.8 Recongelación – Congelación final
Posibles peligros: |
Materias extrañas |
Posibles defectos: |
Una congelación insuficiente hace que las unidades se peguen entre sí o a las paredes del equipo de congelación y facilita la eliminación mecánica del empanado/rebozado |
Orientación técnica: |
|
• inmediatamente después de la freidura previa, el producto entero se congelará de nuevo a
-18ºC o a temperaturas inferiores;
• los productos deberán dejarse en el congelador el tiempo suficiente para garantizar que la temperatura en su núcleo sea de -18ºC o menos;
• los congeladores criogénicos tendrán un flujo de gas comprimido suficiente para posibilitar una congelación apropiada del producto;
• los fabricantes que utilicen congeladores de aire forzado podrán envasar el producto antes de la congelación en recipientes destinados a los consumidores.
10.3.10 Envasado y etiquetado
Véase la Sección 8.2.3 "Etiquetado", la Sección 8.4.4 "Envoltura y envasado" y la Sección 8.2.1 “Pesaje”.
Posibles peligros: |
Contaminación microbiana |
Posibles defectos: |
Envasado insuficiente o excesivo, envases no cerrados adecuadamente, etiquetado erróneo o que induzca a error |
Orientación técnica: |
|
• después de la nueva congelación se procederá sin dilación al envasado, en condiciones de limpieza e higiene. Si el envasado se efectúa más adelante (por ejemplo en el caso de la elaboración por lotes), los productos sometidos a una nueva congelación se mantendrán congelados hasta que se envasen;
• se inspeccionarán periódicamente los envases mediante controles del peso, y los productos finales mediante detectores de metales y de materias extrañas u otros métodos de detección aplicables;
• la colocación de los cartones o sacos de plástico en los recipientes en que serán transportados se realizará sin demora y en condiciones de higiene;
• tanto en los envases destinados a los consumidores como en los recipientes utilizados en el transporte se hará constar debidamente el código del lote para poder identificarlos en caso de que haya que recuperar el producto.
10.3.11 Almacenamiento de los productos finales
Véase también la Sección 8.1.3
Posibles peligros: |
Improbables |
Posibles defectos: |
Alteraciones de la textura o del sabor debidas a oscilaciones de la temperatura, quemaduras profundas de congelador, sabor a almacenamiento en frío, sabor a cartón |
Orientación técnica: |
|
Todos los productos finales se almacenarán congelados en un ambiente limpio, seguro e higiénico;
• se evitarán las oscilaciones pronunciadas de la temperatura de almacenamiento (superiores a 3ºC);
• se evitará un período de almacenamiento demasiado prolongado (en función del contenido de grasa de las especies utilizadas y del tipo de revestimiento);
• los productos estarán protegidos en forma apropiada contra la deshidratación, la suciedad y otras formas de contaminación;
• todos los productos finales se almacenarán en el congelador de manera que el aire pueda circular libremente.10.3.12 Transporte del producto final
Véase también la Sección 3.6 “Transporte” y la Sección 17 “Transporte”, en preparación.
Posibles peligros: |
Improbables |
Posibles defectos: |
Descongelación del producto congelado |
Orientación técnica: |
|
• durante todas las fases del transporte, los productos se mantendrán congelados profundamente a –18ºC (con oscilaciones máximas de ±3ºC) hasta que lleguen a su destino final;
• se inspeccionará la limpieza del vehículo de transporte y su idoneidad para transportar productos alimenticios congelados;
• es recomendable que se utilicen dispositivos para registrar la temperatura durante el transporte.