Página precedente Indice Página siguiente


Utilización de las maderas tropicales mixtas para papel

Torsten Frisk

TORSTEN FRISK es un funcionario de la FAO especializado en madereo, con mucha experiencia en América Latina.

Pulpapel S.A. produce aproximadamente 280 000 t (400 000 m³) de madera al año. El 30% corresponde a la concesión de Bajo Calima y el resto a 300 proveedores agrupados en tres categorías:

· Contratistas o comunidades de campesinos que tienen concesiones en bosques fiscales.
· Propietarios privados que talan los bosques para incorporar nuevos terrenos a la agricultura.
· Propietarios privados que talan los bosques para proceder a la reforestación del terreno.

El viaje de ida y vuelta, a una distancia media de 165 km. incluida la carga y descarga, dura 4-5 días. El transporte por vía fluvial depende de las mareas, que pueden alcanzar hasta 6 m de una a tres veces al año.

Pulpapel S.A., empresa situada en las afueras de Cali, Colombia, es una subsidiaria de la quinta de las empresas más grandes del país, Cartón de Colombia. Cartón no sólo tiene importancia para el país porque produce papel y cartón para envasar productos agrícolas, sino también porque ha sido una de las precursoras en la fabricación de pulpa o pasta con maderas de latifoliadas tropicales. En efecto, ésta es una de las pocas empresas del mundo que produce a escala comercial cartón de capa o cara, medio para corrugar y papel de bolsas, de pulpa al sulfato en su totalidad. Casi todos los papeles y cartones que produce tienen alrededor de 30% de fibra larga, agregada en forma de pulpa o de papel de desecho. La pulpa virgen de fibra larga cuesta aproximadamente 500 dólares/t en Cali (a una tasa de cambio de 32 pesos por dólar).

Como la demanda efectiva está aumentando a una tasa de interés compuesto de 7-9%, habrá que aumentar al doble la producción en 10 años.

Para no depender de la importación de pulpa, se está realizando un programa de reforestación que permitirá obtener en el futuro una cantidad suficiente de pulpa de fibra larga. Se estima que en 1983 se necesitarán alrededor de 60 000 t/año.

El programa de reforestación destinado a satisfacer esta demanda es de 1 750 ha anuales. Las principales especies son: Cupressus lusitanica, Pinus oocarpa, P. patula y P. kesiya. La densidad de plantación es de 1 600 plantitas/ha. Se proyecta hacer un raleo a los 6-8 años. A partir de 1974, se han plantado 800 ha/año de eucaliptos, empleando material producido en tres viveros, que producen un total de 11 millones de plantitas anuales. Para fomentar la reforestación, se venden las plantitas a 50 centavos cada una, o sea, a la mitad del costo.

En Cartón, la primera etapa de actividad - el madereo - es evidentemente muy importante y corre a cargo de Pulpapel.

El presente, más que un artículo es un informe técnico de un ingeniero forestal, en el que se trata de dar a conocer de qué manera una empresa obtiene madera palpable en la jungla.

Las dimensiones y características de la madera suministrada a la industria son las siguientes: madera descortezada, diámetro máximo 40 cm, mínimo 10 cm. Las trozas de más de 40 cm se parten en el bosque. Largo 1,50 m, mínimo 1,20 y máximo 2,00 m. Se evitan las especies que tienen mucho látex o sílice, porque dificultan la elaboración.

Se evitan también las especies que tienen alta densidad. No se cortan las palmas. Se dejan en el bosque las trozas muy podridas y las que tienen en el centro una curvatura de más de 35 cm.

La unidad de volumen empleada por la empresa es el estéreo, pero las dimensiones de la pila son 1 m × 1 m × 1,50 m de largo.

El factor empleado para la conversión del volumen en peso es:

1 m³ de madera sólida, descorteza da, que se haya secado al aire durante 1 mes = 0,7 t.

El factor empleado para la conversión del peso de la madera en el peso de pulpa es:

3 t de madera = 1 t de pulpa; o
4,3 m³ de madera = 1 t de pulpa.

La concesión de Bajo Calima

La concesión de Bajo Calima se encuentra en la jurisdicción de la municipalidad de Buenaventura, Departamento Del Valle. Tiene una extensión aproximada de 54 000 ha, de las cuales 26000 ha se consideran comerciales. La concesión dura 30 años, según el contrato suscrito entre la empresa y el Instituto de Recursos Naturales Renovables (INDERENA); (véase un extracto del contrato al final de este artículo).

A continuación se dan a conocer sus principales estipulaciones:

· Antes de obtener la concesión oficialmente, la empresa tuvo que presentar un plan de manejo a INDERENA, para su aprobación.

· Se reservaron algunas áreas para colonización y pequeños agricultores.

· Se fijó un límite anual de corta de 84000 t/año (120000 m³).

· Una tasa de reforestación que, al vencimiento de la concesión, produzca un volumen igual o superior al cortado. En determinadas circunstancias, esta reforestación puede realizarse en otros terrenos forestales tropicales.

· Dos pagos a INDERENA por metro cúbico de madera cortada: el primero por concepto de participación nacional y el segundo por servicios de control y conservación forestal prestados por INDERENA. El pago por participación nacional asciende al 5% del valor de la madera cortada. Este es de 70 pesos/m³ ($2,19/m³) cuando la madera está destinada a pasta. El pago por la participación nacional asciende a 3,50 pesos/m³ ($0,11/m³). El pago por los servicios de conservación y control asciende a 10 pesos/m³ ($0,31/m³).

Sistema de concesiones

El servicio forestal acepta el sistema de concesiones porque le permite ejercer un mayor control sobre la corta. Este sistema es también conveniente para la empresa, porque le garantiza una parte de la madera y la duración de la concesión le permite hacer inversiones mayores en infraestructuras, ya que, si su duración fuera menor, se fomentaría la corta migratoria sin infraestructuras.

Esta concesión se encuentra muy bien situada porque está junto a la carretera Cali-Buenaventura; desde la entrada de la concesión hasta Cali hay 102 km y hasta Pulpapel S.A., 120 km; desde la entrada hasta el punto de la operación de madereo más próxima hay 14 km. Su ubicación y la excelente red de caminos interiores, construidos por la empresa, permiten el transporte continuo de madera desde la concesión hasta la fábrica.

La distancia de Cali a Buenaventura es de 126 km. El camino pavimentado está en buenas condiciones, pero tiene muchas curvas debido a los accidentes del terreno y al hecho de que atraviesa una cordillera. Los taludes no han sido estabilizados y cuando llueve mucho suelen producirse desprendimientos. A partir de Cali, el camino zigzaguea, ascendiendo hasta alcanzar 2080 m de altura, a 18 km de distancia. Por tal motivo, para llegar a la concesión, un automóvil tarda 2,5 h y un camión, 5 h.

La topografía de la concesión se caracteriza por lomas bajas, con una inclinación de 0 a 30%. El suelo, muy arcilloso, tiene mal drenaje. La materia orgánica es escasa. La precipitación anual es de 6 500 a 7 500 mm. La concesión se encuentra a 150-200 m sobre el nivel del mar.

Por ley, se destina a colonización una franja de 200 m a ambos lados de los caminos y de 500 m a la orilla de los ríos, lo que ha dado lugar a que se instalen allí pequeños agricultores migratorios, aunque no son numerosos porque la fertilidad del suelo es sumamente baja. Esto ha impedido la colonización en masa de la concesión.

Una actividad de subsistencia es la que consiste en cortar los renovales a los 2-3 años y emplear la madera para postes en las construcciones. Esto acarrea evidentemente el empobrecimiento de los bosques, pero produce pequeñas cantidades de dinero. La madera se vende a la orilla del camino, a 5-7 pesos cada poste, según sus dimensiones. Se podría mejorar este sistema escogiendo las especies más apropiadas y aplicando un plan de ordenación sencillo. Los árboles más grandes se cortan a mano con corvina.

CARACTERÍSTICAS DEL BOSQUE

El bosque tropical mixto tiene la calidad de ser homogéneo-heterogéneo y se compone de 180 especies. De éstas, 160 se emplean en la fabricación de pulpa. El volumen total medio por hectárea es de 159 m³ con corteza. El volumen utilizado es de 105 m³/ha con corteza. El volumen medio por árbol es de 0,33 m³. Después de cortar la madera, se puede reforestar el terreno sin gran dificultad. El diámetro medio a la altura del pecho (d.a.p.) es de 30 cm con corteza.

INFRAESTRUCTURA

Gracias a la larga duración de la concesión - 30 años - existe la posibilidad de construir infraestructuras permanentes.

CAMINOS

La red caminera está bastante bien distribuida y es de buena calidad; es transitable todo el año, incluso con vehículos pequeños, hasta los lugares donde se hacen las operaciones de madereo.

La construcción y mantenimiento de los caminos corre a cargo de dos contratistas diferentes: Calderón y Cía. (construcción de caminos) y Agustín Barona (mantenimiento de caminos y transporte de madera).

Los caminos en servicio actualmente abarcan 76 km. divididos en 48 km de caminos principales y 28 km de caminos secundarios.

La densidad de los caminos se puede calcular, por ejemplo, basándose en una unidad de 750 ha, que tiene 5 km de caminos. Así podemos formular la ecuación siguiente:

Las especificaciones de los caminos son las siguientes:

Especificación

Camino principal

Camino secundario

Ancho total

8-9 m

6

Ancho de la calzada

6 m

4

Pendiente máxima

6,5%

8

Radio mínimo

50 m

40

Plazoleta

150 m

150

Espesor de la grava

(m) 0,20-0,60 m

0,20

Base

troncos

troncos

El trazado de los caminos pasa por las cumbres, evitando las laderas. En esta forma, favorece el drenaje lateral y se reduce al mínimo el movimiento de tierra.

Se evitan los puntos donde es necesario construir puentes o grandes alcantarillas. El trazado de los caminos lo hace la empresa.

La planificación y la construcción de la red caminera se realiza en las etapas siguientes:

· Prospección: Consiste en determinar si el volumen de madera justifica la construcción de un camino. Se hace una estimación del costo de construcción. En esta etapa se establece una estrecha colaboración entre el topógrafo y el ingeniero forestal.

· Determinación del trazado: Se hace de acuerdo con la topografía, la ubicación del bosque y la red caminera existente.

· Trazado preliminar: Con brújula y nivel de mano con clinómetro Abney. La distancia se estima.

· Trazado definitivo: Con brújula, cinta de medir y nivel de Abney. Se hacen cálculos de movimiento de tierra.

· Construcción: Se realiza en tres etapas, a saber:

1. Limpia con bulldozer.

2. Movimiento de tierra con caterpillar D4, 75 CV, o Fiat C100, 80 CV. No se recomienda equipo pesado por que la resistencia del terreno es muy pequeña. Se reduce al mínimo el movimiento de tierra. En uno y otro caso los bulldozers están provistos de orugas de 34 pulgadas de ancho (1 pulgada = 2,5 cm). Cuando el trazado del camino pasa a media falda, se le da el ancho haciendo un corte.

3. Sub-base y base. La sub-base la forman dos capas de troncos. La primera longitudinal y la segunda transversal. Es necesario usar troncos porque el terreno tiene muy poca resistencia, alrededor de 0,2 kg/cm². Los troncos permiten distribuir mejor la presión sobre el terreno y evitan el hundimiento de la grava. El diámetro medio de los troncos es de 10 cm.

Especificaciones y costos de la maquinaria

Winche o cabrestante IWATE FUJI

Precio aproximado

30 000 dólares

Modelo

Y-28 EG

N° de tambores

3

Transmisión

Engranajes corredizos, 4 marchas adelante y 4 atrás

Freno de tambor

Zapata de expansión, hidráulico

Capacidad del tambor

1 350 m con cable de acero de 8 mm
850 m con cable de acero de 10 mm
590 m con cable de acero de 12 mm

Motor

Mitsui-Deutz F3L - 912, diesel 44 hp a 2500 r.p.m. 4 cilindros

Peso

1 775 kg

Tractor BOMBARDIER Muskeg - Jimmy Skidder

Precio aproximado

30 000 dólares

Luz hasta el suelo

35 cm

Peso de embarque

4 800 kg

Velocidad máxima

20 km/h

Radio de viraje

3,6 m

Presión sobre el terreno

0,15 kg/cm²

Inclinación máxima

Lateral 25%; cuesta arriba/cuesta abajo 60%

Motor

Make, Detroit diesel modal GM 4,53, 4 cilindros, 130 hp

Cabrestante

Germatic modal 9, tracción lineal 10000 lb. capacidad del tambor 157 pies con cable de 1/2"

Orugas

De goma con travesaños de acero, 70 cm de ancho, 2,18 m de largo

Carga útil

5 t

Tractor BOMBARDIER B-15

Precio aproximado

60000 dólares

Luz hasta el suelo

48 cm

Peso de embarque

17000 kg

Velocidad máxima

24 km/h

Radio de viraje

3,0 m

Presión sobre el terreno

0,14 kg/cm² con penetración 0

Inclinación máxima

Lateral 65%; cuesta arriba/cuesta abajo 75%

Motor

G.M. 6V-53 diesel, 195 hp

Orugas

De goma con travesaños de acero, ancho 1,0 m

Carga útil

10 t

El volumen de madera empleado en 1 km de camino es de 750 m³, con un factor de espacio de 0,8 2(0,0078 × 60000 × 0,8) = 750 m³. Siendo la densidad de la red caminera de 6,7 m/ha, el volumen de madera empleado en los caminos es de 5 m³/ha. Sobre los troncos se extiende una capa de grava de 20 cm de espesor. Después de repetir esta operación varias veces la grava alcanza un espesor de 60 cm. Se aplica con motoniveladora o a mano. La distancia media de acarreo de la grava es de 18 km. Los camiones de volquete empleados son principalmente Dodge D-600 de 6 t de capacidad. El transporte de la grava lo realizan contratistas que reciben subsidios de la empresa para comprar los camiones. Los camiones se cargan con una pala de oruga de 1 m³ de capacidad.

El hecho de que haya grava y de que la distancia de acarreo sea corta es tal vez lo más importante para la utilización del bosque tropical, por lo que esta concesión tiene una gran ventaja. Los puentes de madera se construyen sobre pilotes enterrados en el suelo con martinete. La madera empleada proviene de los manglares y resiste a los esfuerzos y a la putrefacción. Las alcantarillas, de 28 cm de diámetro, son de cemento y suelen tener 8 m de largo. En promedio, hay 16 alcantarillas por km.

Cuando se producen deslizamientos de tierra, se colocan pilotes laterales para sujetar el material de relleno.

Rendimiento de la construcción de caminos: La construcción de caminos avanza 1 km al mes, con un tiempo de trabajo efectivo de 10 horas/día. El rendimiento medio del bulldozer de 75 CV es de 16 m³/h. Para colocar 6 m de troncos, se necesita 1 día/hombre, con 8 horas efectivas de trabajo.

Costos de construcción de caminos:

Camino principal:

750 000 pesos/km
($23 500/km)

Camino secundario:

580 000 pesos/km
($18 000/km)

Lo que significa, más o menos, 4 480 pesos/ha

($140/ha), o 43 pesos/m³ ($1,34/m³)

Costos parciales de construcción de caminos:

Limpia

18,50 pesos/m ($0,58/m)

Movimiento de tierra en corte

18,50 pesos/m³ ($0,58/m³)

Movimiento de tierra en relleno

9,25 pesos/m³ ($0,29/m³)

Base de troncos

39,50 pesos/m ($1,23/m)

Transporte de grava 18 km

131,00 pesos/m³ ($4,00/m³)

Colocación manual de grava

4,60 pesos/m ($0,14/m)

Colocación de grava con motoniveladora

16,50 pesos/m ($0,51/m)

Conformación con motoniveladora

11,60 pesos/m ($0,36/m)

Alcantarillas

167,00 pesos/m ($5,22/m)

Cunetas

5,80 pesos/m ($0,18/m)

Pilotes para puentes, mano de obra

800,00 pesos/m ($25,00/m)

Madera de mango

1 280,00 pesos/m ($40,00/m)

El costo mensual de mantenimiento de los caminos es de 190 000 pesos (6 000 dólares), o sea, 32 pesos/km/año ($1 000/km/año). Este es el valor normal y corresponde al 5% del costo de construcción. El costo de mantenimiento por m³ asciende a 0,06 dólares.

Campamentos: Hay tres campamentos en la concesión, uno para el personal de la Compañía y los otros dos para los contratistas. Cuentan con talleres de mantenimiento de equipo pesado. La electricidad se produce empleando generadores diesel.

En la concesión de Bajo Calima la corta la efectúan dos contratistas: Aprovechamientos Forestales Ltda. y Maderas Tropicales. Cada contratista suministra 3 500 t de madera al mes (42 000 t/año). Se trabaja todos los días hábiles, o sea, 240 días al año. El trabajo continúa aunque llueva, porque la precipitación es elevada. El tiempo efectivo de trabajo es de 6 horas diarias.

Las diferentes operaciones están bien organizadas y puede observarse que hay mucha experiencia en trabajos con sistemas de cable. Las operaciones pueden dividirse como sigue:

· Preparación de las trozas: corta con hacha; desrame con hacha; despunte con motosierra; descortezamiento con machete 0 hacha; partidura con cuña y martillo.

· Acarreo: manual; sistemas de cable.

· Transporte: camiones de volquete o planos.

· Estimación de los recursos: INDERENA exige la realización de un inventario previo en la unidad que se cortará en los 2 años siguientes y establece el diseño de dicho inventario.

PULPAPEL S.A.
FORMULARIO DE
PRECORTA
Unidad:

Fecha:
Línea:
Azimut:
Longitud:
Equipo:
Responsable:

Línea

Sitio

Infl.


1 2 3

4 5

6




Arbol N°

Nombre común de la especie

Clave

Diámetro m

Altura comercial m

Observaciones

7 8

9 10 11

12 13 14

15 16 17

Este se realiza por líneas con 50 m de separación, proyectadas desde el camino trazado por el topógrafo (Figura 1).

Figura 1. Una unidad de madereo, mostrando las líneas paralelas perpendiculares al camino

La unidad se diseña de manera que el camino pase más o menos por el centro. Del total de líneas estratificadas de la unidad se escoge al azar el 10%. Se instala un campamento base en un punto conveniente de la unidad y se forman los equipos de inventariadores. Cada equipo se compone de cuatro personas. Cada 50 m se coloca una estaca de referencia, en las líneas escogidas, en correspondencia con el número del sitio. Se colocan hasta 20 estacas, con una penetración máxima de 1000 m.

Después de la estacada, el equipo vuelve al punto de partida y comienza a avanzar, midiendo diámetros y alturas comerciales en una franja de 5 m, a ambos lados de la línea de inventario. El d.a.p. se mide con compás, sacando el promedio de dos mediciones. La altura comercial se estima. Se avanza aproximadamente 1 km al día.

Para calcular el volumen se emplea una tabla preparada por la empresa. El encabezamiento del formulario empleado en el terreno aparece más arriba en esta misma página.

INDERENA revisa el inventario en el terreno. No se aceptan diferencias superiores a ± 20%. La revisión se hace por área basimétrica y se comparan algunas alturas comerciales con los formularios de la empresa.

Preparación de las trozas: La organización de esta operación consiste en encomendar 1400 m de camino a 7 jefes de equipo. Este tramo, que penetra 300 m a ambos lados del camino, tiene que estar listo en 4 meses. Cada equipo se compone de 7 personas encargadas del acarreo con cables y 9 encargadas del acarreo manual.

El operador de la motosierra pasa de un árbol a otro, para trocearlos. Las demás operaciones se realizan independientemente. La corta y el desrame se efectúan con un hacha de 4 libras. El troceado se hace con motosierra. Una de las principales razones por las cuales no se emplea la motosierra para la corta es la falta de formación vocacional. En promedio, la motosierra trabaja 4 horas diarias. La marca más corriente es Homelite XL-925 (82 cm²), con hoja de 65 cm, y se considera que da resultados satisfactorios.

Después del troceado, la madera se descorteza con machete o hacha. El descortezado no depende de la época del año, pero sí de la especie. Una vez descortezadas, las trozas de más de 40 cm de diámetro se rajan con cuña y martillo y se apilan, o a lo largo de las líneas donde funcionará el sistema de cables, o a la orilla del camino (véase Cuadro 1).

Un trabajador gana 23 pesos/m³ ($0,72/m³) en el acarreo con cables y 70 pesos/m³ ($2,19/m³) en el acarreo manual, a una distancia media de 150 m. Un operador de motosierra gana 10 pesos/m³ ($0,31/m³), en base a la producción total. La ley prevé un 50% para leyes sociales, pero la empresa aporta un 10% más en beneficio de los trabajadores.

CUADRO 1. Rendimiento de preparación de trozas; acarreo con cables y a mano

Operación

Acarreo con cables

Acarreo a mano

Corta

Desrame

Despunte

Descortezamiento

Partidura

sí - más de 40 cm de diámetro

sí, ídem

Pilar

terminal de cables

orilla del camino

Rendimiento

3,2 estéreos empresa1 día/hombre

1,0 ídem


3,1 m³ sólida sin corteza2 día/hombre

1,0 ídem

1 Dimensiones de la pila: 1 m × 1 m × 1,50 m.
2 Factor de espacio empleado: 0,65.

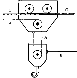
Figura 2. Sistema North Bend Modificado

A = Cable principal;
B = Cable de retorno;
C = Cable aéreo;
D = Mástil de cabeza;
E = Mástil de cola;
F = Winche o cabrestante;
G = Vientos;
H = Carro;
I = Garrucha de caída

CUADRO 2. Tiempo de operación y rendimiento del sistema North Bend Modificado

Distancia

Tiempo total

Rendimiento

Rendimiento corregido

m

minutos

m³/h

100

3,83

13,82

10,00

200

4,61

11,06

8,30

300

5,39

9,46

7,10

400

6,17

8,27

6,20

500

6,95

7,34

5,50

600

7,73

6,60

4,95

700

8,51

6,00

4,49

800

9,29

5,50

4,12

900

10,07

5,06

3,80

1000

10,85

4,70

3,52

CUADRO 3. Tiempo de operación y rendimiento del sistema de cable aéreo Iwate Fuji

Distancia

Tiempo total

Rendimiento

Rendimiento corregido

m

minutos

m³/h

100

5,33

12,72

9,54

200

6,08

11,15

8,36

300

6,83

9,93

7,45

400

7,58

8,94

6,71

500

8,33

8,14

6,10

600

9,08

7,47

5,60

700

9,83

6,90

5,17

800

10,58

6,41

4,81

900

11,33

5,98

4,49

1000

12,08

5,61

4,21

CUADRO 4. Tiempo de operación y rendimiento del tractor Jimmy

Distancia

Tiempo total

Rendimiento

Rendimiento corregido

m

minutos

m³/h

100

19,97

7,51

5,63

200

26,37

5,69

4,27

300

32,77

4,58

3,43

400

39,17

3,83

2,87

500

45,57

3,29

2,47

600

57,97

2,89

2,17

700

58,37

2,57

1,93

800

64,77

2,32

1,74

900

71,17

2,11

1,58

1000

77,57

1,93

1,45

Acarreo de la madera hasta la orilla del camino: Se emplean dos métodos, a saber: acarreo a mano a una distancia de 150 m, por término medio, y acarreo con cables. El acarreo a mano se analizó en el párrafo anterior y, para los efectos del pago, se considera como parte de la corta y operaciones afines.

Se emplean dos sistemas de cable: el sistema North Bend Modificado y el sistema de cable aéreo. Se emplean por separado o combinados.

Sistema North Bend Modificado: La empresa lo ha empleado durante algunos años y el personal ya ha adquirido mucha experiencia. Se ha convertido en un sistema tradicional. En la Figura 2 se dan a conocer las partes principales del sistema.

El sistema consiste en una franja en forma de círculo, o semicírculo, por la que se arrastra la madera hacia el mástil de cabeza. Se puede utilizar en terreno plano e inclinado.

Las trozas se arrastran por el suelo, pero, como con el sistema North Bend Modificado se levantan más las trozas, el winche o cabrestante se puede colocar en el valle para el acarreo a corta distancia.

En la Figura 3 se muestra la diferencia que hay entre el sistema North Bend Modificado y el sistema North.

La empresa hace la instalación de diversas maneras, como puede observarse en la Figura 4.

El mástil de cola se despliega después de acarrear la madera por una franja que describe un semicírculo o un círculo completo. Desde cada uno de los puntos donde se coloca el mástil de cola, 10° de distancia, se acarrea la madera hasta el mástil de cabeza colocado a la orilla del camino o en el bosque y, desde este punto, se transporta por medio de otra instalación.

Cuando se emplea el sistema North Bend Modificado en combinación con un sistema de cable aéreo, el acarreo se realiza describiendo un semicírculo 0 un círculo completo, y el sistema de cable aéreo sirve para acarrear las trozas, enteras o partidas, desde el mástil de cabeza a la orilla del camino.

El cabrestante del North Bend se fabrica en Colombia y está provisto de un motor Lister de 37,5 CV. La empresa tiene 20 cabrestantes. La carga media por viaje es de 0,68 t (0,85 m³). El tiempo medio de cada una de las fases de la operación completa, recorriendo una distancia de 450 m, es la siguiente:


Minutos

Viaje vacío

1,62

Carga

2,47

Viaje con carga

1,88

Descarga

0,58

Total

6,55

Figura 3. Diferencia entre los sistemas North Bend Modificado y North Bend

A = Cable principal;
B = Cable de retorno;
C = Cable aéreo

North Bend modificado

North Bend

Las fórmulas de tiempo y rendimiento con una distancia variable serían:

T = 3,05 + 0,0078D

T = tiempo total, minutos
D = distancia, metros
3,05 = tiempo de carga y descarga, minutos

O = rendimiento, m³/h
T = tiempo total, minutos
0,85 = carga media, m³ (0,8 t = 1 m³)

La resolución de estas fórmulas, con distancias de 100 a 1 000 m, da los resultados siguientes:

El estudio se refiere al tiempo de trabajo efectivo. Para obtener una indicación del rendimiento efectivo como promedio mensual o anual, se multiplicaron los rendimientos por 0,75.

Cuando el sistema se instala en una franja semicircular, hay que colocar el mástil de cola en 18 puntos, a 10° de distancia y, cuando se instala en una franja circular, en 36 puntos.

El tiempo de traslado e instalación del sistema es de 20 horas y el de traslado del mástil de cola, 16 horas. Por lo tanto, el tiempo total sería:

En una franja semicircular = 20 + 288 = 308 h, 38 días
En una franja circular = 10 + 576 = 596 h, 74 días

Los costos por hora aproximados de operación del sistema North Bend Modificado, incluidos los de mano de obra, trabajando 1 750 horas/año, es de 201 pesos/h ($6,30/h).

El costo total por metro cúbico de la instalación semicircular, hasta una distancia de 500 m, es:

A) Costo de instalación por m³:

Ic = Costo de instalación, pesos/m³
Hic = Costo por hora de instalación, pesos/m³ (85% del costo de operación)
Tzi = Tiempo de instalación en una franja semicircular, horas
V = volumen medio, m³/ha
R = radio del semicírculo

Ic = 13 pesos/m³ ($0,41)

B) Costo de operación por m³:

Oc = costo de operación, pesos/m³
Hc = costo por hora, pesos/h
PV = proporción de volumen en el área
Y = rendimiento, m³/h

Costo total = Ic + Oc = 45 pesos/m³ ($1,41/m³)

Sistema de cable aéreo Iwate Fuji: Se ha empleado por más de un año en la concesión con buenos resultados. Actualmente hay dos winches o cabrestantes en operación. El largo de la instalación puede ser de hasta 1 000 m, pero el promedio es de 600 m.

Figura 4. Formas de instalación

Instalación de un solo punto

Instalación de dos puntos

Instalación de tres puntos

Instalación en redondo con dos cabrestantes, combinando los sistemas North Bend modificado (A con el Iwate Fuji (B)

Están en uso dos de los tres tambores del winche o cabrestante. En un tambor se encuentra el cable sin fin y en el otro el cable principal para levantar y bajar la carga. El cable sin fin, que se enrolla en el tambor dándole siete vueltas, tira el carro, haciéndolo correr por el cable aéreo (Figura 5).

El equipo de una instalación de cables se compone de 16 personas:

1 operador del cabrestante
10 instaladores de cables
5 cargadores y descargadores
-
16 personas

Figura 5. Sistema Iwate Fuji

A = Cable principal;
B = Cable sin fin;
C = Cable aéreo;
D = Mástil de cabeza;
E = Mástil de cola;
F = Winche o cabrestante;
G = Carro

El operador del cabrestante gana 100 pesos/día ($3,12/día). La carga media es de 0,9 t (1,13 m³).

El tiempo medio de las operaciones completas, por separado, con una distancia de 450 m, es:


Minutos

Viaje vacío

1,43

Carga

3,30

Viaje cargado

1,93

Descarga

1,28

Total

7,94

Las fórmulas de tiempo y rendimiento con una distancia variable serían:

T = 4,58 + 0,0075D

T = tiempo total, minutos
D = distancia, metros
4,58 = tiempo de carga y descarga

O = rendimiento, m³/h
T = tiempo total, minutos
1,13 = carga media, m³ (0,8 t = 1 m³)

La resolución de estas fórmulas para distancias de 100 a 1 000 m dan los resultados siguientes:

Este estudio de tiempo se refiere al tiempo efectivo. Para obtener una indicación mejor del rendimiento efectivo, como promedio mensual o anual, se multiplicaron los rendimientos por 0,75.

Con el sistema de cable aéreo Iwate Fuji, el costo de operación aproximado, incluyendo el costo de mano de obra, con 1 750 horas/año, es de 369 pesos/h ($11,53/h).

Para instalar este sistema se necesitan alrededor de 32 horas. Si el sistema de cable aéreo se instala en combinación con el North Bend y se trabaja hasta una distancia de 500 m en una franja semicircular, el volumen acarreado sería:

El costo total por metro cúbico de una instalación de hasta 600 m con el sistema North Bend es:

A) Costo de instalación por m³:

Ic = costo de instalación, pesos/m³
Hic = costo por hora de instalación, pesos/m³ (85% del costo de operación)
V = volumen acarreado por una instalación

B) Costo de operación por m³:

Oc = costo de operación, pesos/m³
Hc = costo por hora, pesos/h
Y 600 = rendimiento 600 m, m³/h

Costo total = Ic + Oc
Costo total = 68 pesos/m³ ($2,13/m³).

El costo total de ambas instalaciones, por metro cúbico acarreado a la orilla del camino es 113 pesos/m³ ($3,53/m³).

Transporte: En las operaciones de transporte pueden distinguirse dos fases: transporte interno y transporte a la fábrica de Cali.

El costo de transporte desde la entrada de la concesión hasta la fábrica (120 km. por el camino Cali-Buenaventura) es 126 pesos/m³ ($3,90/m³).

Para el transporte de la madera, el Instituto de Desarrollo de los Recursos Naturales (INDERENA) da una guía de libre tránsito. Esta medida evita en cierto grado el transporte de madera proveniente de operaciones ilícitas. La guía de libre tránsito dura 10 días y, en su ausencia, se confisca la madera.

En el terminal de transporte interno, a la entrada de la concesión, hay un gran patio donde se descargan las trozas.

Para el transporte interno se emplean camiones de volquete y planos de 6-7 t. Los camiones de 8 t o más efectúan el transporte directamente hasta la fábrica. Las operaciones se efectúan a razón de 15 horas diarias. Para cargar a mano un camión de 6 t, 2 personas tardan 30 minutos. Los camiones planos también se descargan a mano. Para cargar un camión de volquete se necesita una hora.

El costo del transporte interno es 42 pesos/m³ ($1,31/m³).

El salario diario mínimo es 36 pesos/día ($1,13/día).

Se considera que el año tiene 240 días hábiles. Los sábados y domingos no son días hábiles, pero, si es necesario efectuar trabajos el sábado, se paga el doble. La ley en Colombia establece que los trabajadores forestales deben trabajar 54 horas semanales.

Figura 6. Organización de la extracción de madera empleando los tractores Bombardier B-15 y Jimmy

Los trabajadores provenientes de Buenaventura son transportados diariamente a la concesión. El horario de trabajo es de 8,00 a 17,30, con un intervalo de 1 hora para comer.

Sólo el 20% de los trabajadores sabe leer y escribir.

El personal de la concesión es el siguiente:


Personas

Personal administrativo

10

Jefes de grupo

4

Mecánicos

10

Cortadores

8

Transportadores

16

Preparadores de trozas

80

Acarreadores

120

Camineros

8

Total

256

Dividiendo la producción total anual por el número de personas, se obtiene una relación de 469 m³/año-hombre y de 1,95 m³/día-hombre:

Sin considerar el personal administrativo y los mecánicos, se obtiene una relación de 2,12 m³/día-hombre.

Resumen de los costos de corta y transporte

Para mayor comodidad, se resumen los costos por separado. El autor ha estimado algunos costos parciales por no haber información disponible:


pesos/m³

$/m³

Participación nacional

3,50

0,11

Pago a INDERENA por control

10,00

0,31

Caminos

45,00

1,40

Preparación de trozas

77,00

2,40

Acarreo a la orilla del camino

116,00

3,53

Transporte interno

42,00

1,31

Transporte a la fabrica

126,00

3,90


419,50

12,96

Gastos generales de la empresa 15%

63,00

1,94

Costo total

482,50

14,90

La concesión San Juan

Actualmente sólo se están realizando operaciones de corta experimentales. Esta concesión tiene 160000 ha y se estima que hay un volumen total de 15 millones de m³ con corteza. De este volumen, son aserrables 3,5 millones de m³.

El volumen medio por ha es de 108 m³ con corteza, incluidos 69 m³ de madera palpable por ha. El bosque contiene 225 especies útiles. El promedio de madera aserrable es de 28 m³/ha con corteza.

Esta concesión se encuentra a orillas del río San Juan, hacia el norte de la actual. Para llegar a ella hay que atravesar en automóvil la concesión de Bajo Calima, y después continuar en barco. La madera de esta concesión se transportará por vía fluvial y la única operación manual consistirá en cargar los lanchones.

La concesión es 14% aluvial y 86% lomas bajas.

Madereo experimental. Se instaló un campamento provisional a orillas del río San Juan, donde la resistencia del terreno, que a veces se inunda, es muy baja.

Las malas condiciones del terreno han hecho necesario emplear equipo de madereo experimental producido por Bombardier Ltd., Canadá. El equipo consiste en 5 tractores Jimmy y 1 Bombardier B-15 (véase Figura 6). Estos se caracterizan principalmente por tener orugas anchas, que les dan mayor flotabilidad. Pero el B-15 no puede operar sobre el terreno desnudo, porque se hunde, y tiene que utilizar un camino de troncos, que determina la organización del acarreo.

Al tractor Jimmy se le soldó una plancha alta de protección alrededor, porque puede hundirse en el barro hasta 1,4 m. Como los sistemas hidráulicos de todas las máquinas han sufrido averías durante las operaciones, siempre se encuentra presente un mecánico.

La corta se realiza con motosierras Homelite modelos 923 y 1050, barras de 63,5 a 76,20 cm respectivamente; pero se considera que el segundo modelo es demasiado pesado.

Las operaciones están organizadas de manera que los tractores Jimmy acarrean las trozas por una franja de 500 m hasta el camino de troncos y, desde éste, el B-15 los acarrea hasta la orilla del camino (Figura 6).

El rendimiento del tractor Jimmy, en 2 meses de operación, ha sido de 17 m³/día, con corteza, con 5 horas diarias efectivas de trabajo. Es claro que este rendimiento se puede elevar en el futuro.

La capacidad de este tractor es de 5 m³, pero, en las actuales condiciones de trabajo, es difícil utilizar un volumen medio superior a 2,5 m³. Para determinar el rendimiento del tractor Jimmy se pueden usar como guía aproximada las fórmulas siguientes:

T = 13,57 + 0,064D

T = tiempo total, minutos
D = distancia, metros
13,57 = tiempo fijo de carga y descarga, minutos

O = rendimiento, m³/hora
T = tiempo total, minutos
2,5 = carga media, m³

Estos tiempos no incluyen las de moras.

La resolución de estas fórmulas para distancias de 100 a 1 000 m da los resultados siguientes:

Los estudios de tiempo se refieren al tiempo efectivo de trabajo. Para formarse una idea más exacta del rendimiento efectivo medio mensual o anual, se multiplicaron los rendimientos por 0,75.

El costo aproximado por hora del tractor Jimmy, con un operador y dos ayudantes, es de 398 pesos/h ($12,45/h), trabajando 1 500 horas anuales.

El costo por m³, con una distancia media de 125 km, es de 42,12 pesos/m³ ($1,32/m³).

Aspectos jurídicos

Algunas cláusulas del contrato de concesión de INDERENA-PULPAPEL S.A.

CLÁUSULA I

INDERENA otorga a PULPAPEL S.A. una concesión forestal por un periodo de 30 años para que utilice los bosques públicos situados en la municipalidad de Buenaventura, Departamento Del Valle, en una superficie aproximada de 53 804 ha dentro de una superficie total de 61500 ha...... El concesionario acepta un reglamento en virtud del cual:

1. El concesionario tiene los permisos de primera opción para la utilización de las especies arbóreas de la superficie en concesión, de acuerdo con el volumen establecido en el plan de manejo.

2. El concesionario no tiene ningún derecho sobre las casas y los terrenos de agricultores pacíficos y tranquilos ni sobre los derechos adquiridos por terceros en la superficie en concesión. El concesionario no cortará los árboles que se encuentren en una franja de 500 m de ancho, paralela a las principales vías de comunicación, destinada al uso de los colonos. Dichas vías de comunicación son. El concesionario puede querellarse contra cualquier persona que invada el terreno en concesión y contará con el apoyo de INDERENA.

3. En ningún caso el concesionario recibirá indemnización alguna de INDERENA.

CLÁUSULA II

El concesionario se compromete a cumplir las obligaciones siguientes:

1. Invertir en la organización de las operaciones de corta y en plantaciones el presupuesto anual destinado a tal fin y aprobado por INDERENA.

2. Iniciar planes de manejo dentro de un plazo de 3 meses desde la firma del contrato. Se supone que el plan de manejo se está ejecutando cuando el concesionario corta el volumen permitido y trata el bosque de acuerdo con el plan.

3. Cortar los árboles de acuerdo con el plan de manejo y con las especificaciones siguientes:

a) El diámetro mínimo de la madera palpable es de 18 cm. Las especies que se permite utilizar son las siguientes... Para utilizar otras especies, sobre todo las que pueden utilizarse en los aserraderos, se requiere un permiso especial de INDERENA.

b) Cortar de acuerdo con las unidades de manejo.

c) Hacer el inventario antes de la corta con una intensidad de 10%, incluyendo todas las especies de más de 15 cm, identificando con números visibles y marcas todas las especies idóneas para aserraderos. INDERENA aprobará el esbozo del inventario.

d) Construir caminos principales y secundarios que permitan obtener el beneficio máximo del bosque, con el mínimo de daño a la vegetación.

e) Mantener las técnicas de corta con la obligación de mejorar los métodos, a fin de reducir los desperdicios y evitar dejar madera utilizable en el bosque o en los caminos y depósitos de madera.

f) En los casos en que INDERENA permita la utilización de especies aserrables, éstas deberán marcarse.

g) Hacer mapas de las superficies cortadas y de las sometidas a tratamiento silvícola.

h) Preparar de antemano mapas de las operaciones de corta y silvícolas para el año siguiente

i) Mantener un registro de las operaciones de corta principales:

1. Corta, superficie, volumen obtenido, pérdida de volumen y razones, producción y costos;

2. Caminos (plan, trazado, construcción y costos);

3. Sistemas de extracción, distancia, volumen extraído, tiempo de espera y tiempo improductivo, rendimiento del equipo y costos;

4. Sistemas de transporte, distancia, volumen, capacidad y costos del equipo.

j) En relación con el equipo empleado, el concesionario se obliga a tener información sobre la relación costos/beneficios, la eficiencia, producción y rendimiento.

k) Si hay que reservar áreas por motivos ecológicos, no se permite al concesionario cortar en dichas áreas.

l) Durante el primer año del contrato el concesionario e INDERENA elegirán y delimitarán un área del 5% del total, compuesta de muestras representativas de la vegetación natural.

4. El concesionario esbozará un estatuto de trabajo interno y seguridad y cumplirá con todas las leyes sociales vigentes. Presentará a INDERENA, dentro de un año, dichos estatutos aprobados por el Ministerio del Trabajo.

5. El concesionario construirá escuelas para la educación de los trabajadores forestales y sus familias.

6. Cada 6 meses el concesionario presentará un informe escrito firmado por un ingeniero forestal, dando cuenta de las operaciones de corta realizadas durante el periodo de 6 meses.

7. El concesionario no podrá contratar extranjeros en una proporción superior al 20% del personal total.

8. Demostrará el pago de derechos de participación y otros a INDERENA.

9. La concesión no puede traspasarse a terceros sin la autorización de INDERENA.

10. Se creará un departamento forestal que se encargue del plan de manejo.

11. El concesionario designará un representante ante INDERENA para discutir la continuación del contrato.

12. Cada 6 meses se presentará un informe escrito sobre la ejecución del plan de manejo.

13. El concesionario permitirá el libre paso por los caminos públicos, el acceso a los gasoductos, a las instalaciones telegráficas, eléctricas y telefónicas y a los canales de riego.

14. Hará plantaciones de especies comerciales, seleccionadas por el concesionario y aprobadas por INDERENA. El volumen previsto de estas plantaciones será igual o superior al extraído en un período de 30 años, estimándose que será de 3661745 m³. En caso de que INDERENA y el concesionario convengan en que la información para cumplir con el programa de reforestación en la concesión es insuficiente, se le concederá una prórroga de 3 años. Este periodo podrá prolongarse si INDERENA considera que la falta de información aún subsiste o si el programa de reforestación puede realizarse en otra área forestal tropical.

15. El concesionario hará las investigaciones propuestas en el plan de manejo en colaboración con INDERENA.

16. El concesionario colocará deslindes claros en la concesión.

CLÁUSULA III

El concesionario se obliga a utilizar el bosque natural y extraer el volumen permitido, pagando a INDERENA la participación nacional en relación con el valor en el mercado.

El concesionario pagará además a INDERENA la cantidad establecida por metro cubico, para control y manejo del bosque.

Los pagos deberán efectuarse cada 3 meses según los volúmenes indicados en el inventario previo a la corta.

CLÁUSULA IV

El plan de manejo aprobado por INDERENA constituye el fundamento técnico del manejo de la concesión.

CLÁUSULA V

El personal de INDERENA en cualquier momento puede supervisar el manejo de la concesión y el cumplimiento de las cláusulas estipuladas en el contrato.

CLÁUSULA VI

La exportación de productos forestales se hará de acuerdo con los reglamentos vigentes.

CLÁUSULA VII

Se permite al concesionario utilizar las plantaciones e INDERENA recomendará a los organismos pertinentes traspasar la propiedad de las superficies forestales al concesionario.

CLÁUSULA VIII

Para la utilización más completa del bosque, INDERENA puede recomendar al concesionario la utilización de especies y productos distintos de los acordados. Si el concesionario se niega a utilizar dichas especies, INDERENA puede coordinar su utilización.

CLÁUSULA IX

Salvo las áreas reforestadas, INDERENA puede reducir la superficie de la concesión en los casos siguientes:

a) Cuando las áreas de colonización crean dificultades al concesionario.

b) Cuando el producto de las plantaciones o bosques naturales es superior a las necesidades del con cesionario y cuando no se prevé ningún aumento.

c) Cuando el concesionario tiene razones de peso para reducir la superficie, a fin de economizar los costos de corta, transporte o manejo de una utilización más completa del bosque.

CLÁUSULA X

Para garantizar el cumplimiento del presente contrato, el concesionario debe depositar la suma de p. 1830 872, a razón de p. 0,50/m³.

CLÁUSULA XI

INDERENA puede multar sucesivamente al concesionario si no cumple con los incisos 2, 3, 4, 5, 6, 8, 12, 14, 15 y 16 de la Cláusula II.

CLÁUSULA XII

La concesión cesará en caso de:

1. Disolución de la compañía.
2. Quiebra de la compañía.
3. Incumplimiento de los incisos 1, 2, 3, 6, 7, 8, 9, 10, 11, 12, 13 y 14 de la Cláusula II.
4. Incumplimiento del plan de manejo.
5. Incumplimiento de la Cláusula III.

CLÁUSULA XIII

Cuando la causa es uno de los incisos 1, 2, 3, 4 y 5 de la última cláusula, el concesionario será notificado y preparará su defensa dentro de 30 días.

CLÁUSULA XIV

No se dará ninguna nueva concesión al concesionario por un periodo de 5 años después de habérsele anulado un contrato de concesión.

CLÁUSULA XV

El contrato puede prorrogarse de común acuerdo entre las partes.

CLÁUSULA XVI

El contrato se publicará en el Boletín Oficial...... a expensas del concesionario.

unasylva sus colaboradores le mantienen en contacto con las realidades de la silvicultura en todo el mundo

y combinan especialmente bien la teoría con la práctica porque escriben basándose en su experiencia y conocimientos

· V.S. Balinga, autor de «Usos competidores de la fauna», UNASYLVA, Vol. 29, N° 116, es funcionario de la Dirección de Aguas, Bosques y Caza, República del Camerún.

Unasylva revista internacional de silvicultura e industrias forestales
_ _ _ _ _ _ _ _ _ _ _ _ _ _ _ _ _ _ _ _ _ _ _ _ _ _ _ _ _ _ _ _ _ _ _ _ _ _ _ _ _ _ _ _ _ _ _ _ _

RECORTE ESTE CUPON y envíelo a:
Sección de Distribución y Venta
FAO - Via delle Terme di Caracalla
00100 Roma - Italia

o a cualquiera de los agentes de venta que aparecen en la lista del interior de la contratapa

Nombre: _______________________ Dirección: _______________________
Ocupación: _______________ Ciudad: _____________ País: ______________

Deseo suscribirme a unasylva por un periodo de un año ($ 8,00*)
Edición solicitada: Español Francés Inglés
Forma de pago: Adjunto cheque Giro bancario Cupones de la Unesco Contra envío de factura
_ _ _ _ _ _ _ _ _ _ _ _ _ _ _ _ _ _ _ _ _ _ _ _ _ _ _ _ _ _ _ _ _ _ _ _ _ _ _ _ _ _ _ _ _ _ _ _ _
_ _ _ _ _ _ _ _ _ _ _ _ _ _ _ _ _ _ _ _ _ _ _ _ _ _ _ _ _ _ _ _ _ _ _ _ _ _ _ _ _ _ _ _ _ _ _ _ _

RECORTE ESTE CUPON y envíelo a:
Sección de Distribución y Venta
FAO - Via delle Terme di Caracalla
00100 Roma - Italia

o a cualquiera de los agentes de venta que aparecen en la lista del interior de la contratapa

Nombre: _______________________ Dirección: _______________________
Ocupación: _______________ Ciudad: _____________ País: ______________

Deseo suscribirme a unasylva por un periodo de un año ($ 8,00*)
Edición solicitada: Español Francés Inglés
Forma de pago: Adjunto cheque Giro bancario Cupones de la Unesco Contra envío de factura
_ _ _ _ _ _ _ _ _ _ _ _ _ _ _ _ _ _ _ _ _ _ _ _ _ _ _ _ _ _ _ _ _ _ _ _ _ _ _ _ _ _ _ _ _ _ _ _ _
_ _ _ _ _ _ _ _ _ _ _ _ _ _ _ _ _ _ _ _ _ _ _ _ _ _ _ _ _ _ _ _ _ _ _ _ _ _ _ _ _ _ _ _ _ _ _ _ _

RECORTE ESTE CUPON y envíelo a:
Sección de Distribución y Venta
FAO - Via delle Terme di Caracalla
00100 Roma - Italia

o a cualquiera de los agentes de venta que aparecen en la lista del interior de la contratapa

Nombre: _______________________ Dirección: _______________________
Ocupación: _______________ Ciudad: _____________ País: ______________

Deseo suscribirme a unasylva por un periodo de un año ($ 8,00*)
Edición solicitada: Español Francés Inglés
Forma de pago: Adjunto cheque Giro bancario Cupones de la Unesco Contra envío de factura
_ _ _ _ _ _ _ _ _ _ _ _ _ _ _ _ _ _ _ _ _ _ _ _ _ _ _ _ _ _ _ _ _ _ _ _ _ _ _ _ _ _ _ _ _ _ _ _ _

* Para abonar el importe de la suscripción en moneda de su país diríjase al agente local de venta de la FAO.


Página precedente Inicìo de página Página siguiente