Muchos de los problemas para la obtención de buena semilla de Prosopis surgen de las dificultades en la recolección de los frutos. A menudo el trabajo es duro, especialmente si las vainas deben ser cosechadas de los árboles en pie. Además, el período de tiempo durante el cual pueden cosecharse las vainas es relativamente corto. No sorprende, por lo tanto, que los problemas para su obtención impliquen compromisos no deseables sobre la calidad y la proveniencia de la semilla.
Consideraciones que deben tenerse en cuenta en la recolección de los frutos de Prosopis incluyen la selección de las plantas madre, una estimación de la cosecha potencial probable, y la adopción de técnicas adecuadas para la cosecha.
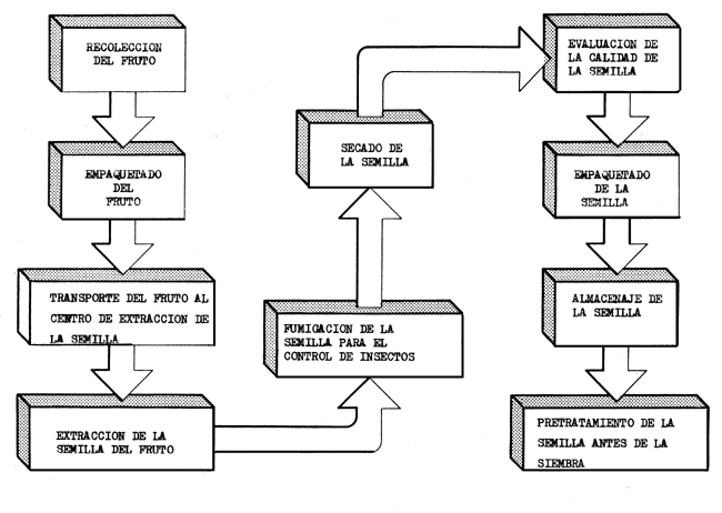
Figura 1. Tareas en la recolección, manipuleo, almacenaje y tratamiento previo de la semilla de Prosopis

Por lo general, los mejores productores de semillas, por ejemplo, los árboles que producen abundantes cosechas con la proporción más baja de semilla estéril, son los árboles dominantes y co-dominantes, por lo común de media edad. La toma de muestras dentro de cada población puede hacerse, sea al azar, sea en forma selectiva. Si bien esta última opción se usa frecuentemente en la toma de muestras dentro de una población para fines de evaluación, debe recordarse que la superficie fenotípica no es una garantía para una superioridad genotípica, especialmente en los casos donde no se conocen los antecedentes históricos de la población. Debería también recordarse que a causa de las interacciones ambientales genotípicas comúnmente presentes en las especies arbóreas, la selección de lo superior para un determinado sitio no significa necesariamente que el material se comportará bien una vez que se lo cultive en otro sitio.
Las recolecciones para fines de conservación deberían idealmente hacerse sólo después de haber determinado la cantidad de esquemas de variaciones intraespecíficas presentes. Tales colecciones, destinadas a mantener con las muestras una máxima diversidad alélica (entre ellas), deberían ser al azar y no selectivas.
Debido a las presiones sobre las poblaciones existentes, la recolección para evaluación y la recolección para conservación deben frecuentemente hacerse al mismo tiempo, imponiendo un compromiso sobre las técnicas de muestreo. Tal es el caso del presente proyecto FAO/CIRF, donde la conservación in situ de muchas de las poblaciones muestreadas no puede ser garantidas durante toda la duración de la etapa de evaluación. En este caso, los países colaboradores han sido invitados a recoger semilla de un mínimo de 25 árboles, distanciados por lo menos 50 metros entre sí para reducir al mínimo las posibilidades de que las plantas madres sean emparentadas. Dado que muchos de los rodales tienen una superficie limitada, estas pautas generalmente no consideran cualquier selección de fenotipos superiores dentro de las poblaciones.
Otra consideración, cuando se seleccionan árboles para la recolección de semillas es la corriente observación de que individuos aislados no producen a menudo una progenie deseable, posiblemente por culpa de las dificultades para la interpolinización derivándose semillas de mismos padres. Estos árboles deberían por lo tanto ser evitados.
Antes de cosechar los frutos, el árbol madre debe ser identificado correctamente. En algunos casos la identificación puede ser fácil, pero cuando crecen juntas varias especies diversas del género Prosopis que no se diferencian mucho morfológicamente, pueden presentarse errores de identificación a menos que se tomen cuidados especiales en su identificación.
Desgraciadamente, si se siembra semilla que no ha sido correctamente etiquetada, el error de identificación puede no ser señalado sino años después y puede no llegarse nunca a conocer la razón de un eventual fracaso.
Personal capacitado deberá ser responsable de la identificación de las plantas madre. Asimismo, se recomienda generalmente recoger muestras de herbario o alguna forma de colección de referencia de los frutos y de las semillas en pequeños frascos de vidrio, junto con algunas hojas, flores y una muestra de la corteza, para cada especie arbórea.
Las semillas deberán ser recolectadas de un mínimo de 25 plantas madre y cada una de estas plantas deberá tener una marca permanente. Deberá mantenerse un registro detallado sobre la localidad de la recolección que debe ser anotada sobre un formulario especial para las cosechas que se completará en cada sitio (en el Anexo 1 se muestra un ejemplo de un formulario para la recolección).
Antes de fijar la fecha para la cosecha actual de frutos, deberá, en lo posible, hacerse una estimación de la magnitud probable de la cosecha de semillas. Uno o dos meses antes de la recolección, los frutos deberían ser contados sobre un cierto número de árboles muestra que crecen en diferentes localidades dentro de la zona de recolección. Usando como base los resultados de estos recuentos, se marcarán los árboles cuyo fruto será recolectado. Más tarde se cosecharán los frutos solamente de los árboles marcados.
Por lo general, las especies del género Prosopis semillan cada año. Un determinado año cuando la producción de semilla es abundante viene denominado “año semillero”. Un año semillero es raramente un acontecimiento regional para una especie arbórea, ya que generalmente se limita a pocas localidades dentro de la región. Frecuentemente, en un año semillero se cosecha más semilla de lo que se necesita para la siembra para la plantación sucesiva; en estos casos, el excedente debería almacenarse para su empleo en los años deficientes.
Los frutos maduros de Prosopis, o sea, vainas que son por lo general de color amarillento y parcialmente secas, pueden ser arrancadas directamente de un árbol en pie o recogidos del suelo.
Cuando son arrancados directamente de los árboles en pie, y si los árboles y sus ramas son bajos, vecinos al suelo, los frutos prendidos de las ramas pueden ser quitados manualmente por los cosecheros desde el suelo. Para árboles más grandes, pueden usarse varas, pero con cuidado, golpeando las ramas para que el fruto caiga. Se usan también con frecuencia postes largos con tijeras, sierra, o ganchos de diversos perfiles, fijados en una extremidad, para arrancar los frutos de las ramas más altas. Estos postes son de diversos largos, con varas de bambú, plásticas o de aluminio preferentemente de 4 a 6 metros de largo. Usando estos postes, el cosechero, operando desde el suelo, puede hacer caer frutos de ramas a siete-ocho metros. Los árboles que son demasiado altos para ser cosechados con el empleo de varas deberán ser trepados. Sin embargo, para este trabajo será necesario personal entrenado y equipo adaptado, o sea, escaleras, ganchos para trepar y cinturones de seguridad.
Cuando se cosecha desde el suelo, la fruta deberá ser recogida por lo menos diariamente, a medida que cae. Estas recolecciones pueden resultar más eficientes al extenderse grandes piezas de género, alfombras, hojas plásticas o arpilleras, debajo de los árboles para recoger los frutos a medida que caen. Si ello no es posible, deberá limpiarse el suelo quitando las hojas, ramas y la vegetación que crece al pie para facilitar la recolección y reducir al mínimo las impurezas entre los frutos recogidos. Los frutos deben ser recogidos apenas caen, puesto que de otra forma podrían ser atacados por los insectos.
Una ventaja de arrancar los frutos directamente de los árboles en pie, con respecto a recogerlos del suelo, es la seguridad de que las semillas cosechadas vienen todas del árbol madre deseado.
Cada muestra recogida deberá ser meticulosamente etiquetada, tanto afuera como adentro de la bolsa o envase. Sobre las etiquetas deberá como mínimo ponerse la siguiente información:
| Número de la partida o lote de semillas: | |
| Especie y proveniencia: | Nombre |
| Colección: | Fecha y Localidad |
| Nombre del recolector: |
Para una información más detallada, véase el Anexo 1.