by
Umpol Pongsuwana, Azmi bin Abdul Rahman and Ramli bin Khamis
Puset Penyelidik Ternakan Air Payau, Gelang Patah, Johor
| ABSTRACT |
| Routine samples were taken over a 2 ½ year period to determine seasonal abundance and numbers of wild fry which could be used for aquaculture. Sampling was done with a seine during daylight on the low tide. Methods of seining, transport of fish fry and environmental characteristics of the site are described. The only species occurring in numbers efficient to support large scale aquaculture were Siganus canaliculatus and S. guttatus. S. guttatus and Lutjanus johni, species not now being used for aquaculture in any numbers, had good growth and survival in the station's acid sulphate ponds. Both are recommended for further experiments. S. canaliculatus had poor survival in the ponds, but might be suitable for culture in floating cages. |
In fish culture, one of the most important factors is the supply of fish seed. The development of large-scale fish culture requires a constant and abundant supply of fish seed. For a successful operation, the amount of seed available must be related to the size of the areas where fish culture will be developed. Without an adequate seed supply, fish culture operations cannot operate economically.
There are two sources of seed supply for fish culture operations: (1) seed collected in a spawning area, or fry collected in areas where they are available during particular seasons; and (2) seed supplied by a hatchery where they are produced and reared to the size needed for culturing in ponds and cages.
In Malaysia approximately 150 000 ha of mangrove swamps are being considered for development as brackishwater fish ponds (Labon, 1974) and many relatively shallow lagoons and protected bays suitable for cage and raft culture. There are plans to develop and utilize 2 000 ha for finfish pond culture and 30 ha (15 000 cages) for cage culture by 1985 (Aquaculture Development Master Plan for 1981–1990).
The brackishwater and marine food fish species which are used in fish culture in the country are given in Table 1.
Table 1
BRACKISHWATER AND MARINE FISH WHICH ARE USED FOR FISH CULTURE
| Scientific name | Common name | |
| Malay | English | |
| Alectis indicus | Chermin, Sagai | Threadfin trevally |
| *Eleutheronema tetradactylum | Senangin | Threadfin |
| Epinephelus moara | Kerapu batu | Grouper |
| E. sexfasciatus | Kerapu | Coral cod |
| *E. tauvina | Kerapu | Estuarine grouper |
| *Gnathodon speciosus | Gerong gerong | Golden trevally |
| Johnius pacificus | Gelama Hitam | Croaker |
| *Lates calcarifer | Siakap | Seabass |
| Lutjanus argentimaculatus | Ikan Marah | Red snapper |
| *L. johni | Jenahak | Golden striped snapper |
| L. malabaricus | Mera matahitam | Red snapper |
| L. russelli | Ikan Tanda | Russelli's snapper |
| *L. sanguineus | Merah suman | Red snapper |
| Polynemus indicus | Kurau | Threadfin |
| Pomadasys hasta | Gerut gerut | Silver grunter |
| Plectropomus leopardus | Kerapu bara | Spotted coral trout |
| *Siganus canaliculatus | Dengkis | Rabbitfish |
| S. guttatus | Debam | Rabbitfish |
| S. javus | Dengkis | Streaked rabbitfish |
Most of these species are commonly found in cage culture operations in the Johor straits and adjacent water areas.
At present, most fish fry used in aquaculture are those collected from the wild. Hatcheries for the giant sea perch, Lates calcarifer, are only just being established in the northern part of the country. For some species, particularly the estuarine grouper, Epinephelus tauvina, hatchery technology for mass production is still not sufficiently developed (Ong, 1983).
The gear and methods used for collecting fish fry in natural waters vary from place to place. Both movable and stationary types of gear are used, Movable types of gear used commonly in Malaysia are seine net, cast net, gillnet and push net. Stationary wire traps and large palisade fish traps (kelong) are also widely used. Different types of gear are used in different areas, depending upon the depth of water and the condition of the bottom. Fry are collected from the shore line, reef flat, grass flat, the mouths of rivers, and in estuarine areas with gear appropriate for the particular location.
In order to ensure that there are sufficient fry to support development it would be useful if more fry could be caught from the wild.
This study was in fact undertaken to assess the abundance and seasonability of suitable species in Tanjong Adang, Johor.
The seed collection survey was conducted in Tanjong Adang from August 1981 to August 1983. The gear used for sampling was a seine net. Routine sampling was done once a month from August 1981 until January 1982, and twice a month from February 1982 until August 1983. Seining was done during the day on the low tide, when water levels were between 0.8 and 1.2 cm in depth. Six 10-minute hauls were made for each sampling and the catch pooled to obtain a single figure for the day. The following section gives some information on facilities, equipment and methods used in the survey.
Officers, crew and equipment were transported to the seed collection area by wooden boat 6 m long, 1.5 m wide, and 0.5 m deep. The boat was driven by a 40 HP outboard motor and a spare engine with a longshaft propeller (a Thai style longtail boat engine) was also available.
The gear used for seed collection was seine net or “pukat kisa” (Figures 1, 2, 3). The gear was selected because it is typical of fish fry collection nets used by commercial fishermen in the area. The body of the net is elongated, with a short bag and codend at the centre of the net. This gear is about 35 m long, 2.5 m deep, and the bag and codend is about 3.0 m long. The net was hung at the headrope by floats attached every 10 cm and was stretched down to the bottom by lead weights placed at 25 cm intervals along the footrope. The headrope and the footrope are joined together at each end of the gear to form a bridle. In operation the net is spread open vertically by means of a pole attached to each end of the net. A tow rope is attached to the bridle.
The materials used for the construction of the seine net are as follows:
| Part | Material | Size |
| Body wing | Polyethylene net | 12 ply, 17.5 mm |
| Bag and codend | Polyethylene net | 9 ply, 1.0 mm |
| Head rope | Nylon | Æ 7 mm |
| Float line | Nylon | Æ 5 mm |
| Foot rope | Nylon | Æ 5 mm |
| Weight rope | Abaca | Æ 25 mm |
| Float | Foam | Æ 35 mm and 55 mm long |
| Weight | Lead sheet | 5 × 20 mm |
One person is needed for holding each pole to keep the gear vertically opened during dragging. One or two persons are required for each tow rope. To ensure that the seed caught do not die, the net is pulled for only 10 min once it is fully open. When the time is up, both ends of the net are brought close together to trap the fish inside. Two persons are required to hold the footrope down as the enclosure is made smaller, one inside and one outside the enclosure. Another two persons have to pull up the net slowly above the water surface to ensure the seed do not escape. The net is pulled up in this manner until the codend is reached. Sorting out the seed needed and releasing the unwanted fish is the next stage. The selected fish seed are placed in a small temporary cage.
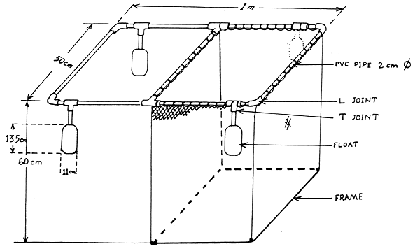
It is imperative to provide temporary cages for the collected fish seed during the process of seed collection. As the seawater can pass through the cage net, the oxygen dissolved in natural water is sufficient for the fish's respiration; and the survival rate is usually 100% in temporary cages. During the fish fry collection survey, two small temporary cages were used (Figure 4). The size of the cage is 50 cm long, 50 cm wide and 60 cm deep. The two cages are hung on a frame made from 2 cm diameter PVC piping with elbow (“L”) joints at the corners tee (“T”) joints for the divider and float supports. The net used in the temporary cage was made of 12-ply polyethylene rope and 1 cm mesh size. The net had approximately a 50% hanging ratio. A float with a short PVC pipe about 20 cm is fixed to the “T” joint at the longer side of the frame at each end; that is, four floats, 13.5 cm long and 11.0 cm in diameter, are used.
Water temperature, pH, salinity, and dissolved oxygen were determined from a sample taken just before seining began. Methods of analysis were as follows:
Temperature of water was checked by the ordinary thermometer
pH of water was determined by taking a water sample from the area to check at the laboratory by Lovibond 100 Discs Comparator
Salinity was checked by refractometer after taking the water sample to the laboratory
Dissolved oxygen determination was also checked and analysed at the laboratory by standard Winkler method after fixing with manganous sulphate and potassium iodide at the area of sampling.
Two methods were used for transportation of fish seed from the area of operation to the ponds of Pusat Penyelidik Ternakan Air Payau, Gelang Patah (the Pusat). Fish seed are transported by boat from the collection area to the Pusat, a trip of about 1½ hours.
Plastic bags (7.5 × 11 cm) with water and oxygen were used for transportation of fish seed. Usually, two plastic bags were used, one inside the other, as added insurance against leakage. The plastic bags were first filled with clean seawater to about a quarter or a third of the bag. Fish seed were then introduced, and the bag was collapsed to push out the air and held closed. Then a plastic tube which was connected to an oxygen cylinder was introduced into the bag and the end of the tube was placed under the water surface. The oxygen tank was turned on and oxygen was allowed to flow into the collapsed bag until the bag expanded and filled again. The tube was removed carefully and the bag tied off with rubber bands, ensuring that the oxygen did not escape. The completely filled bags contain one part water and 3 to 4 parts of oxygen by volume.
The number of fish seed transported in each plastic bag depends upon the total number of seed collected and their size. If the fish seed are large, only a few are placed in each bag; if the seed are very small, many are placed in each bag. When the temperature was very hot, the temperature of water in the plastic bags was reduced by putting crushed ice near the bag.
Fish seed were also transported in fibreglass tanks. The tank was 65 cm in width, 90 cm in length, and 36 cm in depth (Figure 5). This tank was filled to about three quarters of the volume with seawater. During transportation by fibreglass tank it was necessary to change the water. Rather than using a pump, the renewal water was let in by attaching a 6 cm diameter funnel to a length of rubber tube of 2 cm diameter. The funnel was placed in the water alongside of the boat with the opening pointing forward. As the boat moved forward, the high pressure of the current caused the water to enter the tank through this rubber tube. Water level in the tank was maintained by regulating the flow of water out of the tank.
The survey site was on the eastern side of Tanjang Adang, about 2 km from the mouth of the Pulai River, Johor (Figure 6). This area is approximately 14 km by boat on the Pulai River from the town of Gelang Patah.
Along the inland coastline of the area, mangrove trees such as Avicennia sp., Sonneratia sp., and Rhizophora sp., can be found covering the coastline. This area is also a part of the intertidal zone. Organic matter from decaying vegetation is present under and adjacent to the mangrove trees. The width of mangrove area is between 10 and 20 m.
The area adjacent to the mangrove and extending 200 to 300 m offshore is intertidal. It consists mostly of mud flats and is barely accessible as it is so soft. The area where the survey was usually carried out was between 300 and 500 m offshore from the mangrove area. The bottom soil is sandy mud mixed with broken mollusc shells, a much firmer soil and easily accessible. The aquatic vegetation found in this area plays a vital role in providing shelter and protection for fish seed as well as a source of food. A kind of seaweed known as “eel grass”, Enhalus spp., grows abundantly and other seaweed, such as Padina sp., Jadina sp., and Sargassum sp. could also be found.
Climatic conditions of the site are similar to the general climate all around Malaysia, which is tropical, humid and monsoonal. Heavy rainfall may occur at any time of the year and there are dry spells of typically short duration. There are two monsoonal and transitional inter-monsoonal seasons in a year. The northeast monsoon prevails from November to February/March followed by an inter-monsoonal season in April-May. The southwest monsoon from late May to September is followed by a transitional period in October and early November (Dale, 1959).
Monthly rainfall data are presented in Figure 7. These were collected by the Irrigation Department at Ladang Sungai Pendas (JOH 247), Gelang Patah, Johor, located about 8 km from the survey site. The data cover the period from January 1981 (or six months before seed collection surveying began) to the end of August 1983.
The rainfall in January 1981 and 1982 was low, gradually increasing in February to April. In May the rainfall gradually reduced down to a low point in June. In 1983 the rainfall was lowest in February-March, and gradually increased in April-May. For the later months, June of 1981 and 1983, the rainfall rose highest in July and fell again in August. The monthly rainfall pattern is irregular. Wet or dry periods may deviate one or two months later or earlier than the average.
The results of checking temperature, pH, salinity and dissolved oxygen from August 1981 to August 1983 are as follows:
Surface temperature varied between 22.5 and 32.0°C
pH 7.4–8.5
Salinity 24.0–34.0‰
Dissolved oxygen 4.3–7.5 ppm.
No correlation was found between any of the measured water quality parameters and abundance of fry.
Many species of fish are found in the area. Of these eight species were designated as economically suitable for fish culture. Specimens of these species were taken to the laboratory for measuring and weighing and for sampling the various sizes. During the first six months of sampling only L. johni were recorded, but later other species were also checked. The results of sampling for each species as shown in Tables 2 and 3 is summarized below. Comments regarding the suitability of each species for aquaculture are also included.
This species was found in large numbers only during 1981. Small sizes (3.1 cm) were found in August when sampling started and the average size increased monthly, exceeding 11 cm in February. In 1982 and 1983 only a few fish were captured. In these years the smallest fish were encountered in July.
In an experiment on pond culture with this species at the Pusat Penyelidik Ternakan Air Payau, Gelang Patah (1981), a total number of 232 fingerlings of 4.3 g average weight were stocked in 0.25 ha pond. After 252 days of culture, the fish were harvested. The final average weight was 170.3 g with the survival rate of 82.3%. About 25% of fish attained a weight of more than 250 g.
An additional observation was made as to the suitability of this fish for culture when a 1 ha pond which had not been stocked was drained in June 1982. Water had been renewed regularly in order to reduce acidity, but no other management had been practised. About 300 wild stock fish varying in weight from 60.5 to 434.7 g with an average weight of 127 g were caught.
This species was taken only in small numbers. The smallest size (5.9 cm) occurred in April. According to the fish cage culture farmers, this fish grows rather slowly in cages.
This species was taken from March to July, but never in large numbers. Total length varied from 8 to 18 cm. Fry smaller than this were not captured.
Chua and Teng (1977) mentioned that the young E. tauvina are abundant during the wet season between September and January in the northwest of Peninsular Malaysia and the Middle Bank in the Strait of Penang.
Table 2
ABUNDANCE OF 5 SPECIES OF FISH AT TANJONG ADANG: AUGUST 1981-AUGUST 1983 (No = TOTAL FROM SIX 10 min SEINE HAULS, TL = AVERAGE TOTAL LENGTH IN cm)
| Date | L. johni | L. russelli | E. tauvina | E. sexfasciatus | G. speciosus | Total | |||||
| No. | TL | No. | TL | No. | TL | No. | TL | No. | TL | ||
| 25.8.81 | 300 | 3.1 | NOT RECORDED | 300 | |||||||
| 8.9.81 | 225 | 5.1 | 225 | ||||||||
| 27.9.81 | 139 | 7.9 | 139 | ||||||||
| 24.10.81 | 126 | 7.5 | 126 | ||||||||
| 22.11.81 | 75 | 7.6 | 75 | ||||||||
| 23.12.81 | 33 | 8.7 | 33 | ||||||||
| 20.1.82 | 36 | 9.7 | 36 | ||||||||
| 3.2.82 | 114 | 10.5 | 114 | ||||||||
| 17.2.82 | 23 | 11.3 | 23 | ||||||||
| 6.3.82 | 3 | 11.0 | 3 | ||||||||
| 20.3.82 | 2 | 12.0 | - | - | 13 | 8.5 | 5 | 6.5 | - | - | 20 |
| 3.4.82 | - | - | - | - | 18 | 9.7 | 8 | 8.6 | - | - | 26 |
| 16.4.82 | - | - | 5 | 7.8 | 17 | 10.5 | 6 | 9.5 | - | - | 28 |
| 3.5.82 | 5 | 13.2 | - | - | 11 | 11.3 | 8 | 10.2 | - | - | 24 |
| 17.5.82 | 1 | 20.0 | - | - | 5 | 15.5 | 2 | 10.7 | - | - | 8 |
| 6.6.82 | 4 | 10.7 | - | - | 4 | 11.4 | 15 | 14.4 | - | - | 23 |
| 16.6.82 | 2 | 7.9 | - | - | 5 | 15.6 | 4 | 13.2 | - | - | 11 |
| 3.7.82 | 30 | 3.9 | - | - | - | - | - | - | - | - | 30 |
| 18.7.82 | 2 | 6.2 | - | - | - | - | 1 | 13.8 | - | - | 3 |
| 1.6.82 | 7 | 7.9 | - | - | 2 | 17.1 | - | - | - | - | 9 |
| 15.8.82 | 4 | 10.6 | 3 | 12.8 | 3 | 18.8 | 1 | 17.6 | - | - | 11 |
| 1.9.82 | 1 | 15.8 | - | - | 1 | 5.2 | - | - | - | - | 2 |
| 14.9.82 | 2 | 9.9 | - | - | - | - | - | - | - | - | 2 |
| 12.10.82 | - | - | - | - | - | - | - | - | - | - | 0 |
| 26.10.82 | 14 | 5.5 | - | - | - | - | - | - | - | - | 14 |
| 10.11.82 | 10 | 7.6 | - | - | 2 | 14.6 | - | - | - | - | 12 |
| 28.11.82 | 4 | 11.2 | - | - | - | - | - | - | - | - | 4 |
| 11.12.82 | 3 | 15.5 | - | - | - | - | 1 | 22.5 | - | - | 4 |
| 27.12.82 | 2 | 13.5 | 3 | 9.0 | 1 | 15.0 | - | - | - | - | 6 |
| 8.1.83 | 7 | 11.9 | - | - | - | - | - | - | - | - | 7 |
| 25.1.83 | - | - | - | - | - | - | - | - | - | - | 0 |
| 8.2.83 | - | - | - | - | - | - | - | - | 5 | 3.8 | 5 |
| 23.2.83 | 1 | 13.2 | 1 | 12.5 | - | - | - | - | 4 | 5.4 | 6 |
| 8.3.83 | - | - | - | - | - | - | - | - | 2 | 4.9 | 2 |
| 22.3.83 | - | - | - | - | - | - | - | - | - | - | 0 |
| 5.4.83 | 1 | 18.6 | 9 | 5.9 | - | - | - | - | 4 | 5.8 | 14 |
| 23.4.83 | - | - | 3 | 8.5 | 1 | 8.6 | - | - | 23 | 5.6 | 27 |
| 7.5.83 | 2 | 8.9 | 6 | 8.6 | - | - | - | - | 2 | 6.5 | 10 |
| 22.5.83 | 1 | 8.3 | 2 | 9.7 | 1 | 15.5 | - | - | - | - | 4 |
| 5.6.83 | - | - | 2 | 10.5 | 2 | 15.2 | - | - | - | - | 4 |
| 18.6.83 | - | - | - | - | - | - | - | - | - | - | 0 |
| 6.7.83 | 1 | 8.7 | - | - | - | - | - | - | - | - | 1 |
| 20.7.83 | 4 | 4.3 | - | - | - | - | - | - | - | - | 4 |
| 3.8.83 | 2 | 6.1 | - | - | - | - | - | - | - | - | 2 |
| 17.8.83 | 3 | 6.1 | - | - | - | - | - | - | - | - | 3 |
Table 3
OCCURRENCE OF SIGANUS SP. DURING 1982 AND 1983
| Date | S. canaliculatus | S. guttatus | S. javus | |||
| 1982 | No. | TL | No. | TL | No. | TL |
| 6 March | 1 350 | 4.1 | - | - | - | - |
| 20 March | 320 | 6.5 | - | - | - | - |
| 3 April | 1 112 | 4.1 | - | - | - | - |
| 18 April | 238 | 7.8 | 6 | 4.2 | 3 | 4.7 |
| 3 May | 150 | 4.4 | 26 | 3.4 | - | - |
| 17 May | 154 | 7.2 | 9 | 4.5 | 4 | 4.8 |
| 6 June | 80 | 11.6 | - | - | - | - |
| 16 June | 4 | 11.8 | 6 | 11.9 | - | - |
| 1983 | ||||||
| 8 February | 2 | 4.1 | - | - | - | - |
| 23 February | 45 | 2.8 | - | - | - | - |
| 8 March | 106 | 5.4 | - | - | - | - |
| 22 March | 616 | 3.2 | - | - | - | - |
| 5 April | 288 | 4.8 | 9 | 3.7 | 4 | 4.2 |
| 23 April | 31 | 8.3 | 1 836 | 3.3 | - | - |
| 7 May | 15 | 9.9 | 443 | 4.8 | 16 | 5.8 |
| 22 May | 7 | 10.9 | 88 | 6.3 | - | - |
| 5 June | - | - | 70 | 7.2 | 2 | 10.3 |
| 18 June | 10 | 11.8 | 9 | 7.3 | 2 | 11.4 |
| 6 July | 3 | 13.2 | 11 | 10.6 | - | - |
| 20 July | - | - | 3 | 10.4 | - | - |
| 3 August | - | - | 6 | 11.5 | - | - |
| 17 August | - | - | 2 | 2.4 | - | - |
(No = total from six 10-min seine hauls, TL = total length in cm)
In Thailand, Sookawong et al., (1980) reported on distribution and abundance of this species in Klong Sakorm in 1978. Klong Sakorm empties into the sea at Taebhar District, Songkhla Province. The information indicated that the majority of the estuarine grouper fry of 1.5–2.0 cm total length were caught where the salinity was about 1–5 ppt and the larger size of 3.5–5.0 cm were found in 26–30 ppt. Fish fry were collected by making bundles of lure grass or creeping fern (Lygodium flexuosa) about 50 cm in diameter. These bundles were tied with small ropes to wooden posts along the river. The estuarine grouper, which comes with the tidal current, seeks attachment to the bundles of grass or creeping fern. Collection of the fish fry is done by hand scoop net. It was found that the season of abundance was from January to April.
This fish was found from March to July, as for E. tauvina, but was found only in 1982. No fish smaller than 6.5 cm were taken.
The fish appear similar to E. tauvina when young, and it is very hard to recognize if one is not familiar with this species. Local fish farmers claim that this fish grows more slowly than E. tauvina.
This species was found from February to July, but the peak season was March to April when large numbers were caught.
Lam (1974) quotes Soh and Lam (unpublished data) that the juveniles appear during spawning season (peak, March-April). These will grow rapidly to adult size by December, after which the gonads begin to mature rapidly, attaining full maturity by late January or February. Spawning follows until april. Lam (1974) quotes Drew (1971) who observed large numbers of juveniles of this species in March-April in Palau, which would put the spawning season closer to those in Singapore and the Philippines. Chua and Teng (1977) quote Bardach (1976); Lam (1974) that the rabbitfish are lunar cycle spawners and exhibit lunar spawning rhythm. The fry are, therefore, available for an intermittent period of one lunar cycle.
During the Chinese New Year, the market price in Singapore of this fish increased by at least twenty-thirtyfold. This is because of Chinese supersitious belief that the rabbitfish is a symbol of good fortune. During this period, most of the rabbitfish caught contain running roe, the fish taste sweeter and the meat is more tender.
There were three culture experiments with this species in the Pusat ponds (acid sulphate soil pond). In the first trial in 1982, 2 000 fry were stocked in a 0.15 ha pond. After 10 months of culture, the fish were harvested and only 2 fish were left. During the rainy season it was observed that following periods of heavy rain the fish showed signs of distress, swimming at the surface of the pond, and finally dying. In 1983, another trial was carried out, using two ponds of 0.25 ha each. Each pond was stocked with 250 fry of S. canaliculatus together with 450 fry of S. guttatus and 1 000 fry of Lates calcarifer. After a 5-month period, the cultured stock was harvested and the result of survival was 10.8% for S. canaliculatus and 73.3% S. guttatus in one pond, and 9.6% and 91.78% respectively for the second pond. S. canaliculatus grew from an average weight of 7.6 g to 68.0 g in the first pond and from 7.6 g to 56.0 g in the second pond. S. guttatus growth was from an average weight of 0.25 g to 90.8 g in the first pond and from 0.25 g to 105.75 g in the second pond.
Bwathoni (1982) has reported that culture of S. canaliculatus in floating cages in Tanzania's coastal waters has great potential. He states that this species is euryhaline, inhabiting areas where salinity ranges from 23 to 35 ppt. The fish grow faster on a pellet diet than on ordinary seaweeds. He estimated that the fish would reach a marketable size of 20 cm (fork length) within 6 months. It appears that this species has greater potential for culture in floating cages than in acid sulphate ponds.
This species is found from April to July which is later than S. canaliculatus by 1–2 months. S. guttatus was found in large numbers only in 1983; and a relatively small number were caught in 1982. In 1983 this species was also captured in large numbers with a scoop net in the Sungai Gelang Patah adjacent to the Pusat (which is 12 km from the sea), the young fry of 2.1 average total length in size being found at the main gate of the pond area. The fish fry were in a large school feeding on algae along the outside of the gate.
As mentioned earlier, this fish grows faster than S. canaliculatus and had better survival in the Pusat ponds. Another observation on the suitability of this species for culture was made at the Pusat. When harvesting the wild fish in 1 ha pond at the Pusat in June 1982, about 400 S. guttatus, average weight 208.1 g were found.
This species was found from April to July as for S. guttatus but only in small numbers. It occurred with schools of S. guttatus.
This species was found from February to May. It was observed to die easily during transportation to the Pusat in plastic bag containers with sea water and oxygen. This fish also died during holding in small cages in ponds after a few days.
According to the Singapore cage culture farmers, this species is attractive because of its colour (golden, with vertical dark colours across the body). The meat is also tender and sweet which gives the fish a high price on the market.
(1) While a wide variety of species were captured, only two were found in numbers sufficient to serve as a basis for large scale development. Over 1 000 specimens of S. canaliculatus and S. guttatus were captured per day on several occasions. The numbers of S. guttatus varied greatly from year to year. L. johni was the most abundant carnivorous species. During August and September of 1981, 300 to 400 specimens were caught per day. At this level of abundance it should be possible to collect sufficient fry to support some aquaculture, but there was great fluctuation from year to year along with a difference in timing of peak abundance. It would be difficult for farmers to rely on such an erratic supply. Preferred species such as E. tauvina occurred in small numbers and L. calcarifer was not taken at all.
(2) Two species, L. johni and S. guttatus, are recommended as suitable species for further culture experiment in the Pusat ponds. The experiments should be undertaken as soon as the fish fry becomes available. S. canaliculatus had poor survival in the acid sulphate ponds, but it might be suited for culture in floating cages. Cage culture experiments using this species should be conducted elsewhere.
(3) Seine nets were suitable for fry collection near the shore on shallow flats.
(4) Two types of transportation can be used to carry wild fish fry to the inland ponds. Plastic bags with seawater and oxygen are convenient; however, oxygen is costly and may not be available everywhere. The use of rectangular tanks provided with water exchanged by high pressure in the water intake while the boat is running is recommended if the fry are to be transported to any distance.
(5) The present survey did not find large numbers of desirable species like E. tauvina and L. calcarifer. Past surveys in Malaysia waters did not discover numbers sufficient to support greatly expanded aquaculture development either. It appears almost certain that the fish fry requirements for an expanded aquaculture industry must come from hatchery production.
(6) As an interim measure, it is suggested that surveys of wild fry be expanded because:
Abundance of fry varies from year to year as does the timing of peak abundance. It is doubtful if local fishermen would keep sufficiently aware of fry abundance. By monitoring known fry grounds during periods of expected abundance, the occurrence of fry in sufficient numbers would be spotted and fishermen could be alerted. For example, if 300 to 400 L. johni fry are caught per day, it should be possible for fishermen to earn their living. The fish fry caught can be sold to fish farmers for about M$ 0.50 per fry. This means that a team of four fishermen can earn about M$ 150–200 per day. If the cost of operation is about M$ 30–40, each fishermen would receive M$ 20–40 per day.
New fry grounds should be located. It can be seen from research of others that species such as E. tauvina are found in abundance sufficient to make their collection worthwhile in other areas, even though they do not occur in this area. Thus, different species have abundance of fry in different areas. Sampling should be done in more areas to find out where the various economic species are abundant. It may not be necessary to sample all year round. Sampling could be done only during periods when recruitment to the gear selected is expected. Variability in catch from year to year of L. johni and S. guttatus illustrates the importance of sampling over an extended period of time.
Data would be accumulated over time. This might allow methods for prediction to be developed in the future.
(7) It may be useful for technical personnel of the Fisheries Department and other concerned agencies in Malaysia to be given an opportunity to visit Taiwan to observe methods of collecting wild fry which could be used locally.
REFERENCES
Anon: 1982 Aquaculture Development Master Plan for 1981–1990. Institute Support for LKIM Aquaculture Development Project. Kuala Lumpur, Malaysia, Fisheries Development Authority, 133 p.
Anon: 1981–1983 Tide tables Malaysia and Singapore 1981, 1982 and 1983. Singapore, Motion Smith, Marine House
Abbot, I.A. 1978 How to know the sea weeds. Second edition, Wm C. Brown Company Publisher, USA, 141 p.
Bwathoni, P.O.J. 1982 Preliminary investigation on rabbit fish, Siganus canaliculatus, cultivation in Tanzania. Aquaculture, 27(12): 205-10
Chan, W., J. Ho and M. Chin. 1978 Cage culture of marine fish in east coast peninsular Malaysia. SCS/78/WP/69, 66 p.
Chua Tia-Eng and Teng Seng Keh. 1977 Floating fish pen for rearing fishes in coastal waters, reservoirs and mining pools in Malaysia. Malaysia, Ministry of Agriculture, 37 p.
Dale, W.L. 1959 The rainfall of Malaysia. Part 1. Journal of Tropical Geography, (13): 23–37
Labon, A. 1974 Malaysian long-term fisheries development plan until 1995. Rome, FAO, Indo-Pacific Fisheries Council, SCS/DEV/73/10, 90 p.
Lam, T.J. Siganids: their biology and mariculture potential. Aquaculture, 3(4): 325-54
Ong Kah Sin. 1981 Aquaculture development in Malaysia in the eighties. Kertas Kertas Perkembangan Perikana Bilangan 74, 19 p.
Ong Kah Sin. 1983 Development and Management of Aquaculture in Malaysia. Paper presented to the International Conference on Development and Management of Tropical Living Aquatic Resources, 15 p.
Sasekumar, A. 1980 The present state of mangrove ecosystems in southeast Asia and the impact of pollution, Malaysia. SCS/80/WP/94b (Rev.). 80 p.
Scott, J.S. 1959 An introduction to the sea fishes of Malaya. Malaya, Ministry of Agriculture, 180 p.
Sookawong, S., T. Naris, and C. Supoj. 1980 Distribution and abundance of estuarine grouper, Epinephalus tauvina in Klong Sakorm, Taepar District Songkhla Province. 1st Seminar on Brackishwater Fisheries Aug. 1981. Bangkok, Thailand, Brackishwater Fisheries Division, Fisheries Department, 15 p. (in Thai)
Tang, Y.A. 1973 Report on a mission to Malaysia for technical assistance to the government on planning of the establishment of a Brackish-water Aquaculture Experiment and Training Centre, Manila, Philippines. 32 p. (Unpublished)

Figure 1 Seine net used for wild fish collection survey

Figure 2 Frontal view of external parts of seine net

Figure 3 Detail of floats and weights fixed to the seine net

Figure 4 Cage for temporary holding of collected fish fry

Figure 5 Tank with water exchange system for transporting fry by boat

Figure 6 Area of wild fish fry survey at Tanjong Adang

Figure 7 Monthly rainfall at Ladang Sungai Pendas January 1981 to August 1983