The manual for oyster culture in Bangladesh prepared in the previous consultancy (Feb. 19 – June 18, 1983) has been revised to integrate the present observation and findings. The manual had been attached as Appendix II. It is intended to be as guide for use of prospective oyster culturist in Bangladesh.
Ahmed, A. T & Islam, Md. R. (1978) A Preliminary Report on the Molluscan Fauna of the Bay of Bengal, Journal of the Asiatic Society of Bangladesh Vol III No. II pp 59–82
Alagarswami, K & Qasim S. Z (1973) Pearl Culture-Its Potential and Implications in India, Indian J. Fisheries Vol. 2 No. II pp. 533–550
Andreu, B. (1968) The Importance and Possibilities of Mussel Culture, Ins. of Fish. Research, Barcelona, Spain, Working Paper 18 p.
Anon. (1977) The Philippines Recommends fort Mussel and Oyster, Philippine Council for Agri. & Resources Research, Los Banos, Laguna Philippines pp. 1–42
Anon. (1984) Tide Table, Dept. of Hydrology, BIWTA Dhaka, Part I pp. 16–19
Anon. (1965) Study on Pink Pearl - Bangladesh Small & Cottage Indus. Corp., Dhaka 79 p.
Choucheunchob. P. et.al. (1980) Hanging Culture of Green Mussels, Mytilus smaragdinus in Thailand, ICLARM, Manila, Philippines, 14 p.
Cushing, D.H. (1971) Survey of Resources of the Indian Ocean & Indonesian Area, IPFC/DEV.!71!2 FAO pp. 82–83
Dix, T. (1977) Life Histories of Bivalve Molluscs Larvae, Australian Fisheries
Furfari, S.A. (1976) Shellfish Purification, FAO Tech. Con. on Agricultue, Kyoto, Japan 16 p.
Hornel, S. (1951) Indian Molluscs, The Bambay Natural History Society Society, Diocesan Press, Madras pp. 3–74
Islam, M.F. (1970) Nowratan (Pearls of Bangladesh) Dhaka, Bangladesh pp. 1–26
Jhingran, U, G. (1982) Fish and Shellfisheries of India, Hindustan Publishing Corp. New Delhi pp. 601–603
Loosanoff, U.L, etal (1966) Dimension and Shapes of Larvae of Some Marine Bivalve Mollusks, Malacologia pp 351–455
Korringa, P. (1976) Farming of the Cupped Oyster of the Genus Crassostrea, Elsevier Sc. Pub. Co NY p. 1–123
Korringa, P. (1976) Farming of Flat Oysters of the Genus Ostrea Elsevier Sc. Pub. Co. New York P. 1–160
Mahadevan, S. etal. Oyster Farming - Technical Extension Series No. 26, Cochin, India 1980 3 p.
Pagcatipunan, R. (1971) Pearl Culture in the Philippines, IPFC, Bangkok FAO
Pageatipunan, R. (1970) Bay Mussel Fisheries of the Philippines, Fisheries Newsletter, Manila, Philippines April-June Issue
Pagcatipunan, R. (1981) A Preliminary Survey of the Development Potential of Shellfish Farming in Indonesia, FAO Report 54 p.
Panthansali, D. (1964) Notes on Biology of Cokle, Anadara granosa L. IPFC II pp. 8494
Preston, H. B. (1915) The Fauna of British India, Mollusca Taylor & Francis, Calcutta, pp. 132–230
Quayle, D.B. (1980) Tropical Oysters - Culture and Methods IDRC Othawa Canada, 80 p.
Rao, K. s. (1974) Edible Bivalves-Mussels and Oyster, The Commercial Molluscs of India Bull. of MFRI Cochin India No. 25 pp. 84–105
Rashid, H. (1977) Geography of Bangladesh-Fisheries, Univ. Press Ltd. Bangladesh pp. 272–275
Satyamurti, S, T (1960) The Land and Freshwater Mollusca in the Collection of Madras Gov't. Museum, Nat. History Sec. Vol VI No. 4 pp. 12, 143–160
Shadat, A. & Momtaz, B. (1976)-Freshwater Molluscs of Dacca (Bangladesh) with Notes on their Ecology, J. of the Asiatic Soc. pp 29–36
Storer, T. & Usinger, R. (1965) General Zoology, Mc Grew-Hill Book Co. New York, pp 414–421
The author wishes to express his profound gratitude to all the Officials of the Fisheries and Livestock Division of the Ministry of Agriculture, the Directorate of Fisheries and the FAO/UNDP Offices in Bangladesh, for all the assistance received. He thanks particularly Dr. M. Youssouf Ali, Secretary of Ministry of Fisheries (retired) for his personal interest on the project, to Dr. M. Mohsin Ali (transfered) Mr. M. Sahidullah, Mr. Ataur Rahman, Messrs. Masud Ahmed, Momtaz R. Begum, Momtaz P. Begum, M. Ismael, Ali Azam Khan, Manmatha Nath Sarker and Fokhrul alam for the cooperation and counterpart support. He also thank, Prof. P.C. George Project Manager and the staff of FAO Fishery Advisory Services Project for extension of facilities for work and for the benefit of discussion and overall coordination.
Table I
Salinity and Temperature Reading at Cox's Bazar Farm
| Date | Time (hrs) | Salinity (ppt) | Temperature (°C) | |
| Nov. | 11/83 | 922 | 22 | 31 |
| " | 26 | 1511 | 22 | 31.5 |
| " | 30 | 737 | 22.5 | 32 |
| Dec. | 4 | 1040 | 26 | 26 |
| " | 13 | 1715 | 26 | 26.2 |
| " | 18 | 1020 | 30 | 24 |
| " | 26 | 1610 | 26 | 24 |
| Jan. | 1 | 1125 | 28 | 23 |
| " | 11 | 1515 | 30 | 19 |
| " | 22 | 1300 | 30 | 27 |
| Feb. | 2 | 1110 | 30 | 23 |
| " | 19 | 1100 | 31 | 26 |
| Mar. | 11 | 1620 | 28 | 28.5 |
| " | 19 | 1200 | 28 | 29 |
| " | 25 | 1415 | 32 | 30 |
| Apr. | 9 | 1515 | 28 | 33 |
| " | 16 | 1100 | 28 | 30.2 |
| " | 23 | 1420 | 30 | 31 |
| May | 1 | 1030 | 30 | 29.5 |
| " | 7 | 1545 | 32.5 | 20.6 |
| " | 9 | 1050 | 6 | 29.6 low tide |
| " | 14 | 940 | 29 | 27.8 |
| " | 21 | 930 | 12 | 32 |
| " | 27 | 815 | 26 | 30.4 |
| " | 28 | 845 | 26 | 31.2 |
| June | 3 | 1300 | 24 | 28 |
| " | 4 | 815 | 2 | 25.6 low, rain |
| " | 4 | 1215 | 25 | 28 high, rain |
| " | 5 | 810 | 2 | 27.8 low, rain |
| " | 5 | 1615 | 20 | 28.8 rain |
| " | 6 | 950 | 1 | 30.8 low |
| " | 8 | 900 | 2 | 29.6 low |
| " | 13 | 1100 | 30 | 30 |
| " | 17 | 1330 | 2 | 26.2 rain |
| June | 17 | 1330 | 2 | 25.4 rain |
| " | 26 | 1050 | 14 | 28 |
| July | 29 | 1700 | 18 | 31.4 |
| " | 30 | 1130 | 24 | 31.8 |
| Aug. | 6 | 1715 | 0 | 32 rain |
| " | 7 | 700 | 10 | 28.4 |
| " | 13 | 1330 | 20 | 30.2 |
| " | 20 | 1515 | 0 | 30.6 |
| " | 21 | 1200 | 0 | 31 |
| " | 27 | 1045 | 22 | 29 |
Table II
Sizes of Oysters Collected from Sluice Gate
of Shapuri Dwip, Aug. 5 1984
(estimated age - Two (2) years
| Crassostrea gryphoides | C. belcheri | ||
| No. | Size in cm. | No. | Size in cm. |
| 1 | 14.1 | 1 | 11.1 |
| 2 | 13.7 | 2 | 10.6 |
| 3 | 13.4 | 3 | 10.4 |
| 4 | 13.3 | 4 | 10.2 |
| 5 | 12.7 | 5 | 9.4 |
| 6 | 12.4 | 6 | 9.2 |
| 7 | 12.3 | 7 | 9.1 |
| 8 | 12.0 | 8 | 8.9 |
| 9 | 11.7 | 9 | 8.6 |
| 10 | 11.7 | 10 | 7.9 |
| 11 | 11.6 | 11 | 7.9 |
| 12 | 11.4 | 12 | 7.6 |
| 13 | 11.3 | 13 | 7.6 |
| 14 | 11.2 | 14 | 6.7 |
| 15 | 11.2 | 15 | 5.0 |
| 16 | 11.0 | ||
| 17 | 11.0 | ||
| 18 | 10.8 | ||
| 19 | 10.6 | ||
| 20 | 10.5 | ||
| 21 | 10.2 | ||
| 22 | 10.1 | ||
| 23 | 10.0 | ||
| 24 | 9.8 | ||
| 25 | 9.6 | ||
| 26 | 9.4 | ||
| 27 | 0.0 | ||
| 28 | 8.8 | ||
| 29 | 8.7 | ||
| 30 | 8.7 | ||
| 31 | 8.4 | ||
| 32 | 8.0 | ||
| 33 | 7.7 | ||
| 34 | 6.1 | ||
Table III
Size of Oysters from Shell Cultches
Jaliapara, Teknaf
Set Date May-June 1983
Measure Date-June 8/84
| Crassostrea gryphoides | Crassostrea belcheri | |
| No. | Size in Cm | Size in Cm. |
| 1 | 8.77 | 7.9 |
| 2 | 8.72 | 7.69 |
| 3 | 8.95 | 7.25 |
| 4 | 8.56 | 7.2 |
| 5 | 8.24 | 7.16 |
| 6 | 7.96 | 6.6 |
| 7 | 7.66 | 6.2 |
| 8 | 7.64 | 6.17 |
| 9 | 7.58 | 6.15 |
| 10 | 7.52 | 6.11 |
| 11 | 7.49 | 5.54 |
| 12 | 7.46 | |
| 13 | 7.38 | |
| 14 | 7.32 | |
| 15 | 7.06 | |
| 16 | 6.98 | |
| 17 | 6.74 | |
| 19 | 6.5 | |
| 20 | 6.48 | |
| 21 | 6.45 | |
| 22 | 6.36 | |
| 23 | 6.15 | |
| 24 | 6.05 | |
| 25 | 6.0 | |
| 26 | 5.54 | |
| 27 | 6.18 | |
Tab IV
Comparative Spat Attachment at Teknaf
| No. of Cultch | Shell Hangings | Stake Oyster | ||
| Oyster: | Window-pane: | Oyster | ||
| 1 | 7 | 19 | 7 | 13 |
| 2 | 8 | 15 | 11 | 14 |
| 3 | 30 | 14 | 14 | 13 |
| 4 | 13 | 13 | 25 | 16 |
| 5 | 22 | 20 | 9 | 15 |
| 6 | 33 | 18 | 17 | |
| 7 | 21 | 25 | 18 | Set Date June 1–10/83 |
| 8 | - | 8 | 11 | Count Date Nov 15/83 |
Table V
Oyster Spats from Horizontal Hangings
Jaliapara Teknaf
(Date set - Feb 19–21/84)
(Count Date-Apr 23/84)
| Cultch No. | No. of spats | Size of Cultch |
| 1 | 28 | 15.5 × 6.7 |
| 2 | 26 | 10.9 × 9.2 |
| 3 | 16 | 14.8 × 4.3 |
| 4 | 26 | 14.9 × 9.3 |
| 5 | 21 | 12.0 × 8.4 |
| 6 | 23 | 13.4 × 7.1 |
| 7 | 11 | 9.1 × 5.7 |
| 8 | 33 | 13.9 × 7.8 |
| 9 | 16 | 9.9 × 6.4 |
| 10 | 19 | 11.8 × 6.9 |
| 11 | 17 | 12.3 × 5.1 |
| 12 | 29 | 14.3 × 7.3 |
| 13 | 12 | 8.5 × 5.7 |
| 14 | 38 | 19.8 × 8.0 |
| 15 | 24 | 12.9 × 62 |
Table VI
Size of Oysters from Shell Cultches
Cox's Bazar
Set Date- Mar. 30, 1983
Measure Date-Jun. 9, 1984
| Crassostrea gryphoides | Crassostrea belcheri | |
| No. | Size in Cm. | Size in cm |
| 1 | 11.3 | 9.44 |
| 2 | 11.0 | 8.45 |
| 3 | 10.76 | 8.45 |
| 4 | 10.62 | 8.23 |
| 5 | 10.10 | 8.19 |
| 6 | 9.55 | 7.86 |
| 7 | 9.53 | 7.57 |
| 8 | 9.3 | 7.36 |
| 9 | 9.16 | 7.11 |
| 10 | 9.1 | |
| 11 | 8.9 | |
| 12 | 8.63 | |
| 13 | 8.4 | |
| 14 | 8.34 | |
| 15 | 8.18 | |
| 16 | 7.64 | |
| 17 | 7.60 | |
| 18 | 7.42 | |
| 19 | 7.40 | |
| 20 | 6.88 | |
| 21 | 6.84 | |
| 22 | 6.80 | |
| 23 | 6.69 | |
| 24 | 6.05 | |
Table VII
Oyster Spats from Horizontal Hangings
Cox's Bazar Farm
Setting Date Dec. 11,1983
Counting Date Apr. 29,1984
| No of Cultch | No. of Spats | Size of Cultch |
| 1 | 17 | 11.9 × 8.1 cm. |
| 2 | 15 | 7.8 × 5.3 |
| 3 | 18 | 7.7 × 6.1 |
| 4 | 21 | 10.6 × 6.0 |
| 5 | 21 | 12.0 × 5.7 |
| 6 | 23 | 7.0 × 4.6 |
| 7 | 2 | 8.8 × 5.3 |
| 8 | 25 | 11.0 × 7.3 |
| 9 | 10 | 9.5 × 6.0 |
| 10 | 11 | 11.1 × 8.1 |
| 11 | 19 | 10.2 × 8.4 |
| 12 | 6 | 7.7 × 6.0 |
| 13 | 24 | 12.0 × 7.7 |
| 14 | 19 | 11.6 × 7.6 |
Table VIII
Bricks at Cox Bazar
Counting Date Apr 29/84
Setting date Dec 6/83
| Brick No. | No. of spats |
| 1 | 45 |
| 2 | 75 |
| 3 | 55 |
| 4 | 37 |
| 5 | 61 |
| 6 | 83 |
| 7 | 79 |
| 8 | 49 |
Table IX
Observation ofn Spat Attachment
| Date Set | Location | Kind of Cultch | No.of Pcs. | Observation |
| Dec. 4–6 1983 | Cox's | Bricks | 1,000 | Resetting, silted, run over by boat / Spats collected minimal as bricks unclean & silted |
| Dec. 10 1983 | Cox's | Bamboo Plot | 1 set 2 × 5 m | inspected Dec. 30/83, spat attached minimal |
| Dec. 11–15 1983 | Cox | Hanging cultch | 60 | transfered from old plot inspection Dec30/new spats attached to cultch and growing oysters |
| Dec 13/83 | Cox's | Plot | 1 2 × 5 m | some spats attached to bamboos, minimal |
| Feb.18/84 | Tekaaf | concrete posts | 4 pcs | 2 at canal, no spat attach due to algae fouling 2 set near bamboo plot few attachment (1/4/84) |
| Feb 19–21 1984 | Teknaf | shell hanging | 20 | good attachment observed on 3/5/84 |
| Feb 22/84 | Cox's | shell hanging | 60 | Transfered from old plot recovered/dropped to bottom-minimal attached to cultch/live oyster |
| March 30/31 1984 | Cox's | bamboo plot | 1 set | minimal attachment to bamboo |
| Apr.1/84 | Teknaf | concrete posts | 5 set | 1 at canal fouled by algae 4 have good attachment 907 spats on 7×33sq.cm. 500 spats on 6×67sq.cm later fouled by barnacles |
| April 2 | Cox's | shell hanging | 23 set | Good attachment |
| May 6 | Cox's | shells | 4 pcs | observed 13/8/84 No. 1 w/76 spats No. 2 w/91 spats No. 3 w/63 spats No. 4 w/69 spats |
| May 21 | Cox's | shells | 2 pcs | No. 1 w 31 spats No. 2 w 35 spats |
| June 4 | Cox's | Shell | 1 pc. | 85 spats (13/8/84 |
| July 8 | Cox's | shell | 1 pc. | 120 spats |
| July 29 | Cox | shell | 2 pcs. | No.1 13 spats No.2 14 spats ( |
| Aug 7 | Cox | oyster shell | 1 | 38 spats |

Fig. 1 Oyster Farm, Cox's Bazar

Fig.2 Map of Spat Collection Site - Jaliapara, Teknaf

Fig. 3 - Bamboo Plot with Vertical Hangings

Fig. 4- Bamboo Plot with Horizontal Hangings

Fig. 5 - Concrete Structure as Cultch

Fig. 6 Bamboo Trey for Oyster Culture

Fig. 7 - Stake

Fig. 8 Salinity - Temperature of Water, Cox's Bazar Oyster Farm

Fig. 9 Prevailing Tide at Cox's Bazar

Fig. 10 Instruments for Pearl Culture
| Nov 5 | Leave Manila for Hongkong |
| Nov 6 | Hongkong-Dhaka |
| Nov. 7–12 | Dhaka |
| Nov 13 | Chittagong |
| Nov 14–19 | Cox's Bazar & Teknaf |
| Nov 20-Dec1 | Dhaka |
| Dec 2–11 | Cox's Bazar & Teknaf |
| Dec 12–13 | Chittagong |
| Dec 14–20 | Cox's Bazar & Teknaf |
| Dec 21–27 | Dhaka |
| Dec 28 | Chittagong |
| Dec 29–Jan 5 | Cox's Bazar & Teknaf |
| Jan 6–12 | Dhaka |
| Jan 13–24 | Cox Bazar & Teknaf |
| Jan 25–29 | Dhaka |
| Jan 30 | Chittagong |
| Jan 31–Feb 23 | Cox Bazar & Tekanf |
| Jan 24–27 | Dhaka |
| Feb 28–Mar2 | Cox's Bazar & Teknaf |
| Mar 3–14 | Dhaka |
| Mar 15 | Maymensing visit |
| Mar 16–19 | Dhaka |
| Mar 20–24 | Mymensingh |
| Mar 25–27 | Dhaka |
| Mar 28–Apr7 | Cox's Bazar & Tekanf |
| Apr 8 | Chittagong |
| Apr 9 | Dhaka |
| Apr 10–15 | Mymensingh |
| Apr 16–17 | Dhaka |
| Apr 18–21 | Chittagong |
| April 22–28 | Dhaka |
| Apr 29 | Chittagong |
| Apr 30–May11 | Cox's Bazar & Tekanf |
| May 12–14 | Dhaka |
| May 15–25 | Mymensingh |
| May 26–29 | Dhaka |
| May 30 | Chittagong |
| May 31–June 10 | Cox's Bazar & Teknaf |
| June 11–13 | Dhaka |
| June 14–22 | Mymensingh |
| June 23–25 | Dhaka |
| June 26–29 | Mymensingh |
| June 30 | Dhaka |
| July 1–4 | Calcutta (Leave) |
| July 5–7 | Dhaka |
| July 8 | Chittagong |
| July 9–17 | Cox's Bazar & Teknaf |
| July 18–20 | Dhaka |
| July 21–27 | Mymensingh |
| July 28–Aug3 | Dhaka |
| Aug 3 | Chittagong |
| Aug 4–13 | Cox's Bazar |
| Aug 14–16 | Dhaka |
| Aug 17–25 | Mymensingh |
| Aug 26–30 | Dhaka |
| Aug 31–Sept10 | Cox's Bazar & Tekanf |
| Sept 11–Oct 4 | Dhaka (Mymensing-Oct 1) |
| Oct 5 | Leave Dhaka for Bangkok |
| Oct 6 | Leave Bangkok for Manila |
| A. | FAO/UNDP Dhaka, Bangladesh | |
| Mr. M. Souma | Director General, FAO | |
| Mr. L. I. J. Silva | Res. Rep. FAO Dhaka | |
| Mr. V. Valeri | Adm. Officer, FAO Dhaka | |
| Prof. P. C. Geroge | Project Manager/Sr. Fish. Advisor BGD 81/034 | |
| Dr. Harold Loesch | Project Manager-BGD 79/015 | |
| Mr. M. Doeff | Proj. Opn. Off. Rome | |
| Dr. John Marr | FAO Consultant, Rome | |
| Dr. P. C. Winsor | FAO Consultant, Rome | |
| Dr. H. Clay | FAO Consultant, Rome | |
| Dr. Gary Melvin | Consultant-Hilsa | |
| Mr. B. Delmendo | Consultant-Fish Cage | |
| Mr. T. White & Team | FAO Marine Fish. Proj. | |
| Mr. Md. Kasem | FAO BOBP, Bangladesh | |
| Mr. Sven-Erik Akerman | FAO BOBP, Madras, India | |
| Mr. R. Ponteras | Pearl Technician | |
| B. | Ministry of Fisheries | |
| Dr. M. Anwar | Secretary | |
| Dr. Youssouf Ali(retired) | Addl. Secretary | |
| C. | Directorate of Fisheries | |
| Mr. A. Q. Chowdhury | Director | |
| Mr. Ataur Rahman | Proj. Director-Mymensingh | |
| Dr, Mohsin Ali (transferred) | Proj. Director-Marine Fish. | |
| Mr. Sahidullah | Dep. Director-Marine Fiish. | |
| Mr. Liaquat Ali | Proj. Dir. Resources Survey | |
| Mr. Kazi Azizul Hoque | Proj. Dir. ADB Project | |
| Mr. Masud Ahmed | SSO/Counterpart-Pearl | |
| Mrs. Momtaz R. Begum | SO/Counterpart-Pearl | |
| Mr. Md. Ismael | SO/Counterpart-Pearl | |
| Mrs. Momtaz P. Begum | SO/Counterpart-Pearl | |
| Mr. Ali Azam Khan | SSO/Counterpart-Oyster | |
| Mr. Manmatha Nath Sarker | SO/Counterpart-Oyster | |
| Mr. Fokhrul Alam | SO/Counterpart-Molluscs | |
| Mr. Zubair Ahmed Chowdhury | SO Cox's Bazar | |
| Mr. MO. Nasi Uddin Sada | SO " " | |
| Mr. Swapan Chandra Paul | SO " " | |
| Mr. Syed Abdul Quayum | Curator - Cox's Bazar | |
| Mr. Qazi Mahbubul Huq | SO Cox's Bazar | |
| Mr. A. H. A. Jalil | Asst. Director | |
| Mr. Giasuddin Khan | SSO Chittagong | |
| Mr. D. O. Gbosh | Upzilla Fish. Off Cox's Bazar | |
| Mr. Abdul Malek | SSO Mymensingh | |
| Mr. Nazrul Islam | SSO Mymensingh | |
| Mr. Kabir Ahmed | Sr. Res. Off. Cox's Bazar | |
| Mr. Nur Mohamed | Res. Off. (Shrimp)Cox's Bazar | |
| Mr. Golam Kibria | Sr. Res. Off. Cox's Bazar | |
| D. | Other Gov't Offices/Foreign Institution | |
| Dr. Abu Tweb Ahmed | Prof. Dhaka University | |
| Dr. Shadat Ali | Prof. Dhaka University | |
| Prof A. Latif Buiya | Prof. Univ. of Chittagong | |
| Mr. Ruhul Amin Chowdhury | Manager, BFDC Cox's Bazar | |
| Mr. Md. Asanullah | Planning Commission | |
| Dr. Nuruzzaman | Fish. Specialist, CIRDAP | |
| Mrs. M. Delmendo | Consultant, Sirdap | |
| Mr. P. J. Strong | Agri. Econ. Consultant-WB | |
| Mr. B. Cabangbang | Consultant - ADB | |
| Mr. L. Angeles | Consultant - ADB | |
| Mr. Ahmed Muneez | Fish. Off. Maldives | |
| Mr. K. Thorne | Proj. Engr. DANIDA Mymensingh | |
| Mrs. Irene Gwite | Proj. Adm. DANIDA Mymensingh | |
| Mr. Eugenio Mendoza | Consulting Engr. Irrigation | |
| E. | Zoological Survey of India - Calcutta | |
| Dr. N. V. Subba Rao | Supt. Zoologist | |
| Mr. K. V. Sunya Rao | Zoologist | |
| Mr. S. Barua | Zoologist | |
Appendix I
GOVERNMENT OF INDIA
| From : | Dr. N. V. Subba Rao, | |
| Superintending Zoologist. | Zoological Survey of India | |
| 8, Lindsay Street, | ||
| Calcutta - 700 087. | ||
| D.O. No. 230-3/80-Mal./ | Dated 3rd July, 1984. |
Dear Dr. Pageatipunan,
With reference to your letter dated 2nd July, 84 requesting for identification of the systers, you will find the identification report of the same as given below.
| Phyium | : | Mollusca |
| Class | : | Bivalvia |
| Order | : | Pterioidea |
| Family | : | Ostreidae |
The identification of the species C. madrasensis is provisional
as it shows some characters of the geaus Ostrea. It is
suggested to study the larval forms and the structure of prodissdconch
With kind regards.
Yours sincerely,

(N. V. SUBBA RAO)
To
Dr. R. Pageatipunan,
Food and Agriculture Organization
of the United Nations,
U.N.D.P.
P. O. Box 244
Dacea, Bangladesh.
Appendix II
Manual for the culture of Oysters in Bangladesh
Note of Readers : This manual is intended as a simple guide to prospective oyster culturist in Bangladesh
I Introduction
Bangladesh has the oyster resources which when properly developed can be one of the income generating industries of the country. There are numerous coves, bays and estuaries which can be devoted for oyster culture. The channel between Sonadia and Moheskhali Islands has a potential farming area of more than 1,500 hectares.
Oysters like other shellfishes are not taken as food by the majority of the population due to tradition. It is only the minority Buddhist community who take them in their diet. Oysters can then be developed as an export item like froglegs and shrimps. They can also be processed, canned, smoked or made in to oyster sauce. These are in demand in foreign countries, and so whatever items are not eaten in the country can be make use of by exporting them.
Farming of oysters is a simple and entail minimal cost of investment. Oyster spats are abundant during spawning spawning season, and what are needed are cultches to collect them. Cultching materials such as empty shells, bamboos and clay bricks are locally available and cheap.
The culture of oysters does not require skilled manpower. Unskilled men, women and even children can be employed in the preparation of spat collectors, setting of the farm and in harvesting. Maintenance of the farm need little attention, so with a minimal investment and effort, a farmer can benefit from the culture of oysters
In order to hasten the development of oyster industry, the Government of Bangladesh through the Directorate of Fisheries established a pilot oyster culture farm in Cox's Bazar and a spat collection site at Teknaf, with the assistance of FAO (Food and Agriculture Organization of United Nations).
2 Characteristics of Oysters
2.1 Kind of Oysters
The most common species of oysters of oysters found in Cox's Bazar and Teknaf areas of Bangladesh are the Crassostrea gryphoides (Schlotheim) and C. belcheri (Sowerby). C. madrasensis (Preston) and Saccostrea cucullata (Born) are also found but in lesser abundance. The local term for oyster is “kusturi”.
2.2 Habitat
Oysters are found in intertidal areas of bays, coves and estuaries, attached to hard objects such as rocks, stones, shells, wooden or concrete structures, roots of mangrove trees, etc. They prefer brackishwater with salinity range of 17–35 ppt. although can tolerate a wide range.
In Cox's Bazar and Teknaf areas of Bangladesh, oysters are usually found attached to the flooring and sidings of concrete sluice gates. (gates are the structures that prevent entrance of seawater or drain excess water during rainy season in tidal areas where embankment are constructed to pretect agricultural land. This also include fishpond gates). Survey of shellfish in 1982 revealed that they inhabit the shores from Patenga in Chittagong to the south in Teknaf and St. Martin Island.
2.3 Reproduction
Oysters have separate sexes. The gonad is the reproductive organ and produce either eggs or sperm. Spawning of oysters in Bangladesh occur throughout the year, wherein million of eggs and sperms are released in the surrounding water, where fertilization takes place. Within twenty four hours, the fertilized eggs hatched into planktonic larvae. The larvae can swim with their minute hairs called cilia, although drifted by tides or water currents. It is at this planktonic stage that a large quantity do not survive due to predation and adverse sea condition. In two to three weeks time, they developed their shells and are ready to settle. Once they come in contact with hard objects, they crawl and cement themselves, where they remain sessile for the rest of their lives.
This phase is important in oyster culture, as the cultches must be ready in the water for the larvae to attached themselves.
2.4 Feeding Habits
Oysters do not need to be fed. Their food consist of minute planktons and other organic matter suspended in the water. A considerable amount of seawater is filtered by the gills, straining the food particles, which are then pushed toward the mouth The gills also serve as an organ for reproduction.
2.5 Growth
The growth of oysters is affected by various factors such as temperature, salinity, amount of natural food available, level of attachment, method of culture used and chemicals present in the water. In Bangladesh, being located between 21° to 26° North latitude, the seawater temperature do not drop down below 23° Centigrade even during cold winter months. This is a finding from field observation undertaken in winter of 1983 and 1984. This will mean that oyster can grow continuously throughout the year, although may be somewhat sluggish during the cooler months.
Recent findings revealed that oysters can grow to a length of 6–8 cm. in year, or 11 to 13 cm in two years.
3 Farming of Oysters
3.1 Site Selection
In selecting sites for the culture of oysters, there are things to be considered before starting any activity.
These important factors are as follows:
3.1.1 Ecology of site
The success or failure of an oyster farming activity depends primarily on the ecological factors prevailing in the area. Oysters are affected by the physicochemical and biological conditions of the sea, so there is a need to measure these parameters. Pertinent information should be noted on the precence of local stock of oysters, salinity, temperature, water current, substrate, depth of water, exposure to wind or wave action and pollution.
3.1.1.1 Precence of oyster stock
There must be oyster stock in the proposed site. The precence of abundant local stock of oysters is a strong indication that the ecological conditions prevailing in the area, are conducive to their growth. The precence of closely associated species will also indicate favorable condition of the site. Absence of oysters may lead to the introduction of the species collected from other areas for growing, but such may not guarantee the success of the farming activity, although other factors may seem favorable
3.1.1.2 Salinity
Oysters grow best in areas with the salinity range between 17 to 35 ppt. The site selected should have this range, and areas with very wide fluctuation of salinity should not be chosen. Oysters can tolerate being submerge in freshwater during rainy days as they can tightly close their shell, but if exposed for days on such will greatly affect them.
3.1.1.3 Water current
The site selected should have continuous water current, which will bring in the food of the oysters. Current is also required by the oysters for the supply of oxygen during respiration and in the elimination of metabolic waste. It should be considered in planning the method of cultivation, as plots will not be possiin areas with strong current or will result in high maintenance cost.
3.1.1.4 Substrate
The nature of the bottom will determine the method of culture to be applied, so is important in planning the activities. Firm or hard bottom will be favorable for bottom cultivation. Muddy bottom will be suited for stake or plot methods. Floating rafts and suspension lines can be set on any kind of substrate which should be deep enough.
3.1.1.5 Depth of water
The site to be selected should be in intertidal as oysters grow best in these areas and lesser affected by pests and predators. It should have an elevation between -0.5 meter below and 0.5 meter above the zero tide level (see Fig. 1). The elevation of the site will also determine the method of cultivation to be applied. Areas exposed to tide can be utilized for bottom culturing, plots, stake or tray methods. Deep areas will be suited for floating raft or suspension lines.
3.1.1.5 Exposure to wind/wave action
Sheltered areas free from strong wind and wave action should be selected. Estuaries, coves and channel will therefore be preferable. The prevailing winds in Bangladesh are, north and northeast from October to March and south and southwest from April to September. Wave action caused by south and southwest winds are stronger as these originated from long distances from the Indian Ocean. Areas facing the sea on the west and south are therefore of low priority. Strong wind or wave action can damage the oyster farm area or increase the maintenance cost, and so should be given importance in selecting the site for oyster culture.
3.1.1.6 Pollution
The site selected should be free from pollution. Being filter feeders, the oysters are liable to take in microbacterias from the water, some of which are harmful to man. Oysters grown near population centers, may have high count of Echerichia coli, an indicator of possible precence of pathogens. Heavy metals present in industrial effluents are redily uptaken by the oysters. Oil and gas wells and refineries are potential source of hydrocarbons, which will affect oysters. The oysters grown or harvested from polluted areas are unfit for consumption and will be rejected especially in the export market.
3.1.2 Area
The size of the area for oyster farm must take into account the quantity of oysters intended to be produced. Adequate areas should be available for subsequent development or expansion.
3.1.3 Accessibility
The accessibility of a site is another essential critirion in the site selection. The site must be accessible to transportation, which should be fast and convinient. This is to facilitate effective management of personnel and technical extension service. This will reduce operational cost and physical inconvinience of farm personnel.
3.1.4 Market and labour
This refer to the proximity of available market outlet for the disposal of the product and the availability of labour to undertake the farming activities. In Bangladesh, where the intended market outlet is foreign countries, the farm should be near or accessible to the port that will handle exports. Refrigeration or freezing facilities should be available, as oysters are perishable.
The availability of labour sources at or near the site is vital to the development of oyster culture
3.1.5 Availability of local materials
The site selected should be near to a source of cheap local materials needed in the establishment of the farm
3.2 Sites Suitable for Oyster Culture
3.2.1 Sonadia-Moheskhali Channel (Fig. 2)
The Channel between Sonadia and Moheskhali Island is suitable for commercial cultivation of oysters. It is a tidal land area of which 1,500 hectares can be developed for oyster culture. The ecological conditions prevailing thereat are favorable for the cultivation of oysters
3.2.2 Coves between Jaliapara and Badar Mocam (Fig. 3)
The coves between Jaliapara and BadarMocam are suitable for oyster culture. The sites are protected from strong southwest wind by the southern tip of Teknaf.
3.2.3 Other Areas
There are coves and estuaries, such as Chopuldandi, Cox's Bazar and Sabrang in Leknaf that are suitable for oyster farming.
3.3 Culture Methods
Oysters are growing naturally in the wild in Bangladesh. In order to have a steady supply for the foreign market, it will necessitate the cultivation in a wide area. To culture oysters, there are various methods, which are as follows:
3.3.1 Bottom Culture
This is a traditional method of oyster farming, practiced in foreign countries, such as in the Philippines. This make use of cultches such as oyster shells, rocks, stones, tim cans, broken clay jars or any piece of hard objects, which are scattered in intertidal or subtidal areas for the oyster spats to attached. The substratum should be firm or hard and not soft otherwise the cultches will sink. The maximum depth should be 1 meter during lowest tide for easy gathering.
A site or a cove at Sabrang in Teknaf was found to have a firm bottom where bottom culturing can be undertaken.
Most areas in Bangladesh are of soft mud. For such situation, a simple system was improvised so as to use clay bricks for bottom culture. This make use of two pieces of bamboo splits were placed parallel to each other with 15–20 cm distance between them. The bricks will then placed over the bamboo splits. These will at least minimized the sinking of the clay bricks through the mud. Ten to twelve bricks can be placed on a three meter long bamboo splits.
From trials, clay bricks were found to be an effective cultching material. Its rough surface make it easier for spats to attached. The bricks should only be used for collecting spats of oyster. after three months of attachment or before the start of the rainy season, the oysters should be detached from the bricks for culturing on trays. This is to prevent the bricks from being covered with mud or silt during rainy season.
If it is desired that the oysters be grown attached to the bricks until marketable size is reach, then they should be raised from the bottom by placing them on elevated bamboo plots or racks.
3.3.2 Off-Bottom Culture
Off-bottom methods make use of the vertical column for oyster cultivation. With these methods the oysters grow rapidly with better shaped shells, and being above the bottom, predation effect from starfishes and gastropods were minimal
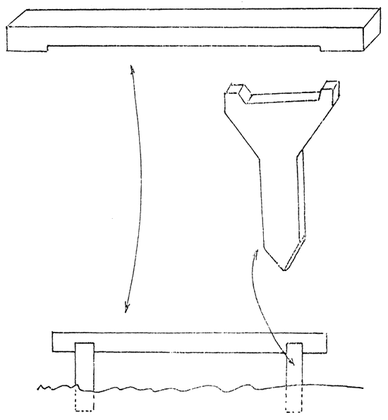
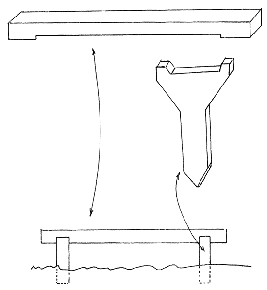
3.3.2.1 Stake Method (Fig. 4)
This method make use of bamboos, wood or branches of trees, 0.5 to 0.6 meter long. Empty oysters to serve as the cultching materials, are nailed or tied with wire or twine to the pieces of wood or bamboos at one end. The other end will then be driven or staked on the muddy bottom of the site selected.
After the stakes were set, the shell cultches and the wood or bamboo itself, will collect spats of oysters, which will then be allowed to grow until harvest time. This process will require minimal attention except for occational inspection to observe the progress of spat attachment and the growth of oysters.
3.3.2.2 Plot Method (Fig. 5 & 6)
There are two (2) types of plots, one is intended for vertical hangings of stringed oyster shells (cultches) and the other for horizontal hanging. The use of each type depend on the elevation of the area as plots should be within the level where oysters grow best. The plots can be made of bamboos (or wood if such is the desire of the intended oyster culturist)
Each plot measure 2×5 meter (or as desired) consisting of the following sizes of bamboos;
9 pcs. as post, cut 2½ meters long (1½ meter of each will be driven to the muddy bottom
3 pcs bamboos cut 2 meters long to serve as the width of the plot, nailed and tied with twine to the post horizontally
3 pcs bamboos, 5 meter long - to serve as the length of the plot, nailed and tied with twine to the post horizontally.
There is not much difference between the two types of plots, except that the plot with vertical hangings, the bamboos nailed to the posts were one (1) meter above the ground, so that the hanging cultches can be set horizontally. On that plot with horizontal hangings, the bamboos nailed to the posts, do not need to be too high from the ground level. Ten to twenty centimeters may be enough.
The hanging cultches are to be made of empty oyster shells. To make them, a hole is first punched at the center of each shell. Then 8 or 10 pieces of shells are to be stringed together with polyethylene twine, spaced with knots at 10 cm. distances. A hanging can measure one (1) meter long or depending on the size of plot constructed.
After the construction of plots, the hanging cultches can be hang on the horizontal bamboos. They should be spaced apart, about 10 to 15 cm.
Oyster spats will attached to the cultches and also on the bamboos of the plots, and grown to marketable size. The plots will require regular maintenance work. This will include changing of old or decayed bamboos, nailing and tying detached bamboos, retriving and resetting of dropped cultches. Regular inspection will also be needed.
3.3.2.3 Tray Method (Fig. 7)
Tray method is expensive due to the initial cost of constructing trays and the racks to hold them. The trays are use to culture oyster detached from culture such as bricks and those that are too small for market. Oysters grown on trays have better shaped shells.
Trays can either be made of welded-meshed wires, or bamboo splits nailed to a wooden frame. The size of 0.6×1 meter will be convinient for use, but it will depend on the desire of the oyster culturist. Plots or racks should be constructed so as to hold the trays above the ground 15 to 30 cm.
3.3.2.4 Concrete Structures (Fig. 8)
The use of concrete structures for oyster culture is widely used in Thailand. The initial cost is expensive but in the long run it will be cheaper, as they can be use over and over again for years.
A set of concrete structure is composed of two (2) Y - shaped post holding a bar horizontally. The post measure 0.9 meter long and the bar 1.5 meter. They were made of proportionate mixture of cement and clay brick chips.
The concrete structures are to be sat in the farm at intertidal level. They serve as cultch as the oyster spats readily attached to concrete, which will then be allowed to grow until marketable size. There is no maintenance needed on this.
3.3.2.4 Floating raft or Suspension Line (Fig. 9)
This method had not been tried yet in Bangladesh but will be worth mentioning here as these methods are widely use in foreign countries.
In deep areas where the construction of plots is not possible, the floating raft or suspension line method can be used. The raft can be made out of wood or bamboos and floated with oil drims, wooden or plywood pontoons or polyethylene floats. Oil drums whenever used, need to be coated with coal tar or paint, to prevent rust. Wood or plywood pontoon should be painted with anti fouling paint to prevent attack of wood borers. The rafts are fixed in the sea with anchors and lines.
In suspension line method, a cable line of either wire or synthetic rope is floated with a series of small floats and both end are provided with anchors.
The stringed oysters (cultches) are hung on the rafts or suspension lines. The length of each hanging will depend on the depth of the area, during lowest tide as the hanging should not touch the bottom.
Oyster spats will attached to the cultches. Experience in foreign countries using this method, showed that oysters grow faster. This is due to the fact that the oysters feed continuously unlike those in intertidal areas which are exposed to tide and thus can not take in food.
4 Pest and Predators
The oysters, although it may seem sturdy for being encased with strong shells, are also affected by predators and pests. Starfishes and gastropods feed on oysters cultured on the bottom. Fishes and crabs feed on young spats. Sponges (Cliona) and certain molluscs can bore on the shells of the oysters, making them brittle. Barnacles, tunicates and algae are fouling organisms competing with oyster spats for spaces in the cultches. These predators, borers and fouling organisms are minimal and are usually prevented when oysters are grown intertidally. The primary problem encountered on oyster culture in Bangladesh was the fouling by barnacles. They grow so abundant at times that they death to young spats or hampered the growth.
5 Harvesting
Oysters in Bangladesh can attain marketable size in one (1) year. If bigger size are sought, they can be allowed to grow for one and a half or two years. The best time to harvest, is during the colder months, when the oysters are in best condition.
The cultches such as bricks, shell hangings, stakes, and horizontal bars of concrete structures (It may not be neccessary to lift up the concrete posts due to its weight) should be collected and brought to the shore. The oysters can easily be knock-off from attachment on cultches. The oysters should then be segregated as to size then wash with clean water. Smaller sized oysters should be returned for culturing on trays. The harvested oysters are now ready for market or for processing. The cultches should be dried up under the sun for days and then cleaned for subsequent use.

Fig. 1 Prevailing Tide at Cox's Bazar

Fig.2 Sonadia - Moheskhali Channel - Area Suitable for Oyster Farm

Fig. 3 Teknaf - Area Suitable for Oyster Culture

Fig. 4 - Stake

Fig. 5 - Bamboo Plot with Vertical Hangings

Fig. 6- Bamboo Plot with Horizontal Hangings

Fig. 7 - Bamboo Tray for Oyster Culture

Fig. 8 - Concrete Structure as Cultch

Figure 9 - Suspension line