En référence, voir le Document technique FAO: Définition et Classification des Catégories d'engins de pêche (FIDI/FIIT/T222) et en Annexe la“Classification statistique internationale type des engins de pêche” adoptée le 29 juillet 1980.
1. Filet tournant avec coulisse (senne coulissante) Le banc de poissons repéré en surface est encerclé par un long filet dont on ferme la base (pour empêcher le poisson de fuir en plongeant) à l'aide d'une corde (la coulisse) coulissant dans une série d'anneaux montés sur le bas du filet.

2. Senne de plage avec poche Ce grand filet avec une poche centrale est mouillé d'une embarcation en partant du rivage pour y revenir après avoir éventuellement contourné un banc de poisson. La senne est ensuite tirée à la plage d'où le nom de “tirez-tirez” employé dans certaines régions du Cameroun pour désigner cet engin.

3. Un exemple de filet soulevé Des branchages installés sur l'eau attirent les crevettes; elles sont capturées à l'aide d'un petit filet de forme conique immergé sous les branchages qui est soulevé de temps en temps.

4. Engin retombant: l'épervier Le filet lancé du rivage ou d'une embarcation capture les poissons en retombant dans des eaux généralement peu profondes.

5. Filets maillants calés Le poisson se maille ou s'emmêle dans la nappe posée auprès du fond.

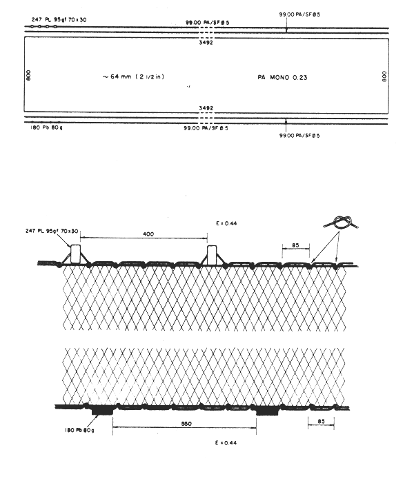
6. Filet maillant dérivant Le poisson se maille ou s'emmêle dans des nappes qui dérivent avec le courant en surface, liées ou non à une embarcation (pêche des Bongas et des Bilolos) ou près du fond (pêche aux bars, capitaines, bossus, etc.).

7. Filet maillant encerclant Ayant repéré un banc de poissons dans des eaux peu profondes, on l'encercle d'un filet maillant dont la base est près du fond et les flotteurs sont en surface. Des coups de pagaie sur l'eau effraient le poisson et le poussent vers les nappes où il se maille.

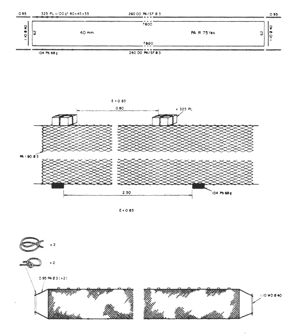
8. Piège: Filet à l'étalage à crevettes Il s'agit d'un filet conique ouvert dont l'ouverture est maintenue par une armature. De forts courants entraînent les crevettes vers le filet.

9. Pièges: Les barrages Ils sont installés en demi-cercle ouvert vers le côté dans la zone de balancement des marées près des mangroves par exemple: les poissons venus à la côte avec la marée haute sont retenus par les barrages lorsque la mer descend.

10. Lignes à main (manoeuvrées à la main) Généralement en monofilament, elles portent un ou plusieurs hameçons appâtés pour la pêche en surface, en pleine eau ou, avec un lest, près du fond.

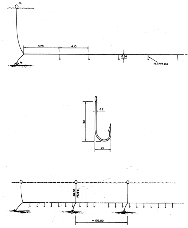
11. Lignes calées au fond Il s'agit, sur ou près du fond, de palangres, c'est-à-dire d'une ligne principale portant à intervalles réguliers de courts bas de ligne (avançons) se terminant chacun par un hameçon.

(SENNE COULISSANTE) à sardinelles et ethamaloses (filet “Watsha”), LIMBE Cette senne est manoeuvrée à bord d'une pirogue de 17 m environ par un équipage de 16 hommes.

(“tirez-tirez”), KRIBI
Cette senne de plage est mouillée à l'aide d'une petite pirogue monoxyle de 6,6 m environ; elle est ramenée à la plage par 6 à 7 hommes de chaque côté. Captures: petits capitaines, petits bars, “rasoirs” (Illisha africana), divers.

Ayoupwé, DOUALA Ce filet est traîné le long de la plage par deux hommes à pied, de nuit, sur de très petits fonds de sable ou de vase.

Ayoupwé, DOUALA Un radeau est installé dans la zone des mangroves, son ombre attire les crevettes; après un certain temps le filet soulevé est passé sous le radeau

BEKUMU Ce filet soulevé, manoeuvré par deux hommes à bord d'une pirogue monoxyle, est utilisé pour capturer de petits poissons pélagiques.

Ayoupwé, DOUALA Cet épervier est employé à bord de pirogues monoxyles sans moteur, sur petits fonds (inférieurs à 3 à 4 m) pour capturer de petites ethmaloses et sardinelles.

Ayoupwé, DOUALA Ce petit épervier est employé à pied ou à partir d'une pirogue monoxyle pour capturer sardinelles, mulets et ethmaloses.

KRIBI Utilisé à bord de pirogues nigérianes en planches, ces filets sont mouillés la nuit sur des fonds de roches d'environ 30 m; ils sont employés toute l'année mais les meilleures captures sont réalisées de septembre à janvier: brochets, requins, raies guitare, disques, bars.

M'Biako, MOUANKO Ces filets maillants sont utilisés, de nuit, toute l'année, à bord de pirogues nigérianes d'environ 9 m pour la capture de capitaines, bars, etc.

LIMBE Ces filets maillants sont employés à bord de pirogues de 11 à 12 m, avec moteur hors-bord de 40 ch pour la pêche de nuit, d'octobre à décembre, de capitaines, bars, carangues, mâchoirons, carpes rouges, requins, etc.

LIMBE Ces filets maillants sont utilisés de nuit toute l'année, mais surtout en saison des pluies, pour capturer bars, capitaines, bossus, mâchoirons, etc.

Ayoupwé, DOUALA Ces filets maillants sont employés à bord de pirogues en planches de 8 m environ; ils sont mouillés par petits fonds, en travers du courant et laissés en dérive de 1 à 2 h. Les captures sont constituées de bars, bossus, capitaines, mâchoirons, soles, daurades grises, carpes, brochets et parfois requins.

KRIBI Ces filets sont utilisés à bord de pirogues en planches de 8 m avec moteur hors-bord de 8 ch pour la pêche de nuit de la sardine plate appelée “bilolo”, accessoirement de “rasoirs” (Illisha africana) et de pelons (Brachydeuterus auritus).

(fillet "N'ta;e"). M'BIAKO

(“bilolo”), Ayoupwé, DOUALA Ces filets maillants sont utilisés en dérive tenus par un bateau; deux pirogues motorisées peuvent réunir leurs filets pour constituer un filet maillant encerclant.

ou “strong Kanda”, LIMBE Ces filets maillants sont utilisés à bord de pirogues, type nigérian, de 9,5 m environ avec moteur hors-bord de 8 à 15 ch pour la pêche de nuit pendant la saison des pluies (de mai à septembre).

(Bonga), N'JANGASSA Ces filets soit de dérive soit filets maillants encerclants sont utilisés à partir de pirogues nigérianes en planches de 10 m environ avec moteur hors-bord de 25 ch et équipage de 8 hommes pour la pêche sur des petits fonds vaseux (6 à 8 m) de septembre à mai.

Ayoupwé, DOUALA Utilisé à partir de pirogues monoxyles propulsées à la rame, ce filet est aussi utilisé comme senne de plage, à marée basse, autour des bancs de sable.

(gilet “kankjo”), M'Biako, MOUANKO

M'Biako, MOUANKO Ce filet maillant encerclant est mis en oeuvre à partir de pirogues onoxyles non motorisées sur des petits fonds en estuaires.

Bekuma, BAMUSSO Installé à l'aide de pirogues de 12 à 13 m motorisées sur des fonds de vase d'environ 30 m de profondeur, les filets à l'étalage sont calés en fonction des courants, dans le courant de flot, parfois dans le courant de jusant; utilisés toute l'année, le rendement est maximal de juin à octobre (saison des pluies).

Ayoupwé, DOUALA Installés dans la zone de balancements des marées près des mangroves, ces barrages retiennent les poissons lorsque la mer descend: tilapias, mulets, mâchoirons, etc.

KRIBI Ces lignes à main sont employées à bord de pirogues nigérianes de 8 m (avec moteur hors-bord de 8 ch), 3 lignes simultanément pour la pêche de jour sur des fonds généralement assez durs vers 30 m; l'appât, sardinelle ou “bilolo”, permet des captures de gros barracudas (brochets de mer) ou requins.

KRIBI Employées à bord de pirogues de 8 m (moteur hors-bord de 8 ch) sur des fonds de roches d'une trentaine de mètres, ces lignes appâtées de sardinelles permettent des captures de dorades, pagres, brochets moyens, bars, etc.

LIMBE Utilisées près de la côte, jusqu'à 8 lignes à bord d'une petite embarcation; ces lignes appâtées de sardinelles permettent de capturer, d'octobre à mars, borchets et carangues.

12.1 LIGNE CALEE AU FOND ou PALANGRE DE FOND, Ayoupwé, DOUALA Ces lignes appâtées de sardinelles ou d'ethmaloses sont utilisées pour la capture de poissons de grande taille: capitaines, carpes rouges, mâchoirons, bars.

12.2 LIGNE CALEE AU FOND ou PALANGRE DE FOND, Ayoupwé, DOUALA Employées à partir de pirogue monoxyle de 8 m (moteur hors-bord de 8 ch), ces lignes, 350 à 400 hameçons, sont utilisées de nuit pour la capture de carpes rouges, capitaines, bossus, etc.

12.3 LIGNE CALEE AU FOND ou PALANGRE DE FOND, Ayoupwé, DOUALA Employée à bord de pirogues monoxyles avec ou sans moteur, ces palangres, 3 à 5 paniers de 300 à 500 hamecons par bateau, appâtées de sardinelles ou crevettes sont mouillées sur fond de sable ou de roche (8 à 10 m).

12.4 LIGNE CALEE AU FOND ou PALANGRE DE FOND, LIMBE Employée à partir d'une pirogue de 8 m (moteur hors-bord de 8 ch), la palangre d'une centaine d'hameçons (un panier) appâtés de sardinelles, est mouillée sur des fonds de 15 à 40 m. Les captures sont constituées de carpes, brochets, bossus, capitaines, etc.

Ayoupwé, DOUALA Ces lignes sont employées toute l'année dans la zone des mangroves pour la capture de carpes rouges, mâchoirons et daurades.
