A partir de la década del 60 comienza en el país un desarrollo acelerado de la agricultura y la ganadería, con vistas a incrementar el nivel de alimentación de la población. Este desarrollo se caracterizó por: (a) modernización, (b) mecanización, (c) intensificación y racionalización de la producción y (d) desarrollo científico-técnico. El crecimiento eficiente de estas dos ramas de la economía requería de grandes volúmenes de agua embalsada.
Para estas actividades el país contaba en 1959 con un total de 13 embalses con una capacidad aproximada de 48 millones de metros cúbicos. Por lo antes mencionado, se comenzó la construcción de presas en nuestros principales ríos y micropresas en los menos importantes. De esta forma se podía garantizar el desarrollo mediante el aprovechamiento racional de los recursos hidráulicos, y su utilización en la producción agrícola y ganadera. Por su volumen de inversiones el desarrollo de estas ramas de la economía tenía que realizarse de una forma armónica.
Como resultado de las construcciones hidráulicas, el volumen de agua embalsada creció en 1982 a 5 732,5 millones de metros cúbicos y la superficie bajo riego alcanzó las 900 000 ha de tierra cultivada. Posteriormente a la construcción de estos reservorios, se análizó la posibilidad de utilizarlos para la pesca comercial. Esto motivó un estudio de las especies autóctonas e introducidas hasta la fecha, arribando a la conclusión que ninguna de estas tenía el poder reproductor y la tasa de crecimiento necesarios para soportar pesquerías comerciales, por lo que se comenzó la introducción de especies con vistas a una futura explotación pesquera a gran escala.
El presente trabajo constituye un modesto aporte al conocimiento de la acuicultura cubana y en especial a la piscicultura de agua dulce, cuyo objetivo es ofrecer una información general de los resultados alcanzados, mostrando su evolución histórica y los aspectos tomados en cuenta para su desarrollo en las condiciones tropicales; así como las normas y modelos de trabajo empleados en las técnicas acuícolas. Se intenta también destacar la integración agrícola con la acuicultura como alternativa natural llamada a complementar la producción de alimentos de origen acuático y contribuir, en lo posible, a aumentar el consumo per caput de los mismos en nuestro país.
Cuba está situada en el mar de las Antillas, hacia la zona tórrida del planeta, muy cerca del trópico de Cáncer, entre los 74°8'3" y los 84°57'7" de longitud oeste y los 19°49'38" y 23°17'9" de latidud norte (Figura 1).
La isla de Cuba es la mayor y más importante del archipiélago cubano, formado este último por más de 1 600 cayos, isletas e islas distribuidas en cuatro grupos. El primero, situado en la parte norte de la provincia de Pinar del Río, recibe el nombre de los Colorados o Santa Isabel, el segundo situado en la costa norte de las provincias de Matanzas, Las Villas y Camagüey, recibe el nombre de Jardines del Rey o Sabana Camagüey, el tercero situado en la costa sur de la provincia de Camagüey, recibe el nombre de Jardines de la Reina y el cuarto situado entre la bahía de Cochinos y el puerto de la Coloma se denomina de los Canarreos.
La superficie de Cuba ha sido calculada en diferentes oportunidades; estudios recientes dan una cifra de 110 922 km2.
Figura 1 Mapa de Cuba con su ubicación geográfica
Cuba está situada en la zona intertropical, donde se registran de modo general elevadas temperaturas.
Por otra parte, el calentamiento del país se debe en cierta medida a que la isla está rodeada casi en su totalidad por la contracorriente cubana, formada por una rama de la corriente ecuatorial del norte, que se separa de ésta a nivel del Canal Viejo de Bahamas y va bordeando la costa norte de Cuba hacia el oeste; a la altura del cabo de San Antonio gira bordeando la costa sur hacia el este. El efecto de esta corriente se refuerza por dos corrientes contrarias de igual naturaleza, denominadas corriente ecuatorial del sur y del norte.
A mezclarse estas dos corrientes originan la del Golfo, la que se interna posteriormente en el Atlántico. Este panorama provoca un reforzamiento térmico de la contracorriente cubana, principalmente en la región norte y occidental de la isla.
Atendiendo a lo antes mencionado y a la ubicación geográfica de Cuba, en la zona tórrida o intertropical, su clima se clasifica como húmedo de sabana (AW) con dos épocas bien definidas de lluvia y sequía. Se debe señalar que existen otros factores regionales aparte de los de orden geográfico que intervienen fundamentalmente en el clima.
Entre los factores que pueden modificar los elementos del clima tenemos: (a) altura, (b) naturaleza del suelo y (c) presencia o ausencia de vegetación.
La industria de la acuicultura es milenaria. Se conoce que desde antes de nuestra era, en China se practicaba la cría de peces.
Chinos y Romanos, precursores de la piscicultura, se limitaban a poblar de peces sus lagos con alevines o huevos, obteniéndolos en los ríos o facilitando a los peces adultos el desove.
Los aborígenes cubanos tenían una actividad pesquera importante en relación a otras formas de cultivo. Algunos historiadores de la época del descubrimiento describieron estanques cerrados por redes con grandes cantidades de lisas, las cuales utilizaban los nativos para su alimentación. Esta actividad de los aborígenes cubanos dejó de practicarse, al introducirse otros cultivos agrícolas en la isla.
En la historia de la acuicultura en el país se registra de nuevo otra actividad, después del fin de la época colonial. Entre los años 1923 y 1927 se introdujeron algunas especies de peces de agua dulce como la falsa trucha (Micropterus salmoides), el pez Sol (Lepomis macrochirus), y la carpa común (Cyprinus carpio), procedentes de los Estados Unidos (Alvarez-Lajonchère, 1978).
No es hasta los primeros años de la década del 60 que se crea el Centro de Repoblación Fluvial cuya finalidad fue aclimatar y reproducir diferentes especies con el objetivo de poblar los cuerpos de agua existentes.
A finales de los años 60 se da inicio a la preparación de los primeros cuadros técnicos para atender el incipiente desarrollo de la acuicultura a escala nacional, contándose ya en la actualidad con más de 121 técnicos superiores y más de 200 técnicos medios que laboran en 10 centros piscícolas y tres de investigaciones.
Durante la década del 70 se realizó un proceso intenso de formación, preparación y especialización del personal superior y medio que se encargaría de acometer los trabajos preliminares y básicos en las diferentes regiones del país; los cuales consistían en la realización de inventarios y realización de expedientes de todos los cuerpos de agua susceptibles de ser explotados.
Se establecen asimismo las primeras empresas acuícolas provinciales dotadas de una infraestructura apropiada para dar comienzo a la explotación pesquera y dirigir los estudios iniciales de las áreas que se utilizarían posteriormente.

Figura 2 Organigrama de la Empresa Nacional de Acuicultura
A finales de esta década se construye la primera estación piscícola bajo un proyecto tecnológico integral y se adelantan los proyectos de dos estaciones más.
El avance y la experiencia obtenida durante estos años permitió en 1980 crear la Empresa Nacional de Acuicultura, agrupándose en ella las empresas provinciales existentes, y las nuevas unidades, hasta integrar una amplia red encargada del estudio, desarrollo y explotación de los recursos pesqueros en todos los embalses.
La nueva organización permitió intensificar los niveles de captura, aglutinar a pescadores, personal científico y técnicos especializados en el cultivo de peces, lo que coloca a la acuicultura sobre una sólida base para enfrentar el desarrollo acelerado previsto para los próximos años.
Las series históricas de captura para el período 1970–84 se ofrecen agrupadas en quinquenios en el Cuadro 1.
Capturas históricas 1970–84 (en toneladas)
| Especies1 | 1970 – 1974 | 1975 – 1979 | 1980 – 1984 | |||
| Total | Prom. anual | Total | Prom. anual | Total | Prom. anual | |
| Biajaca | 620 | 124 | 2 267 | 453 | 783 | 157 |
| Carpa | 90 | 18 | 378 | 76 | 1 121 | 224 |
| Trucha | 98 | 20 | 541 | 108 | 387 | 77 |
| Amura | - | - | - | - | 25 | 5 |
| Tenca | - | - | - | - | 144 | 29 |
| Tilapia | 68 | 14 | 2 713 | 543 | 49 837 | 9 967 |
| Otros | 461 | 92 | 6 310 | 1 262 | 993 | 199 |
| Total | 1 345 | 269 | 12 215 | 2 443 | 53 296 | 10 659 |
1 Ver descripción en el Apéndice
En un inicio los incrementos productivos se debieron fundamentalmente a la captura de la especie nativa biajaca, la cual habitaba en los ríos cubanos que fueron embalsados. A partir del quinquenio 1975–79, la carpa y la tilapia comienzan a constituir las dos especies principales en la captura total desembarcada.
El continuo incremento de las capturas se debe a la siembra sistemática de alevines en las presas y al manejo de las pesquerías.
La cifra de captura alcanzada en 1985 ascendió a 15 432 t. De este total 12 384 t se capturaron en las presas, en una superficie de 50 619 ha para un rendimiento de 245 kg/ha, el resto se capturó en micropresas en un área de 7 729 ha con un rendimiento de 365 kg/ha. Todos estos cultivos se realizaron de forma extensiva.
La captura en aguas interiores pasó de ser un 4,7 % del total capturado por las pesquerías (interior y marina) en 1980, a un 10,1 % del total para 1984 (Cuadro 2).
Porcentaje de producción de la acuicultura con respecto a la producción total por captura
| Año | Capturas totales en el país (t) | Porcentaje atribuido a la acuicultura |
| 1980 | 186 481 | 4,7 |
| 1981 | 164 815 | 6,7 |
| 1982 | 195 246 | 7,6 |
| 1983 | 198 451 | 8,2 |
| 1984 | 199 622 | 10,1 |
| 1985 | 9,4 |
La producción de alevines se ve incrementada a partir del año 80 cuando entran en explotación las nuevas estaciones; dándosele prioridad a la producción de alevines de tilapia, pues constituía la especie fundamental del cultivo en el programa trazado, incrementándose posteriormente la producción de ciprínidos (Cuadro 3).
Es conocido que toda actividad económica debe estar sujeta a un riguroso programa que garantize su éxito. La acuicultura cubana elaboró su primer programa quinquenal para el período 1981–85 sustentando, sobre un profundo análisis de la gama de factores influyentes y determinantes, a mediano y corto plazo; entre los que se encuentran:
disponibilidad de agua de posible uso acuícola;
variaciones climáticas;
especies seleccionadas para el cultivo;
tipos de cultivo que se desea emplear y su tecnología;
diseño, ubicación y construcción de centros productores de semillas;
infraestructura para la explotación pesquera;
aseguramiento técnico material;
capacitación del personal;
estudio de factibilidad.
Repoblaciones históricas, 1979–85
| Período | Millones de alevines | ||
| Hasta | 1979 | 9,3 | |
| en | 1980 | 3,0 | |
| " | 1981 | 5,4 | |
| " | 1982 | 6,4 | |
| " | 1983 | 9,0 | |
| " | 1984 | 17,0 | |
| " | 1985 | 20,0 | |
| Total hasta 1985 | 70,0 | ||
El proceso de inversiones se dirigió en tres direcciones fundamentales:
construcción de centros de alevinaje;
construcción de centros de recepción y procesamiento de pescado;
construcción y montaje de plantas de hielo.
Los estudios realizados permitieron trazarse una estrategia de orden prioritario para las regiones con mayores posibilidades productivas, garantizando durante el período de inversiones la puesta en explotación de los centros, acortando el plazo de obtención de resultados y de recuperación de la inversión.
La construcción de 10 estaciones de alevinaje, 22 centros de recepción y proceso de pescado con alojamiento y comedores para los pescadores, así como 8 plantas de hielo, dio un viguroso impulso a la acuicultura y facilitó las vías para el segundo plan quinquenal de 1986–90 (Figura 3).

Figura 3 Centro de recepción y proceso de pescado junto al aliviadero de la presa “Alacranes”, provincia de Villa Clara
Cuba, país de economía planificada, permite emprender vías de desarrollo donde todos los eslabones de la producción material estén enlazados, por esta razón la comercialización no constituye un freno, sino un objetivo final del proceso iniciado; por tanto el programa contemplaba la oferta y la demanda del pescado, así como las vías que se utilizarían en el proceso industrial y su posterior distribución, planteándose la diversificación del producto, dando mayores opciones al consumidor y lográndose el aprovechamiento máximo de las capturas.
El programa consideró la necesidad de crear hábitos de consumo en la poblaciòn, por lo que la divulgación programada, así como la distribución de filetes de tilapia a los círculos infantiles y escuelas de becados garantizaban el hábito de consumo a las futuras generaciones, además de brindar una proteína excelente y de bajo costo.
Este sistema integral de la planificación convertía en compromiso las cifras productivas planteadas en el programa. El volumen total de la producción de cada año es contratada con las Empresas Mayoristas y las Empresas Industriales, que a su vez reciben las cifras a distribuir, de manera tal que con suficiente antelación todo el sistema de mercado queda debidamente establecido. Por lo tanto, el país introduce dentro del balance cárnico que debe suministrar a la población el pescado proveniente de la acuicultura.
En cuanto a las formas de cultivo que hasta ahora se practicaban en Cuba las mismas se clasifican en:
| Cultivo | Característica principal |
| Extensivo | Empleo de la alimentación natural del medio acuático. |
| Semi-extensivo | Alimentación natural mejorada con empleo de fertilizantes químicos y orgánicos, y una mayor densidad poblacional. |
| Intensivo | Se realiza en micropresas de hasta 10 ha de espejo de agua, y también en jaulas situadas en presas, en ambos casos con alimentación artificial y altas densidades de siembra. |
Obviamente, tanto el rendimiento como los costos de producción varían ascendentemente en cada uno de estos sistemas y por el orden en que aparecen expuestos.
Las producciones extensivas y semi-intensivas se basan en alevines obtenidos en las estaciones de cría para ser sembrados en los cuerpos de agua que previamente se ha valorado para uso piscícola, en las cantidades que cada reservorio admite como carga inicial, siendo ésta dependiente de la cantidad de alimento existente y de la calidad de sus aguas, creándose de esta forma una población que crecerá y se multiplicará aceleradamente.
El período de tiempo para iniciar las pesquerías comerciales varía entre 18 y 24 meses, cuando se emplean densidades de siembra de tilapia de 600 alevines/ha, de manera tal que los adultos extraídos por la captura se hayan podido reproducir varias veces garantizando así la estabilidad de las producciones futuras.
Este tipo de piscicultura resulta muy ventajoso en las condiciones de los países tropicales que cuentan con un período vegetativo que abarca prácticamente todo el año, donde los peces crecen bien y se obtienen productividades elevadas y un costo de operación muy bajo, ya que en realidad la única inversión la constituye la siembra inicial de alevines. Este tipo de cultivo requiere un cuidadoso manejo y amplios conocimientos del ecosistema en que se realice, debiendo hacerse un seguimiento de la dinámica de las poblaciones para poder así regular los volúmenes de capturas anuales.
En la piscicultura intensiva, los alevines procedentes de las estaciones de cría son sembrados en jaulas, canales o micropresas pequeñas que permitan su vaciado total. Se emplean altas densidades y la cosecha se realiza entre 6 y 8 meses, empleándose alimento concentrado (Figuras 4–7).
Sin embargo el empleo de alimentos artificales compitiendo con la cría de otros animales hace que su realización esté dirigida hacia especies que tengan una alta eficiencia de conversión, y que alcancen un alto valor en el mercado.

Figura 4 Muestreo de los peces en crecimiento de la estación de jaulas “La Coronela”, provincia de La Habana
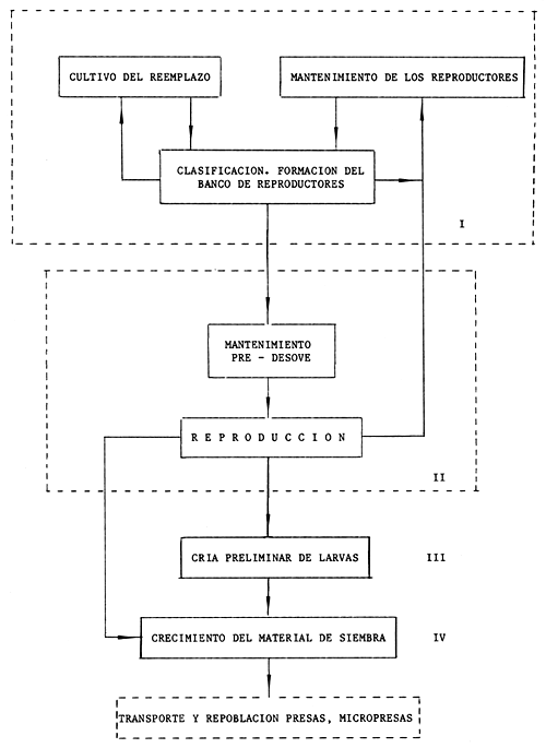
En la Figura 8 se presenta el esquema técnico-organizativo del trabajo en las estaciones, y en la Figura 9 la distribución de las mismas en el territorio nacional según la especie de alevines que producen así, como la ubicación de las estaciones de investigación.
Las mismas disponen de un variado número de estanques de tierra y hormigón, su diseño resulta muy funcional y se han establecido en dos tamaños, las de 5 a 10 ha para la producción de tilapias y las de 20 a 25 ha para ciprínidos. Están distribuidas a lo largo del país lo más cercanas posible de las áreas de repoblación (Figuras 10 y 11).

Figura 5 Muestreo en micropresa de cultivo intensivo

Figura 6 Estación de cultivo en jaulas “La Julia”

Figura 7 Tipo de jaula utilizado en los cultivos intensivos
Cuentan con los bancos de reproductores donde se practica su reproducción, ya sea natural para la tilapia o artificial para los ciprínidos.
Natural: Las parejas se sitúan en estanques de cemento de 100 a 150 m2 donde realizan la reproducción. Las larvas son alimentadas hasta un gramo, pasando a estanques de tierra cuando alcanzan los 10 g.
Artificial: Los reproductores son tratados con hormonas para estimular la reproducción. Los óvulos son extraídos y fecundados con el semen de los machos y colocados en incubadoras, donde nacen las larvas y son mantenidas hasta tres días. Luego se pasan a estanques de tierra para su cría hasta alcanzar los 20 g.
Es un hecho conocido que las capturas de peces no planificadas contribuyen al exterminio o agotamiento de las poblaciones. Por tal motivo es necesario establecer planes de explotación basados en el estudio de la dinámica poblacional.
Es necesario contar con un estudio sistemático de las distintas fases de la explotación. Este estudio debe comprender muestreos para determinar la proporción de especies, la estructura de la población, la disponibilidad de alimento, el régimen hidroquímico, el esfuerzo pesquero, los focos contaminantes y otras características que nos permitan juzgar el estado de las poblaciones y actuar en consecuencia (Huet, 1973).

Figura 8 Esquema técnico-organizativo del trabajo en las estaciones

Leyenda
● - Tilapia
○ - Carpa
- Estación de Investigaciones
Figura 9 Distribución de la red nacional de estaciones productoras de alevines en Cuba

Figura 10 Vista parcial de la estación de producción de alevines de tilapias “Alacranes” (10 ha)

Figura 11 Vista parcial de los estanques de investigaciones de la estación de “Pavón”, provincia de Villa Clara
Las leyes generales de la genética se emplean también para mejorar los peces. En tal sentido se trabaja en el centro de investigaciones de Pavón, provincia de Villa Clara, mediante selección y cruce el mejoramiento de los bancos que posteriormente son enviados a los diferentes centros.
Los reproductores deben ser seleccionados tomando en consideración las siguientes características:
edad apropiada según la especie;
buen estado de salud y conformación;
demostrar buena conversión y desarrollo;
resistencia a las condiciones del medio.
El conocimiento del ciclo biológico en los estanques es la base de toda explotación piscícola donde interviene la alimentación natural, ya de forma exclusiva o de manera parcial. Este último es el caso de muchos cultivos, salvo los que dependen en primer o único término de la alimentación artificial.
La acuicultura en Cuba se basa fundamentalmente en el aprovechamiento de las presas y micropresas en base a la máxima utilización de los diferentes niveles tróficos, es por ello que los trabajos realizados han sido encaminados al conocimiento y dominio de los diferentes ecosistemas (Huet, 1973).
Al inicio de la época reproductiva, que en Cuba se extiende de febrero a agosto, comienza la selección de los reproductores (Sánchez, Ponce de León y Gómez, en prensa; Sánchez y Aguilar, en prensa), que han sido mantenidos separados por sexo durante la temporada invernal noviembre–diciembre (Figura 12).
Para ello se escogen peces bien cebados, de buena complexión física, cabeza pequeña, cuerpo corto y alto, aletas y opérculos bien desarrollados. Una condición importante es que estén aptos, sin traumas, clínicamente sanos.
El rango de peso de los reproductores oscila entre 250 y 500 g, con una edad superior al año (Vázquez y González, en prensa)
Los reproductores se colocan en un baño profiláctico, según lo normado en este manual; antes de la siembra en estanques de hormigón. Los estanques se someten a un proceso previo de limpieza, desinfección y fertilización, que se aplica de la forma siguiente:
Se llena el estanque hasta una profundidad de 30 cm, se aplican 40 g/m2 de gallinaza y 7 g/m2 de superfostato simple y urea respectivamente, como fertilización primaria. Al cabo de 5 días se llena el estanque hasta lograr el nivel máximo del mismo (Anon., a; Sánchez, Vásquez y Bencomo, 1981).

Figura 12 Estanque de reproductores de tilapias en el momento de la pesca. Estación “Santa María”, provincia de Pinar del Río
Al quinto día de fertilizados los estanques se siembran los reproductores. Para ello se siguen las siguientes normativas generales:
| DENSIDAD DE SIEMBRA: | 0,5 pez/m2 |
| RELACION SEXUAL: | 1 macho: 3 hembras |
| ALIMENTACION | 3 % diario de la biomasa total, con fórmula balanceada en forma de pellet durante los primeros 20 días y al 5 % a partir de esa fecha para permitir a las larvas cierta disponibilidad de alimento suplementario |
Cuando se detecta que la mayoría de los reproductores han desovado, mediante la observación de la abundancia relativa de larvas, que ocurre entre los 30 y 40 días, después de la siembra de los reproductores, se lleva a cabo la pesca en los estanques. Se separan los reproductores por sexo, sembrándose en estanques de tierra, según Fonticiella, Vázquez y Fernández (en prensa) hasta su utilización en otro “ciclo” reproductivo (Anon., a) (Figura 13).
Para la pesca en los estanques de desove se disminuye el nivel de agua hasta la mitad del mismo, se coloca un filtro de malla de 1 mm en el drenaje y se pescan los reproductores con una red de 20 mm de luz de malla. Posteriormente, se realiza el vaciado total para capturar los peces pequeños en la fosa de recolección externa y los adultos que pudieran quedar en el estanque. Esto permite capturar todas las larvas con una mínima manipulación.

Figura 13 Control de la producción de larvas de tilapias para ser trasladadas a los estanques de crecimiento
Si durante el proceso de vaciado se observa gran abundancia de larvas, se procede a pescar con una red de barredera de 1 mm de luz de malla para disminuir su concentración.
El traslado de los reproductores se realiza en tanques de fibra de vidrio, de 2 300 litros de capacidad, que son movidos por un tractor. El número de peces a trasladar depende de la temperatura y la talla de los mismos, pudiendo oscilar entre 500 y 1 000, teniendo en cuenta que el tiempo máximo de permanencia en esos tanques es de una hora.
Las larvas son contadas por un método volumétrico, con un márgen de error de 8–10 % y pesadas, colocándose en recipientes para su traslado inmediato a los estanques de crecimiento.
Los datos de cada ciclo de reproducción son controlados por el jefe de la estación, según la planilla de registro (Cuadro 4). Esto permite analizar el comportamiento histórico de la estación, de cada estanque y de cada ciclo reproductivo, realizando los pronósticos de producción de cada etapa con un nivel de precisión adecuado.
Por otra parte, al integrar la información de todas las estaciones del país, se dispone de los elementos necesarios para establecer normas generales de trabajo, controlar la marcha de cada estación y tomar las decisiones correspondientes para la organización del proceso de repoblación y siembra en todos los embalses del país.
En los Cuadros 5 a 7 se muestran los valores de algunos de estos parámetros de las estaciones El Dique, Pavón y Alacranes. Las diferencias que se observan han servido para modificar en algunos casos el régimen de operación, ya que en gran medida, las diferencias en las calidades de las fuentes de suministro de agua determinan las estrategias de su manejo, fertilización y número de reproducción.
El proceso de reproducción se repite en 4 oportunidades conocidas como ciclos, en el período febrero–agosto, articulándose con las etapas de crecimiento.
Los aspectos referidos a desinfección, fertilización y llenado de los estanques se describen más adelante y constituyen normas de obligatorio cumplimiento para todas las estaciones (Anon., e; Vázquez, Sánchez y Bencomo, 1982).
Las larvas que son extraídas de los estanques de hormigón se siembran en el área de crecimiento, en cuyos estanques de tierra permanecen por 45 días hasta alcanzar el peso de siembra que es de 10 g (Anon., b; Aguiar, León y Hernández, 1978).
La densidad máxima que se emplea es de 450 000 larvas/ha, obteniéndose una supervivencia promedio de 85 % por lo que cada hectárea de tierra produce unos 383 000 alevines en cada “ciclo” de producción.
Durante el período de crecimiento, se suministra alimento suplementario, a razón del 6 % de la biomasa total de los peces en el estanque, de una fórmula balanceada con contenido de proteína bruta de 41,35 %. El alimento se suministra diariamente en dos porciones; el 70 % a las 8:00 am y el 30 % en horas de la tarde.
El ajuste del alimento a suministrar se realiza quincenalmente, mediante un muestreo aleatorio simple de los peces de cada estanque, que sirve para determinar los nuevos valores de biomasa y para trazar las curvas de crecimiento.
Una vez alcanzada la talla de repoblación se efectúa la pesca de los alevines para su traslado definitivo a los embalses. Esto se hace en forma paulatina, disminuyendo el nivel del agua a la mitad y pasando una red de barredera para sacar la mayor cantidad de peces posible. El resto se captura al drenar el estanque totalmente, en la fosa de recolección externa del mismo. De esta forma, la mortalidad por pesca es mínima y los peces se transfieren a los estanques de salida sin traumatismos y en condiciones óptimas para el transporte. Los estanques de salida son empleados para la limpieza del tracto digestivo y para permitir una mayor densidad por caja y un mayor tiempo de traslado. Los alevines se cuentan por un método volumétrico o gravimétrico.
Planillas de control del proceso de la producción en las estaciones de tilapias
ESTACION DE ALEVINAJE DE
MUESTREO No FECHA
| Est. No | T °C agua | T °C aire | OD | Transparencia | Color | Muestreos biológicos | OBSERVACIONES | ||
| Zoo. | Fit. | Ict. | |||||||
ESTACION DE ALEVINAJE DE
SIEMBRA DE NIDOS DE TILAPIA, CICLO AÑO
Est. No | Fecha siembra | Hembras No Pg | Machos No Pg | P.Total kg | Fecha de aparición larvas | Fecha de pesca | Días de cultivo | No alev. | No hem. c/huevo | Larvas/H | P.larvas (g) |
Valores medios de los parámetros de reproducción de la estación “Alacranes”, provincia de Villa Clara
| CICLO I | CICLO II | CICLO III | ||||
| 1982 | 1983 | 1982 | 1983 | 1982 | 1983 | |
| Peso promedio hembras (g) | 200 | 498 | 300 | 327 | 400 | 347 |
| Peso promedio machos (g) | 300 | 753 | 450 | 554 | 600 | 538 |
| No larvas producidas promedio/estanques | 37 959 | 64 849 | 32 313 | 32 701 | 16 436 | 17 693 |
| Peso promedio larvas (g) | 0,54 | 0,35 | 0,84 | 2,41 | 0,85 | 1,15 |
| Producción larvas/m2 | 190 | 341 | 162 | 162 | 82 | 88 |
| Larvas/hembras | 961 | 1 656 | 927 | 740 | 410 | 432 |
| Cociente sexual (hembramacho) | 1,05 | 1,00 | 1,00 | 0,96 | 1,00 | 1,00 |
| Días de cultivo | 54 | 51 | 56 | 54 | 48 | 39 |
Valores medios de los parámetros de reproducción de la estación “Pavón”, provincia de Villa Clara
| CICLO I | CICLO II | CICLO III | |||||||
| 1982 | 1984 | 1985 | 1982 | 1984 | 1985 | 1982 | 1984 | 1985 | |
| Peso promedio hembras (g) | 611 | 549 | 592 | 298 | 218 | 524 | 605 | 593 | 424 |
| Peso promedio machos (g) | 906 | 1 154 | 1 505 | 470 | 628 | 1 085 | 889 | 1 061 | 687 |
| No de larvas producidas promedio/estanques | 26 690 | 67 877 | 23 728 | 20 145 | 17 292 | 14 538 | 11 587 | 19 871 | 15 241 |
| Peso promedio larvas (g) | |||||||||
| 0,46 | 0,39 | 0,42 | 1,97 | 1,42 | 1,67 | 1,08 | 0,78 | 1,12 | |
| Producción de larvas/m2 | 264 | 281 | 239 | 202 | 174 | 146 | 116 | 109 | 153 |
| Larvas/hembras | 1 244 | 1 484 | 1 181 | 1 136 | 921 | 589 | 568 | 692 | 555 |
| Cociente sexual (hembra-macho) | 0,89 | 0,44 | 0,99 | 0,84 | 0,77 | 1,55 | 0,93 | 0,77 | 2,23 |
| Días de cultivo | 48 | 54 | 44 | 62 | 64 | 79 | 59 | 84 | 64 |
Valores medios de los parámetros de reproducción de la estación “Dique” de la Ciudad de La Habana
| CICLO I | CICLO II | ||||
| 1981 | 1982 | 1981 | 1982 | ||
| Peso promedio hembras (g) | 232 | 925 | 1 112 | 503 | |
| Peso promedio machos (g) | 292 | 1 500 | 840 | 653 | |
| No de larvas producidas promedio/estanques | 22 619 | 38 278 | 31 740 | 30 826 | |
| Peso promedio de las larvas (g) | 0,17 | 0,52 | 1,13 | 1,01 | |
| Producción de larvas/m2 | 177 | 294 | 245 | 254 | |
| Larvas/hembras | 639 | 725 | 1 104 | 626 | |
| Cociente sexual (hembra-macho) | 2 | 1,5 | 1,86 | 1,5 | |
| Días de cultivo | 55 | 52 | 104 | 69 | |
El tercer ciclo no se realizó por reparaciones de la instalación
En el Cuadro 8 se observa la duración del período de crecimiento, la cual está ajustada a la del período de reproducción en los 4 ciclos anuales.
Ciclos de producción en las estaciones de tilapias
| Meses | 1 | 2 | 3 | 4 | 5 | 6 | 7 | 8 | 9 | 10 | 11 | 12 | Ciclos |
| •—– | ——–• | Reproducción | |||||||||||
| •———– | ———• | ||||||||||||
| •——– | ——• | ||||||||||||
| •—— | ——• | ||||||||||||
| •———– | ———• | Crecimiento | |||||||||||
| • | ———–– | ———–• | |||||||||||
| •– | ———– | —––• | |||||||||||
| •——— | –———– | —• | |||||||||||
| •—— | ——• | Repoblación | |||||||||||
| •—— | ——• | ||||||||||||
| •—— | ——• | ||||||||||||
| •—— | ——• |
En la etapa de crecimiento se controlan todos los datos, según se muestra en las planillas que aparecen en el Cuadro 9. De la misma forma se lleva todo el sistema de control, tanto en la estación, como en los cuerpos de agua a nivel nacional.
La explotación de los estanques se realiza de forma continua ya que una vez que se vacián los de crecimiento, hay disponibilidad de larvas para ser sembradas nuevamente y mientras transcurre el período de tiempo necesario para lograr los 10 g requeridos, se logra la reproducción masiva del ciclo siguiente. En la Figura 14 se muestra el esquema de una estación típica de alevinaje para tilapia en la isla.
Un requisito indispensable para el buen funcionamiento de este sistema es tener garantizada la transportación de los alevines al concluir la etapa de crecimiento, debido a las considerables cantidades de peces a trasladar en un período de tiempo relativamente corto.
Para el traslado de los peces se consideran dos etapas fundamentales:
(a) Mantenimiento de los alevines en los estanques de recepción
El estanque de recepción, que generalmente es de hormigón, sufre un proceso previo de desinfección con cal viva en forma de lechada a razón de 200 g por litro de agua, dejándose al sol no menos de 24 horas (Anon., b).
Planillas de control para el proceso de la producción en las estaciones de tilapias
SIEMBRA Y CRECIMIENTO DE ALEVINES, CICLO No AÑO
| SIEMBRA INICIAL | MUESTREO No I | |||||||||
| Est. No | Fecha siembra | No larvas (miles) | Peso (g) | P. total (kg) | Larvas/ha | No alev. | P. total (g) | Peso (g) | P. total (kg) | Incremento diario (g) |
| Est. No | Fecha pesca | Días de crecimiento | No alev. muestra | % de supervivencia | Peso (g) | Incremento diario (g) | Peso total kg | Alev./ha final | Ton./ha final | Conversión alimento |
| FERTILIZACIONES | ALIMENTACION SEMANAL | |||||||||||||||||||||||
| Est. No | Fecha | Sf | U | G | Fecha | Sf | U | G | Total | Norma | 1 | 2 | 3 | 4 | 5 | 6 | 7 | 8 | 9 | 10 | Total | |||
| Sf | U | G | ||||||||||||||||||||||

1. Estanque reproductores hembras
2. Estanque reproductores machos
3. Area para la reproducción, est, de hormigón
4. Area de crecimiento de alevines
5 y 6. Area de crecimiento alevines
7. Estanque para el reemplazo
8. Caja distribuidora del agua
11. Viales de acceso
Figura 14 Esquema de una estación de alevines de tilapias en Cuba
A este estanque llegan los alevines provenientes de los estanques de crecimiento. Se mantiene circulación de agua constante durante las 24 horas, para permitir la evacuación del tracto digestivo de los peces. En este estanque la densidad de siembra no excede los 500 individuos por metro cúbico, para evitar el stress antes del traslado.
(b) Transporte de los peces.
Para el transporte se emplean tres sistemas fundamentales:
bolsas de polietileno,
cajas de transporte,
camiones cisterna,
Transporte en “bolsas de polietileno”
Es el sistema menos utilizado actualmente debido a su mayor costo. Sólo se emplea en las ocasiones en que el número de alevines es pequeño y su traslado es por vía aérea.
La norma de transporte se resume así: en cada bolsa se añaden 8 litros de agua, 1 kg de hielo y 2 kg de peces, cerrando la misma herméticamente en un ambiente de oxígeno a presión. Las bolsas son colocadas en cajas de cartón y cerradas totalmente con soga y cinta adhesiva.
Transporte en “cajas de transporte”
Son recipientes de fibra de vidrio, de 2 300 litros de capacidad y construidas para que se puedan llevar a cabo los procesos de llenado, introducción de peces, vaciado y aireación del agua. Las dimensiones de estos recipientes se calcularon de forma tal que un camión puede trasladar hasta 4 unidades (Figura 15).
El sistema de aireación del agua hace uso del compresor del mecanismo de frenado del camión, al cual se le coloca un filtro de aceite, y por un sistema de tuberías de caucho lleva el aire comprimido hasta los difusores situados en cada caja. El suministro de aire se regula a través de manómetros, también acoplados en ocasiones a balones de oxígeno; la cantidad de aire que genera un sistema de frenos de un camión de carga es suficiente para lograr mortalidades menores de un 5 % (Cuadro 10).
Transporte en camiones cisterna
Se trata de un carro automotor con un tanque protegido contra la corrosión y cuyo volumen puede llegar hasta 5 000 litros. El sistema de aireación es similar al mencionado anteriormente (Cuadro 11).
Como regla general, la transportación se realiza en horas de la noche para evitar el calentamiento solar, empleándose agua de pozo para asegurar una calidad óptima (Cuadro 12).
En el momento de la salida de los peces de la estación se emite el acta de repoblación, que es el documento oficial de control de la producción y que le permite a la Sección de Pesquerías conocer las repoblaciones de cada embalse en detalle.

Figura 15 Camión de traslado de alevines que porta 4 cajas con su sistema de aireación
Densidades de traslado en relación al tiempo de duración utilizando cajas de transporte de 2 300 litros
| Duración del traslado | Alevines/m3 | |
| Hasta | 2 horas | 12 800 |
| " | 4 horas | 10 800 |
| " | 8 horas | 8 800 |
| " | 14 horas | 7 200 |
| " | 16 horas | 6 200 |
| " | 20 horas | 5 600 |
Densidades de traslado en relación al tiempo de duración utilizando camiones cisternas
| Duración del traslado | Alevines/m3 | |
| Hasta | 2 horas | 16 600 |
| " | 4 horas | 15 200 |
| " | 8 horas | 11 100 |
| " | 14 horas | 8 700 |
| " | 16 horas | 7 600 |
| " | 20 horas | 6 500 |
Especificaciones de calidad de agua para el traslado de alevines
| Párametro | Norma de calidad |
| Oxígeno disuelto | no menor de 4 mg/lit. |
| Temperatura | no mayor de 25°C |
| pH | 6,8–7,2 |
| Cloro libre | 0 |
| Sólidos disueltos | 1 500 mg/lit. |
| Dureza | 50–200 mg/lit. |
| sin color, olor ni sabor sensible | |