Las líneas de mano son artes de pesca baratos y fáciles de construir, pero, como ocurre con todas las técnicas de pesca, tanto para su producción como para su utilización se requieren conocimientos teóricos y prácticos si se quieren alcanzar los mejores resultados posibles. La diferencia entre el principiante y el profesional experimentado se basa en que, en una situación de pesca determinada, el profesional tiene mayores probabilidades que el principiante de ejecutar correctamente las operaciones que requieren las circunstancias, siempre variables, y, por lo tanto, tiene mayores probabilidades de conseguir capturas más abundantes.
Entre esas operaciones figuran la selección de una línea, anzuelo y lastre idóneos y el montaje de los mismos de manera que hagan posible que el pez pique un cebo debidamente elegido. Una vez montada la línea de mano, no basta con arrojarla al agua en cualquier sitio y de cualquier manera, y esperar a ver qué ocurre. Deben tenerse en cuenta diversos factores. Se trata, una vez más, de variables que cambian de unos casos a otros. Conviene saber dónde y cuándo pescar, cómo hacer que los peces piquen y que, una vez mordido el cebo, el anzuelo quede firmemente hundido en la boca del pez de manera que éste no pueda escapar.
Sólo se puede decir que se ha pescado un pez cuando se consigue depositarlo en tierra o en una barca de manera que no pueda volver al agua. Este último aspecto merece la misma atención que el equipo básico, como demuestran los numerosos casos de peces que consiguen «escaparse». La atención a todos estos puntos le permitirá utilizar la línea de mano con mayor eficacia.
En muchos lugares del mundo, la pesca con línea de mano es el método más fácil y asequible desde el punto de vista económico, por lo que sería un error considerarla como una práctica ya superada. Por el contrario, este método de pesca es no solo económico sino también eficaz y permite ahorro de combustible, sobre todo cuando se utiliza para capturar peces de importancia comercial para la pesca artesanal, como el pargo y el macabí en el mar y la tilapia y el bagre en lagos y ríos. Esta forma de pesca, si se utiliza conjuntamente con una canoa hecha de troncos vaciados e impulsada por remos o velas, representa un medio relativamente barato de introducirse en la industria pesquera. El uso de una canoa ofrece la posibilidad de explorar una zona más amplia, de descubrir nuevos lugares de concentración de peces, lo que significa una oportunidad de obtener mayores capturas.
En las siguientes páginas se ofrece una descripción general de este método, sin intentar profundizar en los detalles de los distintos ambientes, marinos o lacustres, tarea ésta que se deja en manos de los interesados. Lo que se pretende es ayudar a comprender dónde practicar la pesca, cómo montar la línea de mano y cuáles son, en líneas generales, el lugar y el tiempo más indicados para utilizar la línea de mano.
La pesca con línea, como dice la misma palabra, es un método de pesca que consiste en la utilización de una línea y un anzuelo, normalmente con cebo, que se introduce en el agua desde una barca a la deriva, anclada o en movimiento, o desde una escollera, muelle o roca de la costa en contacto con el agua. Si el pez pica el anzuelo puede cobrarse con la mano. Este procedimiento, aparentemente sencillo, supone un gran esfuerzo de planificación para elegir un anzuelo, una línea y un lastre que sean los más adecuados para la talla y fuerza de los peces que se desean capturar. Además, hay que disponer de la técnica necesaria para cobrar los peces, una vez que se consigue que piquen el anzuelo.
Algunas veces se desea capturar un determinado tipo de pez, con exclusión de los demás, mientras que en otras ocasiones se desean capturar distintos tipos de peces de talla y hábitos alimentarios semejantes. Para ello hay que tomar decisiones referentes al tamaño, resistencia y tipo de anzuel y cebo que se debe utilizar, la resistencia y tipo de línea y los nudos utilizados para fijar el anzuelo, los grilletes giratorios y el lastre de manera que no cedan ni el anzuelo, ni la línea ni el nudo, pues de lo contrario el pez podría escapar. Una vez tomadas todas estas decisiones, comienza la «caza». Para ello hay que saber cuál es el lugar más adecuado, y cuáles son los mejores momentos del día, de la noche o del año para pescar un pez determinado. En este sentido, hay que tener en cuenta que la pesca es una actividad que varía según el día y según el año, por lo que aunque hay algunas normas generales para saber cuándo y dónde pescar, qué cebo utilizar, et., puede haber siempre circunstancias totalmente imprevistas y deba actuarse en contra de la norma general. Por ello, lo mejor es prolongar la actividad pesquera el mayor tiempo posible, ya que si no se intenta pescar nunca se sabrá lo que podría haberse capturado, a menos que nos lo cuenten los competidores.
La pesca con línea de mano se puede llevar a cabo bien desde un punto fijo, por ejemplo una roca o escollera, o desde una embarcación, impulsada por la corriente o el viento o anclada. Las líneas de mano se utilizan también para arrastrar un cebo o señuelo desde una embarcación impulsada por un motor o por velas. Este sistema es especialmente eficaz cuando la línea de mano se arrastra desde una canoa hecha en un tronco vaciado e impulsada por velas, ya que, al no haber motor, no se producen ni vibraciones ni ruidos que puedan distraer a los peces. Puede verse una descripción más detallada de estos métodos en la sección relativa al manejo de la línea de mano, en la que se explican algunas técnicas para atraer a los peces hacia el cebo o para colocar éste o el señuelo donde más convenga.
Como línea de mano se puede utilizar prácticamente cualquier tipo de cuerda o de bramante. No obstante, para determinar cuál es el tipo de línea más indicado deben tenerse en cuenta varios elementos. Lo primero es determinar el pez o tipo de pez que se desea capturar. Esta decisión puede estar impuesta por los gustos personales o por el valor comercial o de venta de las distintas especies, pero puede depender también de la talla y fuerza de los ejemplares.
Si se trata de peces grandes, la línea debe ser fuerte; si son pequeños, bastaría un material menos resistente. El problema es elegir la línea más idónea. Debe ser lo bastante fuerte para sujetar al pez y soportar la fuerza conjunta de su peso, su potencia natatoria y su deseo de liberarse (algunos peces pequeños luchan tenazmente y ofrecen una larga resistencia mientras que otros, quizá de mayor tamaño, se rinden fácilmente y sin demasiada resistencia). Por otra parte, debe ser lo más fina posible para que sea menos visible y no aleje a los peces del cebo. Una línea gruesa se ve más fácilmente y puede distraer a los peces o hacer que éstos se resistan a picar. Las líneas finas pueden pasar más fácilmente desapercibidas.
No obstante, hay que tener en cuenta que no todas las líneas gruesas son fuertes ni todas las líneas finas son débiles. Así ocurre especialmente en el caso de las líneas finas de poliamida o nailon transparente, que no sólo son difíciles de detectar sino que tienen gran resistencia en relación con su grosor (Cuadros 1 a 3, pág. 7).
Cuanto más fina sea la línea más fácil será capturar a los peces: por el contrario, cuanto más gruesa sea en relación con el tamaño del pez, menos eficaz resultará. Por esta razón, no conviene elegir líneas gruesas y fuertes para capturar ejemplares pequeños. Las líneas ligeras son más sensibles al tacto de la mano y permiten al pescador determinar mejor si los peces están jugando con el cebo, lo están mordisqueando ejemplares pequeños o ha penetrado en la boca de un pez pero no ha sido tragado por éste. Cuando se tira de la línea demasiado pronto, antes de que el anzuelo se haya clavado en la boca del pez, es fácil que éste pueda escapar. El tacto o sensibilidad de la línea es importante para garantizar la eficacia de la pesca.
El material utilizado por la mayor parte de los pescadores es el nailon (poliamida). Hay tres tipos principales: trenzado, retorcido y de monofilamento (Figura 2).
Figura 2. Tipos de bramante: a) trenzado; b) retorcido; c) de monofilamento.

En teoría, los peces pesan muy poco cuando están dentro del agua, y la carga que deberá soportar la línea dependerá del tamaño del pez, de la resistencia que ofrezca y de la velocidad con que se ice del agua.
Suponiendo que la carga máxima que deba soportar la línea sea de 15 kg y considerando el tirón que hay que dar y la fuerza adicional del pez cuando intente liberarse del anzuelo, debe utilizarse una línea capaz de soportar sin romperse una carga tres veces superior, es decir, de 45 kg. Ello significa que la resistencia a la ruptura por tracción de la línea con nudos debe ser de 45 kg en el agua (se requieren nudos para fijar la línea al lastre y las líneas secundarias o brazeladas a la línea madre). La resistencia a la rotura por tracción de una línea en seco es la fuerza, medida en kilogramos, que se necesita para romper la línea, sin nudos, cuando está seca y es sometida a una fuerza de tracción. Cuando la línea está mojada y tiene uno o varios nudos, se requiere mucha menos fuerza para romperla.
En los Cuadros 1 a 3 se indica la resistencia de diversos grosores de bramante de nailon retorcido, de monofilamento y trenzado. Para elegir el material más indicado, debe tenerse en cuenta la cifra referente a la resistencia de la línea con nudos. Para saber la cantidad que se debe comprar, en los cuadros se indican también los metros que hay en 1 kg de cada tipo de bramante.
En el Cuadro 1 se observa, por ejemplo, que el bramante retorcido de 210/21 denieres tiene un grosor de 0.80 mm y cuando está mojado y con nudos tiene una resistencia a la rotura por tracción de sólo 18 kg. El bramante de monofilamento del mismo grosor, 0.80 mm, tiene una capacidad de resistencia todavía menor. sólo 15 kg cuando está mojado y con nudos (Cuadro 2). Del cuadro se desprende también que si se compra 1 kg de bramante de 0.80 mm se tendran unos 1 850 m de bramante retorcido (Cuadro 1) pero sólo 1 670 m de bramante de monofilamento (Cuadro 2).
Otro ejemplo, referido a un material más grueso para la captura de grandes peces en aguas profundas. es el bramante retorcido de 210/60 denieres, de un grosor de 1.5 mm, que, cuando está mojado, tiene una resistencia de 47 kg. Sin embargo, el bramante de monofilamento y retorcido del mismo grosor tienen una resistencia menor, a saber, de 46 kg y 44 kg, respectivamente.
Puede observarse también que si se compra 1 kg de cada uno de los diferentes tipos de bramante, de 1.5 mm en todos los casos. se dispondrá de 590 m de bramante retorcido, 490 m de monofilamento y 740 m de bramante retorcido. Por consiguiente, si hay posibilidad de elegir, conviene comprobar los precios por kilogramo y comparar los costos de la longitud deseada antes de inclinarse por un determinado tipo.
Debe tenerse también en cuenta la visibilidad en el agua donde se va a pescar. Por ejemplo, si las aguas son claras y se puede ver el fondo a una profundidad de 8 a 10 m, quizá convenga escoger el bramante de monofilamento, que es casi transparente en el agua. Por el contrario, si las aguas son muy oscuras o fungosas, el grosor de la línea no cambia demasiado las cosas y quizá sería mejor comprar un bramante más barato, posiblemente de producción local, de fibra vegetal, por ejemplo, algodón, sisal o abacá.
| Capacidad de resistencia | ||||
|---|---|---|---|---|
| Denieres | Diámetro (mm) | En seco (kg) | Con nudos y en mojado (kg) | Longitud por kg (m) |
| 210/3 | 0,24 | 4,6 | 2,7 | 13 300 |
| 210/6 | 0,40 | 9,0 | 6,0 | 6 400 |
| 210/9 | 0,50 | 14,0 | 9,0 | 4 350 |
| 210/12 | 0,60 | 18,0 | 11,0 | 3 230 |
| 210/15 | 0,73 | 26,0 | 16,0 | 2 130 |
| 210/21 | 0,80 | 30,0 | 18,0 | 1 850 |
| 210/24 | 0,92 | 39,0 | 22,0 | 1 430 |
| 210/27 | 1,05 | 43,0 | 24,0 | 1 280 |
| 210/30 | 1,13 | 47,0 | 26,0 | 1 160 |
| 210/36 | 1,20 | 55,0 | 29,0 | 970 |
| 210/39 | 1,33 | 64,0 | 34,0 | 830 |
| 210/45 | 1,40 | 75,0 | 40,0 | 700 |
| 210/60 | 1,50 | 91,0 | 47,0 | 590 |
| 210/72 | 1,60 | 110,0 | 56,0 | 500 |
| 210/96 | 1,90 | 138,0 | 76,0 | 385 |
| 210/144 | 2,40 | 210,0 | 104,0 | 250 |
| Capacidad de resistencia | |||
|---|---|---|---|
| Diámetro (mm) | En seco (kg) | Con nudos y en mojado (kg) | Longitud por kg (m) |
| 0,25 | 3,1 | 1,8 | 17 200 |
| 0,40 | 7,7 | 4,4 | 6 450 |
| 0,50 | 12,0 | 6,5 | 4 170 |
| 0,60 | 17,0 | 8,8 | 3 030 |
| 0,70 | 24,0 | 12,5 | 2 080 |
| 0,80 | 29,0 | 15,0 | 1 670 |
| 0,90 | 36,0 | 19,0 | 1 320 |
| 1,00 | 42,0 | 22,0 | 1 090 |
| 1,10 | 47,0 | 25,0 | 900 |
| 1,20 | 55,0 | 30,0 | 760 |
| 1,30 | 65,0 | 35,0 | 650 |
| 1,40 | 75,0 | 40,0 | 560 |
| 1,50 | 86,0 | 46,0 | 490 |
| 1,60 | 98,0 | 52,0 | 430 |
| 1,90 | 132,0 | 72,0 | 300 |
| 2,50 | 220,0 | 113,0 | 180 |
| Capacidad de resistencia | |||
|---|---|---|---|
| Diámetro (mm) | En seco (kg) | Con nudos y en mojado (kg) | Longitud por kg (m) |
| 1,50 | 82,0 | 44,0 | 740 |
| 1,65 | 92,0 | 49,0 | 645 |
| 1,95 | 110,0 | 60,0 | 515 |
| 2,47 | 154,0 | 81,0 | 360 |
La mayor parte de los pescadores prefieren utilizar más de un anzuelo cuando pescan con línea de mano. A continuación se explica cómo se puede preparar una línea con un solo anzuelo o con varios de ellos. Primero, se observará qué es un anzuelo y cuáles son los principales tipos (Figuras 3 y 4).
En la Figura 4 pueden verse diez modelos diferentes. Los números 1 y 6 son anzuelos dobles con seno normal y caña corta.
El anzuelo número 2 tiene una gran abertura y cuello corto.
El número 3 tiene caña corta y gran seno, pero el cuello es estrecho por su punta larga y doblada.
El número 4 se distingue de los demás porque tiene dos salientes y la anilla doblada hacia adentro. En el número 5 la anilla está inclinada hacia afuera.
Figura 3. Anzuelos del mismo tamaño pero de diferentes tipos.

El anzuelo número 7 tiene una gran abertura y cuello largo, con una caña más bien corta.
El número 8 se caracteriza por su caña larga y doblada hacia dentro en el extremo.
El anzuelo número 9 tiene una gran abertura, cuello corto y canña doblada hacia afuera.
El número 10 tiene un seno normal de tipo tradicial y cuello con caña larga.
Al elegir el anzuelo para la línea de mano, deben tenerse en cuenta varios factores, entre ellos, la forma, el tamaño y el material.
Figura 4. Anzuelos de diversos tamaños y formas (dobles y sencillos).

Forma
Los tirones producen un movimiento constante en el anzuelo con cebo, por lo que el pez tiene pocas oportunidades de olfatearlo y lo que hace es morderlo o tragarlo inmediatamente. Por ello, la forma del anzuelo debe estar relacionada principalmente con el tamaño de los peces que se desea capturar y el cebo utilizado.
En algunas pesquerías las formas de anzuelo más frecuentes para la pesca con línea de mano (Figura 4) son los números 9 y 10, mientras que en otras se utiliza ampliamente el número 8. En cambio, en algunas otras se utiliza sobre to do el número 3.
Los demás anzuelos se utilizan también en algunas ocasiones para la pesca con línea de mano, pero es poco lo que se sabe sobre su eficiencia en comparación con los de uso más habitual. De todas formas, conviene utilizar un anzuelo con la punta algo doblada a uno u otro lado, hacia la izquierda o la derecha (invertido o excéntrico). La razón es sencillamente que si el anzuelo entra horizontalmente en la boca del pez cuando éste pica por primera vez, es posible que se salga de la boca o que el pez lo arroje antes de que haya tenido tiempo de morderlo o tragarlo. Si hay otros pescadores de línea en la zona, sería aconsejable consultar con ellos cuáles son los resultados obtenidos.
Tamaño
Es importante utilizar un anzuelo que no sea demasiado grande y cubrir la mayor parte del mismo con el cebo, sea éste artificial o fresco. Por norma general, la abertura del anzuelo debe ser menos de la mitad de la boca del pez que se desea capturar, y en la mayor parte de las ocasiones debería ser mucho más estrecha todavía (Figura 5).
Material
Los anzuelos suelen hacerse con acero corriente (en algunos casos, con acero inoxidable). Para evitar que se oxiden se recubren de bronce, estaño, níquel o incluso oro. Los anzuelos de gran tamaño se galvanizan y hasta se recubren de alquitrán para evitar la corrosión.
Figura 5. Relación entre el tamaño del anzuelo y la boca del pez.

Como lastre se puede utilizar prácticamente cualquier material que se hunda, por ejemplo, una piedra pequeña, un trozo de acero, un tornillo, una tuerca o cualquier cosa que se pueda atar fáclimente al extremo del la línea. Lo más indicado, no obstante, es utilizar lastres de plomo especialmenter preparados. Si puede conseguir chatarra de plomo y un molde del tamaño y forma adecuado (Figura 6), lo que puede hacer es fundir el plomo y hacerse sus propios lastres.
Los lastres de plomo corrientes (Figura 7) tienen forma redondeada, para evitar que se enganchen en el fondo, un agujero en un extremo, para la linea, y algunas veces una hendidura que se puede recubrir de grasa cuando se desea comprobar cuál es el material de fondo en la zona donde se va a pescar. No obstante, lo más normal es utilizar un lastre distinto para comprobar las condiciones del fondo, en cuyo caso la hendidura que se recubre de grasa es de tamaño bastante grande. Cuando las corrientes o las mareas son fuertes. quizá se necesiten lastres adicionales para aumentar el peso y mantener el cebo en el fondo o en la posición deseada.
Figura 6. Molde para lastres.

Figura 7. Varios lastres de ploma de diferentes formas. El lastre del centro tiente en las base una hendidura que se puede cubrir de grasa para comprobar las condiciones del fondo.

Los grilletes giratorios (Figura 8) se utilizan en los puntos de unión de los diversos elementos de la línea de mano, es decir, para sujetar la brazolada y el lastre a la lastre a la línea madre.
Si no se pueden adquirir localmente grilletes giratorios, lleve este manual al herrero más próximo, preséntele la siguiente ilustración y pídale que le haga varios de ellos.
Los eslabones giratorios deben ser de acero, latón o cobre. Los requisitos más importantes es que sean resistentes y lisos en los puntos de unión, para que giren o se deslicen fácilmente. Para comenzar a montar la línea de mano, tome ésta y sujete uno de los extremos a un carrete o a un mecanismo sencillo de bobinado. Sujete la línea utilizando uno de los nudos que aparecen en la Figura 9.
Figura 8. Diferentes tipos de grilletes giratorios.

A continuación enrolle el bramante a la brazolada.
Luego, con un trozo de bramante, se hace una línea secundaria. No tiene que ser tan fuerte como la línea principal, pero si no tiene un material diferente para la línea secundaria, lo que se puede hacer es cortar tres trozos del extremo de la línea principal. de 60 cm de longitud cada uno de ellos, y utilizarlos como líneas secundarias.
Figura 9. Nudos utilizados para sujetar la linea: a) as de guia para bramante hilado, retorcido o trenzado; b) nudo de pescador japonés para bramante de monofilamento.

Figura 10. Cómo sujetar la línea madre al giratorio del lastre con bramante a) hilado o trenzado o b) de monofilamento.

Sujete el lastre a la línea principal. Para ello, puede utilizar los mismos nudos que usó para fijar el otro extremo a la brazolada, pero conviene dar dos vueltas alrededor de la anilla del eslabón giratorio antes de hacer el nudo. De cualquier forma, hay también otros nudos que pueden ser igualmente útiles. Se trata de una cuestión de preferencia personal (Figura 10).
Para sujetar la línea directamente al lastre, cualquiera que sea el tipo de bramante, utilice uno de los dos nudos de la Figura 11. En cualquier caso, se recomienda colocar un eslabón giratorio cerca del lastre.
Figura 11.. Cómo sujetar la linea madre directamente al lastre.

Figura 12. Lazos para las brazoladas: a) con línea de bramante retorcidoo trenzado; b) con bramante de monofilamento; c) con triple grillete giratorio (la mejor solución).

Para hacer el nudo de la Figura 11a, basta con doblar la línea y hacer medios nudos con la línea doblada para formar un lazo; luego, pase éste a través de la anilla del lastre y por encima de éste y tire fuerte.
Para hacer el nudo de la Figura 11b, haga un lazo con un único medio nudo. Pase el lazo a través de la anilla y por encima del lastre y tire fuerte.
Ahora debe hacer tres lazos en la línea principal, con distancia aproximada de 40 cm entre uno y otro, situando el primero de ellos a unos 30 cm del lastre (Figura 12).
Luego, tome las tres líneas secundarias y sujete los anzuelos a ellas.
Vea la Figura 13 y seleccione el nudo que desee utilizar para sujetar el anzuelo a la línea secundaria (brazolada). Los nudos a, b y c son válidos para todos los tipos de línea, pero cuando se utiliza monofilamento debería dar una o dos vueltas más. Estos nudos pueden utilizarse también para un eslabón giratorio de triple dirección, tanto para la línea principal como la secundaria. Los nudos d y e están especialmente indicados para sujetar el bramante a anzuelos de caña plana (en forma de pala); el d puede utilizarse con líneas de bramante retorcidos o trenzados, y el e en las de monofilamento.
Figura 13. Diferentes lazos para anzuelos.

Finalmente, sujete los otros extremos de las líneas secundarias a los lazos que ha hecho ya en la línea principal, eligiendo entre los nudos que aparecen en la Figura 14. Puede utilizar también los que aparecen en la Figura 10b cuando se trata de líneas de monofilamento.
Figura 14. Nudos para sujetar las brazoladas (líneas secundarias) a los lazos: a), b) con líneas de bramante retorcido o trenzado; c) con línea de monofilamento.

La línea está ya preparada. En la Figura 15 puede verse lo que se ha conseguido hasta ahora.
Figura 15. Juego completo de líneas de mano: a) carrete de madera; b) brazolada unida al lazo de la cuerda madre; c) forma alternativa de sujeción de la brazolada, mediante grillete giratorio; d) sujeción del anzuelo; e) lastre sujeto con grillete giratorio.

En la mayor parte de las comunidades pesqueras es fácil obtener peces pequeños para cebo. Pueden utilizarse con buenos resultados la sardina, anchoa, sardinela, caballa, arenque, calamar y sepia (Figura 16), pero podrían emplearse también otras.
Figura 16. Peces utilizados como cebo: a) caballa; b) arenque; c) sardina; d) anchoa; e) sepia; f) calamar.

Es importante que el cebo sea lo más fresco posible y tenga la dimensión más adecuada para el anzuelo en que se va a colocar y los peces que se desean capturar.
En muchas ocasiones el cebo vivo se captura la tarde anterior a su utilización. En tales casos, debe mantenerse vivo a lo largo de la noche o cubrirse de hielo (Figura 17). Si puede conseguir hielo sin dificultad y a precio razonable, puede cubrir de hielo el cebo ya cargado en la embarcación y así podrá partir antes de que salga el sol a la mañana siguiente. Si tiene problemas para conseguir hielo, conviene que, una vez sacrificado el cebo, lo mantenga bien cubierto, envuelto en una hoja grande y donde no dé el sol.
Figura 17. Cómo mantener el cebo vivo o fresco: a) peces vivos en una red; b) cebo recubierto de hielo en cajas; c) cebo envuelto con grandes hojas para su almacenamiento.

Figura 18. Cómo cortar los peces utilizados para cebo: a) deshacerse de la cabeza y la cola; b) cortar rodajas del tamaño adecuado; c) si el pez es lo bastante grande, cortar desde un punto próximo a la aleta dorsal hacia la cola y d) volver a juntar las dos partes y cortar según el tamaño deseado.

El tamaño del cebo dependerá de las dimensiones del anzuelo, pudiendo cubrir la abertura, el cuello o bien la totalidad de éste.
Cuando comience a cortar el cebo, quite primero la cabeza (Figura 18a), luego trocee el pez como se observa en la Figura 18b. Si el cebo es un pez grande, y lo que se desea capturar son peces de tamaño mediano (mero, pargo o corbina), corte primero el cebo en sentido longitudinal (Figura 18c) antes de reducirlo al tamaño deseado (Figura 18d). Introduzca el cuchillo en el pez cerca de la aleta dorsal y corte hacia delante, apretando el cuchillo lo más que se pueda contra la espina dorsal.
Colocar el cebo en el anzuelo
Acabamos de indicarle cómo puede preparar y cortar el cebo. Ahora aprenderá a colocarlo en el anzuelo.
Cebo vivo. En las Figùra 19 y 20 puede verse cómo se coloca el cebo vivo en el anzuelo.
Cebo muerto. Introduzca la punta y patilla del anzuelo a través del cebo de manera que el seno del anzuelo rodee la espina dorsal del cebo (Figura 21a). Si ha abierto el pez antes de cortarlo para darle el tamaño deseado, los trozos sin espina dorsal deben ensartarse en el anzuelo haciendo pasar la punta y la patilla dos veces a través del cebo, siempre con la patilla en la parte de la piel, como se observa en la Figura 21b.
Si desea capturar peces grandes y utiliza anzuelos de gran tamaño unidos a la cuerda madre con brazoladas metálicas, lo que se puede hacer es ensartar en el anzuelo peces pequeños, como anchoas o sardinas. Primero introduzca el anzuelo por la cabeza del pez utilizado como cebo y luego por el centro del cuerpo, cerca de la espina dorsal, o por los ojos (Figura 22a). Puede utilizarse un método parecido con calamares o sepias (Figura 22b).
Figura 19. Diversos procedimientos para ensartar el cebo vivo.

Figura 20. Cómo ensartar otros tipos de cebo vivo.

Figura 21. Trozos de pescado utilizados como cebo.

Figura 22. Peces o calamares enteros utilizados como cebo.

Señuelos
El cebo natural puede capturarse en la mayor parte de las zonas costeras, pero se trata de una actividad que a veces requiere mucho tiempo y que sólo puede realizarse en determinados momentos del día o períodos del año. Además, el cebo natural debe sustituirse prácticamente cada vez que se captura un pez. De todas formas, la mayor parte de los pescadores están de acuerdo en que el cebo natural es más eficaz que el cebo artificial o que los señuelos. No obstante, estos últimos pueden utilizarse numerosas veces y durante mucho tiempo. Por ello, vale la pena hacer señuelos y comparar las capturas conseguidas con ellos y las que se obtienen con cebo natural.
Como es bien sabido, los señuelos se utilizan cada vez más frecuentemente en la pesca con línea de mano y a la cacea. La principal razón es que con el cebo o señuelo se pueden producir vibraciones y de esa manera se puede atraer a los peces grandes (depredadores) a que ataquen a la causa de la vibración, sobre todo cuando la forma y, quizá, el color del señuelo hacen que parezca cebo vivo.
Las plumas, el plástico, el nailon y el metal ligero pueden contribuir a crear la vibración adecuada para engañar al depredador. Cuando se utiliza señuelo, hay que mover la línea continuamente hacia arriba y hacia abajo para simular lo más posible los movimientos de un cebo vivo.
En la mayor parte de las comunidades pesqueras existen en el mercado numerosas variedades de señuelos (Figura 23), pero cada uno puede fabricarse los suyos. En la Figura 24 pueden verse algunos de los materiales que se pueden utilizar para ello.
Por ejemplo, tome un anzuelo de forma semejante al número 10 de la Figura 4.
Primero, tome un trozo de paño y envuelva con él la caña del anzuelo, sujetándolo después con cable, con una cuerda o con nailon (Figura 25a).
Luego, corte trocitos de bramante de nailon de color, desenrósquelos hasta que se vean los hilos y sujételos al paño en la forma indicada en la Figura 25b. Finalmente, coloque varias plumas sobre el hilo de nailon. Ya está preparado el señuelo (Figura 25c).
En vez del nailon pueden utilizarse también hilos de lana o de algodón, o tiras de plástico en sustitución del paño que cubre el anzuelo.
Hay otros tipos de señuelos sintéticos. Por ejemplo, se puede cortar una tira de cámara de neumático o un trozo de plástico, rodear con él la caña del anzuelo dejando una parte que se extienda por debajo del seno mientras que el otro extremo se sujeta firmemente a la caña y a la anilla. Se pueden también pegar para obtener un tubo largo que luego se ensarta en el anzuelo y se sujeta debidamente (Figura 26).
Figura 23. Diversos tipos de cebo o reclamo artificial.

Figura 24. Materiales que pueden utilizarse como señuelo: a) madera o algodón; b) cabos de fibra, si es posible de color; c) tiras de paño; d) plumas de diferentes aves; e) tiras de plástico, si es posible de color; f) bramante o alambre fino; g) cámara o trozo de una lámina fina de caucho o plástico.

Figura 25. Cómo montar un señuelo.

Cuando se usan cebos artificiales en vez de cebo vivo, conviene frotar el señuelo o los anzuelos con el hígado del primer pez capturado. Ya está en condiciones de pescar con línea utilizando el material fabricado por usted mismo. !Buena suerte!

Figura 26. Señuelo hecho con un trozo de cámara de neumático o de plástico.
Probablemente, usted ya sabe dónde se pueden hacer las mejores captures en la zona donde usted habita. No obstante, conviene tener en cuenta las siguientes advertencias:
Aves
Las aves suelen volar en bandadas y seguir a los bancos de pequeños peces que se encuentran cerca de la superficie (Figura 27). Muchas veces, los grandes peces siguen también a los peces pequeños en aguas algo más profundas y cerca del fondo, para alimentarse de ellos.
Figura 27. Vea si aparecen bandadas de aves junto a la superficie del agua.

Mamíferos
La presencia de numerosos delfines o marsopas o de una sola ballena suele indicar lo mismo que las bandadas de pájaros. Además, muchas veces donde se alimentan los mamáferos suele haber también aves (Figura 28).
Figura 28. Intente localizar delfines, marsopas o ballenas.

Objetos flotantes
Todos los objetos flotantes o a la deriva en el mar abierto pueden convertirse en una especie de dispositivo de agregación de peces. Para más información, puede consultar el libro Cómo fabricar y fondear los dispositivos para la agregación de peces (Colección FAO: Capacitación, N° 15). Si ve ramas o un tronco de árbol flotando en la superficie, pruebe suerte en las inmediaciones, ya que muchas veces los peces pequeños se refugian allí y los peces grandes acuden luego para alimentarse de los pequeños (Figura 29). Intente pescar en distintas profundidades, no sólo cerca de la superficie, ya que los peces grandes suelen nadar a mayor profundidad.
Ondas o cambios de color en la superficie
Observe si se producen ondas o cambios de color en la superficie del mar, ya que ello indicaría alguna modificación en la corriente o en la convergencia de varias de ellas; ello suele coincidir con zonas donde abundan los peces pequeños y el plancton y donde los grandes peces acuden con frecuencia a alimentarse (Figura 30). La corriente asociada a las mareas que se producen alrededor de una pequeña isla o arrecife se encuentra con la que se produce en el lado contrario y forma una especie de turbulencia en el agua. Ello se manifiesta en forma de agitación o de ondas en la superficie. Observe siempre atentamente y compruebe la dirección de la corriente.
Figura 29. Vea si aparecen objetos flotantes.

Material del fondo
Utilice un lastre como el de la Figura 7 y compruebe periódicamente el material del fondo donde está pescando. Al poco tiempo, comprobará que algunas especies prefieren fondos irregulares y rocosos; otras, la tierra y el fango, y otras, finalmente, el coral o las algas.
Aprenderá también que algunas especies que prefieren un tipo de fondo rocoso o de coral pueden abandonar estos lugares aproximadamente durante una hora, cuando la marea se detiene, para alimentarse (Figura 31). Ello se debe a que algunos animales acuáticos que viven en esos lugares con fondo de arena o fango sólo son activos y visibles durante el período de calma entre mareas, y los peces aprovechan ese momento para alimentarse de ellos.
La luna y el sol
Preste siempre atención a la luna y a la relación entre la luna y la fuerza de la corriente. Cuanto más fuerte sea la corriente, más próxima está la luna llena o nueva.
Por norma general, los momentos más adecuados para la pesca con línea de mano son las primeras horas de la mañana y las últimas de la tarde.
Figura 30. Curso de la corriente alrededor de un islote.

Figura 31. Peces desplazándose desde una zona rocosa a otra cubierta de arena o de fango para alimentarse cuando cesan las mareas.

Hasta ahora se han examinado detalladamente todos los factores relacionados con la preparación de la línea de mano. Se ha estudiado la selección de materiales para el cebo y la línea, y cómo y dónde se deben utilizar, pero lo que no se ha mencionado todavía es el conjunto de actividades que podrían describirse colectivamente como pesca. En tierra, ese mismo tipo de actividad se llamaría caza; en ambos casos se requieren conocimientos similares sobre los momentos y lugares más idóneos, pero hay una gran diferencia: el pescador que utiliza una línea de mano no puede ver por debajo de la superficie del mar ni saber exactamente dónde se ha depositado la línea ni si hay peces en el fondo del mar. Tiene que adivinar dónde se encuentran y comprobar si su suposición ha sido correcta tratando de detectar, a través de la línea, si hay realmente peces que se están alimentando. Para ello se requiere muchas veces una buena dosis de paciencia. Un pescador que se limita a depositar la línea en el agua y espera pasivamente a que lleguen los peces quizá consiga pescar algunos pero probablemente las capturas no serán muy abundantes. A continuación se verán algunas de las posibilidades que se ofrecen al pescador que desea cazar activamente sus presas.
Pesca desde la costa
Cuando se intenta pescar desde la costa, desde una escollera o desde un afloramiento de rocas, los resultados podrían mejorarse si se cambia de vez en cuando de lugar. Otros factores que se deben tener en cuenta son el período del año, la hora del día o de la noche, la temperatura del agua, las mareas, las corrientes y la fuerza y dirección del viento.
Por el contrario, cuando se cambia con demasiada frecuencia de lugar mientras se intenta detectar la presencia de peces en búsqueda de alimento es posible que las capturas sean menores que si se espera pacientemente en un lugar fijo (Figura 32). Con la práctica, el pescador conseguirá saber cuánto tiempo debe permanecer en un lugar antes de desplazarse a otro. También aprenderá a identificar cuáles son las condiciones que dificultan la pesca y cuándo no vale la pena perder más tiempo y esfuerzos intentando pescar sin resultados. Quizá, en tales ocasiones, el pescador puede hacer algo más productivo, como preparar nuevos artes de pesca, o dedicarse a la jardinería.
Pesca desde una canoa anclada
Los pescadores de la Figura 33 han elegido un lugar próximo a unas rocas donde sospechan que pueden encontrar peces. En este contexto, podrían ser recomendables las siguientes actividades:
Puede subir y bajar la línea para atraer la atención hacia el cebo.
Puede dejar la línea con cebo muerto en un lugar fijo.
Puede tratar de colocar el cebo en el fondo o suspendido en el agua (cuando la corriente es fuerte se necesitará más peso para mantener el cebo en el fondo).
Debe dejar que la línea se mueva libremente en el agua para notar si pican los peces.
Debe estar preparado para tirar de la línea en el momento en que un pez se haya tragado el cebo.
Debe tratar de localizar si hay peces que buscan alimento, si hay corrientes o mareas, etc.
Debe comprobar y renovar el cebo con frecuencia.
Puede cambiar de lugar si las circunstancias lo aconsejan.
Puede utilizar un flotador de superficie (en caso de que intente pescar en aguas relativamente profundas o en el fondo).
Cuando se sube y baja la línea quizá convenga utilizar plumas y calamareras.
Figura 32. Pesca con línea desde la costa.

Figura 33. Pesca con línea desde una canoa anclada.

No olvide que moviendo la línea hacia arriba y hacia abajo puede ayudar a los peces a detectar el cebo y a picar. Por otra parte, también es verdad que los tirones pueden molestar a los peces. La experiencia determinará qué método es el más indicado. Cuando se pesca en profundidades intermedias, se puede utilizar un ancla flotante (ancla de deriva) en lugar de un ancla convencional. En la Parte II (Figuras 73a 75) se explica cómo se puede hacer un ancla elemental para la pesca tanto con línea como con calamarera.
Pesca desde una canoa a la deriva
Cuando se pesca desde una canoa a la deriva (Figura 34) las actividades recomendadas son las siguientes:
Puede sujetar pasivamente la línea, comprobando al tacto que el lastre se mueve por el fondo.
Puede utilizar cebo vivo.
Cuando el suelo sea irregular, compruebe al tacto que el lastre toca el fondo, y tire de la línea para evitar que aquél se enganche en las irregularidades del terreno (debe tratar de adivinar la altura de las rocas u obstáculos).
Figura 34. Pesca con línea desde una canoa a la deriva.

Pesca desde una canoa de vela
El pescador de la Figura 35 puede ver los cardúmenes de peces en la superficie. Cabe suponer también que habrá otros peces que nadan por debajo de la superficie, a veces a profundidades considerables. En el caso de la pesca del tiburón, una forma de atraerlos es chapotear en el agua.
Tenga en cuenta que la distancia entre la superficie y el lastre puede modificarse de acuerdo con la profundidad a que se encuentran los peces, según haya podido comprobar o adivinar el pescador. El cebo utilizado debe ser de tamaño, forma y comportamiento bastante semejante a los peces que sirven de alimento a los ejemplares que se quieren capturar; de lo contrario, éstos no le prestan atención.
Figura 35. Pesca a la cacea desde una canoa de vela.

Para pescar hay que saber cuál es el momento indicado para tirar de la línea y clavar el anzuelo firmemente en la boca del pez. En la Figura 36 puede verse en forma gráfica lo que ocurre por debajo del agua cuando el pez encuentra el cebo.
Primero, el depredador se aproxima el cebo vivo (Figura 36a). Luego lo inmoviliza mordiendo al pez en la espina dorsal (Figura 36b). Obsérvese que el anzuelo está todavía lejos de la boca del pez. No obstante, el pescador notará que éste ha mordido el cebo. Luego, el depredador aroja el cebo de la boca para volverlo a coger por la cabeza en dirección contraria (Figura 36c). Ahora es cuando se traga el cebo (Figura 36d); las aletas dorsales se doblan y pueden pasar a través de la garganta del depredador. Este es el momento de tirar de la línea para efectuar la captura. Si lo hace en b o en c, el pez se escapará.
Conviene saber el comportamiento del pez ante el cebo para tirar de la línea en el momento justo. Una forma de aprender es observar en cada tipo de pez cuál es el lugar donde aparece alojado el anzuelo.
No todos los peces se comportan de la misma manera ante el cebo. He aquí otras posibles reacciones:
Los peces pequeños mordisquean el cebo cuando les resulta demasiado grande y no pueden tragarlo entero. En tal caso, reduzca el tamaño del cebo y el anzuelo y trate de pescar peces menores o mantenga el cebo como antes en la esperanza que lleguen peces mayores. Los peces pequeños que mordisquean el cebo pueden atraer la atención de otros de mayor tamaño.
Algunos peces se lanzan sobre el cebo sin ningún tipo de exploración previa.
Algunos peces, por ejemplo las lizas, tienen la boca blanda. Poreso, aunque a veces muerdan el cebo, es difícil cobrarlos con una línea de mano, ya que el anzuelo se sale. No obstante, si lo que se desea capturar es precisamente este tipo de peces, se puede utilizar un anzuelo mucho más pequeño que penetra hasta el esófago, donde se sujeta y permite tirar de la presa. Esta técnica puede utilizarse para capturar peces mucho mayores, pero el anzuelo debe ser del material más fuerte disponible.
Figura 36. Reacción de un pez ante el cebo vivo.

En la Figura 37 puede verse cuál es la forma más indicada de manejar la línea. Como se observa en los dibujos, conviene darle media vuelta en la mano para sujetarla mejor y evitar que se escape cuando comience a tirar de ella. Una vez que el pez ha mordido el anzuelo, tire de la línea de forma continuada hasta que el pez se encuentre cerca de la superficie. Entonces, si le parece que el anzuelo no está bien sujeto o que se trata de un ejemplar grande, utilice un arpón o salabardo para sacar el pez del agua (Figura 38).
Tenga en cuenta que los peces de dientes afilados pueden tratar de girar la cabeza para cortar la línea, por lo que ésta debe mantenerse tirante. De esa manera, la cabeza del pez se mantiene erguida y se evita que corte la línea con los dientes. Cuando la línea está floja, es posible que el pez se libere del anzuelo y lo arroje.
El salabardo y el garfio ilustrados en la Figura 38 son fáciles de hacer. La red la puede tejer usted mismo o cortar un paño de red con la luz adecuada y darle la forma requerida. La barra de hierro de 6 a 8 mm de diámetro es fácil de doblar, pero si se utiliza una de mayor grosor, por ejemplo de 10 a 12 mm de diámetro, hay que calentarla antes de intentar doblarla. El mango (de madera) de los arpones y la ranura para el eje del gancho son fáciles de hacer, pero éste último deberá hacerlo un herrero. Otra posibilidad es utilizar un anzuelo grande y quitarle las puntas.
Figura 37. Cómo se maneja la linea de mano.

Figura 38. a) Salabardo; b) arpón para peces pequeños; c) arpón para peces grandes.

Siempre es importante cuidar bien los artes de pesca, por muy elementales que sean. No deje nunca las líneas ni los anzuelos esparcidos a bordo de la embarcación ni en ningún otro sitio. Los anzuelos e incluso las líneas tiradas en el suelo pueden provocar graves daños. Busque o hágase un carrete o un instrumento parecido para enrollar la línea, por ejemplo, un trozo de bambú grueso o de madera que pueda alisar con una navaja, un pequeño carrete de madera o una botella o recipiente de plástico vacío (Figura 39).
Si alguna vez se le llega a clavar un anzuelo en el dedo, recuerde que no debe tirar de él e intentar sacarlo por donde entró. La mejor manera de quitar el anzuelo es cortar la anilla y la línea de la caña y empujar el anzuelo y la punta para que atraviesen el dedo y salgan por el otro lado. Se trata de una intervención muy dolorosa, por lo que ès mejor prestar la debida atención a las precauciones de seguridad.
Figura 39. Carretes sencillos para rebobinar y almacenar la línea: a) tallado de un trozo de madera; b) botella de plástico; c) carrete de madera; d) palo de madera; e) carrete plano.

Un carrete es un dispositivo en el que se enrollan y almacenan las líneas de pesca. El diseño y dimensiones de cada carrete pueden variar según el tipo de pesca, las dimensiones de la línea y la profundidad a que se va a pescar.
A continuación se enseñará a hacer dos tipos de carrete de fácil construcción.
Carrete de madera
Primero se indicará cómo se puede construir un carrete sencillo y barato de madera preferiblemente dura. Necesitará usted los siguientes materiales (Figura 40):
Fuste de madera, de 100×100 mm, de aproximadamente 200 mm de longitud (Figura 40a).
Dos pestañas, de madera, de 400 mm de diámetro y 20 mm de grosor (Figura 40b).
Eje, de madera dura de 300 mm de diámetro y 70 mm de grosor (Figura 40c).
Dos pernos, de 20 mm de diámetro y 250 mm de longitud, y cuatro tuercas (Figura 40d).
Un perno, de 12 mm de diámetro y 240 mm de longitud; una tuerca (Figura 40e).
Mango, de forma redondeada, de 120 mm de longitud y 40 mm de diámetro con un agujero central de 13 mm (Figura 40f).
Freno, de madera (no dura), de 500 mm de longitud, 115 mm de anchura y 50 mm de grosor (Figura 40g).
Soporte, de madera dura, de 40 × 40 mm y 800 mm de longitud (Figura 40h).
Pequeño bloque de plástico, hierro o bronce (Figura 40i).
Cámara de neumático de automóvil que actuará como amortiguador (Figura 40j).
Dieciséis tornillos helicoidales, de cabeza plana, de 5 × 60 mm (Figura 40k).
Un perno, de 12 mm de diámetro y 190 mm de longitud (Figura 40l).
Arandelas, de 40 y 60 mm de diámetro con un agujero central de 12 y 20 mm, de acero, plástico o madera contrachapada.
Figura 40. Carrete de madera.

Preparación del carrete. Compruebe que las pestañas (Figura 40b) y el cubo (Figura 40c) son redondos y uniformes. Alise los bordes con una lima plana y marque el centro. Luego haga un agujero de 20 mm de diámetro que atraviese el centro de las tres piezas, una por una, utilizando una regla para taladrar en vertical (Figura 41).
Pase el perno de 20 mm de diámetro por los agujeros de las pestañas y el cubo, con éste en el medio. Atornille las pestañas al cubo utilizando los dieciséis tornillos de cabeza plana (Figura 40k), ocho en cada lado. Para ello, marque el punto donde deberán ir los agujeros correspondientes, como se indica en la Figura 42, y perfore con una broca de 4 mm de diámetro, para poder introducir fácilmente los tornillos. Ya está preparado el carrete (Figura 43).
Figura 41. Para taladrar los agujeros del centro en el lugar deseado utillice una escuadra.

Figura 42. Marcar y perforar los agujeros donde se introducirán los tornillos de cabeza plana de 5 × 60 mm. (Nota: La figura no estáa escala, es decir, el cubo es de 300 mm y la pestaña es de 400 mm de diámetro.)

Figura 43. Carrete terminado.

Mango. A continuación se coloca el mango (Figura 40f) del carrete, como se observa en la Figura 44.
Primero haga un agujero de 12 mm de diámetro, exactamente a 250 mm del centro de la rueda. Utilice de nuevo la regla para. comprobar la vertical (véase la Figura 41). Ahora pase el perno de 240 mm de longitud y 12 mm de diámetro (Figura 40e) a través del agujero sin provocar daños en la rosca, comprobando que encaja debidamente. Luego haga una hendidura para que la tuerca se introduzca en el carrete.
Coloque arandelas en ambos lados del mango antes de atornillar la tuerca, pero comprobando que el mango sigue girando sin problemas.
Figura 44. Cómo colocar el mango en el carrete.

Bloque guía, soporte y freno. Tome el fuste principal, de 10 × 10 × 200 cm (Figura 40a), y mida y marque la posición de los agujeros exactamente como se indica en la Figura 45. Haga los agujeros utilizando la escuadra para comprobar la vertical.
Ahora, ponga un punto de sujeción para la cámara de neumático (Figura 40j) en la parte superior del fuste. Puede atar una cuerda o utillizar un perno de anilla o simplemente quitar la cabeza a un clavo grande, doblarlo en forma de U y clavarlo en la parte superior.
Figura 45. El fuste.

Luego, tome el soporte, de 40 × 40 × 800 mm (Figura 40h), y redondee uno de los extremos como se observa en la Figura 46.
Señale la posición donde irá el agujero, es decir, en el centro a 4,5 cm del extremo redondeado. Haga un agujero de 12 mm, sirviéndose de la escuadra para taladrar en línea recta. Si tiene un perno del tamaño adecuado para la polea que irá en el otro extremo, perfore también una agujero para el mismo; de lo contrario, utilice una cuerda o un clavo grande como hizo anteriormente cuando preparó el extremo superior del fuste.
Ahora puede ya montar las diferentes partes.
Figura 46. El soporte.

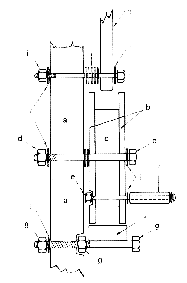
Figura 47. Montaje del carrete: a) fuste; b) pestañas del carrete; c) cubo; d) perno de 20 mm de diámetro con tuerca; e) perno de 12 mm de diámetro con tuerca; f) mango de madera, con agujero central de 13 mm; g) perno de 20 mm de diámetro con dos tuercas, para el frenado; h) soporte de 4 × 4 × 80 cm; i) pernó de 12 mm de diámetro con tuerca; j) arandelas; k) freno.

Mantaje. En la Figura 47 puede verse la sección transversal de un carrete, soporte y tope debidamente montados. La operación se lleva a cabo como sigue:
Primero, monte el carrete. Coloque una arandela (Figura 47j) junto a la cabeza del perno (Figura 47d), introduzca cuatro o cinco arandelas entre el carrete y el fuste principal y una o dos arandelas por delante de la tuerca (Figura 47d). Apriete la tuerca pero de manera que el carrete siga girando suavemente y coloque una tuerca de seguridad, si fuera necesario. Luego coloque el tope (Figura 47h), utilizando arandelas para rellenar el espacio entre el fuste (Figura 47a) y el tope, hasta que éste quede en línea con el eje del carrete (Figura 47c). Apriete bien la tuerca (Figura 47i). Finalmente monte el perno del tope (Figura 47g) como seindica en la ilustración, pero antes de pasar el perno por el agujero haga una pequeña hendidura en el lado interior del fuste para embutir la tuerca. Compruebe también que la rosca es lo bastante larga; si no, utilice una terraja de 20 mm para prolongarla.
Figura 48. Instalación del carrete en una pequeña embarcación.

Ahora, sólo queda cortar la cámara de neumático para darle el tamaño adecuado y colocarla en la parte superior del fuste y del soporte (véase la Figura 40j).
Ahora puede llevar el carrete a su embarcación y colocarlo de tal manera que pueda manejarlo fácilmente (Figuras 48 y 49). Móntelo o atorníllelo en la amurada y en la cuaderna de la embarcación. Conviene colocar los anclajes de manera que se pueda quitar fácilmente el carrete cuando no se está pescando.
Figura 49. Instalación del carrete en una canoa.

Otro tipo de carrete
Puede hacerse también un carrete de madera o de contrachapado para buques, pero en este caso con un soporte y una base de acero inoxidable, bronce o acero galvanizado.
Cubo y pestañas. Primero, haga el cubo (Figura 50a). Debe buscar un trozo de madera o de contrachapado de 70 mm (7 cm) de grosor y lo bastante ancho como para poder obtener un cilindro de 300 mm (30 cm) de diámetro. El cubo se puede hacer también con trozos de madera contrachapada debidamente ensamblados hasta conseguir las medidas indicadas. En ese caso, debe alisar los bordes para que todos los trozos sean exactamente del mismo tamaño.
Las pestañas (Figura 50b) se hacen con el mismo material, es decir, madera o contrachapado, pero deben ser más anchas y más finas que el cubo. Cada una de las dos pestañas debe medir 400 mm de diámetro y 15 mm de grosor.
Ahora puede montar el cubo y las pestañas como se indica en la Figura 51. Utilice 16 tornillos de cabeza plana de 5 mm de diámetro y 60 mm de longitud, ocho en cada lado. Después de atornillar el cubo y las pestañas, haga un agujero de 20 mm de anchura justo en el centro para colocar el eje. Luego haga otro agujero de 12 mm de diámetro en un punto situado exactamente a 230 mm del agujero central. Utilice la misma técnica explicada anteriormente para marcar y taladrar los agujeros.
Figura 50. a) Cubo y b) pestañas.

Eje del mango. Para hacer el eje del mango utilice una barra de acero inoxidable, bronce o acero galvanizado de 12 mm de diámetro. Si es posible, tornee la rosca con un torno o utilice una terraja de 12 mm (Figura 52). Otra posibilidad sería utilizar un perno de acero galvanizado con cabeza.
Figura 51. Tambor del carrete.

Ahora puede hacer el mango (Figura 53). Debe ser de madera dura de formas redondeadas, de 120 mm de longitud y 35 a 40 mm de anchura, con un agujero central de 13 mm de diámetro.
Para montar el mango necesita el siguiente material:
Tres tuercas de 12 mm de diámetro (acero inoxidable, bronce o acero galvanizado).
Dos arandelas de 12 mm de diámetro.
Ahora puede montar ya el eje del mango.
Figura 52. Eje del mango.

Figura 53. Mango de madera.

Eje del carrete. Para hacer el eje del carrete (Figura 54) necesita una barra de acero inoxidable, bronce o acero galvanizado de 20 mm de diámetro. Lo mismo que en el caso anterior tornee las roscas con un torno o utilice una terraja de 20 mm. Puede utilizar también un perno de acero galvanizado, si encuentra uno lo bastante largo, y luego tornear la rosca utilizando una terraja de 20 mm. A continuación, haga un agujero de 4 mm de diámetro junto a la cabeza del perno para introducir el pasador hendido y quite la cabeza con una sierra para metales.
Arandelas. Ahora debe hacer varias arandelas de acero o de fibra de vidrio cortando y perforando hsta conseguir los tamaños indicados en la Figura 55. Quite todos los bordes afilados con una lima.
Se pueden utilizar como espaciadores arandelas de contrachapado, pero a uno y otro lado del contrachapado deben colocarse arandelas de metal o de fibra de vidrio para reducir el desgaste y la fricción. Las arandelas de contrachapado, si se utilizan, deben ser de mayor tamaño, 150 mm de diámetro.
Figura 54. Eje del carrete.

Soporte y base. El soporte está formado por una barra de acero inoxidable, bronce o acero galvanizado en forma de L, a la que se suelda otra barra de acero de 130 mm de longitud y 20 mm de diámetro (Figura 56). La barra en forma de L tiene 80 mm de anchura y 10 mm de grosor. La parte más larga mide 240 mm y la más corta 90 mm. El agujero para el eje del carrete debe tener 20 mm de diámetro.
La base se hace con un tubo de acero galvanizado de 24 mm, tal como se indica en el dibujo. El tornillo de sujeción y el perno deben ser de material fuerte y sólido.
Ahora puede ya montar el carrete.
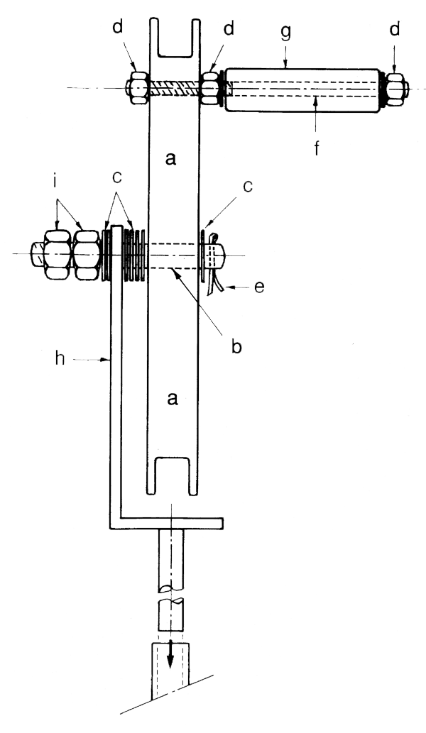
Montaje. En la Figura 57 puede verse una sección transversal central del carrete ya montado.
Pase el eje del carrete a través de la rueda e introduzca las arandelas necesarias (Figura 57c); luego coloque el pasador (Figura 57e) en su lugar. Coloque la rueda (Figura 57a) en el soporte (Figura 57h), introduzca las arandelas necesarias (Figura 57c) y coloque las dos tuercas de 20 mm de diámetro (Figura 57i). La tuerca interior hace de freno de la rueda cuando se aprieta y la exterior funciona como tope. Utilice una llave fija para apretar y soltar las tuercas, según que convenga frenar o soltar, y sujétela con una cuerda o bramante a la base (Figura 58).
Figura 55. Arandelas.

Figura 56. Soporte y base del carrete.

Figura 57. Sección transversal del montaje del carrete: a) rueda; b) eje principal, de 20 mm de diámetro; c) arandelas de fibra de vidrio o láminas de acero, de 24 mm de grosor; d) tres tuecas, de 12 mm de diámetro interno; e) pasador hendido, de 4 mm de diámetro; f) eje del mango, de 12 mm de diámetro; g) mango de madera, de 120 x 35, y 13 mm de diámetro; h) soporte, de 240 x 80 x 10 mm; i) dos tuercas, diámetro interno de 20 mm.

Figura 58. Carrete montado y base.

Después de enrollar la línea, con los anzuelos y grilletes giratorios, en el carrete (Figura 59), móntelo en la embarcación. Ahora ya puede pescar.
Figura 59. El carrete, listo para la pesca.
