
All three assessments: the climatic suitability, the edaphic suitability and the soil erosion hazard, are required to determine the ecological land suitability for fuelwood production of each climate-soil unit of the land resources inventory. In essence the land suitability assessment takes account of all the inventoried attributes of land and compares them with the requirements of the fuelwood species, to give an easy to understand picture of the suitability of land for the production of fuelwood.
The results of the land suitability assessment can be presented using five basic suitability classes, each linked to attainable yields (mean annual increment) for the three levels of inputs considered. For each level of inputs, the land suitability classes are: very suitable (VS) - 80% or more of the maximum attainable yield; suitable (S) - 60% to less than 80% of the maximum attainable yield; moderately suitable (MS) - 40% to less than 60% of the maximum attainable yields; marginally suitable (mS) - 20% to less than 40%; and not suitable (NS) - less than 20%.
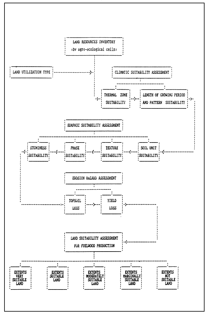
Land suitability assessment can be achieved by applying the program illustrated in Figure 10.1. The assessment is carried out separately for each species and level of inputs.
Firstly, the temperature requirements of the species with regard to photosynthesis and phenology are compared with the prevailing temperature conditions of each thermal zone. If they do do not accord, all the growing period zones in that thermal zone are classified as not suitable. If the temperature conditions of a thermal zone do partially or fully accord with the species thermal requirements, all growing period zones in that thermal zone are considered for further suitability assessment according to the thermal zone rating.
This further assessment comprises application of length of growing period suitability to the computed areas of the various growing period zones by LGP-Pattern zone. Thus if the thermal zone rating of a particular growing period zone is S1, then potential yield biomass value for the growing period zone is not modified. If the thermal zone rating of the growing period zone is S3, then the potential yield biomass value for the computed extents of the period zone is decreased by 50%. The thermal and moisture suitability assessments are described in Section 6.
The length of growing period suitability is applied according to the LGP-Pattern make up. All species are matched to the total length of growing period, i.e. L1, L2, L3 and L4. The LGP-Pattern evaluation for each species is achieved by taking into account the constituent component total lengths of each LGP-Pattern, thus providing a profile of variability in potential yields over time (e.g. average yield, maximum yield, minimum yield).

The next step is an appraisal of the soil units present in each growing period zone. The rating of soil units, for the species and level of inputs under consideration, is applied to the computed area of the growing period zone occupied by each soil unit. The appraisal, undertaken on the basis of the soil ratings as described in Section 8, leads to modifications of the climatic suitability assessment and the attainable biomass yield. Subsequently, the ratings for the different soil textures, phases and stoniness are applied consecutively.
Finally, limitations imposed by slope are taken into account to arrive at the final land suitability appraisal for the species, for the level of inputs under consideration.
The five classes of land suitabilities are related to attainable yield as a percentage of the maximum attainable under the optimum climatic, edaphic and landform conditions, and so provide an assessment of fuelwood productivity potential of each land unit for calculation of the rainfed production potential of any given area in Kenya.
The generalized results of land suitability assessment for Eucalyptus camaldulensis at intermediate level of inputs are presented in Figure 10.2. Land suitability results for all fuelwood species are presented in Technical Annex 1.8.
Within the overall population supporting capacity model, the fuelwood productivity model is interphased with crop and livestock productivity models. The interphase in essence allows the possibility of considering:
fuelwood production on land assessed as not suitable for crops;
any portion of crop land for fuelwood production depending on how much land is required for other land uses to meet demand; and
fodder from fuelwood trees for livestock production.
Any land which is allocated to fuelwood production with species that offers palatable foliage would have the potential of contributing a portion of this foliage to fodder for livestock production.
Fuelwood species which offer palatable fodder for livestock are listed in Table 4.1. The amount of fodder which cam be utilized by stock without affecting fuelwood yields would depend on the species and ecological situation. However, at this stage of the model interphase developement, it is assumed that about 10 % of the foliage may be utilized by stock without affecting fuelwood yields. The nominal foliage utilization coefficient values may be modified as appropriate for each species and environment.