Influence of cropping techniques
[Plate 17]
It is increasingly clear that the condition of the soil surface plays a major role in reducing runoff and soil loss.
There are two complementary approaches to improving surface condition. The first has been seen: covering the soil, planting early and densely, possibly using fertilizer, and also keeping the surface covered by stubble and other crop residues.
The second approach concerns tillage, and will be developed in the present subsection. It entails keeping the soil surface rough, increasing aeration and macroporosity, and improving root development, while working to control weeds and digging in organic residues to improve the organic status and structural stability of the soil. Lastly, contour cropping and ridging, if possible using tied ridges, can slow or even halt runoff on the soil surface. Although such techniques are mechanical means of reducing runoff, tilling the soil also encourages the development of roots and hence of plant cover, which means that these methods combine both mechanical and biological aspects.
EFFECT OF DEEP TILLAGE
Preliminary work on tropical ferruginous soil at Gampela in Burkina Faso (Birot et al. 1968) showed that tillage temporarily reduces runoff and erosion, but increases detachability and hence the long-term erosion risk, even on relatively gentle slopes.
Table 19 shows the effect of tillage with a cultivator on erosion at the ORSTOM Adiopodoumé Centre (7% slope, highly desaturated sandy ferralitic soil). Increased erosion and reduced runoff are observed on a bare tilled plot. Erosion increases despite a reduction in runoff after tillage (sandy ferralitic soil).
Tillage temporarily increases the porosity of the material but reduces its cohesiveness. Table 20 gives the various readings for erosion under rainfall for dates before and after tillage (tillage date 9 April 1971) on three bare plots with 4, 7 and 20% slopes.
Runoff is nil for three weeks when rainfall is 87 mm, increasing again sharply on the gentle slope wherever the surface has been smoothed, but much more gradually on the steep -slope. Tillage slows down runoff for 50 days (corresponding to rainfall of 170 mm).
TABLE 19
Effect of tilling with a
hoe (Adiopodoumé 7% slope) (cf. Roose 1973)
Rainfall = 605 mm |
E t/ha |
Average KR % |
Maximum KR. % |
Bare, flat, compacted soil |
15.3 |
27 |
54 |
Bare soil, flat-filled to a depth
of 15 cm |
26.6 |
11 |
48 |
TABLE 20
Effect of tillage
followed by harrowing on runoff (%), erosion (t/ha) and turbidity
(g/m³) on bare plots (Adiopodoumé 1971 season) (cf. Roose
1973)
Date |
Rainfall |
Runoff % |
Erosion kg/ha |
Turbidity g/m³ |
|||||||
mm |
Erosivity |
||||||||||
Slope |
4,5% |
7% |
20% |
4.5% |
7% |
20% |
4.5% |
7% |
20% |
||
30.3 |
31.0 |
30.5 |
79.0 |
64.1 |
44.2 |
2494 |
4793 |
30284 |
273 |
664 |
1225 |
6.4 |
36.0 |
17.4 |
48.7 |
53.6 |
12.1 |
1003 |
2250 |
4795 |
23 |
47 |
110 |
9.4 |
tillage then levelling of
all plots ended on 13 April |
||||||||||
10.4 |
37.0 |
16.6 |
0 |
0 |
0 |
0 |
0 |
0 |
0 |
0 |
0 |
19.4 |
5.5 |
- |
0 |
0 |
0 |
0 |
0 |
0 |
0 |
0 |
0 |
22.4 |
12.5 |
1.4 |
0 |
0 |
0 |
0 |
0 |
0 |
0 |
0 |
0 |
26.4 |
5.5 |
- |
0 |
0 |
0 |
0 |
0 |
0 |
0 |
0 |
0 |
3.5 |
27.0 |
12.0 |
0 |
0 |
0 |
0 |
0 |
0 |
0 |
0 |
0 |
4.5 |
17.0 |
8.1 |
37.3 |
13.5 |
3.3 |
946 |
145 |
383 |
4281 |
5502 |
8562 |
10.5 |
17.5 |
1.0 |
31.6 |
17.6 |
2.7 |
543 |
549 |
379 |
1492 |
1796 |
4320 |
15.5 |
24.0 |
12.2 |
37.8 |
20.3 |
6.4 |
878 |
676 |
2316 |
624 |
2719 |
2467 |
21.5 |
23.5 |
10.8 |
53.8 |
30.1 |
6.3 |
989 |
859 |
2031 |
678 |
1483 |
3992 |
29.5 |
35.0 |
17.3 |
46.9 |
34.8 |
15.2 |
1708 |
3074 |
23278 |
810 |
784 |
968 |
Erosion cannot really be measured since runoff is nil, although rainfall impact clearly plays a short-term role inasmuch as the surface starts off cloddy and open but becomes smooth and sealed after four to six weeks (splash effect on clods and sedimentation in the lower parts). After 50 days erosion becomes exceptionally high, then falls after two months following compaction and crusting of the surface. It would seem that tillage has a longer-lasting effect on a steep slope than on a gentler slope, but when runoff does start up again, erosion becomes much greater on steep slopes because of the high energy of runoff.
Turbidity of runoff water (fine suspended load) is slight during the dry season (when the soil is crusted) but increases sharply when the first heavy rains come after tillage (the load is 10 to 100 times heavier), then gradually decreases as a smooth, sealed surface is reformed. To sum up, on this sandy ferralitic soil, since tillage with a cultivator to a depth of 15 cm leaves the surface cloddy, it can allow total absorption of rains of 45 to 80 mm, and its moderating action on erosion and runoff can be felt for three to five weeks (corresponding to 50 to 190 mm of rain) on a bare plot.
TABLE 21
Reaction to rainfall as
a function of the method of preparing a bare ferralitic gravelly
soil (CIRAD,
Bouaké) (cf. Kalms
1975)
Year |
Rainfall |
Runoff (annual %) from
erosive rainfall |
Erosion (t/ha/yr) |
Turbidity (mg/l) |
||||||||||
(mm) |
RUSA |
P |
P + H |
H |
O |
P |
P + H |
H |
O |
P |
P + H |
H |
O |
|
1971 |
1345 |
523 |
34 |
32 |
35 |
(41) |
11.5 |
14.9 |
12.9 |
- |
- |
- |
- |
- |
1972 |
965 |
329 |
37 |
34 |
37 |
42 |
19.7 |
11.0 |
25.0 |
17.9 |
- |
- |
- |
- |
1973 |
959 |
352 |
35 |
40 |
47 |
49 |
17.6 |
9.3 |
48.6 |
41.1 |
690 |
730 |
680 |
210 |
1974 |
1121 |
464 |
31 |
31 |
36 |
45 |
12.2 |
11.2 |
43.8 |
51.9 |
580 |
340 |
570 |
260 |
P = Ploughing
H = Harrowing
O = No-till
These results obtained in southern Côte d'Ivoire on ferralitic soils and bare plots would seem to militate against tillage, for the benefits in terms of infiltration last only one month, and at the end of the year soil losses are greater on tilled soil (25% more than on compacted soil). However, it is important to remember the interaction between the effects of tillage (temporary improvement of porosity) and plant growth (better rooting = better plant cover).
Another very instructive test on the effects of tillage was carried out by CIRAD at the central Côte d'Ivoire Bouaké Centre on plots of modified sandy ferralitic soil with a gravel horizon at a depth of about 30 cm (Kalms 1975). For four years comparisons were made of the reaction to rainfall of a bare gravelly soil worked twice a year in four different ways, although always in the same direction as the slope: tillage to 25 cm with a mouldboard plough (P), similar tillage followed by a light harrowing (P + H), surface harrowing to 5 to 10 cm (H) and no-till (O) (Table 21).
Tillage (deep or even shallow) improved infiltration: runoff is always greatest on untilled, bare soil, and the difference is even more marked when only the erosive rains that took place after tillage are considered. On the other hand, erosion changes over time, but from the third year onwards it is decidedly less on the bare ploughed and harrowed soil than on the bare soil that was tilled only shallowly or not at all. Tillage clearly increases the fine suspended load in runoff. The gravel turned up by tillage can be seen on the surface of the ground (gravel content: 10 to 13% without tillage, 22 to 28% with tillage). On such gravelly ferralitic soil in Bouaké, tillage therefore increases infiltration and reduces erosion by bringing gravel up to the surface, which then acts as a mulch, protecting the soil surface.
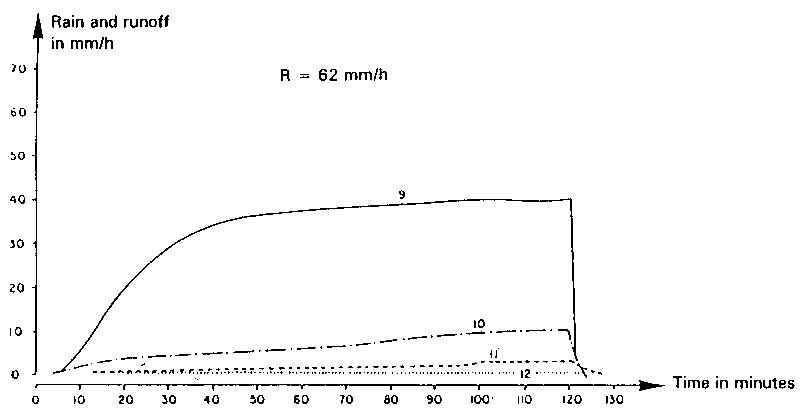
These two tests were carried out on bare soils, but what happens when the interactions between soil preparation and plant growth, and their effect on erosion are considered? Recall first the measurements of erosion and runoff under pineapple as a function of cropping techniques at Adiopodoumé on 4, 7 and 20% slopes (Table 11). Average runoff on bare soil was 36%. With plant cover of pineapple and burnt residues, it was cut to 6.4%. When residues were turned in, resulting in improved soil structure, runoff was no more than 2%, and when residues were left on the surface as a mulch, runoff was less than 1%. In this latter case, even on a soil that has not been tilled, infiltration is good because of the effect of mulching. So far as erosion was concerned, losses of 200 t/ha/yr were seen on bare soil, 25 t/ha/yr on burnt residues, 12 t/ha/yr on turned-in residues, and a mere 0.4 t/ha/yr when residues were left on the surface. This indicates that tillage combined with pineapple cover considerably reduces erosion; turning in residues improves soil structure, fosters infiltration and reduces erosion by another 50%, but non-tillage, this time combined with a cover of crop residues, cuts runoff and erosion to negligible levels.
In Nigeria (the IITA Ibadan Station), Lal (1975) considers erosion risks on bare soil after tillage to be so great - following structural degradation of the topsoil - that he recommends minimum tillage and even this confined to the planting line, while the space between is covered with residues from the previous crop. This method of minimum tillage combined with mulching can bring problems with weed- and pest-control, so that yields are not always the best in years with the right amounts of rainwater. However, when rainfall is insufficient or poorly distributed, more sustainable production is assured by improved infiltration, limitation of erosion loss, maintenance of structure at its original level, increased activity of mesofauna (especially earthworms) and an improved heat regime.
On the other hand, on sandy tropical ferruginous soils in the dry tropical regions of Senegal, Charreau and Nicou (1971a, b) showed that without deep tillage, yields are halved since water supplies are inadequate, the root network is not sufficiently developed, and rainwater infiltrates poorly into these soils which are sensitive to rain splash, which puts back the sowing date. Charreau (1969) observed that if organic matter is ploughed in during a rough tillage at the end of the cropping cycle, prior to the dry season, structural stability and infiltration are both improved, thus reducing erosion problems.
The numerous trials carried out since 1975 by Asseline, Collinet, Lafforgue, Roose and Valentin under simulated rainfall confirm:
the very temporary improvement in infiltration as a result of tillage: after 120 mm of rain, there is practically no trace of this improvement on any of the soils tested at Adiopodoumé Centre and in Burkina Faso;
the increase in the fine suspended load in runoff after tillage;
the extremely beneficial and lasting effect for soil and water conservation of plant cover and of leaving crop residues on the surface;
the very marked but temporary effect of tied ridging and other methods aimed at increasing the roughness of the soil (Lafforgue and Naah 1976; Roose and Asseline 1978; Collinet and Lafforgue 1979; Collinet and Valentin 1979).
At Bidi, on sandy-clayey soil, tillage increases both infiltration and yields (+ 50 to 100%) in the first years, but quickly exhausts and weakens the soil, so that after three years erosion increases and yields fall.
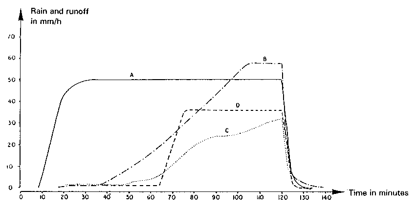
Simulated rainfall experiments were conducted around Lake Bam in Burkina Faso comparing a slaking soil with a rough tilled soil, covered and not covered with a mulch, with tied ridging. Figure 29 gives the measurements under simulated rainfall of 62 mm/in for two hours on ferruginous soils in the dry tropical region north of Ouagadougou. These confirm:
poor infiltration of end-of-dry-season storms falling on a crusted soil;
infiltration reduced to 36 mm;
the positive but temporary effect of tillage, which delays runoff and allows 82 mm of infiltration;
the very positive effect of tillage followed by mulching, which allows 104 mm of infiltration;
the very positive effect of tied ridging, which allows the first 60 mm of rain to infiltrate, and then maintains an overall level of penetration that is always higher than in any other case; whatever the technique proposed, it is effective only to the extent that it lastingly eliminates the thin slaked surface which to a large extent governs the water dynamics in the profile unless a warped horizon is found close to the surface (Collinet and Lafforgue 1979).
FIGURE
29
Runoff as a function of
soil surface conditions and cropping techniques under a simulated
rainstorm of 62 mm/in for two hours
POUNI (slope 1%)

Runoff coeff. % |
Max. runoff mm/in |
Infiltration mm |
|
A |
71 |
50 |
36 |
B |
33.5 |
58 |
82 |
C |
16 |
29 |
104 |
D |
22 |
36 |
97 |
A = Bare untilled soil
B = Bare tilled soil
C = Mulched tilled soil
D = Bare ridged tied soil
ADIOPODOUME (slope 20%)

Runoff coeff. % |
Max. runoff mm/in |
Infiltration mm |
|
9 |
51 |
39.5 |
61 |
10 |
9.65 |
9.9 |
11.2 |
11 |
2.2 |
39 |
121 |
12 |
02 |
06 |
124 |
9 = Bare untilled soil
10 = Pineapple residue burnt
11 = Pineapple residue dug in
12 = Pineapple, residue as mulch
TABLE 22
Influence of the number
and type of seedbed preparations on a brown, slaking. alluvial,
leached soil at Campagne/Hesdin, France (cf. Roose and Masson
1983)
Processes |
Tillage + planting |
Tillage + harrowing coupled
with planting (4 km/hour) |
Tillage + quick harrowing8
km/in |
Tillage + vibrating tooth
cultivator + cultivator + planting |
Tillage +2 × vibro + 1
cultivator + planting |
Number of passes |
2 |
2 |
2 + quick |
3 + deep |
4 very fine |
Number of germinated seeds per m² |
127 |
114 |
109 |
73 |
59 |
Runoff KR % |
5 |
28 |
38 |
57 |
66 |
Notes:
Simulated rainfall is 33 mm in 1 hour (normally occurring once every 4 years).
The difference in yields is 1000 kg/ha favouring the less tilled plots.
This is an excellent example of land husbandry where the farmers realize that if runoff (and erosion) risks are to be reduced and production increased, they must reduce investments in inputs: fewer hours of tillage, less wear on the tractor, less energy. In this case; there is no need for extension services to point out insistently that their interests coincide with protection of the environment (reduction in downstream flooding and gullying.
In the United States, Duley (1939) found the influence of surface crusting on runoff to be greater than that of soil type or the porosity of the different horizons. Burnell and Larson (1969) show that the delay in the start of runoff following tillage depends less on the depth of soil turned over than on the roughness of the surface. Harrold (pers. comm. 1967) considers that in regions where heavy but short summer storms are the greatest danger, deep contour tillage can considerably delay the onset of runoff by increasing both the roughness of the surface and its macroporosity (its sponge capacity). Dry subsoiling of soils with a hardened horizon close to the surface can also increase infiltration, so long as the whole of the hardened and compacted layer is broken up (Birot and Galabert 1967, Masson 1971).
Mannering, Meyer and Johnson (1968) report that when maize was grown for five years with minimum tillage, soil aggregation and infiltration increased by 24%, while erosion fell by 34% in comparison with the conventional treatment (full tillage). These authors emphasize the importance of not harrowing the soil surface in preparing the seedbed. Hence the idea of harrowing only the seed row and leaving the space between in large clods covered with crop refuse (Masson 1971, Shanholtz and Lilliard 1969).
In northern France (Tables 22 and 23), Roose and Masson conducted experiments on a farmer's field of leached, loamy, slaked, brown soil, to determine the effect of fine-tilling the seedbed on the emergence of wheat seeds and on runoff and yields. When the soil is harrowed two to four times, with a faster tractor, the number of seeds germinating per square metre falls from 129 to 59. Runoff from a simulated rainfall of 33 mm/in rises from 5 to 66% when the ground is harrowed more times, and yields fall by about one tonne. Farmers have therefore realized that with less tillage they can improve infiltration, the productivity of their land, and net income, while reducing risks of erosion and environmental pollution (Roose and Masson 1983).
TABLE 23
Influence of cropping
system on soil degradation and runoff during a winter storm with
33 mm of rain in one hour (cf. Roose and Masson 1983)
Treatment |
Animal traction |
Pasture |
Broken up pasture |
Tillage + subsoiling |
Tillage, no subsoiling |
Heavy machinery after
harvest |
|
winter wheat |
endive |
potatoes |
|||||
Depth of tillage |
17 cm |
25 cm |
25 cm |
25 cm |
30 cm |
30 cm |
|
Plough pan |
0 |
0 |
+ |
+ intermittent |
+ + |
+ + + |
+ + + |
Surface condition |
cloddy |
compact for 15 cm |
small clods |
small clods |
small clods |
crusted |
crusted |
Plant cover % |
80% |
100% |
7% |
10% |
10% |
11% |
11% |
straw |
straw |
residue |
residue |
||||
Runoff |
|||||||
Time before onset |
69' |
16' |
15' |
15' |
4' |
1' |
2' |
In mm |
0 mm |
2 mm |
9 mm |
5 mm |
14 mm |
23 mm |
28 mm |
In % |
0% |
6% |
27% |
15% |
42% |
85% |
85% |
Final runoff after 60 minutes |
0% * |
24% |
48%** |
30%** |
73% |
91% |
98% |
* Runoff not yet started after 60 minutes.
* * Runoff not stable after 1 hour's rain. Rainfall of 33 mm/h simulated on an acid brown soil on loess-covered uplands. The slope did not exceed 5%; runoff coefficient = runoff sheet/rainfall volume in %.
This survey shows the wide range of runoff risk (and hence of erosion) on slaked, loamy soils worked in different ways.
Animal traction entails much lower risk than mechanized traction (0 to 73%). Grassland leys temporarily protect the soil, but when broken up they rapidly become less effective (KR = 24 (r) 48 (r) 73%). Subsoiling can locally offer partial assistance (KR = 30 « 73%), but the highest risks were seen after harvesting endive and potato (deep tillage) with heavy machinery. On these soils, compacted by the repeated passage of tractors and trailers, 90% of all rainfall soon takes the form of runoff.
TABLE 24
Effect of cropping
techniques on runoff and erosion (caused by simulated rainstorms
of 40 mm in one hour) on maize seedbeds on terrefort
soil on a hillside in the Lauragais region. Summarized data from
the 1985/6/7 seasons in southwestern France (cf. Roose and
Cavalié 1988)
Treatment |
Slope % |
Runoff KR 40% |
Ar mm |
Si mm/in |
AL g/l |
Erosion g/m² |
Repetition |
control = |
2-6 |
22 |
16 |
7 |
2 |
13 |
6 |
autumn tillage |
14-20 |
20 |
13 |
12 |
9 |
93 |
15 |
+ re-tillage in spring |
22-29 |
19 |
12 |
16 |
7 |
57 |
4 |
Idem + hoeing |
22-29 |
12 |
13 |
(20) |
11 |
58 |
2 |
Idem + seed-bed + deep |
14-20 |
17 |
16 |
8 |
9 |
65 |
4 |
Idem + cultipacker (roller) |
14-20 |
35 |
8 |
12 |
18 |
250 |
8 |
Idem + compaction once |
14-20 |
28 |
13 |
8 |
12 |
105 |
8 |
Idem + compaction twice |
14-20 |
70 |
3 |
4 |
4 |
103 |
4 |
wheel tracks |
16 |
83 |
4 |
1 |
-- |
-- |
1 |
tillage + re-tillage in spring |
22-29 |
32 |
6 |
13 |
9 |
98 |
4 |
loosening + residues - stubble
mulch tillage in autumn |
22-29 |
17 |
4 |
21 |
5 |
35 |
5 |
loosening + surface residues +
localized hoeing in spring |
22-29 |
7 |
20 |
23 |
3,6 |
26 |
5 |
KR 40% =
Runoff coefficient for a 40 mm rainfall.
Ar = Absorbed rainfall =
point at which runoff starts.
Si = Stabilized
infiltration capacity.
AL = Average load in 9/l.
E 40 = Sediment load in
g/m³ for a 40 mm rainstorm.
N = Number of repetitions.
4 = Markedly
different from the control treatment.
With the same ORSTOM-type simulator, the effects of various cropping techniques on runoff and erosion were tested on brown, clayey soils known as terrefort on a hillside in the Lauragais region near Toulouse in south-western France (Roose and Cavalié 1988) (Table 24). The experiment compared reactions to 44 mm/in of rainfall on three segments of the slope - the plateau of 2 to 6%, the lower slope of 14 to 20%, and the upper slope of 22 to 29%. The control plot was treated to rough autumn tillage with one or two extra passes in the spring, while a whole series of improved techniques proposed by the farmers were used on the experimental plots. In the first place, it was observed that overall runoff falls slightly from 22 to 19% as the slope gets steeper. With one extra hoeing, there is a further slight reduction in runoff from 19 to 12%. If, on the other hand, harrowing is followed by a cultipacker roller, runoff rises sharply from 20 to 35%, for the roller packs down the topsoil and breaks the clods into fine particles, which quickly reform into a slaking crust. If the tractor is driven twice over the same place, runoff rises from 20 to 77%. Similarly, a runoff of 83% was recorded in wheel-ruts as a result not only of a reduction in the amount of soaking rain (i.e. that needed to trigger runoff), but also of a reduction in the final filtration rate, which falls from 12 to 4 or 1 mm per hour. In order to avoid such compaction in the spring, an attempt was made to prepare the seedbed in the autumn. This resulted in a rise in runoff from 19 to 32%, for throughout the winter the seedbed was degraded and formed slaking crusts. When ploughing was replaced by the use of teeth to loosen the soil and the stubble was ploughed in the autumn, runoff barely fell at all. On the other hand, with the stubble left in place after the autumn loosening, and the land tilled solely along the seed line, runoff fell from 19 to 7%, the rainwater retained rose to 20 mm, and the final infiltration rate remained at 23 mm/in.
FIGURE 30 Runoff depth as a function of the maize seedbed at Beaumont/Dème (after Rahéliarisoa 1986)

This experiment clearly shows how compaction and the number of times machinery is driven over the soil affect runoff, and also the positive effect of a rough autumn tillage (or else loosening the soil and leaving the stubble on the surface), followed in the spring by working the soil exclusively along the planting line.
A similar experiment under simulated rain was carried out in central France by a team of scientists from ORSTOM, the French Cereal and Forage Technical Institute, INRA, and Orleans University. The aim was to discover the risk of runoff as a function of the type of maize seedbed on a leached, loamy, very slaked, brown soil (Rahéliarisoa 1986, Lelong, Roose and Darthout 1992).
Six treatments allowed observation of the effects of date of tillage, fineness of tillage when preparing the seedbed, and presence of stubble in the case of no-till (Figure 30). It was seen firstly that no-till on a bare soil leads to the highest risks of runoff. However, if 50% of the soil surface is covered by stubble mulch, this method does not necessarily produce more runoff than late tilling just prior to sowing. On the other hand, early tilling, especially if followed by a long dry period, helps to maintain good structure and a good infiltration level. The finer the tillage, the greater the risks of runoff.
In the final analysis, the medium-term advantages of till or no-till in terms of water management and soil conservation depend to a large extent on soil type (i.e. its sensitivity to rain splash, compactness, amount of gravel, permeability, and initial amount of organic matter), slope, plant cover, the use of stubble, the date of tillage in relation to aggressive rains, and above all the type of tillage. Tillage is often a necessary evil for root development, weed control and breaking up the thin slaked surface that seals certain soils rich in loam and fine sand and poor in organic matter (particularly tropical ferruginous soils and leached, tempered brown soils). It is important to avoid overfilling steep slopes in humid tropical zones.