Page précédente Table des matières Page suivante


Le point sur la surveillance par satellite des forêts mondiales

J.-P. Malingreau

Jean-Paul Malingreau travaille à l'Institut pour les applications de la télédétection du Centre de recherches conjointes des Communautés européennes d'Ispra (Italie).

L'amélioration des méthodes permettant de suivre l'état et l'évolution des forêts mondiales s'impose dans l'intérêt tant des politiques nationales que de la nouvelle science des changements planétaires. Les techniques d'observation spatiale contribuent depuis près de 20 ans à l'établissement d'inventaires forestiers locaux et nationaux. Le présent article examine le rôle potentiel de la télédétection dans l'évaluation des forêts, domaine dans lequel les besoins ne cessent de se multiplier. Il décrit à grands traits ce qui pourrait constituer un système mondial d'information sur les forêts et les difficultés que pose la création d'un tel système. Les concepts présentés ci-après sont inspirés en partie des exposés et des débats de la Conférence sur la surveillance des forêts mondiales, qui s'est tenue à l'occasion de l'Année internationale de l'espace à Sao José dos Campos (Brésil) en mai 1992 (Malingreau, Da Cunha et Justice, 1992).

L'homme entretient depuis toujours des relations ambivalentes avec la forêt; le dilemme exploitation/conservation continue à colorer tous les points de vue sur le rôle de la forêt dans l'économie locale, le développement national, la protection de l'environnement, la dynamique des changements mondiaux, etc. Les besoins d'information sont aussi variés que les opinions et les prises de position sur les questions forestières. Dans l'état actuel des choses, la situation se complique encore du fait que la plupart des besoins d'information sont exprimés, de façon bien naturelle, à l'échelle humaine, qui est celle des observations visuelles ou des mesures au sol. Les systèmes de classification des forêts correspondent eux aussi à cette perspective, dans la mesure où ils reposent sur des critères tels que la composition et la structure de la flore. Il est bien évident que ces paramètres ne sont pas directement mesurables par des capteurs spatiaux, notamment par ceux qui fonctionnent à des résolutions au sol grossières.

Ainsi, on peut d'ores et déjà contester le bien-fondé d'une approche qui consisterait à orienter l'analyse par télédétection sur la seule recherche, par inversion d'un signal spectral ou par une autre méthode, de caractéristiques de terrain connues (par exemple une classe de forêt connue). On peut obtenir, en revanche, des informations inédites sur la nature et la dynamique du couvert forestier à extraire de telles séries de données, informations liées à la nature de la mesure qui facilite l'intégration spatiale. Les recherches devraient trouver là un domaine privilégié d'étude. Aujourd'hui, l'essentiel des besoins d'information «courants» exprimés en ce qui concerne le couvert forestier se limite à quelques renseignements de base. De plus en plus, toutefois, des utilisateurs plus exigeants, comme ceux qui étudient les pratiques forestières durables ou le rôle de la biomasse forestière dans les cycles biogéochimiques, s'occuperont de questions plus complexes exigeant des approches novatrices en matière d'analyse de données.

A cela s'ajoute le fait que la complexité croissante de la demande de données relatives aux forêts et des techniques de télédétection sont à l'origine d'une attitude ambiguë à l'égard de la technologie. Alors que l'on a besoin d'établir des inventaires locaux et nationaux pour répondre à des besoins de gestion immédiate, on réclame en même temps de toute urgence des techniques de suivi permettant de détecter les changements survenant dans les forêts à l'échelle mondiale. Or, il apparaît de plus en plus clairement, même si cela n'est pas toujours compris, qu'il est extrêmement difficile de concilier des exigences aussi éloignées l'une de l'autre (Justice, 1992). Les techniques de télédétection utilisées à l'échelle continentale ou mondiale ne fourniront pas nécessairement les données intéressantes sur le plan local. L'«ancrage» encore nécessaire des analyses mondiales sur des exercices de validation locaux peut s'appuyer sur des approches très différentes de celles utilisées pour l'évaluation locale «traditionnelle».

La technologie

Les techniques d'observation de la terre à partir de l'espace applicables à l'évaluation et au suivi des forêts sont relativement bien connues: le scanner multibande et analyseur thématique Landsat, les instruments multibandes et panchromatiques SPOT, le satellite japonais d'observation maritime et les capteurs AVHRR (radiomètre avancé à très haute résolution) de l'Administration nationale des recherches océanographiques et atmosphériques (NOAA) constituent la liste presque complète des instruments opérationnels d'observation terrestre. Le radar à ouverture synthétique du satellite ERS-1 est venu récemment s'ajouter à cette liste, bien que son application aux études sur la végétation en soit encore au stade de la mise au point. Il existe une abondante littérature consacrée aux applications des satellites aux enquêtes sur les forêts. On examinera dans les paragraphes ci-après quelques questions posées par l'utilisation actuelle et future de ces capteurs.

L'analyse visuelle par l'homme des données spectrales est un élément essentiel de l'interprétation des images fournies par la télédétection

Capteurs à faible résolution

Les données à faible résolution, telles que celles fournies par l'instrument NOAA-AVHRR (résolution de 1,1 km), sont de plus en plus utilisées pour la surveillance des forêts. Il semble en effet qu'elles réalisent un compromis unique entre la puissance de résolution au sol, le contenu en informations sur la végétation la fréquence de l'acquisition et l'étendue de la couverture géographique. A l'heure actuelle, les données AVHRR semblent être la seule solution pratique à l'obtention, jusqu'ici impossible, d'une couverture terrestre de l'ensemble de la planète. Bien que cette méthode pose encore toutes sortes de problèmes, il semble certain que l'AVHRR sera, dans les années à venir, la principale source opérationnelle de données sur le couvert forestier à des échelles allant du continent à l'ensemble de la planète. Plusieurs projets à grande échelle ont commencé à saisir et à analyser des séries de données AVHRR couvrant toute une région. Le projet TREES (CEE, 1991) rassemble actuellement un ensemble de données AVHRR (1989-1992) adapté à l'analyse des forêts de toute la ceinture forestière tropicale. Divers instituts nationaux et internationaux (Programme des Nations Unies pour l'environnement Base de données sur les ressources mondiales [PNUE-GRID], National Aeronautics and Space Administration [NASA], Woods Hole Research Institute, etc.) ont entrepris des exercices analogues à l'échelle régionale.

L'expérience acquise lors de l'analyse des données AVHRR pour la surveillance des forêts et de la préparation des projets à grande échelle susmentionnés a mis en lumière plusieurs questions importantes.

· Les données AVHRR à résolution de I km proviennent de stations réceptrices locales (il en existe plus de 150), à l'exception de séries limitées de données enregistrées à bord. Pour obtenir une couverture planétaire, il faudrait donc mettre en réseau les stations.

· Le prétraitement des séries de données AVHRR (corrections géométrique et radiométrique, et calibration) exige un travail important.

· Pour la plupart des applications à la cartographie forestière, une des principales opérations de la méthode AVHRR consiste à rechercher des images acceptables grâce à un processus de sélection impliquant la visualisation et l'évaluation de chaque passage d'orbite pour s'assurer de l'absence de fumée, de nuages ou d'autres facteurs d'obstruction.

· L'analyse AVHRR consiste essentiellement en une recherche locale de contrastes entre les formes de végétation dans un ou plusieurs canaux spectraux. Il n'existe donc pas de méthode applicable universellement puisque les caractéristiques de la réflectance, les mosaïques de végétation, les effets saisonniers, etc. diffèrent largement d'une région à l'autre.

· Le caractère saisonnier de la végétation tropicale est un autre critère important de classement et une caractéristique écologique fondamentale. Saisies par une série chronologique de données AVHRR, les variations saisonnières sont utiles pour identifier la formation de végétation.

· D'autres clés pour la détection et l'identification de processus de déboisement peuvent être obtenues grâce aux canaux thermiques qui peu vent détecter la présence d'incendies (le feu est une méthode courante de destruction de la végétation forestière dans de nombreuses parties du monde). Les feux actifs ou les traces de brûlure apparaissent très clairement sur les ensembles de données AVHRR.

Un satellite Landsat

Capteurs à haute résolution

Landsat MSS, l'analyseur thématique et les instruments multibandes SPOT, qui constituent les instruments dits à haute résolution (10-80 m), sont des sources importantes de données pour la cartographie forestière et la détection des changements de l'échelon local à l'échelon national. De nombreux pays ont entrepris une analyse intensive de ces produits. La plupart des analyses, hormis la recherche, sont effectuées visuellement sur des produits photographiques renforcés. On assemble de plus en plus fréquemment des séries complètes de données à haute résolution.

Les efforts du Brésil à cet égard sont remarquables. En combinant une technique de reproduction relativement peu coûteuse (tirage polychrome, voire en noir et blanc, sur canal unique) avec une analyse nécessitant une main-d'œuvre importante, on peut obtenir des inventaires forestiers exhaustifs de vastes régions. On se propose maintenant de couvrir les forêts tropicales d'autres régions, dont l'Afrique et l'Asie du Sud-Est, avec des données MSS «historiques», dans le cadre des activités du Landsat Pathfinder de la NASA. Le Catalogue des images forestières de l'Europe, présenté lors de la Conférence sur la surveillance des forêts mondiales, est un autre exemple des multiples usages possibles des données fournies par l'analyseur thématique.

La multiplication des applications à grande échelle des séries de données à haute résolution est une tendance dont il faudra tenir compte à l'avenir. Elle implique que les systèmes de classement devront être adaptés non seulement aux besoins d'information, mais aussi aux capacités des techniques de télédétection à identifier les classes ou attributs. En outre, si la haute résolution doit devenir la norme en matière de surveillance de la végétation, il faudra soit réduire sensiblement le prix des données, soit se procurer des ressources supplémentaires, pour pouvoir effectuer des évaluations assez rapprochées. La couverture systématique et exhaustive d'importantes superficies boisées ne sera possible que si les responsables de la gestion des satellites prêtent une attention particulière aux problèmes que pose l'acquisition à intervalles réguliers d'une série de données complètes.

Les données à haute résolution jouent également un rôle important dans la validation des données à faible résolution. Celle-ci exige une analyse sur plusieurs niveaux, au cours de laquelle les informations les plus détaillées contribuent à valider celles qui le sont moins. Inversement, la perspective globale que procure l'AVHRR peut faciliter le choix de la méthode d'échantillonnage utilisée pour la sélection des sites faisant l'objet d'une analyse à résolution plus élevée.

Les images provenant de données à haute résolution peuvent aussi être utilisées, de même que dans le projet d'évaluation des ressources forestières de 1990 de la FAO, comme unités d'analyse dans un exercice de mesure des changements survenus à l'échelle mondiale fondé sur un sondage à la fois stratifié et proportionnel à la taille.

La télédétection appliquée à la mesure des paramètres forestiers

Trois groupes de paramètres forestiers constituent l'essentiel des besoins actuels, à savoir: le classement de la végétation, les modifications du couvert végétal et les caractéristiques physiques de surface.

Image de l'Afrique fournie par ARTEMIS (Observation en temps réel de l'environnement par satellite imageur, en Afrique)

La télédétection appliquée à la cartographie de la végétation

La cartographie de la végétation fondée sur les données à haute résolution est l'opération classique utilisant les observations de la télédétection; elle consiste à séparer les données spectrales fournies par les satellites en groupes susceptibles d'être associés à des classes de végétation particulières. Bien que ces classes soient souvent identifiées en fonction de la composition floristique, de la structure et de la zone écoclimatique (par exemple, forêt ombrophile sempervirante), le classement obtenu par télédétection est fondé exclusivement sur une série de mesures spectrales. Il n'est précis que si ces mesures peuvent être associées sans aucun doute possible avec une classe particulière de végétation. L'exactitude est d'autant plus grande que les situations sont plus contrastées (couvert forestier et clairières, par exemple), mais elle est plus aléatoire lorsque plusieurs formes de végétation sont associées de manière complexe (comme lorsqu'on est en présence de stades successifs).

Vu l'énorme variabilité spatiale des caractéristiques spectrales des surfaces et la capacité exceptionnelle du cerveau humain à distinguer entre des caractéristiques spectrales similaires mais non identiques, l'analyse visuelle des données spectrales a tendance à être une méthode d'analyse plus fiable, quoique plus lente, des images obtenues par télédétection. Il est important, à cet égard, que l'analyse soit conduite sur une certaine période de temps par la même personne ou la même équipe d'interprètes, afin d'assurer la cohérence des interprétations. Les résultats de ces analyses sont alors intégrés dans les systèmes d'information géographique (SIG) en même temps que d'autres couches d'information.

Les problèmes de classement sont assez différents lorsque l'on dispose de données à faible résolution du type obtenu avec l'instrument AVHRR. Dans ce cas, on sait moins de choses sur le paysage, et l'analyse repose davantage sur les valeurs de réflectance ou d'émittance dans un petit nombre de canaux spectraux. Le contraste entre un couvert forestier et d'autres types de couvert détermine la facilité avec laquelle une formation pourra être identifiée. Etant donné la grande variabilité associée à ce type de mesure, il est souvent difficile de définir des signatures spectrales; on doit alors se fonder uniquement sur les contrastes spectraux. Par exemple, de gros blocs forestiers isolés au milieu d'une zone agricole seront facilement identifiés à l'aide des contrastes entre les températures de luminance, tandis que des blocs forestiers primaires situés au milieu d'une végétation secondaire ou moins structurée apparaîtront comme une zone à moindre réflectance proche de l'infrarouge. A cet égard, il convient de noter que les pressions croissantes exercées par la population sur les ressources forestières feront que de plus en plus de paysages boisés se caractériseront par des mosaïques de différents types de couvert, plutôt que par des formations «pures».

Qu'est-ce que la télédétection?

Par définition, la télédétection englobe toutes les techniques qui permettent d'obtenir des informations sur un objet sans contact physique avec ce dernier. Pratiquement, il s'agit surtout de la technologie liée à la cartographie et à la surveillance des caractéristiques et des ressources terrestres à partir de données recueillies par des appareils aéroportés ou des satellites spatiaux.

En gros, la télédétection repose sur la mesure d'ondes électromagnétiques émises et/ou reflétées par des objets situés sur la face de la terre. Tous les objets reflètent et irradient du rayonnements électromagnétiques; grâce à leurs caractéristiques et à leur comportement spécifiques à l'égard de différentes longueurs d'onde dans les spectres visibles et invisibles, tous les objets ont une «empreinte digitale» et peuvent être reconnus sur les données de télédétection, telles qu'elles sont saisies par divers télécapteurs.

Les télécapteurs peuvent être montés sur différents types de plates-formes aéroportées ou spatiales fonctionnant à différentes altitudes pendant des périodes de temps variées. La télédétection par satellite est de plus en plus utilisée pour la cartographie et la surveillance des ressources terrestres, notamment sur de vastes surfaces. Les systèmes satellites sont habituellement classés en fonction de leur résolution spatiale en satellites d'observation de l'environnement (météosat, GOES, NOAA); satellites à résolution moyenne (Landsat MSS, IRS1, JERS-1); et satellites à haute résolution (Landsat TM, SPOT, ERS-1, MAK6-M).

Les satellites d'observation de l'environnement sont mieux adaptés à la surveillance fréquente (quotidienne ou hebdomadaire) de superficies relativement importantes, comme les continents, les sous-régions ou les pays. Ils sont utilisés essentiellement en météorologie et en océanographie et, depuis peu, pour surveiller l'état de la végétation, notamment des grands pâturages ou des zones boisées, à des échelles allant de 1:10000000 à 1:200000. Les satellites à résolution moyenne sont représentés par le Landsat avec son scanner multibande (MSS), qui fonctionne depuis 1972. Ils fournissent des images à petite et à moyenne échelle, de 1:1000000 à 1:200000, adaptées aux études sur l'utilisation des terres et plus particulièrement à la foresterie. Les satellites à haute résolution sont plus récents, et leur utilisation ne s'est généralisée qu'à partir du milieu des années 80. Ils permettent une cartographie à des échelles allant jusqu'à 1:25000 (par exemple SPOT).

Les ondes électromagnétiques reçues par les capteurs satellites produisent des signaux électriques qui sont ensuite transformés en produits utilisables (photographies ou bandes magnétiques d'images digitales). Les produits peuvent être analysés à l'aide d'outils appropriés, comme les processeurs analogues et digitaux, et par l'œil humain, ce qui permet de mieux comprendre le type de ressources terrestres présentes, ainsi que les changements/variations quantitatifs et qualitatifs (à la fois spatiaux et temporels) subis par ces ressources.

Dans le cas de la foresterie, la télédétection peut servir à identifier et à analyser des zones forestières, en donnant des renseignements sur leur emplacement et leurs dimensions, leur état de dégradation et le degré de pression exercée par la population que traduisent un déboisement accentué, des feux de forêt et l'agroforesterie. Avec les satellites à haute résolution, certains paramètres physionomiques relatifs à diverses classes de couverture permettent de distinguer les forêts des terres boisées et des végétations arbustives, tandis que les paramètres floristiques permettent de reconnaître feuillus, conifères et peuplements mixtes. La télédétection par satellite peut aussi contribuer à l'aménagement forestier en fournissant des informations sur l'accessibilité (topographie, sentiers ou routes) et permet une surveillance annuelle, voire mensuelle, des principaux peuplements forestiers et de leur exploitation à très grande échelle (provinces ou pays).

Détection et mesure des changements grâce à la télédétection

La détection et la mesure de la transformation d'un type de couvert forestier en un autre ou en un système complètement différent d'utilisation du sol comme le déboisement présentent un intérêt particulier. Là encore, l'exactitude des mesures effectuées grâce à la télédétection dépend de la résolution au sol et de la discrimination spectrale entre les formes. Théoriquement, la détection des changements à l'aide des données spectrales n'exige pas l'identification préliminaire des types de couverture terrestre. Cette méthode permet, en fait, de détecter la disparition d'une classe particulière de forêts, mais pas d'identifier la classe de remplacement (par exemple, le passage d'un couvert forestier à un autre type de couvert). Or, l'interprétation du changement en termes écologiques ou autres exige que soient connues les caractéristiques de départ et d'arrivée.

Dans les circonstances présentes, il n'est pas sûr que les applications de la télédétection permettent de mesurer, ni même de détecter, tous les types de changements concernant le couvert forestier. Il est difficile, en particulier, d'identifier et de mesurer le processus de dégradation des forêts. Avant tout, il faudrait pouvoir mieux caractériser les configurations spatiales du changement à diverses échelles (peuplement, région, sous-continent, etc.) et à diverses résolutions. Une typologie des configurations forestières/non forestières et des mécanismes et caractéristiques de leur transformation au fil du temps serait extrêmement précieuse. Elle constituerait, en outre, un progrès vers la constitution d'un cadre commun pour l'inventaire et l'analyse.

Les informations sur les changements forestiers dérivées des données obtenues par télédétection seront d'autant plus utiles qu'elles seront intégrées dans un SIG spatialement explicite. Cela permettrait de les harmoniser avec les données relatives à d'autres caractéristiques géographiques (sols, climat, réseau de cours d'eau, mesures de terrain de la biomasse et des volumes de bois d'œuvre) ou sociales (routes, densité démographique, modèles de migration) qui jouent un rôle important dans le processus de déboisement. Un tel système ouvrirait également la voie à la prédiction des tendances spatio-temporelles.

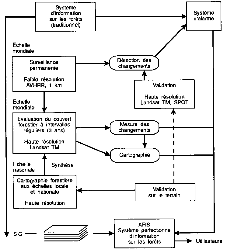
Eléments de télédétection d'un système d'information et d'évaluation forestières

Elément à faible résolution

· Couverture continue et totale de toutes les surfaces terrestres avec des canaux spectraux appropriés, à des résolutions moyennes à faibles (250-1000 m) pour une surveillance générale de la répartition et de l'état de la végétation.

· Le système mondial devrait être capable de distribuer des données aux utilisateurs locaux et de rassembler dans un lieu central des archives complètes de toutes les données acquises (non échantillonnées). L'expérience de l'AVHRR (radiomètre avancé à très haute résolution) pourrait être utilisée comme modèle.

· L'analyse mondiale devrait être validée par des données à haute résolution et une vérification sur le terrain.

· Les systèmes à haute résolution devraient être mis en réserve pour être utilisés uniquement sur les zones de déboisement actif détectées par un «système d'alarme» fondé sur des satellites à faible résolution et d'autres sources de données conventionnelles.

Elément à haute résolution

· Une évaluation complète du couvert forestier devrait être effectuée à intervalles réguliers (tous les trois à cinq ans) en utilisant des séries de données à haute résolution comme les données Landsat TM. Les données provenant des activités de cartographie et de suivi nationales et locales devraient être intégrées dans l'évaluation mondiale (par le biais des centres régionaux, par exemple). Cela exigerait que l'on convienne d'une classification hiérarchique susceptible d'être progressivement généralisée.

· L'accès aux données à haute résolution devrait être progressivement facilité; si la commercialisation pouvait contribuer à leur diffusion, il faudrait mettre au point un système de fixation des prix qui permette les applications généralisées et répétées nécessaires au suivi des forets.

· Un système d'information géographique (SIG) est un élément majeur de l'exercice conduisant à l'instauration d'un système Perfectionné d'information sur les forêts.

Le caractère saisonnier des forêts

Le caractère saisonnier des forêts est explicitement utilisé dans le classement des forêts tropicales, où il est lié essentiellement aux tendances des précipitations (par opposition aux zones tempérées où ce caractère est lié aux températures). Tandis qu'une telle classification est souvent utilisée pour déterminer si une forêt est saisonnière ou non, elle ne donne en général aucun renseignement sur l'intensité, ni même sur la nature facultative, du caractère saisonnier. Le caractère saisonnier des signaux spectraux est aussi un critère important en cartographie; pourtant, les séries temporelles de données provenant de satellites permettent habituellement d'établir des degrés dans le caractère saisonnier, plutôt qu'une distinction claire entre les classes de végétation à feuilles persistantes ou caduques. En outre, les données obtenues par satellite captées sur une longue période montrent l'importance qu'il convient d'accorder à la variabilité interannuelle dans le classement. L'énorme variabilité spatio-temporelle des signaux satellite est manifeste, par exemple pour certaines parties de l'Asie du Sud-Est et de l'Afrique, où l'altitude et les degrés de latitude déterminent la distribution des formations saisonnières. La distinction spectrale entre une forêt sèche de diptérocarpacées et une forêt caduque mixte du nord de la Thaïlande ou du Myanmar, par exemple, est notoirement difficile, même à partir de séries de données à haute résolution.

Des séries temporelles de données repères sur la végétation dérivées de satellites sont désormais disponibles pour plus de 10 ans dans le produit GAC (Global Area coverage); elles montrent un continuum d'amplitudes de signaux à mesure que l'on passe de formations à feuilles persistantes typiques à des formations plus saisonnières. Ce type d'information serait utile pour effectuer une série d'analyses; les poussées saisonnières, par exemple, affectent l'évapotranspiration, la productivité primaire et les cycles géochimiques. Toutefois, les séries chronologiques de données de télédétection sur les couverts forestiers sont encore peu exploitées, que ce soit pour la classification ou pour l'étude des transformations. L'évaluation exacte des changements affectant les couverts forestiers, notamment ceux associés aux changements ou à la dégradation climatiques, n'est possible qu'à condition de pouvoir identifier les changements saisonniers subis par la végétation dans des circonstances «normales».

Vers un système opérationnel de surveillance forestière

Les techniques de télédétection applicables à la surveillance forestière sont plus ou moins perfectionnées, selon l'instrumentation et l'échelle d'application. Tandis que certains aspects de l'analyse des images à haute résolution sont relativement simples, ceux liés à une couverture à grande échelle ou à l'exploitation des images à faible résolution en sont encore au stade de l'élaboration. Toutefois, les progrès accomplis depuis cinq ans laissent entrevoir des perspectives plus vastes que celles prévues à l'origine. Par exemple, la couverture étendue qui caractérise désormais les séries de données à haute résolution (Landsat et SPOT) et la couverture de plus en plus étendue et répétitive des séries de données à faible résolution (AVHRR) ouvrent de nouveaux horizons. La dimension temporelle de ces analyses a été radicalement modifiée par les récents investissements dans le traitement et l'analyse des séries de données historiques (comme celles fournies par le Landsat Pathfinder de la NASA) et dans la collecte et l'évaluation de mesures fréquentes à long terme portant sur de vastes, superficies (par exemple, séries de données améliorées et mondiales sur la couverture terrestre du Programme international géosphère-biosphère [PIGB]). Aujourd'hui, la mise en place d'un système efficace de surveillance forestière mondiale à partir de satellites ne relève plus, semble-t-il, de l'utopie. Pour fonctionner correctement, un tel système devrait présenter les caractéristiques ci-après.

· Il devrait intégrer les objectifs mondiaux et nationaux. Les analyses et les résultats devraient pouvoir être «emboîtés» à différentes échelles.

· La validation devrait être une préoccupation constante et être intégrée dans la procédure opérationnelle.

· Les résultats des analyses des données obtenues par télédétection devraient pouvoir être intégrés dans un système d'information forestière plus complet.

· Le système devrait être utile tant pour la planification et l'aménagement pratique des forêts que pour la recherche scientifique.

· Il devrait comprendre un élément de surveillance continu, doté d'une fonction d'alarme, et pouvoir identifier sans délai les domaines où surviennent des changements rapides.

· Il devrait comprendre la couverture régulière et généralisée de toutes les régions boisées par des instruments à haute résolution capables de mesurer les variations avec une marge d'erreur de 10 pour cent.

Les éléments d'un tel système d'évaluation forestière relevant de la télédétection sont résumés à la figure.

Modalités d'application

L'expérience des dernières années a divisé la communauté des spécialistes de la télédétection en deux écoles de pensée en ce qui concerne le suivi mondial des forêts. L'une prône un système de surveillance décentralisé, les services forestiers nationaux assurant les évaluations nationales et les communiquant à un organisme central qui en ferait la synthèse. La seconde penche pour un organisme central qui se chargerait de l'évaluation mondiale complète et serait doté de moyens indépendants. Chaque approche présente des avantages et des inconvénients.

La première a l'avantage capital de confier les inventaires forestiers nationaux aux organismes responsables de l'aménagement forestier. Une connaissance intime des conditions de terrain garantirait, de toute évidence, la pertinence de l'analyse des données fournies par la télédétection. Toutefois, cette approche exige que les pays aient accès aux techniques de suivi appropriées (données satellite, Système d'information géographique, installations de terrain, etc.) et qu'ils aient la capacité d'exécuter des tâches de télédétection selon des normes permettant l'échange des données. Les problèmes que poseraient le flux de données et l'harmonisation de classifications disparates risqueraient de ralentir sensiblement la synthèse des données au niveau central. La modernisation et l'harmonisation des méthodes nationales de suivi forestier constituent évidemment un objectif à long terme, qui doit être envisagé dans le cadre du développement des capacités nationales.

L'approche centralisée répondrait plus immédiatement aux besoins de données aux échelles régionale, continentale et mondiale, du fait qu'elle s'appuie sur des techniques et des méthodes qui pourraient d'ores et déjà être appliquées de manière coordonnée, pour ne pas dire centralisée. La possibilité d'adopter une méthodologie et un classement uniques faciliterait l'analyse rapide des données satellite et auxiliaires. Bien entendu, le processus de validation exigerait encore l'assistance d'experts et de services forestiers ayant l'expérience de terrain nécessaire; la façon dont les services forestiers nationaux pourraient participer à cet effort centralisé reste à déterminer. Il vaudrait peut-être la peine de s'inspirer de l'expérience d'autres systèmes d'analyse de l'environnement pour savoir comment procéder. Par exemple, la communauté météorologique confie les analyses globales et la création de modèles mondiaux à des instituts hautement centralisés et spécialisés, tandis que les bureaux météorologiques nationaux poursuivent leur travail de routine à l'échelle qui les intéresse.

Conclusions

Le développement des techniques de télédétection est étroitement lié à la nécessité urgente d'obtenir des évaluations précises et constamment mises à jour de l'état des forêts du monde entier. Les forêts sont des systèmes extrêmement dispersés, complexes et dynamiques qui se prêtent à des observations du type fourni par les capteurs sur orbite. Les techniques de télédétection sont déjà largement employées à cet effet. Les efforts doivent désormais se concentrer sur l'intégration de l'expérience et des résultats acquis dans des exercices véritablement mondiaux et à plusieurs niveaux. En outre, le niveau de perfectionnement des applications devrait progressivement répondre à la complexité des nombreux problèmes que soulèvent les tentatives de définition d'une méthodologie pour la conservation, l'aménagement et l'exploitation durable des forêts du monde. Si les techniques et leurs applications laissent encore à désirer, le renforcement de l'appui institutionnel et l'acquisition de capacités scientifiques appropriées à tous les niveaux figurent également en bonne place sur la liste des priorités. L'importance des questions entourant l'utilisation et la survie des forêts mondiales justifie la poursuite, voire le redoublement, des efforts faits pour assurer la surveillance de ce patrimoine.

Bibliographie

CCE. 1991. Tropical ecosystem environment observations by satellites. Special paper SP-I.90.31. Ispra, Italie, Joint Research Centre, CCE.

PIGB. 1992. Improved global data for land applications. A proposal for a new high resolution data set. Report 20. Stockholm. PIGB.

Justice, C.O. 1992. Satellite monitoring of tropical forests. A commentary on current status and international roles. In J.-P. Malingreau, R. Da Cunha & C. Justice, éds. Proc. World Forest Watch Conf. CCE EUR 14651 EN. Ispra, Italie, Joint Research Centre, CCE.

Malingreau, J.-P., Da Cunha, R. & Justice, C. 1992. Proc. World Forest Watch Conf. CCE EUR 14651 EN. Ispra. Italie. Joint Research Centre. CCE.

Malingreau, J.-P. 1992. Satellite-based forest monitoring. A review of current issues. In J.-P. Malingreau. R. Da Cunha & C. Justice, éds. Proc. World Forest Watch Conf. CCE EUR 14651 EN. Ispra, Italie, Joint Research Centre, CCE.

Myers, N. 1992. Future operational monitoring of tropical forests: an alert strategy. In J.-P. Malingreau. R. Da Cunha & C. Justice, éds. Proc. World Forest Watch Conf. CCE EUR 14651 EN. Ispra, Italie, Joint Research Centre, CCE.


Page précédente Début de page Page suivante