In each Sampling Unit (SU), nine detailed land cover classes, including four forest classes, have been measured at two points in time. The time dimension refers to one historical satellite image acquisition close to the year 1980 and a recent one close to the year 1990. For each SU, the spatial location of different forest and land cover classes, and the changes that have occurred among those classes have been studied within this 185×185 km landscape. Interpretation and compilation procedures are described in Chapter II “Methodology”.
With a size of some three million hectares, comparable to an entire district or province, one SU provides a wealth of location-specific information which can be useful in future studies that go beyond the sampling frame of this pan-tropical survey.
From the study of each SU two sets of data have been produced:
While the state assessment consists of conventional area statistics, the change assessment, resulting in an area transition matrix or simply change matrix, is of particular interest in view of the rich information contained therein.
The change matrix in Table (4.1) 1, which shows the result of the interdependent interpretation of one of the 117 Sampling Units studied in the present survey, will serve as an example of change analysis based on matrix data. This Sampling Unit has been coded 4409 and is located in North East India, covering partly the states of Assam and Nagaland. The images used were Landsat Multi Spectral Scanner (MSS) and Thematic Mapper (TM), dated 6 December 1981 and 5 February 1988, respectively.
The results of the change analysis based on the change matrix above, and following the definitions discussed in section 2.2.1, are summarized in Table (4.1) 2. The complete analysis of changes for all land cover categories is presented in Annex 11.
Process of change
In addition to the calculated rates of change, the change matrix contains very interesting information on land use dynamics.
In Table (4.1) 1 the classes are ranked by decreasing biomass value, with the exception of the Plantation (Man-made Woody Vegetation) class, which appears last in view of its particular role. By placing the classes in this order, the values above the diagonal of the transition matrix (top-left to bottom-right) represent negative changes, viz, loss of biomass, while the values below the diagonal represent positive changes, viz, increase of biomass. The values along the diagonal represent the stable areas where no change has occurred.
| Interpretation classes of historical image | Interpretation classes of recent image (thousand hectares) | TOTAL historical image | ||||||||||
| Closed Forest | Open Forest | Long Fallow | Fragmented Forest | Shrubs | Short Fallow | Other Land Cover | Water | Plantation | '000 ha | % | ||
| Closed Forest | 1078.0 | 0.8 | 46.0 | 21.6 | 1.2 | 25.2 | 2.4 | 1175.2 | 42.0 | |||
| Open Forest | 0.8 | 40.8 | 0.4 | 1.6 | 1.6 | 45.2 | 1.6 | |||||
| Long Fallow | 0.6 | 683.6 | 80.8 | 12.0 | 47.2 | 0.4 | 830.0 | 29.7 | ||||
| Fragmented Forest | 6.8 | 18.4 | 80.8 | 0.4 | 7.6 | 114.0 | 4.1 | |||||
| Shrubs | 30.4 | 30.4 | 1.1 | |||||||||
| Short Fallow | ||||||||||||
| Other Land Cover | 1.2 | 8.8 | 0.8 | 532.8 | 543.6 | 19.4 | ||||||
| Water | 10.4 | 10.4 | 0.4 | |||||||||
| Plantation | 0.8 | 46.8 | 47.6 | 1.7 | ||||||||
| TOTAL | 000 ha' | 1092.8 | 41.6 | 756.8 | 184.4 | 45.6 | 0.0 | 615.2 | 10.4 | 49.6 | 2796.4 | |
| recent image | % | 39.1 | 1.5 | 27.1 | 6.6 | 1.6 | 0.0 | 22.0 | 0.4 | 1.8 | 100.0 | |
| Total '000 ha | Annual '000 ha | Simple annual % rate | |
| Gross Deforestation | 163.1 | 27.2 | 1.30 |
| Net Deforestation | 136.0 | 22.7 | 1.09 |
| Net Degradation of Natural Forest | 40.0 | 6.7 | 0.32 |
| Balance between NATURAL FOREST and MAN-MADE WOODY VEGETATION | ||||
| Natural Forest (continuous and fragmented) | Man-made Woody Vegetation (1) | Total Natural+ Man-made | ||
| Historical image (hist.) | '000 ha | 2 088.4 | 47.6 | 2 136.0 |
| Recent image (rec.) | '000 ha | 1 952.7 | 49.6 | 2 002.3 |
| Difference (hist.-rec.) | '000 ha | -136.0 | 2.0 | -134.0 |
| Simple annual rate | '000 ha | -22.7 | 0.3 | -22.4 |
| Simple annual rate | % | -1.09 | 0.70 | -1.05 |
| Compound annual rate | % | -1.11 | 0.69 | -1.07 |
(1) Man-made Woody Vegetation includes both forest plantations and agricultural plantations
Table (4.1) 3 and, in particular, Figure (4.1) 1, present more clearly the information contained within the change matrix.
The matrix in Table (4.1) 3 gives the relative values of class-to-class change as percentages of the total area that has undergone change (calculated by adding all the values above and below the diagonal, equal to 292 800 hectares). The row totals in the last two columns give the area changed by class of origin and the relative percentage of the total change. The column totals in the lower rows give the area and percentage by class of destination.
| Interpretation classes of historical image | Interpretation classes of recent image (thousand hectares) | Total Change by class of origin | ||||||||||
| Closed Forest | Open Forest | Long Fallow | Fragmented Forest | Shrubs | Short Fallow | Other Land Cover | Water | Plantation | '000 ha | % | ||
| Closed Forest | - | 0.3 | 15.7 | 7.4 | 0.4 | 8.6 | 0.8 | 97.2 | 33.2 | |||
| Open Forest | 0.3 | - | 0.1 | 0.5 | 0.5 | 4.4 | 1.5 | |||||
| Long Fallow | 2.0 | - | 27.6 | 4.1 | 16.1 | 0.1 | 146.4 | 50.0 | ||||
| Fragmented Forest | 2.3 | 6.3 | - | 0.1 | 2.6 | 33.2 | 11.3 | |||||
| Shrubs | ||||||||||||
| Short Fallow | ||||||||||||
| Other Land Cover | 0.4 | 3.0 | 0.3 | 10.8 | 3.7 | |||||||
| Water | ||||||||||||
| Plantation | 0.3 | 0.8 | 0.3 | |||||||||
| Total change by class of destination | '000 | 14.8 | 0.8 | 73.2 | 103.6 | 15.2 | 0.0 | 82.4 | 0.0 | 2.8 | 292.8 | |
| % | 5.1 | 0.3 | 25.0 | 35.4 | 5.2 | 0.0 | 28.1 | 0.0 | 1.0 | 100.0 | ||
From Table (4.1) 3 it appears that:
However, these percentages alone do not give the full impact of the observed land cover changes in terms of environmental degradation, related loss of biomass, and the overall detrimental effects of forest depletion. The magnitude of the changes can be put into better perspective when associated with estimates of biomass (see Section 2.8 “Biomass change analysis”). A nominal biomass value for each class permits the estimation of the biomass changes related to each class transition.
The woody biomass flux diagram in Figure (4.1) 1, which combines the values shown in Table (4.1) 1 with the estimated biomass values, is structured as follows:
Each transition is defined by the area value on the X axis and by the biomass value determined as the difference between the biomass values of the class of destination and the class of origin. Each transition is therefore represented by a rectangle, the area of which quantifies the total biomass change implicit in a class-to-class transition.
By including the biomass perspective, one is able to visualise and better understand the change processes, and even assess their environmental impact through the release (or sequestration) of woody biomass related carbon.
However, the biomass values allocated to each class are only indicative since no direct biomass measurements have been taken. The values used here have been inferred, for each land cover class, from biomass estimates produced by applying regression equations for estimating total aboveground biomass (Brown and Iverson, 1992) to stand tables from the forest inventory of the state of Nagaland (FSI, 1988).
| Figure (4.1) 1: Woody biomass flux diagram of SU 4409 |

The woody biomass flux diagram shows, inter alia, that:
In addition to the results presented so far, and in order to study the state and change of forest resources for the period 1980–1990, the results of each SU have been analysed, as described in Section 3.4, and the following standard outputs were produced:
The standardized SU results have been used as inputs for carrying out the statistical analysis of forest cover, deforestation rate, and the process of change at various reporting levels; these results have been reported in the following Sections.
Spatial output
For each SU two interpretation were produced, one for the recent and one for the historical image, showing class delineation. Both overlays were co-registered to the scale and projection of the recent image (scale 1: 250 000).
Digital raster maps were produced for all interpretation overlays using the spreadsheet files created during the compilation phase with, inter alia, the immediate objective of detecting possible data entry errors (see Sections 2.4 and 2.7 for details on the compilation system and raster map production). For each SU the following set of maps was produced using IDRISI® software:
In addition to their immediate use in validating the statistics produced for each SU, and in spite of their relatively coarse resolution (pixels of 400 hectares), these maps represent a very important output in the context of a multi-layer global Geographic Information System.
As example of the raster maps produced on the basis of the data generated for each SU, Figure (4.1) 2 shows the maps generated for SU 4409.
A second set of digital maps is presently being produced by digitizing the original interpretation overlays to full resolution and geographic correction. This full resolution mapping activity, which involves considerable additional costs and time, is at present in progress of implementation.
In view of the rather large area covered, the set of maps produced for each SU represents a document with its own inherent value, showing, in spatial and statistical form, the dynamics that have taken place in that particular location during a specific time period. The potential use of these results goes well beyond the present statistical survey, or the proposed continuous monitoring approach. Its global consistency, spatial and thematic resolution provide a sound basis on which the spatial and statistical modelling of deforestation and forest degradation can be carried out.
| Figure (4.1) 2 : Raster maps of Sampling Unit 4409 | ||||||||||||
| LEGENDS | |||
| December 6th, 1981 | |||
![]() | LAND COVER CLASSES | ||
| Closed Forest | ![]() | ||
| Open forest | ![]() | ||
| Long Fallow | ![]() | ||
| Fragmented Forest | ![]() | ||
| Short Fallow | ![]() | ||
| Shrubs | ![]() | ||
| Other Land Cover | ![]() | ||
| Water | ![]() | ||
| February 5th, 1988 | Plantations | ![]() | |
![]() | Non Visible | ![]() | |
| LAND COVER CHANGES | |||
| Deforestation | ![]() | ||
| Fragmentation | ![]() | ||
| Partial Deforestation | ![]() | ||
| Degradation | ![]() | ||
| Decrease of Biomass | ![]() | ||
| Land Cover Changes: December 1981 – February 1988 | Forest↔Plantations | ![]() | |
![]() | Stable Forest | ![]() | |
| Stable Fragmented Forest | ![]() | ||
| Stable Non-forest | ![]() | ||
| Increase of Biomass | ![]() | ||
| Amelioration | ![]() | ||
| Partial Afforestation | ![]() | ||
| Afforestation (natural) | ![]() | ||
| Non Visible | ![]() | ||
The most interesting result of the survey is the set of change matrices produced, one for each Sampling Unit (SU), to describe in detail the class-to-class transitions that occurred during the period between the dates of acquisition of the satellite images used. Before being used for regional and global synthesis the change matrices were standardized for the 10-year period 1980–1990. This adjustment was effected through the mathematical analysis of the annual and periodic class transition probability of each matrix (see Section 2.5). The resulting standard matrices have then been post-stratified according to ecological characters and aggregated according to classical statistical methods for sample survey that take into account the unequal probability of inclusion.
Mean transition matrices were produced at pan-tropical level, for three tropical regions (Africa, Latin America and Asia) and for three broad ecological zones (wet and very moist, moist and dry). The results discussed below derive from the expansion of the mean transition matrices, to the total land area of the corresponding sampling frame section from which the SUs were selected. This excluded satellite scenes “non-forested” or with less than one million hectares of land (see Section 2.1.1). The area surveyed, and represented by the results given below, is given in Annex 4, for the geographic regions, and in Table 1 of Section 4.2.3, for the ecological zones. As a consequence, the estimated forest cover and deforestation rates discussed here cannot be directly compared to other estimates referring to total and regional tropical countries' land area1.
Transition matrix
Table (4.2.1) 1 shows the global area matrix based on the survey data, which gives the estimated class-to-class transitions that occurred in the total land area surveyed for the period 1980–1990.
| Land Cover Classes in 1990 (Million hectares) | ||||||||||||
| TOTAL 1980 | ||||||||||||
| Land Cover Classes in 1980 | Closed Forest | Open Forest | Long Fallow | Fragmented Forest | Shrubs | Short Fallow | Other Land Cover | Water | Plantations | Million ha | % | |
| Closed Forest | 1275.91 | 8.97 | 9.27 | 9.17 | 2.53 | 21.57 | 34.79 | 1.78 | 3.95 | 1367.96 | 44.6 | |
| Open Forest | 0.86 | 283.31 | 1.30 | 5.18 | 1.46 | 2.40 | 10.18 | 0.05 | 0.21 | 304.94 | 9.9 | |
| Long Fallow | 1.10 | 0.26 | 48.61 | 1.08 | 0.79 | 2.35 | 2.27 | 0.05 | 0.01 | 56.54 | 1.8 | |
| Fragment. Forest | 0.58 | 0.63 | 0.63 | 159.33 | 0.45 | 1.41 | 11.40 | 0.25 | 0.39 | 175.06 | 5.7 | |
| Shrubs | 0.15 | 0.20 | 0.26 | 0.14 | 152.6 | 0.34 | 19.17 | 0.19 | 0.15 | 173.30 | 5.6 | |
| Short Fallow | 0.56 | 0.29 | 0.46 | 0.39 | 0.16 | 119.79 | 7.30 | 0.19 | 0.17 | 129.31 | 4.2 | |
| Other Land Cov. | 0.71 | 0.70 | 0.26 | 1.35 | 1.94 | 2.03 | 834.23 | 1.58 | 0.44 | 843.26 | 27.5 | |
| Water | 0.14 | 0.02 | 0.01 | 0.05 | 0.01 | 0.07 | 1.46 | stable | 0.02 | 1.78 | 0.1 | |
| Plantation | 0.05 | 0.03 | 0.00 | 0.00 | 0.00 | 0.01 | 0.11 | 0.00 | 15.68 | 15.88 | 0.5 | |
| TOTAL 1990 | Million ha | 1280.06 | 294.41 | 60.81 | 176.69 | 160.0 | 149.97 | 920.91 | 4.09 | 21.03 | 3068.01 | |
| % | 41.7 | 9.6 | 2.0 | 5.8 | 5.2 | 4.9 | 30.0 | 0.1 | 0.7 | 100.0 | ||
A first set of data can be derived by comparing the row totals, which reflect the situation in 1980, and the column totals, which reflect the situation in 1990. Figure (4.2.1) 1 illustrates the result of this comparison, showing the total area lost or gained by each land cover class during the ten-year period. These values represent the net changes, viz., the algebraic sum of all gain and loss for each class.
| Figure (4.2.1) 1: Pan-tropical summary of net changes during 1980–1990 by land cover class |

A more complex description of the changes that occurred during the decade under study can be derived from the inner part of the transition matrix which is very rich in information but somewhat difficult to interpret.
As mentioned above, row totals give the class areas in 1980 while the column totals give the class areas in 1990. The shaded values along the diagonal of the matrix represent the class areas that remained unchanged.
To determine the changes observed in any single class, e.g., closed forest, one first needs to read the total area of that class in 1980, namely, 1 367.96 million hectares, and then read along the row inside the matrix: 1 275.91 remained unchanged, 8.97 changed into open forest, 9.27 changed into long fallow, and so on. The most important change that the closed forest class underwent was 34.79 million hectares that changed into other land cover.
In order to complete the analysis concerning the class closed forest one should also consider what other classes have become closed forest; this is done by reading down the closed forest column: of a total of 1 280.06 million hectares in 1990 (column total), 1 275.91 million hectares were already closed forest in 1980, 0.86 were open forest in 1980, 1.10 were long fallow, and so on. The largest, but still comparatively modest, transition to closed forest derived from the long fallow class; this transition refers to areas where the practice of long fallow shifting cultivation was abandoned, with consequent regeneration of the forest.
The results3 of the systematic analysis of class transition are summarized in Table (4.2.1) 2. A complete analysis of changes for all Land Cover Categories is presented in Annex 12.
The forest area estimates given below refer to the F3 definition of forest, discussed in Section 2.2.1, which includes the following classes:
Closed Forest
Open Forest
Fragmented Forest
Long Fallow
| Total (million ha) | Annual (million ha) | Simple annual (% rate) | |
| Gross Deforestation | 99.33 | 9.93 | 0.56 |
| Net Deforestation | 93.62 | 9.36 | 0.52 |
| Net Degradation of Natural Forest | 17.33 | 1.73 | 0.10 |
| Balance between NATURAL FOREST and MAN-MADE WOODY VEGETATION | ||||
| Natural forest (continuous and fragmented) | Man-made woody vegetation (1) | Total natural + man-made | ||
| Area at year 1980 | million ha | 1 787.2 | 15.88 | 1803.1 |
| Area at year 1990 | million ha | 1 693.6 | 21.03 | 1714.6 |
| Difference 1980–1990 | million ha | -93.62 | 5.16 | -88.46 |
| Simple annual rate | million ha | -9.36 | 0.52 | -8.85 |
| Simple annual rate | % | -0.52 | 3.25 | -0.49 |
| Compound annual rate | % | -0.54 | 2.85 | -0.50 |
(1) Man-made woody vegetation includes both forest plantations and agricultural plantations
From the aggregated area matrix one can derive the weighted mean transition probability matrix, as shown in Table (4.2.1) 3, which indicates the probability of any particular class changing into another one (or remaining the same) during the period 1980–1990.
| Classes in 1990 | ||||||||||
| Classes in 1980 | Closed Forest | Open Forest | Long Fallow | Fragmented Forest | Shrubs | Short Fallow | Other Land Cover | Water | Plantations | TOTAL |
| Closed Forest | .933 | .007 | .007 | .007 | .002 | .016 | .025 | .001 | .003 | 1 |
| Open Forest | .003 | .929 | .004 | .017 | .005 | .008 | .033 | .000 | .001 | 1 |
| Long Fallow | .019 | .005 | .860 | .019 | .014 | .042 | .040 | .001 | .000 | 1 |
| Fragmented Forest | .003 | .004 | .004 | .910 | .003 | .008 | .065 | .001 | .002 | 1 |
| Shrubs | .001 | .001 | .002 | .001 | .881 | .002 | .111 | .001 | .001 | 1 |
| Short Fallow | .004 | .002 | .004 | .003 | .001 | .926 | .056 | .001 | .001 | 1 |
| Other Land Cover | .001 | .001 | .000 | .002 | .002 | .002 | .989 | .002 | .001 | 1 |
| Water4 | .079 | .013 | .003 | .028 | .008 | .038 | .820 | .012 | 1 | |
| Plantation | .003 | .002 | .000 | .000 | .000 | .001 | .007 | .000 | .988 | 1 |
In order to focus on changes only, the matrix in Table (4.2.1) 4, below, gives the observed transitions as percentages of the total area that underwent change (the sum of all values above and below the diagonal; equal to 178.46 million hectares). The row totals give both the area and the percentage of total change by class of origin. The column totals give the area and percentage by class of destination.
| Table (4.2.1) 4: Analysis of change (Values within the matrix are percentages of the total area where change occurred during the period 1980–1990) |
| Classes in 1980 | Classes in 1990 | Total Change by class of origin | ||||||||||
| Closed Forest | Open Forest | Long Fallow | Fragmented Forest | Shrubs | Short Fallow | Other Land Cover | Water | Plantations | Million ha | % | ||
| Closed Forest | - | 5.0 | 5.2 | 5.1 | 1.4 | 12.1 | 19.5 | 1.0 | 2.2 | 92.04 | 51.6 | |
| Open Forest | 0.5 | - | 0.7 | 2.9 | 0.8 | 1.3 | 5.7 | 0.0 | 0.1 | 21.63 | 12.1 | |
| Long Fallow | 0.6 | 0.1 | - | 0.6 | 0.4 | 1.3 | 1.3 | 0.0 | 0.0 | 7.92 | 4.4 | |
| Fragmented Forest | 0.3 | 0.4 | 0.4 | - | 0.3 | 0.8 | 6.4 | 0.1 | 0.2 | 15.73 | 8.8 | |
| Shrubs | 0.1 | 0.1 | 0.1 | 0.1 | - | 0.2 | 10.7 | 0.1 | 0.1 | 20.60 | 11.5 | |
| Short Fallow | 0.3 | 0.2 | 0.3 | 0.2 | 0.1 | - | 4.1 | 0.1 | 0.1 | 0.95 | 5.3 | |
| Other Land Cover | 0.4 | 0.4 | 0.1 | 0.8 | 1.1 | 1.1 | - | 0.9 | 0.2 | 9.02 | 5.1 | |
| Water | 0.1 | 0.0 | 0.0 | 0.0 | 0.0 | 0.0 | 0.8 | - | 0.0 | 1.78 | 1.0 | |
| Plantations | 0.0 | 0.0 | 0.0 | 0.0 | 0.0 | 0.0 | 0.1 | 0.0 | - | 0.19 | 0.1 | |
| Total change by class of destination | M1 ha | 4.14 | 11.10 | 12.19 | 17.36 | 7.34 | 30.18 | 86.67 | 4.09 | 5.35 | 178.46 | |
| % | 2.3 | 6.2 | 6.8 | 9.7 | 4.1 | 16.9 | 48.6 | 2.3 | 3.0 | 100.0 | ||
From this table it would appear that:
The most common class of origin of the changes is closed forest with 51.6 percent of the total area having undergone change, followed by open forest with 12.1 percent and shrubs with 11.5 percent.
The most common class of destination of the changes is Other Land Cover (mainly through a shift to cattle ranching and permanent agriculture) with 48.6 percent of all changes, followed by short fallow (subsistence agriculture) with 16.9 percent and fragmented forest with 9.7 percent.
The most important class-to-class transitions are: closed forest ⇒ other land cover (19.5 percent), followed by closed forest ⇒ short fallow (12.1 percent) and shrubs ⇒ other land cover (10.7 percent).
The values reported in the tables above do not indicate fully the environmental impact of the observed land cover changes. The full magnitude of the changes can be put into better perspective when associated with estimates of biomass. An estimated mean biomass value for each class permits one to visualize and, to some extent, estimate the biomass changes related to each class transition (see Section 2.8 “Biomass Change Analysis”).
Similar to the analysis of SU 4409, described in Chapter 4.1, the areas of transition given in Table (4.2.1) 1 are illustrated graphically in Figure (4.2.1) 2, using indicative biomass values to estimate the “gradient” of class-to-class transitions.
As explained in greater detail in section 4.1, the X and Y axis represent, respectively, the area of change and the (indicative) woody biomass of the classes used. The X axis is in turn divided to represent positive and negative changes on the basis of increases or decreases in biomass implicit in the transitions. Each change is represented by a rectangle, the area of which quantifies the total biomass change implicit in any class-to-class transition.
The biomass flux diagram developed in this study is an essential tool for understanding the types of change and, provided that biomass values are reliable, in quantifying their environmental impact in terms of carbon release/sequestration.
| Figure (4.2.1) 2: Pan-tropical woody biomass flux diagram |

Note: Only class transitions involving more than 1.5 million hectares are shown in the diagram.
Figure (4.2.1) 2 shows clearly the complexity of the dynamics observed. Some remarks on the data gathered are mentioned below:
The pan-tropical flux diagram reflects the summary of land use dynamics of a wide variety of socio-economic conditions and ecological environments. As a consequence, it shows well the overall result of all these local dynamics but cannot represent their contribution to the global trend nor describe their characteristic change processes. These local aspects, which are essential for understanding the cause-effect mechanisms threatening the resources, can be seen more clearly in the conclusive results presented at regional and ecological levels.
Regional characters in forest area change
The pan-tropical change matrix and the flux diagram of woody biomass, shown in the preceding pages, summarize the land use dynamics of a wide variety of socio-economic and ecological environments. In order to evaluate the influence of these various conditions on change processes it would be useful to subdivide the pan-tropical data set into meaningful strata with more homogeneous characters.
The influence of socio-economic factors on the change processes appears to be clearly evident when the results of the survey are analyzed at regional level. At that level of analysis one can differentiate between typical change processes and the cause-effect relationship can be better understood. Change matrices and flux diagrams for the three tropical regions, viz., Africa, Latin America and Asia, are presented in Annexes 13, 14 and 15, respectively.
The graph in Figure (4.2.2) 1, which summarizes the results by main categories of change, allows for the comparison of the regional characteristics in forest cover change.
| Figure (4.2.2) 1: Main categories of forest cover change by geographic region |

The different patterns of forest area change indicate that there are differences among regions in the socio-economic processes that cause change.
In Africa the deforestation to other land cover (mainly permanent agriculture) has been much less important than in the other regions and has been accompanied by a comparatively large degree of deforestation to other wooded land (shrubs and short fallow agriculture), fragmentation and degradation. The process of change in Africa appears to be distinguished by phases of progressive degradation, characterized by a variety of relatively small changes, both in area and in biomass. The main thrust behind this process has been rural population pressure for land (subsistence farming, pastures) and wood (fuelwood, construction material).
In Latin America the change process appears to be quite different, with deforestation to other land cover (permanent agriculture, pastures and water reservoirs) being by far the most important change while the other types of change are almost negligible. This has been mainly the effect of centrally planned operations of comparatively large scale (resettlement and forest exploitation/conversion). This process was characterized by considerable changes both in area and in biomass. These changes were usually driven by financial investment and heavy mechanization.
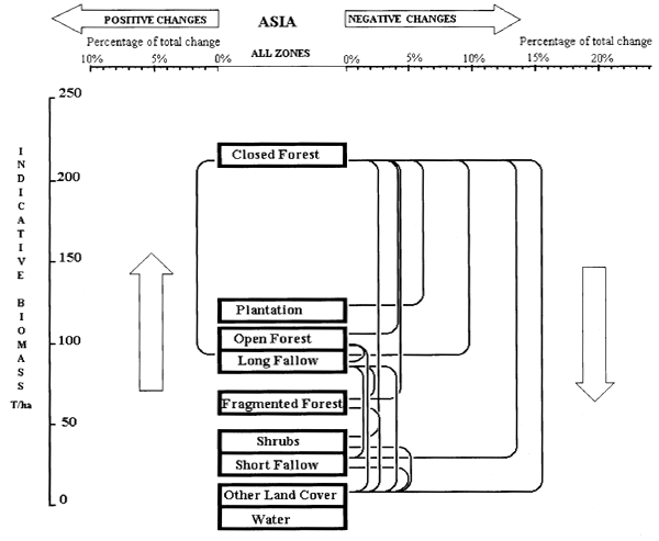
| Figure (4.2.2) 2: Regional biomass flux diagrams |
![]() | The effects of rural population pressure are very clear in Africa where the single most dominant transition has been closed forest ⇒ short fallow (small-scale subsistence farming) and where many transitions have been represented with similar frequency; the sequences closed forest ⇒ open forest ⇒ fragmented forest ⇒ other land cover are typical and they represent clearly the various progressive stages of forest depletion. In Asia this type of pressure is mainly represented by the sequences closed forest ⇒ long fallow ⇒ other land cover and closed forest ⇒ short fallow ⇒ other land cover, reflecting the expansion and intensification of shifting cultivation (classes Long Fallow and Short Fallow) in the hills of South East Asia. Abandoned shifting cultivation areas are represented by the positive transition long fallow ⇒ closed forest. The difference between the forest area going into long fallow and the area of long fallow reverting to forest shows how unbalanced this originally sound practice has become. In Latin America this type of change was less common but still visible in the transition closed forest ⇒ short fallow, largely the effect of small-scale farming in Amazonia and/or Yucatan. The effects of centrally planned operations are evident in Latin America and in Asia but to a much lesser degree in Africa. The typical transitions have been closed forest ⇒ other land cover or, relevant in Asia only, closed forest ⇒ plantation. Typical land uses related to these processes were: large areas of deforestation owing mainly to cattle ranching in the Brazilian Amazon, large resettlement and plantation programmes in South East Asia and, to a lesser degree, in West Africa. |
![]() | |
![]() |
In Asia both types of process seem to be represented, resulting in both significant deforestation and degradation. The deforestation to other land cover shows the effects of (i) large resettlement programmes involving forest exploitation/conversion (particularly in Indonesia and Malaysia); (ii) expansion of subsistence agriculture (short fallow shifting cultivation) that border forests along roads and existing crop land; and (iii) intensification of permanent agriculture on traditional shifting cultivation areas (South and South East continental Asia). The process of forest degradation was represented mainly by the expansion of forest affected by shifting cultivation (long fallow shifting cultivation), that encroached on previously dense or undisturbed forest. In this region a considerable area of forest has been converted to plantations, although primarily of the agricultural type.
The different processes of change are visible in greater detail in the regional biomass flux diagrams in Figure (4.2.2) 2. which show the frequency of all class-to-class transitions in relation to estimated biomass values. In order to focus on the most frequent and reliable class transitions and to improve the legibility of these diagrams, only the transitions accounting for more than two percent of the respective regional change are shown.
These diagrams, referring to percentages of each region's total change, allow for a comparison of the regional change processes, irrespective of the area that actually underwent change (see Annexes 13, 14 and 15 for more quantitative results).
Although all transitions have been simultaneous and not sequential (all have been based on the same two points in time), there are certain combinations of transition that imply a sequential character. On this basis the co-existence of changes such as closed forest ⇒ long fallow and long fallow ⇒ other land cover has been described here as a sequence of progressive degradation and the co-existence of changes of opposite sign such as closed forest ⇒ long fallow and long fallow ⇒ closed forest has been described as a cycle.
Comparing the three regional biomass flux diagrams, shown in Figure (4.2.2) 2, the nature of the regional change processes is visible and very distinct.
The forests of the tropical regions include a wide variety of formations, ranging from open tree savanna to multi-storey rainforest, which are indicators of complex and much varied ecosystems. Each forest ecosystem has distinctive characters in terms of, for instance, biodiversity and wildlife habitat, human habitat, environmental fragility and carbon density, etc. Similar changes in area in two distinct ecosystems can have quite different environmental implications. We need answers to questions as:
How are the diverse tropical ecosystems changing?
Are they undergoing the same processes and change rates?
The data presently available do not allow for detailed ecosystem level analyses; however, by stratifying the data available according to ecological parameters, good indications of the main trends affecting broad ecological zones can be obtained. Sampling unit results were therefore post-stratified and aggregated by ecological zone. The ecological parameters used were derived from of the Eco-floristic Zone Map of the Tropical Regions (FAO, 1988) which refers to Holdridge Life Zones (1959). The final ecological zones used here (see Figure (4.2.3) 1) represent a simplification of the original classifications and have been defined on the basis of rainfall parameters only. The population parameters of the ecological stratification are given in Table (4.2.3) 1 and the ecological zones have been defined as follows:
| Z1 - Wet and Very Moist | (rainfall<2000 mm) |
| Z2 - Moist (with short and long dry season) | (rainfall 1000–2000 mm) |
| Z3 - Sub-Dry to Very Dry | (rainfall 200–1000 mm) |
| Table (4.2.3)1: Ecological stratification (Population parameters) |
| Zone 1-WET | Zone 2-MOIST | Zone 3-DRY | TOTAL (all zones) | ||||||
| Total land area | Surveyed land area 1 | Total land area | Surveyed land area1 | Total land area | Surveyed land area1 | Total land area | Surveyed land area1 | Surveyed / Total | |
| Million ha | Million ha | Million ha | Million ha | % | |||||
| Africa | 112.9 | 112.6 | 790.0 | 741.0 | 1362.6 | 370.4 | 2265.6 | 1 224.0 | 54.0 |
| L. America | 527.7 | 521.6 | 817.6 | 532.5 | 343.0 | 179.5 | 1 688.4 | 1 233.6 | 73.1 |
| Asia | 324.3 | 257.6 | 240.7 | 195.9 | 363.7 | 157.0 | 928.7 | 610.5 | 65.7 |
| Total | 964.9 | 891.8 | 1848.4 | 1 469.4 | 2069.4 | 706.8 | 4882.7 | 3 068.0 | 62.8 |
| Surveyed / Total (%) | 92.4 | 79.5 | 34.2 | 62.8 | |||||
| Sampling units2 | Sampling intensity | Sampling units2 | Sampling intensity | Sampling units2 | Sampling intensity | Sampling units2 | Sampling intensity | ||||||
| land area million | land area million | land area million | land area million | ||||||||||
| # | ha | % | # | ha | % | # | ha | % | # | ha | % | ||
| Africa | 3 | 4.9 | 4.4 | 28 | 62.7 | 8.5 | 16 | 36.6 | 9.9 | 47 | 104.2 | 8.5 | |
| L. America | 11 | 22.7 | 4.4 | 23 | 53.0 | 10.0 | 5 | 12.1 | 6.7 | 39 | 87.8 | 7.1 | |
| Asia | 12 | 17.9 | 7.0 | 9 | 21.2 | 10.8 | 8 | 20.2 | 12.9 | 29 | 59.3 | 9.7 | |
| Total | 26 | 45.5 | 5.1 | 60 | 136.9 | 9.3 | 29 | 68.9 | 9.7 | 115 | 251.3 | 8.2 | |
The main climatic parameters of the three ecological zones are tabulated in Annex 16. Change matrices and flux diagrams by ecological zone are given in Annex 17, 18 and 19.

Figure (4.2.3) la: Africa Region - Map of Ecological Zones

Figure (4.2.3) 1b: Latin America Region - Map of Ecological Zones

Figure (4.2.3) 1c: Asia Region - Map of Ecological Zones
As a comparative summary, Figure (4.2.3) 2 shows the main categories of change in forest cover by ecological zone for each geographical region and as a pan-tropical summary. The graph shows the areas of change as percentages of the original forest cover in 1980, thus indicating the relative level of depletion that the forests in the various ecological zones and geographical regions have undergone during the decade. By observing the pan-tropical summary the trend is very clear: the forest in the moist zone has been deforested, fragmented and degraded with a much higher intensity than in wetter and drier zones. In particular, if one considers only the frequency of the two categories of deforestation (to other land cover and to other wooded land) in the moist zone, it is more than double that of the other zones.
This can be explained by the better suitability of the moist zone for agricultural practices (and probably by the higher population density and growth) in comparison to the other zones.
| Figure (4.2.3) 2: Main categories of forest change by ecological zone at regional and pan-tropical levels |

This ecological trend is also consistent with those at the regional level, as the graph clearly shows. In all regions the forests of the moist zone suffer a higher rate of depletion (see also Annex 20 for eco-regional tabulation of results). In addition, from this graph some eco-regional characteristics emerge:
In spite of the distinctive eco-regional characteristics mentioned above it would appear that the ecological influence has a greater effect on the intensity of change rather than on its nature.
| Wet and Very Moist | (rainfall > 2000 mm) | An interesting additional perspective is provided when the changes are related to estimated biomass quantities. The flux diagrams of woody biomass shown in Figure (4.2.3) 3 relate the estimated changes on the X axis (double scale: (i) percentage of total change; and (ii) area in million hectares) to the indicative biomass values of the land cover classes on the Y axis, by ecological zone. These diagrams permit a comparison of the biomass losses involved in the processes of change and, indicatively, to quantify the contribution of woody biomass to the carbon cycle in each ecological zone. The quantity of biomass lost or gained in a given transition is represented by the area of the rectangle having as its base the area of the transition (X axis) and as its height the difference in biomass value between the class of destination and origin. In comparison to the percentage area changes reported in the stack-bar graphs above, it is interesting to note the large difference between the biomass loss in the wet zone and in the dry zone in spite of a comparatively similar (percentage) rate of change. The moist zone shows the largest amount of biomass loss, keeping its negative leadership. From the results available to date it would appear that socio-economic and cultural aspects determine the nature of the change process, while the ecological setting determines the intensity of change. |
![]() | ||
| Moist with short and long dry seasons | (rainfall 1000–2000 mm) | |
![]() | ||
| Sub-Dry to Very Dry | (rainfall 200–1000 mm) | |
![]() | ||