3.1.1 Dr. Cihlar introduced the subject by presenting a conceptual framework for the activities in the initial observing systems (IOS); reviewing the TOPC goals and strategy used to achieve these goals; and reviewing TOPC tasks presently underway.
3.1.2 The conceptual framework (Figure 1) is intended to facilitate the planning and execution of TOPC activities. The framework builds on the planning activities for terrestrial climate-related observations (presented in the second version of the TOPC planning document (GCOS Report #32, 1997)), and relates to the initial implementation of the global terrestrial observing systems. In addition to helping TOPC identify critical tasks, it should assist in determining if various candidate activities are critical to the TOPC mission.
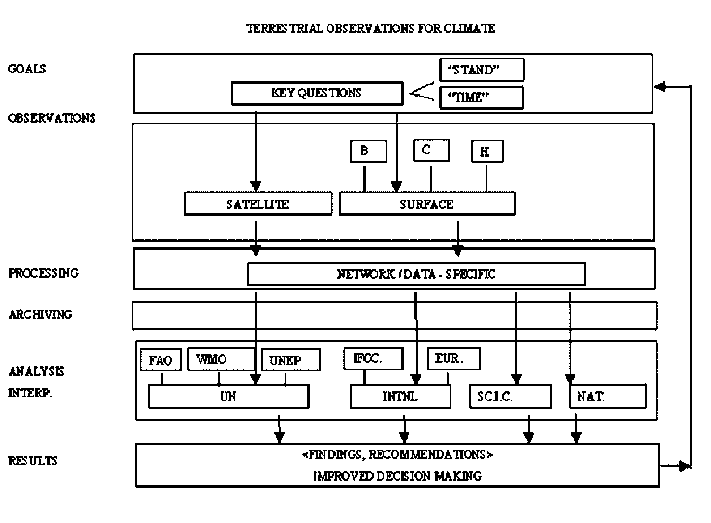
3.1.3 To ensure that the observing systems provide outputs relevant to the problems to be solved, it is necessary to identify key climate issues and questions in the terrestrial domain. Four such questions were previously identified and presented to the JSTC (Joint Scientific and Technical Committee, GCOS) and IGBP for comments. They concern four aspects of the climate - terrestrial environment relationship:
Changes in the magnitude, direction, and regional or seasonal distribution on climate change and variability;
Impact of climate change on terrestrial ecosystems;
Changes in terrestrial characteristics affecting processes and terrestrial-atmospheric interactions;
Critical terrestrial variables and data sets needed for general circulation models and for assessing the terrestrial impacts of climate change.
Specific sub-questions were identified as examples for each of these (see Annex 4).
Figure 1: Terrestrial Observations for Climate
3.1.4 The conceptual framework in Figure 1 identifies the main activities and players in the domain of interest to TOPC, i.e. the climate-related terrestrial issues. It is evident that because of the important roles that climate plays in the terrestrial systems, the complexity of the latter and the number of agencies and interests at various geographic and policy levels, the initial implementation must be considered carefully and from a number of viewpoints. On the other hand, a functioning global observing system is relatively straightforward (refer to the left-hand side of Figure 1): the appropriate data must be collected, processed and analysed, and used for improved understanding of the changes and improved decision making.
3.2.1 Based on the above schema, four goals were proposed for the next 5 years. They recognise that satellite observations and terrestrial networks are fundamental building blocks for global observing systems; that joint activities of terrestrial networks and sites are a key mechanism to establish a functioning system for land observations; and that the compiled global data sets is the key desired output. The proposed goals are:
By 2003:
Establish networks, ensure their longer-term viability including the necessary ongoing support of GCOS/GTOS. Functional networks will be established for ecology, glaciers, permafrost, and hydrology;
Stimulate completion or near-completion of two demonstration projects, Net Primary Productivity (NPP) and Global Observations of Forest Cover (GOFC);
Stimulate compilation of critical data sets for IPCC or other important users;
Demonstrate continuing responsiveness to (changing) requirements, including those flowing from IGBP, IPCC, and convention secretariats, WCRP.
3.2.2 The achievement of the above goals must be a collective effort, with TOPC contributing leadership and initiative in relation to specific issues and areas. Identifying appropriate new activities and the directions in which they should evolve, and providing leadership or stimuli to initial progress are among the most effective contributions of TOPC to establishing the Initial Operating System. Given in addition the very limited resources available to TOPC and the extra-curricular nature of TOPC members contributions, the best strategies for achieving the goals appear to be:
Assist in the establishment of networks through TOPC members activities and professional contacts;
Assist in the initial implementation by:
identifying data sets;
establishing linkages with scientific programs (IGBP, GEWEX.);
identifying opportunities for continuing long-term observations from sunset experimental programs;
collaborating with GOSSP and other panels;
Participating in the formulation of important demonstration projects;
Supporting JSTC and GTSC in developing full-scale implementation plans;
Monitoring related developments, changing requirements.
3.2.3 Dr. Cihlar noted that the various activities undertaken by TOPC over the last year are consistent with the above approach.
3.2.4 TOPC discussed the above plan. It was agreed that Figure 1 provides a suitable framework for TOPC activities. The goals as outlined above are appropriate given TOPC terms of reference, recognising that their achievement requires collective effort of a number of agencies and groups. The key questions were modified in a subsequent discussion group to better reflect their relationship to policy and decisions makers (refer to Annex 4).