Looking only at the livestock share in the agricultural GDP and its slow growth rate during the last two decades, one would be misled to conclude that the livestock sector is a sunset industry (Figure 2.1). Such conclusion is not only wrong, but in fact there has been revolution in some livestock subsectors, particularly chicken and dairy. The revolution has not only taken place in technology and production, but can also be visibly seen in the nature of contractual arrangement, supply chain and trade. This chapter will describe those changes and analyse factors behind the changes. The main concern is the impact of structural changes, particularly the issue of scaling up of livestock farms, on the small holders.
The livestock revolution first took place in the late 1970's after the new production technology and the modern contractual arrangements were introduced in the Eastern provinces by a rapid growing agribusiness private firm, C.P., which has later on become a multi-national corporation in the food industry. The new technologies have turned the back-yard chicken farms into the modern business farms. They pushed what once used to be household and independent activities to become large multi-billion industries, where all factors of production must constantly be under strict controls to achieve optimal results.
The risk of being a pioneer in technological improvement is that technology is a public good, which can be easily copied for usage in other farms. To prevent the free rider problem, in late 1970's, CP adopted the first modern contract farming which was copied from the experience of one of the US largest poultry companies - Arbor Acres. This allows CP to capture the rent generated by the adoption of new technology. More details on these contracts and their nature will be thoroughly discussed in the latter section.
The technologies have allowed farmers to control the production costs and to substantially increase chicken production. The domestic broiler chicken production was around 474,000 tons in the early stage of revolution, and has risen to over 1.2 million tons in the year 2001 (Table 2.1). But the rapid growth of broiler production would not have occurred had there been no export. The remarkable technological engines were, then, driven with fuels from the East Asian growth. Right from the beginning, a private firm saw the export opportunity, and lobbied the government for a permission to build an export-oriented chicken slaughterhouse. It was a clever strategy to avoid conflicts with the small traders. As a result, the next two decades were the "chicken decades" when the value-added share of the hen subsector in agricultural GDP was more than doubled (Figure 2.1). Chicken meat is no longer the luxurious food for the rich, but the meat that even the poorest can afford, thank to the sharp decline in its price relative to the prices of other meat, particularly pork and fresh-water fish which are the Thais' main diet. It is now the least expensive protein source on the market. Per capita consumption of chicken has therefore, jumped sharply (see Table 2.1). Domestically, periods of falling prices have doubled the broiler chicken consumption from 6.8 kg per person to over 12 kg since the dawn of the revolution.
The layer industry and egg consumption have also expanded significantly, though not as impressive as the broiler because around 90 percent of eggs produced are mainly for domestic consumption. Nevertheless, domestic consumption alone was already enough to stimulate growth in the industry. Annual consumption per capita jumped from 66 eggs all the way to 145 eggs in 1995, and dropped slightly to 139 in 2001 (Table 2.1). The growth of the layer industry can also be explained by the similar factors affecting the broiler industry, i.e., the adoption of modern technology and rapid economic growth in the late 1980's. The new technology has enabled the industry to accelerate its egg production, from 3,282 million eggs in 1983 to almost triple at 9,000 million in 2001 (Table 2.1). Although, the modern technology was imported by the agri-business firms, they have not been able to control the major production share as in the broiler industry. This issue will be discussed later.
Although the modern pig breeds was first introduced in the 1960 and farmers were trained in modern production and farm management in the mid 1975, the revolution in the swine industry has just begun to take place fifteen years ago. The introduction of modern exotic pig breeds (particularly Large White and Tamworth by the Department of Livestock Development, and later on the American Landrace and Duroc-Jersey by Kasetsart University) has enabled the farmers to move into the modern pig farm production. But the development had been at snail pace because it took years for the farmers to learn the new farm management practices and to understand that the performance of the improved breed animals required better nutrition. And yet, the development was retarded by the government regulations on slaughterhouses and transport of live animals and pig carcass across district borders (Poapongsakorn, 1985). In the early 1980, the ban on cross-border transport was lifted but the regulations on slaughterhouses were only partially revised to allow for the establishment of new export-oriented slaughterhouses. Then, the industrial boom in the late 1980's, followed by the property boom in the early 1990's had suddenly spurred the growth of the pig industry. At the same time many types of pig housing, which are necessary for the highly stress sensitive European pigs, have been introduced. Many large-scale commercial farms have begun to adopt the evaporated cooling pig housing which in turn, has positive impact on the farm size.
According to the Table 2.1, the production of swine subsector has increased over the years, from just less than 11 million pigs to 16.357 million. However, its production was hit by the bad economic climate during the Asian Financial Crisis, and consequently, contracted from its peak in 1997 of 17.554 million. Given such a growth in production, and knowing that hog farming only aimed at domestic consumers, the obscurity in figures arises from the given consumption per capita. Evidently, the growth rate of per capita annual pork consumption has not at all increased, from 11.68 kg in 1983 to 12 kg in 2001(Table 2.1), to a comparable degree to its production. The consumption numbers, therefore, are somewhat erred, and, under some scrutiny, we suspect that the consumption per capita given may not include and overlook pork consumption from processed products, for example, sausages, meatballs, and hams. Yet, given the lingering sanitary problems in the slaughterhouses and in the products themselves, we still expect some contraction in pork consumption over the past several years.
The rapid growth of the pig production, which was temporarily interrupted during the period of economic crisis (1997-99), has experienced a few constraints. First, three largest pig-producing provinces, i.e., Nakorn Pathom in the West, and Chacherngsao and Cholburi in the East (see Figure 2.4), cannot accommodate the new large-scale farms because of land constraints and the high risk of disease spreading. Therefore, one has witnessed the expansion of new pig farms into Ratchaburi (in the West), and Saraburi and Lopburi (in the East). These provinces, particularly the latter two, have abundant water resources. Another constraint is the increasing level of water pollution caused by the farms situated near the rivers and public waterway in Nakorn Pathom and Chacherngsao (see more details in chapter 3).
However, the revolution is not entirely in the hands of the farmers and the agri-business firms. In the dairy sector, the government has been very instrumental in the development of the industry in all areas ranging from the imports of breeder, providing all kinds of production subsidy, protection and playing a coordinating role between the dairy producer cooperatives and the dairy processing companies. The coordination has enabled the farmer cooperative to be able to sell all their raw milk to the private firms, which have comparative advantage in nation-wide marketing. Therefore, the division of labor between the farmers and the companies is made possible.
During the period of 1993-1995, the growth rate for Dairy Cow industry has been stimulated immensely due the government's project to provide free milk 260 days per year for kindergartens up to Grade 6 in elementary level. This milk program has a restriction that the subsidized milk for students must only be from domestic dairy production with full contents of Thai raw milk. This provision accounted for 50 percent of domestic dairy consumption. It broadened the market base for Thai dairy industry, and consequently, the expansion of the industry itself. Moreover, rises in Thai middle-class purchasing power and the government's further campaign for higher level of milk consumption have both contributed in continuous 20 year growth of milk industry. Thai citizens, nowadays, consume more than 9 kg of milk per person comparatively to merely 1 kg in the past (Table 2.1).
In addition, the government also introduced the "local content requirement policy" as another domestic dairy support. The policy required that any importers of skim milk powder must purchase domestic raw milk at 1 to 20 tons ratio (for example, to import 1 ton of the powder, 20 tons of domestic raw milk must also be procured). However, this local content requirement policy will only take effect until 2003 when superseded by non-restrictive skim milk powder trading, as Thailand is a member of WTO and must fulfill its obligations for freer trades.
Production-wise, dairy subsector has been exhibiting the strongest growth out of the entire Thai livestock industry. In 1983, Thailand produced just 36,029 tons of milk. However, with all the supports and subsidies from the government, in 2001, Thai dairy industry's production reached 528,000 tons, or the impressive average annual growth of 15.4 percent (Table 2.1). Yet, this impressive growth rate purely depicts the undoubted success of the past, as over the past 4 years, the actual rate of growth has only been around 5-6 percent, not a sun setting rate, but also not a rare celebrity either. Many experts agreed that Thailand lack any slightest trace of comparative advantage in its dairy farms. Therefore, regardless of the amount of budget dumped into the subsidies of this subsector, it will not expand further than its narrow capacity to produce, i.e., the production will finally reach a satiation point, as we are already seeing its trend here.
In summary, the livestock revolution has just occurred in the last 15-20 years, beginning with the export-led broiler sector. Although technology, which includes breeders, feed technology, housing, farm management, and contractual arrangement, has been the prime driver, the export opportunity and rapid economic growth during the 1985-1995 were the important trigger. Moreover, the deregulation of government policies has also allowed the private sector to play critical role in the development of the livestock industry. The government decision to provide the tax incentives and to allow CP to establish the chicken slaughterhouse for export in the late 1970's was the most critical factor behind the development of the broiler industry. Again the deregulations of the pig trade in the mid 1980's has also eliminated most, but not all, of the constraints prohibiting the growth of the swine industry.
Most livestock farms, except cattle farms, are highly concentrated in a few provinces in the central, eastern and western regions around Bangkok. These provinces have all three main characteristics that make them suitable for livestock production, i.e., they are the major feed production areas, very close to Bangkok which is not only the largest meat market but also the main export ports.
The major broiler producing provinces are Cholburi and Chacherngsao in the East, Nakorn Pathom in the West, Ayudhaya in the Central region, and Nakorn Ratchasima (or Korat) which is the Northeastern province closest to Bangkok (see figure 2.5). Recently, the broiler production has rapidly expanded to the eastern provinces (such as Saraburi, Nakorn Nayok and Prachinburi), Lopburi in the Central and Supanburi in the West. Most of the new farmers are contract farmers with the exporting integrating agri-business companies. The integrators prefer to expand their production away from the existing major broiler producing provinces which are densely populated with all type of livestock farm. The major egg producing provinces are the some as the broiler production, i.e., Chacherngsao, Cholburi ad Nakorn Pathom. Recently, new layer farms are found in the eastern provinces of Nakorn Nayok and Prachinburi.
The first four major pig producing provinces are Chacherngsao, Cholburi, Nakorn pathom and Korat. Most pig farms in the first three provinces situate near the banks of two main rivers, the Bangprakong River in the East and the Tha Chin River in the West. The new growth areas for pig production are Ratchaburi in the west (which is also near the river) and along the Pasak River in Lopburi province. The Bangprakong and the Tha Chin rivers have suffered very serious pollution caused by the wastewater from the highly concentrated farms.
The first three major provinces for dairy farms are Ratchaburi in the west, Saraburi in the east and its bordering district in the Northeastern province of Korat. New dairy farms can now be found in the eastern provinces of Sakaew and Cholburi as well as the central province of Lopburi. (see Figure 2.6). Other important livestock producing provinces are Chiangmai in the North, and Khon Kaen in the Northeast.
All the major livestock producing provinces are between 60 to 250 kilometers from Bangkok. At first, the major production provinces are only 60 - 150 km from Bangkok. The rapid increased demand for livestock products has resulted in the expansion of livestock farms farther away from Bangkok, particularly towards the irrigated areas and near the river. In recent years, the road network linking these provinces to Bangkok has been substantially improved, resulting in low transport cost and shorter shipment time. But it should also be noted that these provinces used to be or are currently the major feed production areas. Nakorn Pathom, and Chacherngsao, which used to have the largest number of pig, broiler, and layer farms, were the rice production areas and thus there were abundant supply of rice bran and broken rice. The western province of Ratchburi is suitable for upland crops, thus providing almost all-year-round supply of roughage for the dairy farms. Other eastern provinces are dominated by upland crops: cassava and sugar cane in Cholburi, cassava and corn in Prachinburi and Sakaew. Saraburi, a province in the Central Plain, is both the rice-and corn-growing areas. Lopburi and the eastern district of Korat are the corn-belt areas. In all these provinces, other important crops such as rice and cassava are also frequently found (see Figure 2.7). Small areas of soybean production can also be found in some of these provinces (see Figure 2.5).
The revolution has had pronounce impact on the structure of the livestock industry. Perhaps, the most visible effects are that the average livestock farms have become larger, except the dairy farms; and that the contract farms have increasingly played important role in the broiler and the swine industries, while the cooperatives are the main selling agent for the dairy farmers and help managing the excess egg supply of the layer farms. The revolution has also affected the supply chain, an issue to be discussed below. This part will compare the changing structure of the four livestock subsectors, i.e., broiler, swine, dairy and layer.
During the first period of revolution, the livestock farm size had gradually increased. The big jump in farm size, particularly in the broiler; the layer, and the swine farms, only occurred in the 1990's after the evaporated housing was introduced. As the number of more efficient commercial farms increased, the backyard farms began to shrink rapidly. It is no longer efficient for the crop farmers to also raise chicken and pigs in their backyard, except in the remote rural areas. Not only that their production cost was higher, but farmers also find it increasingly difficult to sell a small number of animals. Most of the middlemen turn to do business with the commercial farms because the transaction cost per unit of animal is cheaper, as they take advantage with the economy of scale. Moreover, as the technological change is biased towards the larger scale farm due to the higher construction and labor cost, the number of smaller commercial farms that are less efficient will decline.
Table 2.2 confirms the above explanation. Not only that the number and percentage share of small-and medium-scale farms declined, the percentage share of animals raised by those farms dropped proportionately more. Note also that the total number of farms and number of very small (e.g. pig farms with less than 5 pigs per farm) and medium-scale farms (with 50-99 pigs per farm) have decreased. However, merely raw numbers could be quite deceiving without careful interpretations as 1993 is compared to the year in the midst of the Asian Financial Crisis - 1998. We can also see from the table that the total number of farms have decreased over the shown period (as once stated in earlier section), quantitatively with the average growth (or contraction) rate of -4.24 percent per year, while the number of pigs shrank 1.47 percent average annually. Ironically, while only the lone number of smallest size farms has increased (almost 500 percent over the period), its number of pigs decreased almost 50 percent. The medium-scale farms contracted both ways, in the number of holdings, and the number of hogs. For large-scale farms (100 and more pigs in the holding), the most interesting results of all presented in the table, the number of farms vanished very significantly between the shown 5 years; the medium-large contracted over 85 percent, and over 50 percent for the largest category. However, the shares that these surviving farms took up in the number of pigs leaped. For the largest category, in 1993, it merely nibbled slightly over 5 percent of the total pigs in the industry, but in 1998, it munched just digits less than 30 percent. The number of hogs being raised by this category also increased 365.6 percent (averaged to 73.12 percent annual growth rate), despite the shrinking subsector and the economic difficulties. This means that the livestock farms have become more specialized as the number of less efficient farms - regardless of their size - went out of business. We will discuss the equity implication later. There is also casual evidence that the official data tends to underestimate the number of large-scale farms and, particularly, the number of animal raised by the large farms. According to our study (Poapongsakorn et.al., 2002), the industrial experts that we interviewed have confirmed that there are now a significant number of broiler and layer farms with more than 100,000 birds, and at least a dozen of those farms have the stock of more than one million birds per farm. There are also at least 20 farms with more than 10,000 pigs. But very few dairy farms have more than 100 cows. If this information is correct, the large-scale farms may have already played much more significant role in the livestock sector, except the dairy farms.
Technology and the extent of the market are the most important factors affecting the farm size. The imported modern breeds and cross breeds have better performance in term of higher daily gain in weight, better feed efficiency and carcass quality. But without better nutrition and good farm management practices, such performance will not be achieved. Thank to the availability of high quality feed ingredients and feed additives, the large-scale fattening pig farms can produce their own feed using advanced feed production machine, which enables the farms to enjoy the economies of scale. In the broiler farms, most of which use ready-to-use feeds produced by the modern feed factories are able to buy feeds in bulky volume at lower average price. These technologies have enabled the large-scale firms to achieve higher productivity from their production. Ten years ago, swine FCR (feed-conversion ratio) was 3, but now have decreased to around 2.7. The broiler production has also only experienced sharp decline in FCR.
As mentioned above, the introduction of the evaporated cooling animal housing (for pig, broiler, and hens), which provides a comfortable range of temperature (about 25° - 27° C), has allowed the commercial farmers to raise more animal per square meter. However, to cut construction costs of the expensive imported housing system, the evap houses used in Thailand have been modified, though efforts have also been put forth to not compromise any of its original qualities. One important modification of the "adaptive" evap houses is the replacement of imported cooling pads simply with nylon nets that still performed well in holding the controlled temperature. In addition, with lower labor costs than the US, Thailand needed not to implement the fully automated system to cut labor costs. For the broiler subsector, this means the raising period have shorted to around 40 days, and for the layer subsector, this implies the yielding rate of over 300 eggs per hen per year from previously less than 260 eggs per hen per year. Finally, in the pig industry, the artificial insemination technology, which can provide better farrowing rate, is scale biased because it requires high cost of AI equipment and minimum number of expensive boars, as well as specific skills of operation.
Technology is only the necessary condition for larger farm size. The growths of demand for livestock made possible by the rapid economic growth in the 1985-95 period and the surge in the chicken export have facilitated the scaling up process in the livestock industry. Since income elasticity of demand for meat is elastic, the high growth rate led to higher demand for livestock products. The sharp depreciation of baht after the 1997 crisis (from 25.5 baht per US dollars in 1997 to 55 baht in January 1998) boosted chicken export. As a consequence, of larger farm size, the livestock farmers have become more specialized.
The revolution has not only affected the size distribution of livestock farms, but also changed the organization of livestock production. The initiation of the modern contract system in the livestock industry was also launched by CP, as noted above. Nevertheless, it would be very illusory to think that CP has never failed and everything it picks must always be a winner. CP first trailed out the hiring system, more similar to plantation system, where workers would get paid a fixed hiring rate. However, this system failed appallingly, as workers had no incentive to put forth the highest amount of efforts to attain the optimum level of outputs. Thus, in late 1970's, from previous experiences with Arbor Acres - one of the largest dominator in the US poultry industry - CP now tried the similar approach, contract farming. With success, farm management restructuring and future growth was inevitable in all subsectors of the industry.
In the broiler industry, a study in the 1980's found that few year after the introduction of contract farming in Thailand, the production organization was more heterogeneous than today. There were not only a significant number of independent commercial farms and contract farms, but there were also both the wage contract and the price guarantee farms together with a number of backyard farms. Today, one can hardly find any wage contract farms, except in the west and central regions. The price guarantee contract is now the dominant form of contractual arrangement (see explanation below). Moreover, the terms of contract of different contractors are now very similar. Although the large-scale independent farms are still playing important role, their number has substantially declined. In each province, there are now only a few large-scale contractors - each of which has to establish the contractual relations with small farmer so that they have large enough supply of chicken at the controllable degree of risks. The market is now dominated by a few integrators who control the whole supply chain ranging from the grandparent stock farms to the food retail business and export. It is also interesting that one group of chicken producers organized by an agribusiness company has successful become one of the largest exporter of chicken competing with the CP Group which has been the top exporter.
In the swine industry, the contract farms have become increasingly important players. But the independent farms - both the large-scale full cycle (from farrow-to-finish) farms and the medium-scale piglet farms - are still the largest groups of farms, which are probably more efficient. Although the wage contract farms are the most popular contractual arrangement, one still finds a significant number of price guarantee contract farms.
The layer industry has always been dictated by the large-scale independent farmers who were successful by forming the layer cooperatives. The cooperatives have played two important roles, i.e., managing the excess supply of eggs and lobbying for the government subsidy in the period of low egg price. But in recent years, CP, which is the largest agri-business firm, has successfully entered the industry with the contractual arrangement with small farmers (see more discussion of contract below). Yet in the past, there were still a larger number of small and independent farmers, which are also supported by the cooperatives, similarly to the large-scale. However, following the introduction of the evap housing system, smaller farms with less than 20,000 layers and farms producing inefficiently at the old rate of 260 eggs per hen per year began to wither away, especially in Nakorn Pathom and Nakorn Nayok, leaving the market at large to farms with even millions of layers, entirely equipped with the latest technology. As of today, according to experts in the field, there are about a dozen of large farms (each of which has more than one million layers) whose market shares combined are about two-thirds of the egg market.
Technology is probably the major factor that allows the independent pig farms to remain as competitive as the large-scale integrators such as CP. Despite the fact that the independent farms do not have market power on feeds and breeds, they are able to maintain higher performance in fattening than the contract farms. The reason is that the three way crossbreeds (Landrace x Largewhite x Duroc) for market pig production have allowed the independent farms to design their own breeding program and more selection of pig breed lines to produce more suitable market pigs under their production condition and under changing market demand. On the contrary, the contract farms tend to use the commercial hybrid pig breeds which are will controlled and will combined to produce the high performance and high carcass quality market pigs. However, the animals are always less study in tropical climate and more expensive than the purebred pig breeds.
The dominance of the independent farms in the layer sector can also be explained by the feed technology. There are different feed intakes among the layer farms due to variation of environmental conditions. Therefore, different nutritional specifications are required for the optimum performance and the lowest cost of egg production.
There are two reasons why the broiler industry is overwhelmingly dominated by the integrators and their contract farmers. First, the hybrid breeds were developed by only a few of world leading research companies. They have developed the production technology to the stage that is almost similar to the manufacturing process. The contract farmers who use their breeds, feeding programs, and other production process will almost certainly achieve the expected yield. Independent chicken farmers will have to buy the day-old chicks from the integrators, while the independent pig fattening farms can produce their own breeders from the two-way crossbreeds available in the market for breeders. While the latter can exploit their tacit knowledge to use different nutritional feed specification to obtain the best performance, the broiler farms do not have such opportunity. The second reason is that the ready-made feeds for broiler as well as the chicken markets have already been dominated by a few integrators. There is not much room for the independent farmers who do not have breed technology to compete with the large integrator. The only exceptions are that they have to defend their market share in some local markets against other competitors, who focus primarily in international markets, and to maintain or to increase their exports. That explains why one company which organizes a cooperative of independent farms has been the leading exporter of chicken.
As the extent of market has expanded, one would expect the livestock farm to become more specialized. This is true for the case of broiler and layer farms in which each specific task is performed by specialized farmers. The grandparent stock farms will be specialized at parent stock, while the hatchery produces only one-period-old chicks. But in the pig industry, there are still factors that limit the degree of specialization. Although there are specialized farms producing feeder pigs for sale and specialized fattening farms, the full cycle (from farrow-to-finish) farms still account for the large percentage share of all pig farms. This is because producing one own three way crossbreeds for the marketing pigs does not only allow the steady supply of feeder pigs for fattening, but also facilitate the control of feeder pig quality. Purchasing feeder pig from outside is very risky for commercial pig production due to unsteady supply, uncontrollable genetic background, poor quality and poor health status of animals.
The dairy sector is an exception to the above explanation. Despite all the government subsidy and support, the dairy farms still remain small. The small farmers, who cannot afford having expensive imported pure breed cows, have to grow crossbred cows, which are the up-graded native cows. These cows do not have the problem of heat stress as the imported cows, but they produce low lactation. Moreover, most small farmers have difficulty in culling practices. Given the small herd size, culling is too expensive, particularly when the price of milk remains high. The medium-scale farmers (with 20 - 49 cows per holding) represent the largest group of farmers. They have slowly acquired farm's management practices and tacit knowledge that enabled them to increase their farm size. And yet there are factors that limit the increase in farm size. First, most of the dairy cattle in Thailand have high degree of temperate pure bloodline, which makes them vulnerable to heat stress and they limit their lactation ability. Secondly, Thai farmers do not have adequate records of their cattle, which are necessary for an assessment of semen selection. Without such record, the farmers still have to depend on expensive AI semen. The third factor, which is the most important factor, is the shortage of roughage in the dry season because of the lack of irrigated land. Finally, there are also occasional disease outbreaks, which seriously affect the return to dairy farming.
In this section, we have discussed about domestic structural changes resulting primarily from domestic influences, and merely dabbed upon some international issues. In contrast to overlooking its importance, we acknowledge the great shaping power of the international market forces and external factors. The issue Section 2.5 will concentrate on this essential topic.
Contract farming the Thai livestock industry can be categorized into 3 different types, guaranteed prices (or forward contract) in baht per kilogram, wage contract with the hiring rate in baht per kilogram, and wage contract with the hiring rate in baht per head. The most popular type of contracts is the price guarantee contract (see Table 2.3). The terms and structures of the contracts vary from one to the other, depending on the types of livestock, and the agreement between contract providers and the contractees.
The price-guaranteed contracts are often found among the fattening pig farms, breeder swine farms, broiler farms, and layer farms. As part of the structures, the contract provider and the contractee will agree upon a satisfied contractual price before any farming begins. Once the agreement is settled, the contract providing company will supply all factors of production to the contracting farms, such as starting up the livestock, like breeders, piglets, chicks, in addition to all medical necessities, including specific teams of certified veterinarians, medications, to ensure the high standard of quality control. Though relieved from all obligations in overseeing the quality control, the contracting farmers will still have to face the costs of these factor provisions, appearing as the final deduction from the accounting book held by the corporation. Once that particular crop cycle ended, the farmers should receive the pays within 15-30 days following the catching date. Like anything else we may think of, price guarantee farming also has the sides of pros and cons that should not be neglected. This contract will shield farmers from the market risks of fluctuating market price and oscillating demands. But they will have high cost of enforcing the contract, particularly, at the time of low market prices of the product under the contract.
There are two basic types of wage contracts, the hiring rate per kilogram and the hiring rate per head. For the first kind of wage contract, the hiring-rate-per-kilogram contracts are generally associated with fattening pig farms only. The contract providing company will set a fixed hiring rate with some additional bonuses for contractors who succeed in achieving the requirement of feed conversion ratio (FCR) = 2.7 and death rate less than 3 percent. The rate frequently clings to the range of 1.7-2.5 baht per kilogram. With this type of contract farming, the contract providers will handle the costs of feeds, piglets, medications, and vaccines, while the contractors will solely be accountable for the investments in the housing arrangement, and the other costs such as utility, fuels and combustibles, additional labors. At the end of the cropping period, the pays to the contracting farmers will be computed simply by using the fixed rate multiply by the total weights of all pigs sold.
The second type, hiring-rate-per-head contracts, shows up only in the farming of breeder, swine, and broilers. The providing company will set a fixed rate per head, and will pay additionally to those contractors fulfilling the obligations and meeting the production requirements. Similarly to the first type of wage contracts, the contract provider will take charges for the feeds, piglets, medications and vaccines, while the contractors will be responsible for housing construction, utility bills, fuels and combustibles, and any additional labors.
The distinct differences in the price-guaranteed and the wage contracts are subtle, more than merely just the terms and conditions given in the above paragraphs. Consider again the Table 2.3, what points out these differences the most are their associated risks and the provided incentives to minimize them as much as possible. The wage contracts impose all risks, both price and production wise, onto the contract providers, while the contractees have every incentive to shirk off during the contractual period. Thus, strict monitoring from the integrator would be necessary to ensure efficient farming, but costs could quickly incurred. Or alternatively, the contract provider could provide incentives for higher quality, such as bonuses based on low mortality rate, and strong FCR. However, as the industry expanded rapidly, the monitoring and the quality incentive system have become paralyzed, and the price-guaranteed contracts were view as the future of contract farming. The price-guaranteed contracts share risks between the contractors and the contractees, as described in the Table 2.3. Since contractees must too be concerned about their productions, the only incentives for the contractors to provide would purely be of performance-base.
Moreover, contract farming can be looked at with more details according to different farms raising different breeds of livestock (fattening pigs, breeder swine, and broilers). The contractual uniqueness across the industry could be briefly summarized as follow.
2.4.1 Swine Contract
The farmer who has a contract to fatten pig will be paid, say, Bht 1.7 for each kilogram of live pig. He will be supplied with a 14-kg piglet and required feeds to fatten the pigs up to 100 kg in 17 weeks. The minimum conditions are that FCR should not exceed 2.7 and the mortality rate not higher than 3 percent. Piece-rate incentives are awarded if the performance is better than the conditions. On the other hand, if the feed used exceed the requirement, the farmer will have to bear the cost difference. The contract will be terminated if excessive use of feed is observed for two consecutive batch of fattened pigs.
The contract to produce piglets is a more sophisticated contract. The farmer will be supplied with sows, sires, feeds and drugs to produce and wean 4.5-kg piglets (about 17-18 days old). In return, he will be paid 90 baht for each piglet plus a bonus of 1 baht for each extra gram of piglet. Moreover, the farmer will receive 30-baht premium wage if the farrowing rate is 75 percent. If the farrowing rate is higher than 75 percent he will receive additional 5 baht for each percentage of the farrowing rate. The maximum premium is 105 baht if the farrowing rate is 90 percent or higher and number of piglets is 9 per wean. On the other hand, when farrowing meets the 75 percent target, but each sow yield less than 9 piglets, he will not receive any premium payment.
The third type of contract is the price-guaranteed on a credit term from the contractor at the price slightly higher than the market prices. The contract allows him to sell the 12-kilogram piglets to the contractor at the fixed price of 800 baht with additional bonuses of 25 baht per kilogram in excess of 12 kilograms.
2.4.2 The Broiler Contract
Price guarantee (bath per kg.): Accounting up to 81 percent of the studies, the farms committed to contract farming program have ranging guaranteed prices bottoming at 18 baht per kg, peaking at the top with 30 baht per kg, and the overall average of 25.6 baht per kg. Those with a strong interest in entering into a guaranteed-price contract must carefully take into careful considerations the precise restrictions and conditions binding the method of their production. For example, large corporations, who focus primarily on the exports and international markets, will impose tight quality control requirements that must be strictly followed by each contractor, such as an employment of adaptive-EVAP houses and strict control of the use of anti-biotic drugs. However, smaller corporations targeting domestic markets often allow a fair loosening up of such controls, giving the owners a greater flexibility in choosing their most suitable housing system. Yet, a common ground for both kinds of contract exists in the area of feeds and medications, prohibiting purchase from outside sources and any independent suppliers.
When select farming contractors, the providers, often agri-business corporations, will review any existing records of the past experience in farming, specifically on the effectiveness and the efficiency of the farm management. Decisions are made given the conclusions drawn from examining different aspects of the history, for example, the farm accounting records, revenue versus all costs, and the profit levels. Whenever unsatisfied with the performance, the contract providers may decide to decrease the number of chicks in the next cropping round, pause momentarily the current obligations, or discontinue the contracts all together.
Wage Contract (bah per bird per crop): This type of contract farming accounts for the rest of approximately 18.97 percent, where contract providers, often companies and corporations, pay a fixed rate per broiler per crop cycle to contracted farmers. The fixed rate varies from company to company, ranging from 1.57 baht per bird per crop to 7.5 baht per bird per crop, and the average hiring price sits at 4.2 baht per bird per crop, while each crop lasts 45 days. The consent on the hiring rate is always agreed upon before the contract begins, with well spelled-out details regarding the obligations on both sides. Contracts must also specify the exact required weight per broiler, averaging across all studied farms to 2 kilograms per broiler. However, if a contractor fails, in anyway, to meet this weight requirement, the pays will be deducted according to the deficient weights. The contract draws a clear and distinct line between the responsibilities of both parties. Contractors will be held liable for the costs of water, electricity, and labor, while the contract providers will be accountable for other costs, including feeds, medications, and vaccines.
2.4.3 The Layer Contract
In Layer farming, the contract providing companies will buy all produced eggs from their contractors at guaranteed prices, often higher than the market price for the product. However, to be eligible for the contracts, interested farms must already have laying houses completed prior to signing the contracts. This also implies constructions of new houses in the case that the farms do not currently have such facility within their vicinity. Nowadays, housing requirements also impose a restriction on the types of houses must be used. The contract providers will encourage, or frequently make mandatory for, the contracting farms to renovate their houses from traditional open houses to the closed system to increase egg productions. In addition, contractors must obtain all factors of production directly from the contract providing company, which include hens, feeds, antibiotics, and other medications, at also higher prices than the market prices. By monthly, the company will finalize its accounting book with each contracting farms, crediting and debiting all transactions. The farmers will later receive the net total of money.
2.4.4 Explaining Incidence of Different Contractual Types
As mentioned above, the contract farming was first introduced in the broiler industry. In the early years, there were a variety of contract types. But now the dominant contract type for broiler production is the price guarantee (see Table 2.3). The wage contract almost disappears from the broiler market, except in a few provinces in the western and Central Provinces where there are some large-scale local independent farms.
In the 1980's, the number of wage and price-guarantee contracts was not much different. There was also another contract called the credit or open account contract (Poapongsakorn, 1985). Since the market for contract has not been regulated and the farmers are free to choose their contracting partner, one would expect that through the evolution process both contracting parties will choose the most efficient type of contract with desired pattern of risk sharing with minimum transaction cost.
While the wage contracts remove most of the production and price risks against the contract farmers (or contractees), the contractor has to incur most of the transaction costs of enforcing the contract. Since the contractees who have incentive to shirk, the contractor will have to closely monitor them. The absentee contractors, such as CP, have higher transaction cost than the local contractor. Since only a few large-scale integrators dominate the broiler market, the wage contract is obviously not their choice. They prefer the contractees to help share the risks which will reduce the need of intense monitoring activities. Only the local large-scale contractors who are influential enough to control the shirking behavior of the contractees, are willing to engage in the wage contract. This is what we actually observe in our field survey. The wage contract in the broiler sector is between the local contractor and the small farmers who also depend on the credit from the contractor. Here the contractor is able to charge high interest rate for the loan to their contractees. The absentee contractors, such as CP, prefer the price guarantee contract because of it significantly reduce their transaction costs. Moreover, it is willing to assume most of the price risks because they have better market information and are more capable in diversifying the markets.
In the pig industry, there are fewer cases of price-guaranteed contract than the wage contract. All of the price-guaranteed contract farms, which are found only in the Eastern provinces, have contract with CP. The wage contracts are observed only between the farmers and the local contractors in the central region provinces. There are two plausible explanations. First, the small number of price-guarantee contract farms simply reflect the fact that the vertically integrated agri-business firms still do not have large market share in the pork industry. Secondly, the local contractors, who may be the risk lover and have close relation with the farmers, do not mind to assume the risks. They do not only have the comparative advantage (over the absentee contractor) in contract monitoring, but can also diversify the risks by setting the schedule of contracts with a number of contractees.
Except the dairy farms, the supply chain of the livestock industry is dominated by a few vertically integrated agri-business companies. This is in contrast to the situation in the early 1980's when the small agents still dominated every stage of the supply chain (Poapongsakorn, 1985).
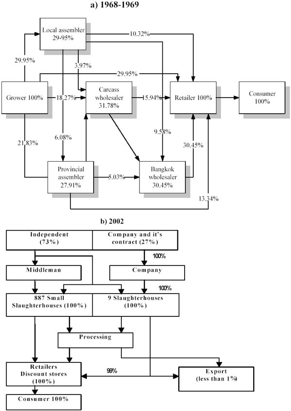
Twenty years ago, more than 40 percent of live chicken were brought to the central wholesale markets in Bangkok, and almost 60 percent to six slaughterhouses owned by the agri-business companies. More than 92 percent of the chicken went to the domestic retail market, which export accounted for less than 8 percent see Figure 2.2. In the late 1970's, the small chicken middlemen were already the least important buyers of chicken from the farmers, accounting for only 5 percent market share. The chicken growers sold most of their products directly to their contractors and the agri-business firms, which also operated the feed factories. Moreover, the number of chicken wholesalers in the central wholesale market had already decreased by more than 50 percent during the 1968-81 period, and their market share dropped by 10 percent - 15 percent. By 1980, there were only 50-60 wholesalers in the China town and other central markets in Bangkok.
Today, the distribution pattern has completely changed. Export now accounts for almost 69 percent of weekly production (about 21 million broilers per week). Although the share of the domestic market has declined to 31 percent, the volume of consumption and per capita consumption have jumped sharply (see Table 2.1). There is now a small number wholesaler in the central wholesale markets, which supply mainly the whole (New York dressed) chicken. Most chicken in both the retail markets and the food processing industry (which produces sausage, etc) come from 22 modern slaughterhouses owned by the agri-business firms.
The retail markets, particularly in Bangkok, have also changed drastically from the one dominated by thousand small retailers in the fresh markets. In the early 1980, there were 2,200 - 3,300 retailers in 220 fresh markets in Bangkok. Since then the live-style of Thai people have changed. The higher cost of time and traffic problems have forced people to do a one-stop shopping only a few times a week rather than two times per day. The number of discount stores and supermarkets have, therefore, increased rapidly. There are now about 162 large discount stores in Bangkok. As a consequence the number of retailers as well as the fresh markets have declined. There are now no more than 50 fresh markets in Bangkok. But it should be noted that there are also increasing number of very small fresh food shops and vendors in the low-and middle-income residential areas. Such pattern of retail trade is made possible by the existence of the large armies of small wholesalers who buy cut-up chicken from the slaughterhouses and make deliveries to a number of small retailers. Even the discount stores which tend to buy a large volume of meat have to depend upon a few suppliers. As a result, the retail markets are still highly competitive.
Unlike the fresh meat market, the market for food processing products is controlled by a small number of food processors some of which are the agri-business companies with large market share in the broiler industry. Here, the competition is also keen. However, in recent years the discount stores have acquired increasing buying power and are able to force the food suppliers to lower their profit margin.
Presently, the majority of Thailand's chicken exports go to Japan and the EU in two forms, frozen and precooked. Thai broiler subsector has utilized well its only comparative advantage of low labor costs. It exports only the frozen chicken meat (i.e. boneless) and the precooked form, while other parts, for example, the drumsticks and the inner organs, are for domestic market. It is worth a note that local chicken prices get set by international market rather than domestic demand, a rare event for Thai livestock industry. Since chicken exports have increased several folds, there are now 13 big poultry firms engaging in export business comparing to only a few major players in the 1980's.
By the early 1980's, the broiler industry was already dominated by a few vertically integrated agri-business firms that controlled significant shares in almost every stage of broiler production and procurement (see Table 2.4). There are essentially seven main stages under the vertical integrated structure: (a) backward integration which includes breeder stock (or Grand Parent Stock) farming and hatchery, feed production, veterinary drug and vitamin production, farm equipment manufacturing and broiler grow-out farming and contract growing; (b) forward integration which consists of 2 main stages, i.e., slaughtering and processing of meat and by-products; and retailing, exporting and restaurant outlets. Moreover, some companies also practice horizontal integration, particularly in the feed mill and slaughtering activities. For example, there are now 22 slaughterhouses owned by 13 integrators, comparing to 7 plants owned by 6 companies in 1980.
Despite the domination of the integrated firms, there are some differences between the situation in 1980 and today. First, the number of large vertically integrated companies has increased from 7 firms to 13 firms over the 1980 - 2002 period. However, the number of single activity firms has declined. Vertical integration enables the firm to exploit external economies and other cost advantage (such as tax savings) over the single activity firm (see more discussion below). Therefore, the firms that want to successfully compete with the incumbents in the same playing field have no other choice but the embrace the vertically integrated structure. Secondly, although CP has remained the largest player in the broiler industry, its market shares in several activities are not as high as in the past. Other integrated competitors have managed to increase the market share. For example, CP's export share dropped from 39 percent in 1980 to 20 percent in 2001, while a few competitors have higher export share (see Table 2.4).
As mentioned above, the integrated firms have competitive advantage over the non-integrated ones. There are several sources of externalities and cost advantages enjoyed by the integrators. But there are also some offsetting factors.
The major source of market power of the integrated firms is a control on imported advanced hybrids produced by the world leading broiler research companies (Henry and Rothwell, 1995). Imported technology which also includes, nutrition, disease control and farm management, will significantly reduce the cost of growing chicken. Once the technology is transferred to the farmers, it will become a public good. Vertical integration and contract farming are the necessary means for the company to capture such external benefits. Moreover, certain costs of using the market can be avoided and uncertainty about the quality of feed raw materials can be reduced through the vertical integration (Poapongsakorn, 1985). The average cost of the integrator in the control of food safety and the production of value added products are also lower. In addition, vertical integration also allows the firm to diversify risks both by securing several markets and alternative sources of production. For example if the demand for broiler is expected to decline, the adjustment cost can be shifted to their contract growers. Finally, the tariff quota administration has also benefited the integrated feed producers. Although Thailand has abundant supply of rice and cassava, it depends heavily on imported soybean and corn, both of which are subject to tariff quota under the Uruguay Round Agreement on Agriculture. As the major feed producers, there are allocated proportionately more import quota than the small feed producers since the quota allocation is based upon the history of imports. Therefore, the major feed producers stand to gain significantly from the import quota rent.
In conclusion, the broiler industry now consists of a number of vertically integrated firms, a few of which have the market domination. But the environment is still competitive. For examples, the independent large-scale growers have alternative import of parent stock if the integrators charge too high the price for the day-old chicks. Although a few integrators have managed to control substantial share in the domestic market, other large-scale independent growers who have integrated both backward and forward, are able to maintain significant market share in some local markets. The profitable export market has also attracted a number of new entrants. Meanwhile, some small chicken growers and wholesalers have shifted towards some niche market such as the native chicken, which can fetch high price. The market for contract farming is also competitive since there are choices of contractors that the grower s can choose to be affiliated with. Finally, there is a high degree of interdependence among the large-scale integrators and the contract farmers. The former has to depend on the service of the latter so that some risks can be avoided. This means that the contract farmer must be compensated with some economic rent generated by the proprietary technology so that the growers do not exit from the contract.
The supply chain of the swine industry has not change as drastic as that of the broiler sector. Only a few feed mill integrators have been able to penetrate the market. But there are some visible changes at the retail level (see Figure 2.3).
Two decades ago, the small local slaughterhouses supplied the pork meat in the retail market since there was a law prohibiting the shipment of pig meat across the administrative district. The only exception was Bangkok where pork meat from other provinces was allowed when there was occasional shortage. Today, live pig and pork can be shipped across district. As a result, there are now 9 large-scale abattoirs near Bangkok. These slaughterhouses are the major suppliers of pork meat for the supermarket, large discount stores and the food processing factories producing sausage and other pork products. At least 1-2 of these slaughterhouses are operated by CP. It is estimated that its market share in the pork retail market is 20 percent. The other integrators also have some small market share. Therefore, 887 local slaughterhouses throughout the countries supply most of the market shares.
There are some changes in the distribution pattern at the retail level. As mentioned, the discount stores are now the largest retail outlets that have high buying power and can, therefore, obtain pork supply at lower market price. Moreover, these giant retailers have begun to impose food safety standards on the pork they buy. The other group of large buyers of pork meat is the modern food processing producers producing national bands of pork sausage, ham and other pork products. They buy fresh pork from both the slaughterhouses and the discount stores. Some of these producers also have their own pig farms.
The changing pattern of the retailing distribution can be attributed to the changes in the lifestyle of Thai people and the deregulations of the slaughterhouse and pork meat shipment across district.
On the other hand, the feed mill integrators have not been so successful in gaining more market share in the pig industry. They do not possess the technological superiority over the independent pig growers. Although they have imported hybrids, those animals are not sturdy in the Thai environment. Moreover, the independent farmers can produce the high performance 3-way cross breeds and use the feed nutrient programs to obtain the optimum feed conversion ratio without having to rely upon the ready-to-use feeds produced by the integrators. That there is almost no export opportunity may also affect the planned business expansion of the integrators. Thailand has not been able to export large amount of pork products for the last 10-15 years mainly because of the disease and food safety problems. Finally, the occasional price control on pork meat may also affect the growth of the pig industry in general, and the integrator in particular.
Over the last twenty years, CP has now becoming the most threatening competitor against the large-scale independent layer farms which form a national cooperative. Although CP and other integrators have technological control on imported breeds and have marketed brand-name eggs in the retail market, particularly in the discount stores, their market shares are still less than 30 percent. The large-scale independent growers still have access to parent stock imported by as many as 12 companies. Moreover, they are able to produce their own nutrition feeds from the abundant raw materials and obtain high egg yields. The only constraint is the shortage of corn supply which is the main ingredient to provide energy feed. Fortunately, the layer cooperative has been allocated enough imported corn quotas for their numbers.
Since there are a large number of GPS farms, hatcheries and access to imported PS and GPS, CP and other integrators do not seem to have much monopolistic power on their breeders. Moreover, there are occasional excess supplies of eggs, which are the indirect evidence that both the layer cooperative and CP may not have enough power to control the supply of eggs. When the egg prices fall to the low level, the cooperative will dump the excess egg supply oversea. Generally, egg exports are less than 10 percent of total production. The exports are organized by the cooperative. Since the export prices tend to be lower than the average total cost, the cooperative have to make arrangements among the independent farm members to share the export loss. There are also times when the decline in egg prices may wreak havoc to the layer farms. On those occasions, the cooperative and the integrators will hold a meeting to find ways to reduce the supply of day-old chicks. But when the egg price increases, the loosely cartel agreement breaks down.
Egg exports are not profitable, not only because of high production cost, but also because of the egg export subsidy of the EU members. Moreover, Thailand has not yet been able to export eggs to the developed country markets due to the high food safety requirement in those countries, such as Japan. Producing eggs to meet these requirements need the highly specialized knowledge that Thai farmers do not possess. Therefore, we can only export our eggs to the countries with low protection and, especially, with lower safety requirements. Moreover, Thailand cannot provide enough high quality corn for the two chicken subsectors, broiler and layer, thus create yet another impediment to layer exporting businesses.
About 95 percent of the raw milk produced by the small dairy farms are collected by the local dairy cooperatives and sold in large cooling tank to the dairy product companies. The other 5 percent are sold to the local middlemen who tend to offer slightly higher price to the growers. There are also some marginal amounts of dairy export, although dairy products are the largest item among the imported livestock products.
The dairy product companies are required by the government to buy certain percentage of local milk if they want to import cheaper milk. (Note that Thailand will have to phase out such local requirement after the end of 2003). In addition to the production of UHT milk, which is the largest consumer market, the dairy product companies also produce a variety of dairy products such as yogurt, ice cream, skim milk, cheese, etc. These products are increasingly popular among the urban population. And yet the per capital consumption is still low (see Table 2.1).
Although there are subsidized school milk program, the local dairy cooperatives play the minimum role in supplying fresh milk to the school. Most of the milk are procured from the politically-based business firms in Bangkok.
The dairy cooperatives have played significant role in collecting milk from the small dairy farmers. Such activity is necessary because milk is highly perishable and must be quickly delivered to the market. Then, with the government coordination, the cooperatives have agreements to sell all their milk to the dairy product companies. The collective sale in large quantity helps reducing the transport cost per kilogram of milk, resulting in the higher net farm-gate price of milk for the farmers. Since the farmers sell milk everyday, they have strong incentive to monitor the cooperative management, otherwise their money will be lost to corruption and poor management.
Thank to the revolution in the poultry, dairy and swine subsectors, the GDP share of the livestock sector has remained at the same level for the last two decades. Obviously, the increased income in these subsectors has offsetted a decline in the value added in the bovine subsector. As a result, the growth rate of the livestock value added has been slightly higher than that of other agricultural activities.[84] But growth does not necessarily lead to lower poverty incidence, let alone income inequality. This section attempts to address the issues using the national socio-economic survey.
Over the last twenty years, the agricultural census and inter-censal surveys have shown that the number of small livestock holders, which include the so-called backyard farms, has declined (see Tables 2.2). Although there is no official statistics on backyard farming, casual observation suggests that their significance to the economy in term of livestock production has also significantly decreased. The livestock backyard farms can only now be found in the remote rural area where the transaction costs of market access are still high.
But this does not mean increased poverty for the small holders. First, one should recognize that Thai agriculture is dominated by large number of small farmers and most of them diversify their production activities (TDRI, 1995). Such characteristics give farmers the advantage of flexible adjustment of their production in response to external stocks. Secondly, most livestock farms in the major livestock production areas in the Central Region have been specialized commercial farms for a long time, but the size distribution has changed rapidly in the last 20 years. Thirdly, some of the small holders in the livestock growing areas have benefited by adopting the modern technology. Those who are risk averse have a choice to become the contract farmer and will acquire the new technology from the integrator. Since the technology, once introduced, is the public good, many farmers, who are either risk lover or risk neutral, have adopted the technology and become the independent growers. Some of them have become the contractor competing with the feed manufacturers who introduced the modern technology.
Moreover, the high profit prospect of the modern livestock farms has attracted new entrants into the industry. For example, some members of a group of young swine farmers whose objective was to produce good quality carcass had never have any farm experience before. And y formers who do not have comparative advantage in livestock have to give up their backyard livestock activities. But as the relative prices of livestock products have significantly declined, their welfare does not decline because they can shift their resources towards other activities that they possess comparative advantage and exchange their products with the cheaper livestock products.
The available information from the household socio-economic survey shows that the percentage of poor livestock households has not only declined proportionately more than the percentage of poor agricultural households, but the former is also much lower than the latter (Table 2.5). Moreover, the Gini coefficient for the livestock households is lower than that for the agricultural households, indicating that income distribution among the livestock households is relatively more equitable. But the surprising finding is that the livestock households are less specialized than the other agricultural households because the ratio of farm income to total income for the former is lower than that of the latter households. This is probably due to the small sampling problem in the household socio-economic survey.[85]
Using another source of data, i.e. 1993 Agricultural Census
and Inter-censal Survey of Agriculture in 1998, there is no evidence that the
scaling up of livestock production has negative effect on smallholders. Table
2.6 shows that the average household income of the livestock households
increased between 193 and 1998, despite the fact that 1998 was the year of
economic depression when the GDP growth rate was-8 percent Except the livestock
households with 6-9 rais and 40-139 rais (area), all households enjoyed higher
real income, particularly the smallest households which reared livestock only.
Moreover, while the percentage share of farms with more than
50,000 increased, the percentage share
of farmers with less than
50,000
declined substantially. This is true for both the households that are
specialized in livestock and those that grow crops and rear livestock.
Table 2.1 Production and Consumption by Livestock Animal
|
Year |
Broiler |
Swine |
Layer |
Dairy Cow |
||||||||
|
Production |
Consumption |
Percapita |
Production |
Consumption |
Percapita |
Production |
Consumption |
Percapita |
Production |
Consumption |
Percapita |
|
|
1,000 Tons |
1,000 Tons |
Kg./year/one |
million heads |
million heads |
kg./year/one |
million eggs |
million eggs |
kg./year/one |
Tons |
Tons |
kg./year/one |
|
|
1983 |
474 |
451 |
6.08 |
10.940 |
6.660 |
11.68 |
3,282 |
3,266 |
66 |
36,029 |
59,616 |
1.20 |
|
1984 |
488 |
454 |
6.20 |
10.620 |
6.918 |
11.90 |
3,113 |
2,992 |
59 |
46,197 |
63,803 |
1.26 |
|
1985 |
553 |
515 |
6.45 |
12.345 |
7.233 |
12.21 |
3,773 |
3,644 |
71 |
57,897 |
66,022 |
1.28 |
|
1986 |
571 |
506 |
6.64 |
10.167 |
7.543 |
12.51 |
3,607 |
3,489 |
66 |
62,088 |
81,392 |
1.55 |
|
1987 |
505 |
423 |
7.00 |
11.362 |
6.677 |
10.89 |
3,695 |
3,568 |
67 |
79,156 |
126,250 |
2.36 |
|
1988 |
518 |
422 |
7.77 |
12.252 |
7.573 |
12.14 |
4,439 |
4,373 |
80 |
99,449 |
152,191 |
2.77 |
|
1989 |
624 |
516 |
7.80 |
12.639 |
7.877 |
12.43 |
6,682 |
6,630 |
120 |
118,945 |
166,067 |
2.95 |
|
1990 |
553 |
414 |
7.80 |
12.850 |
7.991 |
12.46 |
8,165 |
8,080 |
145 |
155,574 |
197,564 |
4.24 |
|
1991 |
643 |
475 |
8.20 |
12.896 |
8.241 |
12.69 |
8,609 |
8,507 |
150 |
193,895 |
248,814 |
4.94 |
|
1992 |
821 |
639 |
8.20 |
13.321 |
8.337 |
12.67 |
8,154 |
8,112 |
142 |
227,784 |
293,669 |
5.14 |
|
1993 |
804 |
638 |
8.70 |
14.321 |
9.326 |
14.00 |
7,336 |
7,324 |
126 |
287,164 |
352,240 |
6.40 |
|
1994 |
732 |
563 |
9.20 |
15.221 |
9.292 |
13.78 |
7,728 |
7,711 |
131 |
320,894 |
408,468 |
6.69 |
|
1995 |
752 |
576 |
10.30 |
15.147 |
9.439 |
13.84 |
8,609 |
8,585 |
145 |
348,212 |
520,610 |
8.76 |
|
1996 |
798 |
629 |
11.20 |
16.354 |
9.460 |
14.00 |
8,619 |
8,554 |
142 |
377,932 |
627,426 |
10.46 |
|
1997 |
866 |
641 |
11.80 |
17.554 |
10.472 |
15.00 |
9,023 |
8,974 |
142 |
410,433 |
641,010 |
10.58 |
|
1998 |
883 |
609 |
10.80 |
16.461 |
10.091 |
15.00 |
8,675 |
8,576 |
140 |
437,116 |
490,520 |
8.01 |
|
1999 |
968 |
694 |
11.50 |
15.445 |
8.887 |
14.50 |
7,943 |
7,915 |
135 |
464,514 |
550,150 |
8.90 |
|
2000 |
1,070 |
737 |
11.80 |
16.051 |
9.362 |
12.00 |
8,233 |
8,144 |
141 |
480,000 |
572,460 |
9.17 |
|
2001 |
1,205 |
785 |
12.60 |
16.357 |
9.583 |
12.00 |
9,000 |
8,920 |
139 |
528,000 |
601,080 |
9.55 |
|
Growth rate 1983-1997 |
4.30 |
2.64 |
4.52 |
3.36 |
3.02 |
1.64 |
8.53 |
8.74 |
7.22 |
18.28 |
18.54 |
17.20 |
|
Growth rate 1997-2001 |
8.53 |
5.96 |
2.20 |
-1.66 |
-2.52 |
-6.69 |
-0.57 |
-0.64 |
-0.36 |
5.97 |
0.26 |
-0.70 |
|
Growth rate 1983-2001 |
4.73 |
2.98 |
4.21 |
2.75 |
2.28 |
0.95 |
6.13 |
6.26 |
5.08 |
15.40 |
14.56 |
13.20 |
Source: Office of Agricultural Economics
Table 2.2 Farm Size by Livestocks Animal
|
Number of swines in holding |
Percentage Share in no. of pigs |
Percentage Share in Number of holding |
||||||
|
1978 |
1988 |
1993 |
1998 |
1978 |
1988 |
1993 |
1998 |
|
|
1 - 4 |
n.a. |
n.a. |
25.26 |
10.07 |
79.35 |
80.15 |
21.16 |
60.66 |
|
5 - 19 |
n.a. |
n.a. |
29.89 |
22.34 |
17.83 |
16.46 |
39.52 |
30.10 |
|
20 - 49 |
n.a. |
n.a. |
20.80 |
16.72 |
2.29 |
2.51 |
25.50 |
7.29 |
|
50 - 99 |
n.a. |
n.a. |
8.28 |
4.24 |
0.35 |
0.54 |
8.60 |
0.82 |
|
100 and over |
n.a. |
n.a. |
15.82 |
46.63 |
0.18 |
0.34 |
5.22 |
1.13 |
|
Total (percent) |
n.a. |
n.a. |
100.00 |
100.00 |
100.00 |
100.00 |
100.00 |
100.00 |
|
Total (no.of pigs & farmers) |
5,314,000 |
4,684,926 |
6,182,953 |
5,731,360 |
1,263,000 |
778,113 |
590,616 |
465,509 |
|
Number of Dairy Cows in holding |
Percentage Share in no. of dairy cow |
Percentage Share in Number of holding |
||||||
| |
1978 |
1988 |
1993 |
1998 |
1978 |
1988 |
1993 |
1998 |
|
1 - 4 |
n.a. |
n.a. |
9.21 |
5.76 |
n.a. |
54.73 |
11.88 |
34.67 |
|
5 - 19 |
n.a. |
n.a. |
44.04 |
48.90 |
n.a. |
39.85 |
39.15 |
49.56 |
|
20 - 49 |
n.a. |
n.a. |
26.66 |
34.90 |
n.a. |
4.53 |
31.42 |
15.07 |
|
50 and over |
n.a. |
n.a. |
20.09 |
10.44 |
n.a. |
0.89 |
17.54 |
0.69 |
|
Total (percent) |
n.a. |
n.a. |
100.00 |
100.00 |
n.a. |
100.00 |
100.00 |
100.00 |
|
Total (no.of dairy cows & farmers) |
n.a. |
93,654 |
257,895 |
240,206 |
n.a. |
15,966 |
11,616 |
21,540 |
|
Number of chickens in holding |
Percentage Share in Number of chickens |
Percentage Share in Number of holdings |
||||||
| |
1978 |
1988 |
1993 |
1998 |
1978 |
1988 |
1993 |
1998 |
|
1-19 |
n.a. |
n.a. |
9.15 |
10.15 |
69.30 |
69.77 |
64.24 |
61.35 |
|
20-99 |
n.a. |
n.a. |
16.91 |
20.15 |
30.00 |
29.11 |
33.00 |
36.09 |
|
100-499 |
n.a. |
n.a. |
4.80 |
4.96 |
0.53 |
0.84 |
2.03 |
1.99 |
|
500-999 |
n.a. |
n.a. |
1.54 |
1.00 |
0.05 |
|
0.15 |
0.08 |
|
1,000-9,999 |
n.a. |
n.a. |
29.11 |
31.16 |
0.09 |
0.28 |
0.50 |
0.42 |
|
10,000 and over |
n.a. |
n.a. |
38.49 |
32.58 |
0.03 |
|
0.09 |
0.06 |
|
Total (percent) |
n.a. |
n.a. |
100.00 |
100.00 |
100.00 |
100.00 |
100.00 |
100.00 |
|
Total (no. of chickens & farms) |
54,157,000 |
86,679,292 |
154,921,930 |
169,102,499 |
2,638,000 |
3,249,177 |
2,617,412 |
3,174,410 |
Sources:
1). 1988 Intercensal survey of agriculture by the National Statistical Office
2). 1993 Agricultural survey by the National Statistical Office
3). 1998 Intercensal survey of agriculture by the National Statistical Office
Table 2.3 Livestock Contract Farming: Incidence, Type, Risks and Transaction Costs
(Percent of Farms)
| |
Independent |
Price Guarantee |
Wage Contract |
|
|
1. Types |
|
|
|
|
|
Swine |
|
|
|
|
| |
- fattening (%) |
52.2 |
5.7 |
11.5 |
|
- piglets (%) |
19.5 |
5.2 |
5.7 |
|
|
Broiler (%) |
0.6 |
81.8 |
17.1 |
|
|
Layer (%) |
93.75 |
6.25 |
0 |
|
|
2. Risks |
· all kinds of risks borne by farmers |
· price risk borne by a contractor · production risk by a contractee |
· all risks borne by a contractor |
|
|
3. Transaction Costs |
· all transaction costs borne by farmers |
· Farmers bears most transaction cost · Contractor has some cost to enforce the farmers to sell all the animals when market prices are high |
· a contractor bear most transaction cost, e.g. stealing of feeds · a farmer also has some enforcement cost |
|
|
4. Incentive |
|
· bonus incentive based on performance (weight gain) |
· bonus incentives based on quality, mortality, and FCR |
|
Source: TDRI, Livestock Farm Survey 2002.
Note: The data from TDRI's survey may not represent the actual farm population, because the survey could not have access to the farms owned by the large-scale agro-business companies. Numbers of contract farms affiliated with these companies were also underrepresented.
Table 2.4 A Summary of Market and Production Concentration Ratios
|
Activities |
1980-1981 |
2001 |
||
|
Firms |
Share (%) |
Firms |
Share (%) |
|
|
(1) Day-old chicks hatchery |
(1) C.P. and its members (2) Seven firms: C.P., Laemthong, Centago, Thai Feed Mill Industry Sri Thai and P. Charoenphan |
40-50 |
(1) C.P. (2) Saha Farm (3) Laemtong |
20% 12% 10% |
|
(2) Animal feeds |
(1) C.P.and its subsidiary (2) Eight firms: C.P., Laemthong, Centago, Betagro, Krung Thai, Sri Thai, Laemthong Kaset, Inter Industry Trade |
30-40 70-80 |
(1) C.P. (2) Betago (3) P.Charoenphan |
40% 20% 15% |
|
(3) Drugs, vitamins and pre-mix |
(1) C.P. (Advanced Pharma), May & Baker, Diethelm, Welknow, Pfizer, Thai Pharmi, etc. |
n.a. |
(1) Batago (2) C.P. |
n.a. n.a. |
|
(4) Broiler farm |
(1) C.P. and its contracted (2) Nine firms: C.P. Betagro (%),Centago (8.6%), Sri Thai (8%), Laemthong, First Farm, P. Charoenphan, Krung Thai, Saha Farm |
26-30 65-70 |
(1) C.P. (2) Saha Farm (3) Betago |
n.a. |
|
(5) chicken trading (live and slaughtered) in Bangkok |
(1) C.P. (2) Six firms: C.P., Saha Farm (13%), Centago (12%), Betagro, Sri Thai (3) Wholesalers at Klongton |
40-50 80-90 10-15 |
(1) C.P. (2) Saha Farm (3) Betago |
n.a. |
|
(6) Export |
(1) C.P. (Bangkok Livestock Trading (2) Saha Farm (3) Laemthong (4) Centago |
38.9 32.4 19.5 9.2 |
(1) C.P. (Bangkok Livestock Trading (2) Saha Farm (3) Betago |
18-20% 16% 16% |
Sources: Poapongsakorn, et.al. Animal Feeds: Marketing and Prices, a research paper submitted to the NESDB. December 1981; Bangkok Bank Report; Animal Feeds Industry, undated, (mimeograph), Poapongsakorn, Marketing and Prices of Broilers and the Future of Small Independent Growers; 3 research paper submitted to the NESDB, September 1980, p.57, and interviews.
Table 2.5 Livestock Households, Agricultural Households and their Farm Income
|
Year |
% of households |
% of household income |
Gini |
|||||||
|
agriculture households |
livestock households |
poor agriculture households |
poor livestock households |
|||||||
|
livestock agriculture |
poor livestock livestock |
poor agri. agriculture |
farm income total income |
farm income total income |
farm income total income |
farm income total income |
all households |
agriculture households |
livestock households |
|
|
1986 |
0.4 |
30.0 |
46.3 |
21.8 |
9.4 |
19.6 |
12.3 |
0.50 |
0.32 |
0.19 |
|
1988 |
0.6 |
33.8 |
41.2 |
31.6 |
26.0 |
23.6 |
23.7 |
0.49 |
0.34 |
0.57 |
|
1990 |
0.6 |
19.8 |
34.1 |
36.2 |
29.7 |
22.6 |
19.9 |
0.51 |
0.34 |
0.31 |
|
1992 |
1.0 |
18.4 |
31.6 |
26.4 |
12.4 |
17.8 |
11.1 |
0.54 |
0.33 |
0.21 |
|
1994 |
0.4 |
2.0 |
25.1 |
20.9 |
5.6 |
12.1 |
0.0 |
0.52 |
0.34 |
0.13 |
|
1996 |
0.5 |
13.9 |
17.4 |
23.2 |
8.5 |
11.4 |
0.4 |
0.52 |
0.35 |
0.25 |
|
1998 |
0.5 |
5.7 |
17.3 |
26.1 |
16.2 |
9.2 |
0.0 |
0.51 |
0.36 |
0.22 |
|
1999 |
0.6 |
- |
23.1 |
26.9 |
19.6 |
17.7 |
- |
0.53 |
0.36 |
0.18 |
|
2000 |
1.4 |
1.4 |
22.7 |
50.2 |
58.6 |
12.5 |
8.3 |
0.53 |
0.37 |
0.52 |
Note: 1986-99 definition of livestock occupation is livestock workers, dairy farm workers and poultry farm workers 2000 definition livestock occupation is market-oriented animal producers and related workers
Source: Calculated from National Statistical Office, Socio-economic Survey data tape
Table 2.6 Household Income from Agricultural Produce and Number of Farm Holdings
| |
Average Income at Current Price |
Average Income at 1994 Price |
Growth Rate |
||
|
1993 |
1998 |
1993 |
1998 |
% |
|
|
(a) Household income by farm area |
|||||
|
Holders rearing livestock only |
204,747 |
289,345 |
215,524 |
227,831 |
1.1 |
|
Under 6 rais* |
21,545 |
39,552 |
22,679 |
31,143 |
6.3 |
|
6-9 |
31,149 |
39,601 |
32,788 |
31,182 |
-1.0 |
|
10-39 |
33,265 |
47,529 |
35,016 |
37,424 |
1.3 |
|
40-139 |
51,828 |
65,329 |
54,555 |
51,440 |
-1.2 |
|
140 and over |
66,961 |
97,334 |
70,485 |
76,641 |
1.7 |
|
Holders growing crop and rearing livestock |
162,193 |
225,512 |
170,729 |
177,569 |
0.8 |
|
Under 6 rais* |
13,542 |
18,675 |
14,254 |
14,704 |
0.6 |
|
6-9 |
14,332 |
20,877 |
15,086 |
16,439 |
1.7 |
|
10-39 |
20,059 |
35,634 |
21,115 |
28,058 |
5.7 |
|
40-139 |
39,035 |
61,442 |
41,089 |
48,380 |
3.3 |
|
140 and over |
75,225 |
88,884 |
79,184 |
69,987 |
-2.5 |
|
(b) Number of holdings by annual income |
|||||
|
Holders rearing livestock only |
1993 |
1998 |
|
|
|
|
under 5001 Baht |
4.7 |
1.1 |
|
|
|
|
5,001-10,000 |
9.2 |
2.8 |
|
|
|
|
10,001-20,000 |
13.7 |
8.3 |
|
|
|
|
20,001-50,000 |
27.1 |
15.6 |
|
|
|
|
50,001-100,000 |
24.4 |
33.0 |
|
|
|
|
100,001 and over |
21.0 |
39.2 |
|
|
|
|
Total |
100 |
100 |
|
|
|
|
Holders growing crop and rearing livestock |
|
|
|
|
|
|
under 5001 Baht |
3.6 |
0.8 |
|
|
|
|
5,001-10,000 |
9.9 |
3.7 |
|
|
|
|
10,001-20,000 |
18.0 |
10.7 |
|
|
|
|
20,001-50,000 |
36.5 |
35.9 |
|
|
|
|
50,001-100,000 |
21.0 |
31.3 |
|
|
|
|
100,001 and over |
11.0 |
17.6 |
|
|
|
|
Total |
100 |
100 |
|
|
|
Source:
(1) National Statistical Office, 1993 Agricultural Census
(2) National Statistical Office, 1998 Intercensal Survey of AgricultureNote: * One hectare is 6.25 rais
Figure 2.1 Livestock Value Added and Percentage Share in Agriculture GDP

Figure 2.2 Marketing Channels of Chicken from Central Plain Growers to Bangkok Markets

Source:
a) Poapongsakorn (1980).
b) Thai Broiler Processing Export Association.
Figure 2.3 Marketing Channels of Swine in 8 Provinces of the Central Region

Note: The data do not include pig exports.
Source:
2. Association of Independent Swine Farmersa) Division of Agricultural Economics, Marketing and Price of Agricultural Products in Upper Chao Phraya River Basin in Thailand 1968, Report No. 39.
b) 1. Department of Livestock Development
Figure 2.4 Estimated Cattle Density in Thailand Laos and Vietnam (animals per km2)

Source: FAO, LEAD Project
Figure 2.5 Estimated Poultry Density in Thailand Laos and Vietnam (birds per km2)

Source: FAO, LEAD Project
Figure 2.6 Estimated Pig Density in Thailand Laos and Vietnam (heads per km2)

Source: FAO, LEAD Project
Figure 2.7 Observed Maize Production for Thailand and Vietnam in 1998 (tons)

Source: FAO, Lead Project
Figure 2.8 Observed Soybean Production for Thailand and Vietnam in 1998 (tons)

Source: FAO, LEAD Project
|
[84] Between 1980 and 2000,
the real value added of livestock grew at 3.3 percent annual rate, comparing to
3.1 per annum for agricultural value added. [85] It should be noted that the sample size of livestock farms are very small and thus the data is subject to large sampling error because the socio-economic survey is not designed to provide detailed information at more disaggregated levels of households than the broad classification of rural-urban and agriculture industry service levels. |