Although olive tree production is distributed over all five continents (see Table 1), it prevails especially in the Mediterranean Basin which represents 98 percent of the production area and trees and 97 percent of all olive production.
The four countries (Spain, Greece, Italy and Tunisia) examined in this study represent by themselves:
65 percent of the area
76 percent of the trees in production
74 percent of total olive production
On a world scale the importance of olive production can be summed up by the following four figures (rounded out):
| - total area | : | 7 000 000 ha |
| - trees in production | : | 600 000 000 |
| - olives produced | : | 8 400 000 tons |
| - oil produced | : | 1 600 000 tons |
Olive cultivation has a social character, since it employs abundant labour and involves many small producers. On the other hand, production is seasonal which has repercussions on job conditions and the availability of by-products.
The olive is a drupe; its physical composition is shown in Fig. 1
Figure 1: The olive: (a) cross-section and (b) physical composition

a) from Maymone et al, 1961
b) Nefzaoui, 1983
| Country | Plantations (1) | Production (2) | |||
|---|---|---|---|---|---|
| Area ( 1 000 ha) | Plants in production (x 1 000) | Density (plants/ha) | Olives (1 000 T) | Oil (1 000 T) | |
| Europe | |||||
| Albania | 20 | 1 500 | 75 | 53 | 7 |
| France | 30 | 3 800 | 130 | 16 | 2 |
| Greece | 420 | 79 000 | 190 | 1 350 | 280 |
| Italy | 1 200 | 160 000 | 133 | 2 800 | 566 |
| Portugal | 480 | 26 000 | 54 | 220 | 33 |
| Spain | 2 300 | 180 000 | 78 | 1 348 | 281 |
| Yugoslavia | 60 | 4 700 | 78 | 13 | 2 |
| Africa | |||||
| Algeria | 125 | 10 000 | 80 | 100 | 11 |
| Egypt | 2 | 100 | 50 | 6 | 0.5 |
| Libya | 154 | 4 000 | 26 | 162 | 16 |
| Morocco | 140 | 6 700 | 48 | 350 | 38 |
| Tunisia | 600 | 37 000 | 62 | 700 | 140 |
| Asia | |||||
| Turkey | 1 200 | 59 000 | 49 | 650 | 107 |
| Other | 137 | 14 000 | 102 | 395 | 68 |
| America | 122 | 12 800 | 105 | 214 | 29.7 |
| Australia | - | 40 | - | 6 | 0.6 |
| TOTAL | 6 990 | 598 740 | 86 | 8 383 | 1 581.8 |
Sources:
(1) From Fertimont, “Mondo Economico” No. 3, 23 January 1983
(2) From FAO: Statistics Series No. 40, 1982
The technology used is very varied and has been modified considerably during recent decades. As an example, two methods are described below:
extraction by pressure: Tunisia (Fig. 2)
extraction by centrifugation: Italy (Fig. 3)
and the percentages of oil and by-products obtained (olive cakes and vegetation waters) are given.
There are also other procedures such as the Acapulco method which consists of previously separating the stone from the pulp.
It is important to define the different by-products since there is some confusion in the publications which makes it sometimes difficult to identify clearly the particular by-products concerned. The following definitions are therefore given:
Oil extraction by-products
crude olive cake: The residue of the first extraction of oil from the whole olive by pressure. Its relatively high water (24%) and oil (9%) content cause rapid spoilage when it is exposed to air.
exhausted olive cake: The residue obtained after extraction of the oil from the crude olive cake by a solvent, usually hexane.
partly destoned olive cake: The result of partly separating the stone from the pulp by screening or ventilation:
it is called “fatty” if the oil has not been solvent-extracted.
it is called “exhausted” or “defatted” if the oil has been solvent-extracted.
olive pulp: The paste obtained when the stone has been separated from the pulp before extraction of the oil. It has a high water content (60%) and is difficult to store.
vegetation waters: The brown watery liquid residue which has been separated from the oil by centrifugation or sedimentation after pressing (Fedeli and Camurati, 1981).
leaves collected at the oil mill: These are not pruning residues, but the leaves obtained after the olives have been washed and cleaned on entering the oil mill. In Greece their estimated quantity is about 5 percent of the weight of the olives (Zoiopoulos, 1983).
Pruning and harvest residues
Olive trees are usually subjected to severe pruning every second year and light pruning in the alternate year. After separation of the large branches, the leaves and twigs (less than 3 cm in diameter) can be distributed to ruminants.
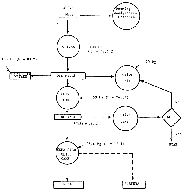
The quantities can vary according to the manufacturing process. Average estimated values are summarized in Figure 4. Taking 35 percent as the average value for proportion of crude olive cake to processed olives, world crude olive cake production can be estimated at about 2 900 000 tons.

Figure 2. Diagram of the present olive oil industry in Tunisia
Source: Nefzaoui, 1983

Figure 3. Pieralisi oil extraction mill in lazio (Italy): olive processing by centrifugal separation
Source: Martilotti, 1983
Figure 4: Method of obtaining different types of olive cake and physical composition (Feretti method)
| Method | Ratio | By-products | Physical Composition % |
|---|---|---|---|
| 100 kg | OLIVE | water : 48.6 | |
| oil : 27 | |||
| Pressing | dried stones : 14.1 | ||
| kernels : 1.3 | |||
| mesocarp+ | |||
| epicarp : 9 | |||
| 33 kg(1) | CRUDE OLIVE CAKE | water : 24,3 | |
| (33%) | oil : 9.1 | ||
| Solvent extraction | dried stones : 42.4 | ||
| kernels : 3 | |||
| 16.7 kg(2) | SCREENED OLIVE CAKE | water : 37.7 | |
| (50.5%) | oil : 16.8 | ||
| Screening-Ventilation | dried stones : 5.6 | ||
| dried kernels : 5.6 | |||
| mesocarp + | |||
| epicarp : 39.9 | |||
| 7.41(3) | EXHAUSTED SCREENED | water : 4.5 | |
| (44%) | OLIVE CAKE | ||
| oil : 4.2 | |||
| dried stones : - | |||
| dried kernels : 11.1 | |||
| mesocarp + | |||
| epicarp : 80.2 |
Source: Adapted from Feretti and Scalabre, 1978
(1) Part of the mesocarp and the epicarp are lost in vegetation waters.
(2) Screening losses as dust, about 5 percent.
(3) On emerging from extraction olive cake contains about 17 percent water and is dehydra-ted again.
N.B. When crude olive cake is defatted without being destoned, the exhausted olive cake then represents about 77 percent of crude olive cake and has the following composition: water, 15%; oil, 4%; shells, 55%, pulp, 26%.
Source: Office National de l'Huile (National Oil Bureau), Tunisia.
The percentage of crude olive cake treated by solvents to extract the oil from the cake varies widely according to the country, reaching 80 percent in Greece and Tunisia. There is a marked tendency to increase the quantity of olive cake subjected to oil extraction by solvents.
Exhausted olive cake partly destoned by screening or ventilation is not widespread at present. After destoning, it represents about 44 percent of the original exhausted olive cake. Several studies have been undertaken for its valorization, especially in Tunisia, but have not been developed on an industrial scale.
The vegetation waters eliminated constitute a large quantity of polluting effluents and most countries are now concerned by this pollution problem. In pressure extraction methods about 100 litres of vegetation water are obtained per 100 kg of olives processed.
Concerning olive tree leaves and twigs, Nefzaoui (1983) made the following estimates of quantities produced (Table 3):
| Age of tree | Pruning type | Total quantity of wood kg/tree | Leaves and twigs % | Quantity of leaves and twigs kg/tree |
|---|---|---|---|---|
| young | light | - | - | - |
| severe | 30 | 60 | 18 | |
| adult | light | 50 | 50 | 25 |
| severe | 100 | 30 | 30 | |
| old | light | - | - | - |
| severe | 100 | 12 | 12 |
Recent research by Vera y Vega and Galan Redondo (1978), Civantos (1981 b and 1982) and Parellada et al (1982) have attemped to estimate olive tree branch and leaf production in different conditions in Spain. Yields vary widely from 10 to 25 kg and can reach as much as 45 kg for olive trees in favourable cultivation conditions. Weighted average per tree is probably about 22 kg of twigs according to Parellada and Gomez-Cabrera (1983). These estimates agree on the whole with those of Nefzaoui (see Table 3).