It is not intended to provide a comprehensive description of all analytical methods used in ruminant nutrition research. The aim is to identify those procedures considered to be more applicable and critical to the characterization of feed resources for incorporation into livestock feeding systems in developing countries. Emphasis is given to methods which are least demanding in terms of sophisticated facilities and equipment. Most of the techniques that are proposed can be established with a minimum of infrastructure in terms of laboratory facilities. The exception to this is the recommendation to estimate rumen volatile fatty acids with a gas-liquid chromatograph. However, such equipment is commonly available in at least one laboratory in many developing countries (eg: in a university, or research centre and often in factories); and it is enough to have access to such equipment as and when needed.
The laboratory measurements are the minimum needed to enable researchers to acquire the essential information for them to set up meaningful feeding trials. Observing and measuring animal response to dietary manipulation of the available feed resources are essential first steps in the development of feeding systems for application on farms. This is the correct order of priorities for allocation of resources aimed at development of animal feeding systems. Too often the research is “bogged down” in the laboratory without excursion into the field, which is a necessary prelude to any study of farmers' problems and of how possible solutions might fit into existing farming systems (see Chapter 7).
The approach is aimed at scientists working in National Institutions but the methods are also applicable to International Research Centres. Obviously there is a special role for the latter and they require many more tools in their research. Their task must be to examine, in depth, the problems that arise in the field and which are generated by the pragmatic “local” approach that is advocated. Such centres should support national institutions, and be engaged in the more sophisticated basic studies that such research requires.
The proposed research methods relate closely to the guidelines for feed resource classification and evaluation set out in Chapters 2 and 3.
The first requirement is for individual pens to house both intact and fistulated animals. The pens can be simple, but, they must facilitate adequate care of the animals, especially feeding and cleaning. Floors which are slatted, allowing faeces and urine to fall through into a pit below, are more expensive but the investment is justified in the improved environment for the animals (they are always dry and clean) and elimination of unpleasant tasks for the attendants. The feed hoppers should be designed to avoid spillage and to facilitate the collection of residues. Clean water should always be available.
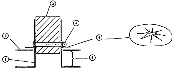
Pens should be in multiples of four and the minimum needed is 16 units. This gives flexibility for feeding trials with up to four treatments in factorial and latin square arrangements. Figure 6.1 gives the design and dimensions of suitable pens for cattle and sheep/goats.
Animals with rumen fistulas must be held individually; the walls of their pens may need to be solid to prevent them damaging the fistula.
Accurate balances are essential both for weighing animals and feeds. Spring balances should generally be avoided and simple scales which use weights hung from an arm are to be preferred. For cattle it is desirable to be able to weigh by intervals of 500 g and for sheep 200 g. Feed scales should weigh to 100 g.
Animals with rumen cannulas are an indispensable feature of the feed evaluation strategy. Two procedures for cannulation have been used by researchers. In 1928, Schalk and Amadon described a one stage surgical technique. A two-step method was developed later by Jarrett (1948) mainly for use with sheep. Both methods have been used but for unknown reasons the Schalk and Amadon method seems to have been neglected except in Australia (Hecker 1974).

Figure 6.1. a
Plans of experimental pens for carrying out feeding trials with Cattle. Building is 19.0 m × 7.0 m for 16 pens.

Figure 6.1. b: Cattle slats (in mm)

Figure 6.1 c: Cross-section of cattle pens (in cm)

Figure 6.1 d: Feed trough for cattle (in cm)

Fig. 6.1. e: Plans of experimental pens for carrying out feeding trials with sheep (in cm)

Figure 6.1. f: Cross-section (in cm)

Figure 6.1 g: Troughs for sheep (in cm)

Figure 6.1 h: Slats for sheep pens (in cm)
The surgery associated with establishment of rumen fistulas by the two stage operation requires considerable skill, is laborious and can be stressful to the animal. The method is extremely difficult to carry out in laboratories that do not have the minimum facilities (eg: an operating table). Furthermore, it was presumed that such surgery was the domain of the trained verterinarian. This resulted in “a mental block” for many young scientists, particularly those in developing countries.
One result of this has been an undue emphasis on feed analyses as a means of predicting nutritive value of feeds, to the neglect of studies on the live animal.
The most appropriate method for establishing rumen fistulas, especially in laboratories with limited surgical facilities, is the one-step Schalk and Amadon procedure. In the last 10 years in Australia, this technique has been considerably simplified allowing untrained but “aware” scientists to establish fistulas with a minimum of stress to the animal. For example in a course in Ethiopia for young African scientists from many backgrounds (all with the “mental block” concerning “surgery”), each was able to establish (under guidance) a rumen fistula in either cattle or sheep.
The animals that were surgically modified were in the preliminary phase of a feeding trial. Their feed intake was monitored both before and after surgery. The effects of the establishment of a fistula on feed intake of a 350 kg steer is shown in Figure 6.2. The animal ate less on the day of the operation but quickly egained its appetite. With the two stage surgical method animals go “off feed” often for several days.
The technique has been sucessfully applied to cattle, sheep, goats, buffalo and camels.
A metal clamp is applied to a fold of the rumen wall exposed by an incision into the body cavity. The clamp holds the fold of rumen wall outside the body, occludes the blood supply and causes the damaged area below the fold to adhere to the body wall. In ten to fourteen days the clamped piece of rumen ‘sloughs off’ leaving a fistula through which a cannula can be readily introduced and secured.
Figure 6.2
Rumen cannulation of large ruminants can be accomplished without undue stress on the animal. The data in the figure are the feed intakes of a steer (350 kg) prior to and following fistulation carried out according to the procedure described above. The animal reduced its feed intake only during the day when the surgery was carried out, (Leng, R.A., unpublished data)

Only minimum facilities are needed; a simple crush or some method of restraining the animal in a standing position (cattle only), a minimum of surgical equipment (scalpel, forceps etc.), a tranquillizer and local anaesthetic.
The clamp consists of two brass rods 11 cm long and 0.6 cm in diameter (for sheep) and about twice this size for cattle. Each brass rod has two holes 2.5 cm from either end of the rods. The holes in one rod are threaded to take a brass screw which is fitted through a hole in the other rod so that when the screws are turned the two rods draw together forming a clamp (Figure 6.3 and 6.4).
It is not necessary to starve animals prior to surgery; in fact it is desirable to have the rumen relatively full. A tranquillizer given prior to the actual surgery is an advantage in the case of cattle.
The animals should be accustomed to handling by attendants and should be docile and easily led. The surgery is carried out with the fed animal standing in a crush or even restrained in the corner of a yard by a moveable gate. The animal is tranquilized by intramuscular injection (eg: with Rompun) but this is not absolutely necessary. A 350 kg cow requires about 0.5 ml of Rompun to be sufficiently sedated. Approximately 15 minutes after the injection of the tranquillizer, surgery may commence.
The area of incision should be closely clipped or shaved and cleansed with a mixture of alcohol or alcohol and iodine. The incision should be made high on the left side in the anterior dorsal abdomen. The site of the incision is identified by marking a triangle from the point of connection of the last rib with the spine and moving the same distance along the spine from the last rib. The area between the last rib and where it connects with the spine should be sufficiently large to take the external flange of the cannula. In general the closer to the spine on the flank the incision is made the better; but only experience will allow accurate placing and estimation of size of the incision. Before starting such operations cannulas of different sizes (5–12 cm internal diameter) should be on hand.
Analgesia of the incision area can be produced by paravertebral anaesthesia; however, this requires experience and skill. A more practical approach is to inject a local anaesthetic in a series of subcutaneous and intramuscular injections immediatly above and along the site of the incision. Approximately 25 ml of Zylocain is injected into a steer of 250 kg and and 15 ml into a sheep.

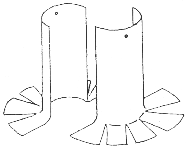
Figure 6.3:
Illustration of rumen fistula produced by the one-step method of Schalk and Amadon

Fig. 6.4
Successive stages of Schalk and Amadon (1928) fistulation procedure: (1) incision with rumen fold pulled through (2) placing wooden clamp on rumen fold (3) inserting sutures along clamped area, and (4) tying sutures. (After Johnson 1969).
Once the site has been cleaned and disinfected, and the local anaesthetic injected, an incision about 5 cm for sheep and about 10 cm for cattle is made in the ventro-cordal direction through the skin, following the line identified previously (6.3.4).
In the original description of this method the underlying abdominal muscles and peritoneum are separated by blunt dissection to form an opening in the abdominal wall. This requires considerable physical strength with large animals such as buffaloes and the bold use of the scapel to cut to the peritoneum is less traumatic to the animal.
On reaching the peritoneum, this is cut and the rumen wall which lies immediately below is drawn to the exterior to form a fold and held with two “Alice” forceps. The brass clamp is applied and the screws tightened (Figure 6.4). Sutures should be placed through the skin and under the clamp and are tied to the clamp at both ends. These sutures hold the clamp to the skin and also prevent accidents which can occur if the rods catch on the sides of the pen. Stitching the skin is one of the most difficult aspects of the operation, particularly with buffaloes, and a sharp cutting needle is needed.
In ten to fourteen days the rumen fold held by the clamps will slough off and can be removed quite easily. A flexible rubber cannula or rigid cannula prepared as described below is inserted and clamped into position.
The use of the one-step fistulation technique means that animals (cattle, buffalo, sheep or goats) can be prepared for use in almost any research laboratory.
The lack of availability of manufactured cannulas has often been the reason for not preparing fistulated animals. It is relatively simple to devise rumen cannulas for both cattle and sheep. The method described below is taken, in part, from a paper by Rowe (1979).
In most countries PVC conduit is available with diameters from 13 to 300 mm and with a wall thickness of 3–5 mm. In the Dominican Republic, PVC tubing has been used for cannulas which were placed in the fistula of cattle which were under experimentation for more than two years without apparent problems.
Rubber tubing is also available in most countries (eg: car radiator manifolds) and has been used to prepare cannulas. Car tyres or the protective band from inner tubes usually provide a suitable rigidity for retaining flanges for the cannula.
Flexible rubber cannulas are preferred since these can be easily compressed to introduce them into the oval fistula that results from the method of cannulation.
For sheep the components of the cannula can be constructed from a section of radiator hose and a round flat piece of rubber cut from a truck tyre. These two parts may be sewn together with nylon thread (as shown in Figure 6.5). Insertion of this cannula into sheep is facilitated by twisting a section of the retaining flange into the tube (see Figure 6.5). When the cannula is in position the retaining flange may be pushed out of the tube of the cannula to allow it to assume its normal shape but inside the rumen.
The cannula is held in position with a second rubber retaining flange and this is secured against the body of the sheep as shown. The retaining flange is kept in position by a radiator hose clamp. A suitable stopper for the cannula can be a plastic bottle inverted and inserted with the open end downwards into the tube of the cannula. This is extremely light and causes no problems to the animal.
The design of the PVC cannula is shown in Figure 6.6. The PVC tube is prepared with a flange by making cuts of up to 5 cm (for sheep) and 15 cm in length (for cattle) at four intervals around the circumference of the tube; when this is heated uniformly with a gas jet, the plastic becomes pliable and the flanges can be bent outwards at a right angle to the main tube. The flanges can be filed so that there are no rough edges and enclosed in rubber tubing.
(a) Cross-sectional view of cannula

| (b) Main components of the rumen cannula | (c) Illustration of how the cannula may be twisted to insert the internal flange into the rumen |
![]() |
![]() |
Figure 6.5: Rumen cannula for cattle made from rubber components (Row 1979)

(a) Cross-sectional view of cannula in situ
| (b) The inner split-tube made from PVC showing the flange (bent out after heating the material, and the two holes for securing the string | (c) The outer split-tube made from PVC tube of the same diameter as the internal tube |
![]() |
![]() |
Figure 6.6: Diagram showing the construction of a rumen cannula from PVC tubes and rubber flanges (Rowe 1979)
To facilitate placing the cannula in the fistula, it is cut longitudinally in half and a small hole made in each half at the upper end of the flange to attach a length of string. The retaining flanges and the clamping arrangements are prepared as described for rubber cannulas. To hold the two halves of the cannula together, an outer split tube is prepared from the same diameter PVC tube but with only a single cut. The cannula is inserted by first putting the two halves (attached to a length of string) into the rumen. The internal retaining flange is then passed around the string and into the rumen before pulling the two halves together and positioning them in the fistula.
The surface of the tube must be thoroughly dried before applying PVC cement and placing the outer split tube in position. The application of PVC cement is not necessary if the tube is clamped close to both the entry of the cannula into the rumen and at the top adjacent to the stopper. A lightweight plastic bottle makes the best seal for the entrance to the cannula. Any size cannula can be made in this way.
This method is given first priority for researchers in developing countries, as the most appropriate tool for providing information on:
The nutritive value of a feed for ruminants
The efficacy of the rumen ecosystem
It generates useful information from the point of view of both the carbohydrate and protein status of a feed; and the degree to which it will be digested in the rumen or escape to the intestines. The method is described in detail for this reason.
The bags should be prepared from a nylon or other synthetic fibre material with a pore size of between 20 and 40 microns. The pore size is a compromise between minimal loss of small particles and making sure that microbes, including protozoa, can enter the bags uninhibited; and also that gas can escape from the bags. When gas does not escape the bags may float on top of the solid phase of the rumen and give very variable results. It is desirable that each research network (eg: ARNAB, Bangladesh, SW Asian group) uses the same material. Distribution of appropriate material would be a useful role for each coordinator.
The bags should be sewn with polyester or nylon thread with double seam and close stitching. Overall dimensions for cutting out should be 17 × 10 cm to give an effective length of about 12–14 cm. Smaller bags can be used if samples are smaller. It is not necessary to introduce a draw-string in the neck of the bag, as they can be closed with a separate length of nylon thread (eg: fishing line), and/or attached to a long nylon string (eg: baler twine) or a plastic rod (see 6.5.4). The bags can be reused as long as there are no holes in them; each time they should be checked for breakages.
The sample size has to be adapted to the size of the bag. With the size of bag suggested, samples of between 3 and 5 g of DM are appropriate. For smaller bags, the quantity should be less, but with a minimum of 2 g. To avoid forming micro-environments in the bag the material has to be able to move freely within the bags. If larger samples are needed for analysis, larger bags must be used.
The preparation of samples must, as far as possible, represent materials as they would appear in the rumen after they have been consumed naturally by the animal. It is recommended that the materials are processed through a hammer mill with a screen size of 2.5 mm; the same screen size can also be used for forages and cereals. For green and succulent materials and silage, a mincer with a 5 mm screen is more appropriate. If the apparatus for grinding materials is not available this can be done by other means, but it is important to specify exactly what was done in the preparation process.
If sheep are used, a 25 cm nylon cord is normally used to attach the bags to the cannula cap. The size of the animals might be considered. In many countries, where the sheep and goats are small, it is probably better to use cattle.
In cattle, depending on their size, the nylon cord should be about 40 cm. This allows the bag to move freely within the digesta, both in the liquid and solid phases. It is not usually necessary to anchor the string of bags with a weight. Inserting a glass marble, or a brass weight, in each bag sometimes helps to ensure that each bag is kept well within the digesta. Another method is to fix the bags to a nylon tube (Figure6.7). This latter system simplifies withdrawal of the bags since bags with individual cords can become tangled and difficult to withdraw from the rumen.

Figure 6.7: Illustration of plastic tube and attachments of nylon bag for suspension in the rumen
Selection of the most appropriate times to withdraw bags from the rumen depends on the shape of the curve of degradation with time. It is not possible, therefore, to give absolute recommendations. Having tested one material, the test may have to be repeated with slightly different incubation times.
It is important to describe the most sensitive part of the degradation curve and also the asymptote. For straw and other fibrous materials, incubation intervals of 12, 24, 48 and 72 hr are usually suitable. For protein meals shorter incubation times should be used (eg: 2, 6, 12, 24 and 36 hr).
The important source of variation is between animals. There is little to be gained by repeating treatments within the rumens of the same animals. The number of animals needed will depend on the expected magnitude of the differences between treatments.
To measure degradabilities of proteins, at least three animals are needed per treatment; while to test the effect of chemical treatment of straw two repetitions (animals) will probably suffice.
If the sheep weigh less than 40 or 50 kg, it is probably better to use cattle. Cattle are much easier to work with than very small sheep and goats; moreover, it is often convenient to be able to insert a hand directly through the cannula into the rumen so as to introduce, and later extract, the bags more easily.
6.5.8.1 Degradability of the substrate
Irrespective of whether the results are going to be used for estimation of degradability of protein or dry matter, the most appropriate method of describing the results is in the form of an equation. The expression
D = a + b (1 - e-ct)
is the most appropriate equation. In this equation D is the degradation which has taken place; “a” is the intercept; “b” is the amount which in time (“t”) will be degraded; “c”is the degradation rate constant and “e” is the natural logarithm. If computers or scientific calculators are not available, the equation can be derived by eye.
The procedure is to fit the curve to the measurements obtained (Figure 6.8). It can be seen that the intercept “a” is “6”; the asymptote is “92” (ie: a + b = 92) which means that “b” is “86” (ie: 92–6). Taking a value on the curve where degradation is occurring most rapidly (eg: t= 8) the “D” = 48.
It is now possible to describe the equation as:
e-ct = (a + b - D)/b
Which means that:
e -ct = (6 + 86 - 48)/86 = 0.512
By taking the natural logarithm on both sides of the equation, it is found that:
c = 0.084
All the constants in the equation are now known and they will be found to agree closely with those obtained more accurately with the computer.
6.5.8.2 Effect of outflow rate
Protein-rich meals, derived from oilseed cakes and byproducts from cereal processing and animal slaughter, contain quite a high proportion of small particles which can escape easily from the rumen. The effective rate of degradation of the protein will then depend on the solubility (a), the rate at which the “b” fraction is degraded (c) and the outflow rate of small particles (k) which can be measured by mordanting the protein supplement with chromium (Figure 6.9a shows a typical curve of outflow rate from which “k” is derived). The expression which combines these three factors is:
p = a + bc/(c + k)

Figure 6.8:
Estimating degradabilities of feeds by the nylon bag technique; calculation of degradation rate (c) from disapperance curve fitted by eye

Figure 6.9: Examples of degradation patterns of three protein supplements (2a); and a typical excretion curve for a protein mordanted with Cr (from Ørskov 1985)

Figure 6.10: The effect of outflow rate on effective rumen degradability of fish meal, linseed meal and groundnut meal (from Ørskov 1985)
Figure 6.9b illustrates degradation patterns for three different protein supplements. Supplement “F” has a high solublity (a) and a low rate (c) and low potential degradability (a + b); this curve is typical of fishmeal. Supplement “G” is degraded rapidly and has a high potential degradability; supplement “L” is intermediate between the other two. It follows that supplement “F” will be very little influenced by outflow rate; and supplement “L” will be most affected (see Figure 6.10).
The second major use for the nylon bag technique is to measure the adequacy of a diet for a particular purpose. Under these conditions a standard material is put in the bags and the rumen ecosystem varied by supplementation or other means.
For example, if the objective is to assess the adequacy of the rumen ecosystem to digest cell wall carbohydrate, then a fibrous substrate with a high potential fermentability (eg: cotton wool) is put in the bags (see Figure 2.5 for the application of this method). The effect of supplementing the basal diet (eg: with urea or highly digestible forage) can be investigated in terms of the relative loss of the cotton wool during a 48 hr incubation period.
The other important feature of the rumen ecosystem is the extent to which it permits dietary protein to escape to the intestines. There is some indication that high rumen ammonia levels (Preston, T.R. and Nuwayaka, M. unpublished data), and the feeding of high levels of sugar-rich feeds (Encarnación and Hughes-Jones, 1981) reduce the rate at which dietary protein is degraded in the rumen, thus facilitating its escape to the intestines. To assess this effect the test protein meals are incubated in nylon bags in the rumen of animals subjected to manipulation of the basal diet by, for example, adding urea or molasses. An example of the use of this procedure to assess degradability of a protein meal, subjected to different rumen environments, is shown in Figure 6.8.
The level of rumen ammmonia is critical for efficient microbial fermentation of feed (Chapter 2). Rumen ammonia concentration can therefore be used to diagnose a deficiency of fermentable N in a diet. This will indicate when urea supplements are required.
The critical ammonia level in the rumen for efficient microbial growth on different substrates is likely to vary according to the fermentability of the substrate. As a “rule of thumb”, rumen ammonia nitrogen should be at least 5 mg/100 ml rumen liquor. However, values as high as 15 –20 mg/100ml rumen liquor may be necessary for optimum fermentation of fibrous feeds (see Chapter 2).
Where rumen ammonia is to be used as a diagnostic tool then the times of sampling of rumen fluid are critical. It is necessary to synchronize the availability of ammonia with the fermentation of the carbohydrate. The ammonia level at 4 to 6 hours post feeding or following the commencement of grazing is the recommended time for sampling.
Ammonia concentrations in rumen fluid must be above the critical level for prolonged periods on fibrous diets which are only slowly digested in the rumen. For this reason the concentration immediately before feeding may also be an index of the need to supplement.
There are two methods of measuring rumen ammonia which are relatively simple. One of these can be used under field conditions (ie: the use of an indophenol-dye to produce a colour reaction with ammonia). This method is used by extension officers in Queensland to predict when urea supplementation through drinking water is likely to be effective in increasing productivity of grazing ruminants McMeniman 1981). The method as modified by Leng (see Preston and Leng 1986) is as follows:
6.6.2.1 Rumen ammonia kit
Collection tube
Beaker
1 litre 0.2 hydrochloric acid
Muslin
200 ml sodium salicylate reagent
200 ml dichloroisocyanuric acid reagent (DCL)
Ammonia standards 0, 2.5, 5.0, 7.5, 10.0 mg NH3-/100 ml
(These have already been diluted with HCl)
Test tubes
Test tube rack
Syringes
6.6.2.2 Reagents
Solution A (Salicylate): Dissolve 85 g of Na and 100 mg of Na nitroprusside in a litre of distilled water
Solution B (DIC): Dissolve 5 g of sodium dichloroisocyanurate in a litre of 0.3M NaOH containing 5% commercial bleach (50 ml commercial bleach and 12 g NaOH in one litre of water)
Solution C (Stock solution): Weigh 3.28 g NH4C1 (equivalent to 100 mg NH3-N/100 mg) and dissolve in one litre 0.1M HC1 (in distilled water)
6.6.2.3 Chemical principles
Ammonia reacts with free chlorine to form chloramine which then condenses with two phenol molecules to form an indophenol dye (strongly reducing compounds in rumen fluid are oxidized by the hypochlorite).
Since excessive amounts of both salicylate and hypochlorite are present, the amount of dye produced depends on the amount of ammonia present. The relatively high concentration of salicylate was chosen to “swamp” the effect of any phenolic compounds which may be present in the rumen fluid.
6.6.2.4 Obtaining a sample
Using a stomach tube (see 6.11) obtain 20–30 ml of liquor from the sheep
Strain the liquor through four layers of muslin into the beaker
6.6.2.5 Analysing the sample
Using a syringe or pipette, measure 0.2 ml of the range of standards into labelled tubes, starting with the lowest concentrations taking care to blow out any fluid left in the syringe between standards
Using a plastic syringe for rumen fluid measure 0.2 ml of strained rumen fluid into a second row of tubes already containing 0.2 ml of 0.lM HCl; blow out the syringe between samples
Add 1 ml of the salicylate solution to each tube using a 5 ml syringe
Add 1 ml of DIC solution to each tube using a 5 ml syringe; cap and shake to mix
Allow 5 minutes for colour development, then add 0.2 ml rumen fluid to all standards; compare samples with standards. Do not allow samples to stand longer than 10 minutes as colour will over-develop.
6.6.2.6 Points to note in analysis
The reagents are relatively stable but they are unlikely to keep indefinitely. Attention is given to the following problems.
If the zero standard is highly coloured then the standards have been contaminated and the salicylate needs renewing
If the colour developed in the range of standards is the same, the DIC reagent needs renewing. Add 5–10 drops of commercial bleach to 100 ml of the DIC and repeat the test, before remaking the solution
The standards are in an acid solution and will absorb ammonia from the air, therefore the standards must be sealed at all times and where analysis appears unreliable this is the most likely site for investigation.
Sampling from 6–8 sheep in a grazing group gives a reliable estimate of the mean rumen ammonia concentration of the group of animals.
6.6.3.1 Principle
The ammonia is separated from rumen fluid by steam distillation, collected in boric acid solution and determined by titration with standard acid.
NH4+ + OH- -> NH3 + H2O
NH3 + H3BO3 -> NH4+ + H2BO3
6.6.3.2 Equipment
Standard steam distillation apparatus is used to isolate ammonia from rumen fluid.
6.6.3.3 Preparation and distillation of samples
Strained rumen fluid is centrifuged for 15 min (3000 rpm) and the supernatant frozen after being acidified with 2–3 drops of concentrated sulphuric acid.
Pipette 5 or 10 ml rumen fluid into a distillation flask, add a few drops of universal indicator solution; followed by a small drop of defoaming agent (if necessary) and 10 ml Natetraborate solution - distill immediately. Distill until 30–40 ml is collected (about 4 min), remove conical flask and titrate the distillate using 0.1 M HC1. A standard ammonium sulphate should also be titrated.
6.6.3.4 Reagents
Ammonium sulphate - a standard solution is prepared from AR material and diluted for use.
Working acid solutions
0.05N H2SO
50 ml N H2SO4 standard diluted to 1 litre with distilled H2O
0.0075 N H2SO; 7.5 ml standard 1, N H2SO4 IN is diluted to 1 litre with distilled water
Boric acid solution (20%):
Dissolve 20 g AR boric acid in approximately 700
ml hot distilled water, cool and make 1 litre
in a volumetric flask.
Sodium tetraborate solution (5%) saturated: Dissolve 50 g AR sodium tetraborate (powder or crystals) in 1 litre distilled H2O
Universal indicator solution (BDH Chemicals Ltd.) Range pH 4 - pH 11 product No. C21049.
Silicone antifoaming agent (BDH Chemicals Ltd): An aqueous emulsion containing 30% silicon product no. 33151 - use discretely and in extremely small amounts to counter “greasiness” of glass ware.
6.6.3.5 Mixed indicator solution
0.1% ethyl red in 85–95% ethanol
0.1% Bromocresol green
40 ml 0.1% methyl red make to 2 litres
8 ml 0.1% bromocresol green with 2% boric acid solution
The total concentrations and individual proportions of the volatile fatty acids in the rumen are an indication of the animal status for glucogenic compounds. Fermentations giving high proportions of propionic acid (25–35%) are desirable since these fermentation patterns are most efficient energetically (less heat is lost as methane). The level of total VFA is also indicative of total fermentation rate. For these reasons a method for VFA analysis by gas-liquid chromatography (GLC) is given below.
Inert support: chromosorb “W”, acid washed 50–80 mesh
Liquid phase:
phosphoric acid (1.5% by weight of the inert support)
polypropylene glycol sebacate (PPGS) (18% of the inert support)
12 g of the chromosorb “W” are placed into an evaporating basin (12 cm diameter)
0.2 g of 88% phosphoric acid (H2PO4) in 70 ml of distilled water is then added and the mixture gently stirred until the chromosorb “W” is uniformly wetted.
The mixture is then oven dried at 80°C.
2.1 g of PPGS is dissolved in 70 ml of methylene chloride and added to the chromosorb “W” - phosphoric acid mixture in the evaporating basin and then dried in an oven at 80°C.
The column is packed using slight suction from a vacuum pump while vibrating the column. Acid washed glass wool is packed into the end of the column then attached to vacuum pump and suction applied. The free running packing is held in a funnel attached to the other end of the column. Vibration or tapping causes the mixture to run into the column.
Operating conditions using FID (Flame Ionization Detector)
Column temperature - 135°C
Detector temperature - 180°C
Injection port temperature - 200°C
Nitrogen carrier gas flow - 60 ml/min
Hydrogen flow to FID - 49 ml/min
Air flow to FID - 400 ml/min
Make a stock solution of the internal standard - 1.6% isocaproic acid in formic acid. Store at 4°C.
Composition of standard VFA (standard A) solution for GLC
| Conc. (mM/litre) | |
| Acetic acid | 56 |
| Propionic acid | 18 |
| Isobutyric acid | 3 |
| Butyric acid | 9 |
| Isovaleric acid | 3 |
| Valeric acid | 3 |
The concentration of each acid must be known accurately and can vary slightly from that indicated. The mixtures are prepared from AR grade acids and stored neutralized (because a variable loss of individual acids from frozen samples occurs). The formic acid/isocaproic acid, internal standard acidifies the samples prior to injection onto the column.
A solution of the internal standard for use (Standard B) over a few days is prepared weekly.
10 ml of stock internal standard solution (see Standard A) + 10 ml of 15% metaphosphoric acid (freshly prepared) + 30 ml of formic acid. Store at 4°C.
Ruminal fluid is centrifuged at 3000 rpm for 10 min
0.4 ml of the internal standard solution B is placed into a small (1.5 ml) disposable centrifuge tube followed by 0.7 ml of ruminal fluid. This is mixed and if necessary the sample is again centrifuged at 3 000 rpm for 5 min. These samples can be stored for 1–2 days at 4°C.
Standards: 0.4 ml of internal standard solution B plus 0.7 ml of mixed VFA standard. 1 to 4 microlitres of this mixture is injected into the column.
The relative response factor (representing the area under the peak of that acid) for each volatile fatty acid is calculated using the standard VFA mixture which is chromatographed in every group of 50 samples
eg: fAc = CAc × Std A (ic)/Std.A (Ac) where fAc = the relative response to acetate
CAc = concentration (uM/ml) of acetic acid in the VFa standard
Std.A(ic) = area under the isocaproic acid peak in the standard.
Std.A(Ac) = area of the acetic acid peak in the standard.
Factors are similarly calculated for the other VFAs.
These factors are used to calculate the individual VFA concentration for each sample.
eg: Acetic acid = fAc × sample A(Ac) × sample A(ic) where sample A(ic) = area of isocaproic acid peak in the sample,
sample A(ic) = area of isocaproic acid peak in the sample.
The sum of all the individual VFA concentrations for each sample is the total VFA concentration (in uM/ml of ruminal fluid).
By taking the sum of all the individual VFA concentrations as 100% the molar percentage of each acid is calculated.
Early studies in Australia, aimed at examining the role of glucose as a priming substrate for the TCA cycle (ie: providing oxaloacetate), used acetate clearance rate as a measure of glucose sufficiency. Acetate clearance was most rapid on those diets likely to have a high glucogenic capacity (ie: diets high in protein or maize; or where it could be expected that propionate would be a high proportion of the rumen VFA). The rate of clearance of injected acetate on the lucerne hay diet was highly correlated (r2 = 0.98) with feed intake (Figure 4.20). The increasing level of intake could be expected to lead to greater escape of potentially glucognic nutrients.
The suggestion from this work is that there is a close correlation between the ability of an animal to clear acetate and the availability of glucose. Ruminants must control blood acetate within physiological limits, and therefore feed intake and fermentation rate must match the animal's ability to utilize acetate which is dependent on the availability of glucose provided that the acetate is being used for fat synthesis. This hypothesis should be tested since acetate clearance rate is relatively easy to measure.
The other point arising from these considerations is that the intake of a particular feed will be maximized when nutrient availability is “balanced” with requirements. Therefore, the ability of the animal to clear acetate could be used as an index of the “balance” of the absorbed nutrients. This relationship could be especially useful in grazing studies to identify the effects of supplements.
It is proposed that in cattle and sheep, acetate clearance rates reflect the balance of nutrients available for metabolism for a given productive state and that acetate clearance from blood will be directly related with feed intake (Weston 1966).
Cattle (about 150 kg) are injected with about 2.5 mM sodium acetate per kg liveweight. The injection can be done via an in-dwelling cannula in the jugular vein or injected directly into the vein. The injection should be done slowly over about 4 minutes. Blood samples (10 ml) are taken at intervals post injection for analysis of acetate or total VFA.
Dissolve 30 g of sodium acetate in 300 ml sterile double-distilled water. Inject directly into the jugular vein.
When an in-dwelling cannula is used, this is normally filled with dilute heparin solution (100 units/ml of 0.9% saline) to prevent it being blocked with coagulated blood, and then sealed with a nail. Prior to taking samples, remove the heparin solution and 5 ml of blood from the cannula and discard. Take a further 20 ml of blood into a bottle containing two drops of heparin (3 000 units/ml). Flush the cannula with the dilute heparin solution and seal it. Take samples at 10, 20, 30 and 40 minutes post injection.
Centrifuge blood at 3 500 rpm for 10 minutes
Take off the plasma; store 5 ml; for analysis
Put into 50 ml centrifuge tubes the following:
Leave for 10 min at room temperature
Centrifuge at 3 000 rpm for 10 min
Put supernatant in conical flask and add 1 drop of phenolphthalein
Neutralize with about 0.5 ml of 3M NaOH (add a drop at a time until a pink colour persists)
Evaporate to about 1 ml by boiling the solution on a hot plate (add glass beads to prevent bumping)
Add 0.5–1.0 ml of metaphosphoric acid (36% HPO3)
Inject 1–2μl into GLC
| Range 10 | Injector temperature 210°C |
| Attenuator 128 | Detector temperature 180°C |
| 10mv recorder | Column temperature 135°C |
Column: 1.5 m × 4 mm ID glass column
Inert support: Chromosorb “W” acid washed
Column coating: 17.5% polypropylene glycol
Divide the area of the acetate peak by the area of the isobutyrate peak to obtain the relative concentration of acetate in blood. Regress the relative concentration of acetate against time from injection and calculate the time for the concentration of acetate to fall to half the value following injection.
Wool growth in sheep is highly dependent on the quality of amino acids absorbed from the intestines, in particular the sulphur amino acids. However, these amino acids are not absorbed other than from the protein (dietary and microbial origin) digested in the intestines. Increased wool growth rate in response to ingestion of a protein supplement is directly related with the content of bypass protein in the supplement.
Mixed sex cross-bred Merino/Border Leicester sheep (1 year old) were housed in individual pens and given a basal ration of 700 g/d of oaten hay chaff plus 3% mineral mixture and 1% urea (to ensure adequate fermentable-N in the rumen). Sheep were randomized to five treatments (11 animals per treatment). The treatments were 60 g/d untreated casein and 0, 20, 40, and 60 g/d of formaldehyde-treated casein (HCHO-casein) prepared as described later (formaldehyde treatment leads to almost complete protection of the casein from degradation in the rumen). Wool growth was estimated by clipping and weighing the wool from a 10 cm square patch on the flank of the sheep every three weeks (Leng et al 1984).
Preliminary studies indicated that the carryover effects of diet on wool growth were reduced to insignificant levels after 3 weeks. Trials therefore were carried out for a six week period and only the wool growth in the final three weeks was related to the amount of protein in the supplement.
In subsequent studies the sheep were re-randomized before being allocated to treatments. Each group was fed either the standard protein or a test protein-rich meal. Data for the response of wool growth to HCHO-casein three consecutive experiments are shown in Figure 6.11. The amounts of wool clipped from the patch were linearly related with the level of HCHO-casein added to the basal diet. When soluble casein was added to the diet, wool growth rate was only slightly increased over the control animals indicating that this protein had no bypass characteristics.
In subsequent experiments wool weight from the clipped patch in sheep fed 100 g/d protein meal (containing say 40 g protein) was related to the wool grown when HCHO-casein was fed.
Selected results from the use of this assay to evaluate a number of plant protein sources are given in Table 6.1. The wool growth represents the level of bypass protein relative to formaldehyde-casein. Meals that had received most heat treatment gave the highest wool growth and were therefore the best sources of bypass protein. Sunflower-seed meal was a poor source of bypass protein, especially when the oil had been extracted by the expeller system. The better bypass characteristics of the protein in meals produced by the solvent extraction process is because these meals are usually “toasted” at 120°C after the oil is extracted.

Figure 6.11:
Wool growth rate in sheep given a standard basal diet (oaten chaff/ urea supplemented with casein protected with formaldehyde. The three experiments were each of six weeks duration and were run consecutively. Wool growth was measured during the last 21 days on a 10 cm2 patch (Leng et al 1984)
| Relative Wool Growth | |
|---|---|
| NSW Sunflower meal | 5.5 |
| Qld Sunflower meal | 3.3 |
| Ext. Soybean meal | 4.5 |
| Fishmeal (1) | 7.5 |
| Soybean meal | 5.9 |
| Linseed meal | 10.6 |
| Rice Pollard | 1.0 |
| Casein | 0.3 |
| HCHO-Casein | 10.0 |
| Cotton Seed Meal | 7.2 |
| Pellets | 5.8 |
| Rapeseed | 3.9 |
Feeding trials ranked theprotein meals in the same order as indicated by the wool growth assay (Leng, R.A. unpublished data). In this case the criteria were feed intake and liveweight gain, both of which are good indicators of the bypass protein status of a supplement when added into a low-protein diet.
Place 5.08 kg of casein into a food mixer (a cement mixer is normally used).
Put 140 ml of formalin (47% formaldehyde) and 240 ml water into a beaker using a measuring cylinder and transfer to a pump fitted with a fine spray.
Cover with a sheet of plastic the opening in the mixer containing solid casein. The plastic cover has a hole to take the nozzle and add the formaldehyde whilst mixing.
Put the formaldehyde-casein in plastic bags for a week prior to feeding.
Samples of material to be analysed must be oven-dried at 65°C and then ground to pass through a 1 mm screen. Further drying to constant weight may be necessary to remove residual moisture.
Dried material may be stored at room temperature in sealed vessels or plastic bags, preferably under nitrogen gas.
A sample containing the equivalent of about 2 g dry matter is dried to constant weight at 95–100°C over 24 hr. Use an aluminium dish or procelain crucible. Calculate percentage moisture from the loss in weight (to first decimal place).
Weigh a 2 g sample into a weighed porcelain crucible and place in a temperature-controlled furnace preheated to 600°C. Take care to avoid loss of material by convection currents. Hold at this temperature for 4 hr. Transfer crucible directly to desiccator, cool and weigh immediately. Calculate percentage ash (to first decimal place).
The Kjeldahl technique can be divided into three basic steps:
Digestion of the sample in concentrated sulphuric acid during which all organic compounds are broken down, and organic N is converted to ammonia
Over-neutralization of the solution with a caustic soda solution and distillation and collection of the ammonia
Titration of the ammonia
6.10.4.1 Reagents
50% Sodium hydroxide: Disolve 600 g of NaOH in distilled water and make up to a volume of 1 litre. When the pellets of sodium hydroxide are added to water, stir with a glass rod. This is necessary to prevent NaOH from fusing to the bottom of the beaker. Keep in a rubber- or plastic-stoppered bottle.
Digestion mixture: Mix 8 g selenium with 400 g potassium sulphate, and the mixture into 2 litres concentrated sulphuric acid and heat until all reagents are dissolved.
Note: When the chemicals are mixed the Se and potassium sulphate set solid so it is easier to put the chemicals into the digestion flask and then add the acid.
Alternatively, Se catalyst tablets can be purchased and concentrated sulphuric acid is used as the digestion mixture.
6.10.4.2 Sample size
Determination of sample size assumes some prior knowledge of the material under investigation. For maximum accuracy, a sample size should be taken which will require 10–20 ml of the standard acid. The amount of titrant can also be varied by changing the normality of the standard acid.
Some feeds may be low in protein, and it maybe difficult with small samples to obtain truly representative samples. Consequently, a considerable amount of dry material must be digested.
Using 0.1 M acid as titrant for the ammonia that had been distilled, it is recommended that the following sample sizes are used:
| • | Dry feed samples | 300 mg |
| • | Milk, except colostrum | 1 ml (or 1 g) |
| • | Colostrum | 300 mg |
| • | Plasma and serum | 0.5 ml |
| • | Urine | 0.2 ml |
Very dilute samples (eg: rumen fluid) may require use of a 0.01M standard acid for titration.
Because of the sensitivity of the analysis, high accuracy cannot be obtained without thorough mixing of the material to be analysed prior to sampling. This is especially true with materials which have been frozen and allowed to thaw.
6.10.4.3 Digestion
To the 100 ml Kjeldahl digestion flask, add:
Sample (approximately 150 mg DM);
One glass bead to prevent bumping;
5 ml conc. H2SO;
1 se catalyst tablet.
Heat the mixture on the digestion rack in an area with air extraction. If foaming occurs, the early part of the digestion can be carried out at a lower temperature.
Silicone antifoam agents should never be used (contrary to several current texts). The silicone spray coats the sides of the digestion tube producing a non-wetting surface. Large water droplets collect, and when sufficiently large, drop into the superheated anhydrous digestion mixtures, with violent consequences.
Following removal of all the water, white sulphur dioxide fumes will be evolved. These fumes are irritating and toxic and must be exhausted in a hood with sufficient capacity to prevent transfer into the laboratory.
During the digestion, charred material can be washed down into the digestion mixture by swirling the digestion flask. If swirling does not flush all charred material into the digestion mixture, let the mixture cool completely, and wash the charred material down with a fine stream of water. Then redigest until the mixture clears.
After white fumes are no longer evolved and the boiling mixture is clear, allow the digestion to proceed for a further 30 minutes. Then allow the flasks to cool.
Add about 20 ml of deionized water, mix immediately to prevent crystallization of the sodium sulphate.
6.10.4.4 Distillation
This is the same as for ammonia estimation.
Turn on the heater under the steam generator and increase the heat to boil the water steadily (not violently), and turn on water to condenser. Put the empty digestion flasks on the collector tubes, and with the alkali stopcocks closed and steam directed into the apparatus, run steam through the assembly and collect the condensates in 100 ml beakers for several minutes. This serves to warm up the apparatus, and flush out any residual alkali.
When the apparatus is preheated, open the alkali stopcocks and direct the steam into a water drain. Place samples in the distillation apparatus and place 100 ml flasks containing 20 ml 2% (w/v) boric acid (containing indicator) under the condenser stem. Be sure the tip of the condenser stems are below the surface of the boric acid solution.
Admit alkali solution through the alkali stopcocks (about 5 ml alkali for 1 ml of H2SO4 used in the original digestion) and close the alkali stopcocks. Then turn steam on through the apparatus and allow steam distillation to proceed for 6 min. Near the end of this period, lower the receiving beaker so that the distillate washes any remaining ammonia solution from the tip of the condensing units. When the distillation is completed, turn steam stopcock into the position which diverts the steam to sink waste and another opens the distillation flasks to atmospheric pressure. Remove distillation flasks and turn steam stopcock to the off position.
6.10.4.5 Quantification of the ammonia
Titrate the ammonia-boric acid solution to the pink end-point with standardized acid (O.1N HCl or O.O5N H2SO4). Appropriate blanks must be run and their values subtracted from the sample titration values.
6.10.4.6 Calculations
There is a direct mole-per-mole relationship between ammonia released, the acid needed to titrate that ammonia, and the total N originally present. The number of ml of acid multiplied by its molarity gives the millimoles of ammonia. Since the ‘average’ protein is 16% N, multiplication of percent N by the factor 6.25 gives percent crude protein (some factor other than 6.25 may be used for particular proteins).
6.10.4.7 Precautions
Care must be taken when working with hot concentrated acid and alkali. Take normal precautions: safety goggles must be worn when starting distillations. In each step where water is added to acid and alkali to acid, the solutions must be cool, otherwise the reactions can be quite violent.
For sheep a plastic tube of 10 mm internal diameter and some 90 cm long is suitable. The rumen sampling tube should be moistened and the sheep's mouth opened by placing a thumb in the region without teeth. The tube is then passed over the back of the tongue and into the oesophagus. Test for its presence in the rumen by checking for the smell of rumen fluid, and the lack of respiratory air movements along the tube. A vacuum pump is used to apply suction to draw the rumen liquid into the sampling bottle.
With cattle, a larger tube is required (15 mm internal diameter and 150 cm long). The rumen fluid can be obtained by lowering the animal's head until fluid runs from the tube. Move the tube in and out a few centimetres in taking the samples.
Filter rumen fluid through gauze. Note that samples obtained in this way may be contaminated with variable amounts of saliva.
Several methods to treat straw to increase digestibility are available. The methods use chemicals such as sodium hydroxide, ammonia and calcium oxide.
At the present time the only method recommended for practical application involves ammoniation either using gaseous ammonia or through wet ensiling of the material with urea. The effect of this treatment is to increase digestibility (often by 5–10% units), to increase the nitrogen content of the straw (to approximately 1% of the dry matter) and to increase acceptability and voluntary intake of the treated straw as compared to untreated straw (usually by 25–50%) when this is made available on a free choice basis.
Only a brief outline of the methods is given here and the reader is referred to recent reviews for more complete descriptions of the method (eg: Sundstol and Coxworth 1984).
Ammonia as gas or generated from urea (by bacterial and/or plant ureases in the ensiling process) hydrolyzes the chemical/physical bonds between lignin and the cellulose and hemicellulose in the plant cell walls. The hydrolysis of these bonds makes the cellulose and hemicellulose more accessible to microorganisms in the rumen and increases total fermentation and usually the rate of fermentation. Some chemical hydrolysis of hemicellulose also takes place resulting in an increase in the portion of soluble carbohydrate in the straw.
Straw is mixed with an equal weight of water containing 4–5% urea. This mixing may be done in a pit, in a container such as a basket lined with mud or even on the floor. Occasionally it may be advantageous to add a meal containing urease (eg: from whole soybean or other legume beans or even livestock excreta which also contain urease). Additional urease may reduce the reaction time, especially if the fibrous resource appears relatively sterile such as for example, bagasse.
After mixing, the urea-treated straw is sealed with a plastic sheet and left for a period of between 10 and 30 days. The higher the ambient temperature the shorter the time needed for digestibility to be increased. It is always important to study reaction time under the local conditions where the straw is to be treated (for a more complete description see Jayasuriya 1984).
Evidence of the reaction taking place is a change in colour of the fibrous material usually to a bright yellow; there is also a strong smell of ammonia when the straw is uncovered. Dark yellow or even brown discoloration of straw may result if the stacks become hot.
Treated straw can be fed immediately following ammoniation. It must not be sun-dried as this results in a loss of gaseous ammonia. Another procedure is to use a hand or foot operated pump in order to aerate the straw and drive out the ammonia into a container of water so that it can be trapped for recycling. The ammoniated water fortified with some urea is used to ensile a second batch of straw.
Animal urine, provided that it comes from animals consuming diets adequate in nitrogen, can be used to provide the source of urea for ensiling with straw.
Initially in any system where treatment of straw with urine is to be an on-going technology, it is probably advisable to estimate the quantity of urea in urine and to fortify the urine in the first treatment. From then on the urine ought to contain sufficient urea, if the animals are fed on the ammoniated straw.
Urine is collected from animals or humans and the straw is ensiled with the urine in a similar way to that described above for the urea-ensiling method.
Straw stacks are constructed of a size that can be readily covered by the black polythene sheeting available in most countries. On sandy soils a ground sheet is required. Where large stacks are to be ammoniated, the straw should be sampled and the dry matter content determined. Water should be added to the straw to raise the moisture content to at least 15%.
The ammonia-gas cylinder is connected to a long perforated metal pipe about 4 cm in diameter which is inserted into the stack through a hole in the plastic about the middle of one end and pushed into the stack (the bales are always stacked so as to facilitate its entry).
The plastic sheet is tied around the tube and sealed along the bottom edges of the stack with earth. A weighed amount of ammonia is then added to give 3 kg of ammonia/100 kg of straw. It is always better to inject liquid ammonia and not gaseous ammonia and this is one by inverting the cylinder. The ammonia is rapidly absorbed into water and although the plastic sheet billows it is not likely to rupture. As ammonia inhalation is deleterious to health, it is beneficial to force air through the stacks and trap the excess ammonia prior to opening the stack.
The same procedures, as used for urea ensiling, can be applied to aqueous ammonia. 12.5 kg of aqueous ammonia (18% ammonia) are added to 75 kg of straw. The ammonia solution is added to each level of the stack as the stack is constructed in a pit or above ground. The stack is sealed with plastic as described above.
All these methods require from 10 days (tropical countries) or up to six weeks (temperate countries) for digestibility to be optimized.
A combination of gaseous ammonia and aqueous ammonia is applicable on large farms where numerous batches of straw are to be treated. The loss of gaseous ammonia on opening the stacks is wasteful and often makes the whole procedure uneconomic. However, the gaseous ammonia from one stack can be blown to adjacent stacks using a compressor.
Ammoniation of straws with gaseous ammonia is improved by raising the temperature to 90°C. In Europe, ovens have been developed which take several tonnes of straw and enable the treatment time to be reduced to less than 24 hours. The treatment of straw at these temperatures can give rise to toxic compounds which cause “bovine hysteria” and since these compounds are transmitted via milk, it becomes hazardous (to calf or human health) to feed these feeds to dairy cows (see Perdok and Leng 1985). The method is not recommended for developing countries.
A recent development in ammoniation is the use of dry chemicals which when mixed together generate ammonia gas (Mason et al 1985). For one tonne of straw, 132 kg ammonium sulphate and 70 kg quicklime (CaO) are mixed in a metal trough placed adjacent to the stack of straw which is then covered with plastic sheet using the same procedure as for ammoniation with ammonia gas. 120 kg water are then added to the chemicals in the trough using a plastic hosepipe inserted through the plastic cover. These quantities of chemicals are needed to generate 34 kg ammonia. The reaction proceeds rapidly because of the heat developed when the quicklime reacts with the water.
The method appears to be more effective than urea-ensiling, at least under European conditions where the lower ambient temperatures slow down the rate of urea hydrolysis. The disadvantage is the amount and therefore the cost of the chemicals; 132 kg of ammonium sulphate and 70 kg of quicklime compared with 50 kg of urea required for urea-ensiling.