Table 1. Annual growth rates of China's economy, 1970-98 (%)
|
|
Pre-reform |
Reform period |
||
|
1970-78 |
1979-84 |
1985-95 |
1996-98 |
|
|
Gross domestic products |
4.90 |
8.50 |
9.70 |
8.70 |
|
Agriculture |
2.70 |
7.10 |
4.00 |
4.00 |
|
Industry |
6.80 |
8.20 |
12.80 |
10.70 |
|
Service |
na |
11.60 |
9.70 |
7.90 |
|
Population |
1.80 |
1.40 |
1.37 |
1.00 |
|
Per caput GDP |
3.10 |
7.10 |
8.30 |
7.70 |
|
Per caput real net income in rural areas |
0.60 |
19.10 |
3.20 |
7.10 |
NOTE: Figure for GDP in 1970-78 is the growth rate of national income in real terms. Growth rates are computed using regression method. GDP and per caput consumption growth rates refer to the value in real terms.Table 2. Structural changes in China's economy, 1970-98.SOURCE: China Statistics Yearbook, various issues.
|
|
1970 |
1980 |
1985 |
1990 |
1995 |
1998 |
||
|
Share in GDP |
||||||||
|
|
Agriculture |
40 |
30 |
28 |
27 |
20 |
18 |
|
|
Industry |
46 |
49 |
43 |
42 |
49 |
49 |
||
|
Services |
13 |
21 |
29 |
31 |
31 |
33 |
||
|
Share in Agricultural Output |
||||||||
|
|
Farming (crop) |
82 |
76 |
69 |
65 |
58 |
56 |
|
|
Forestry |
2 |
4 |
5 |
4 |
4 |
3 |
||
|
Livestock |
14 |
18 |
22 |
26 |
30 |
31 |
||
|
Fishery |
2 |
2 |
4 |
5 |
8 |
10 |
||
|
Share in Employment |
||||||||
|
|
Agriculture |
81 |
69 |
62 |
60 |
52 |
50 |
|
|
Industry |
10 |
18 |
21 |
21 |
23 |
23 |
||
|
Services |
9 |
13 |
17 |
19 |
25 |
27 |
||
|
Share in Export |
||||||||
|
|
Primary Products |
na |
50 |
51 |
26 |
14 |
11 |
|
|
|
Foods |
na |
17 |
14 |
11 |
7 |
6 |
|
|
Share in Import |
||||||||
|
|
Primary Products |
na |
35 |
13 |
19 |
18 |
16 |
|
|
|
Foods |
na |
15 |
4 |
6 |
5 |
3 |
|
|
Share of Rural Population |
83 |
81 |
76 |
72 |
71 |
70 |
||
SOURCE: China Statistics Yearbook, various issues; China Rural Statistics Yearbook, various issues.Table 3. Composition of China's agricultural output value, 1980-97 (%)
|
|
1980 |
1985 |
1990 |
1995 |
1997 |
|
Farming |
75.6 |
69.2 |
64.6 |
58.4 |
56.4 |
|
Forestry |
4.3 |
5.2 |
4.3 |
3.5 |
3.3 |
|
Livestock |
18.4 |
22.1 |
25.7 |
29.7 |
31 |
|
Fishery |
1.7 |
3.5 |
5.4 |
8.4 |
9.3 |
|
Total |
100 |
100 |
100 |
100 |
100 |
SOURCE: China Statistics Yearbook, various issues.Table 4. Annual growth rate of agricultural economy by sector, 1970-97 (%)
|
|
Pre-reform |
Reform Period |
||||
|
1970-78 |
1979-84 |
1985-95 |
1996-97 |
|||
|
Agricultural output value |
2.3 |
7.5 |
5.6 |
7.4 |
||
|
Crop |
2 |
7.1 |
3.8 |
6.2 |
||
|
Forestry |
6.2 |
8.8 |
3.9 |
4.5 |
||
|
Livestock |
3.3 |
9.0 |
9.1 |
7.9 |
||
|
Fishery |
5.0 |
7.9 |
13.7 |
12.7 |
||
|
|
Captured |
4.4 |
4.0 |
10.3 |
9.9 |
|
|
Cultured |
5.7 |
12.5 |
13.6 |
8.5 |
||
|
|
- Marine |
10.2 |
4.0 |
17.4 |
3.5 |
|
|
- Freshwater |
3.7 |
15.8 |
12.2 |
11.8 |
||
NOTE: Growth rates are computed using regression method. Sectoral growth rates refer to output value in real terms using general price indices for all retailed commodities as deflator, and growth rates of the components of fishery are based on production data. The higher growth rate of fishery real output value than its components (measured in production) in 1996-97 may be due to changing structure of aquatic products in favour of high quality and high value products during the period.Table 5. Trend in aquatic production in China, 1970-97 ('000 t)SOURCE: China Statistics Yearbook, various issues; China Agriculture Yearbook, various issues.
|
Year |
Total aquatic production |
Marine |
Freshwater |
||||
|
Total |
Captured |
Cultured |
Total |
Captured |
Cultured |
||
|
1970 |
3 180 |
2 280 |
2 100 |
180 |
900 |
320 |
580 |
|
1980 |
4 497 |
3 257 |
2 813 |
444 |
1 240 |
340 |
900 |
|
1990 |
12 370 |
7 133 |
5 509 |
1 624 |
5 237 |
783 |
4 454 |
|
1995 |
25 172 |
14 391 |
10 268 |
4 123 |
10 781 |
1 372 |
9 409 |
|
1997 |
36 018 |
21 764 |
13 853 |
7 911 |
14 254 |
1 886 |
12 368 |
SOURCE: China Agriculture Yearbook, various issues.Table 6. Yield of aquaculture from marine and freshwater systems, 1981-97 (kg/ha)
|
Year |
Yield (kg/ha) |
Yield index (1981=100) |
||||
|
Total |
Marine |
Freshwater |
Total |
Marine |
Freshwater |
|
|
1981 |
489 |
3 336 |
344 |
100 |
100 |
100 |
|
1985 |
780 |
2 581 |
645 |
160 |
77 |
188 |
|
1990 |
1 425 |
3 786 |
1 163 |
291 |
113 |
338 |
|
1995 |
2 630 |
8 640 |
2 015 |
538 |
259 |
586 |
|
1997 |
3 634 |
8 550 |
2 389 |
743 |
256 |
694 |
NOTE: Areas reported exclude fish culture in rice fields.Table 7. Various price indices in China, 1978-97SOURCE: China Agriculture Yearbook, various issues.
|
Year |
General retail |
Urban consumer |
Aquatic procurement |
Aquatic retail |
|
1978 |
100 |
100 |
100 |
100 |
|
1980 |
108 |
110 |
120 |
- |
|
1985 |
128 |
134 |
210 |
233 |
|
1986 |
136 |
144 |
231 |
260 |
|
1987 |
146 |
156 |
284 |
305 |
|
1988 |
173 |
189 |
382 |
396 |
|
1989 |
203 |
219 |
381 |
465 |
|
1990 |
208 |
222 |
376 |
461 |
|
1991 |
214 |
233 |
394 |
468 |
|
1992 |
225 |
253 |
426 |
494 |
|
1993 |
255 |
292 |
520 |
574 |
|
1994 |
310 |
368 |
635 |
693 |
|
1995 |
356 |
430 |
714 |
791 |
|
1996 |
378 |
467 |
739 |
836 |
|
1997 |
381 |
482 |
672 |
846 |
SOURCE: China Statistics Yearbook, various issues.Table 8. Area of aquaculture in marine and freshwater systems, 1981-97
|
Year |
Area ('000 ha) |
Area share (%) |
|||
|
Total |
Marine |
Freshwater |
Marine |
Freshwater |
|
|
1981 |
3 019 |
139 |
2 880 |
5 |
95 |
|
1985 |
3 964 |
277 |
3 687 |
7 |
93 |
|
1990 |
4 264 |
429 |
3 835 |
10 |
90 |
|
1995 |
5 146 |
477 |
4 669 |
9 |
91 |
|
1997 |
5 580 |
625 |
4 955 |
11 |
89 |
NOTE: Areas reported exclude fish culture in rice fields.Table 9. Changing structure of fishery production, 1950-97SOURCE: China Agriculture Yearbook, various issues.
|
Year |
Aquatic products |
Captured |
Cultured |
|
(%) |
(%) |
(%) |
|
|
1950 |
100 |
92.3 |
7.7 |
|
1960 |
100 |
79.6 |
20.4 |
|
1970 |
100 |
76.1 |
23.9 |
|
1980 |
100 |
70.1 |
29.9 |
|
1985 |
100 |
56.2 |
43.8 |
|
1990 |
100 |
50.9 |
49.1 |
|
1995 |
100 |
46.2 |
53.8 |
|
1997 |
100 |
43.7 |
56.3 |
SOURCE: China Agriculture Yearbook, various issues.Table 10. Regional distribution of freshwater aquaculture, 1985-97 (%)
|
Region |
1985 |
1990 |
1995 |
1997 |
|
|
National |
100 |
100 |
100 |
100 |
|
|
|
North |
2 |
4 |
4 |
4 |
|
Northeast |
4 |
5 |
5 |
5 |
|
|
Northwest |
0.5 |
1 |
1 |
1 |
|
|
East |
36 |
38 |
41 |
42 |
|
|
Central |
28 |
26 |
24 |
24 |
|
|
South |
24 |
21 |
20 |
20 |
|
|
Southwest |
6 |
6 |
5 |
5 |
|
SOURCE: China Agriculture Yearbook, various issues.Table 11. Sizes of aquaculture farms (ha)
|
|
Individual households specialized in aquaculture |
Aquaculture farming by state and collectives |
||
|
Intensive |
Extensive |
Intensive |
Extensive |
|
|
1992 |
1.8 |
28.4 |
40.1 |
32.9 |
|
1994 |
1.8 |
27.6 |
22.9 |
- |
|
1995 |
1.9 |
4.6 |
3.9 |
18.1 |
|
1996 |
0.8 |
2.2 |
77.9 |
14.4 |
|
1997 |
2.3 |
- |
42.9 |
- |
SOURCE: State Economic Planning Commission, the Collection of National Agricultural Products Cost and Revenue Information, various issues.Table 12. Per caput consumption of aquatic products, 1981-97 (kg)
|
Year |
National |
Urban |
Rural |
|
1981 |
2.49 |
7.26 |
1.28 |
|
1982 |
2.66 |
7.67 |
1.32 |
|
1983 |
3.00 |
8.10 |
1.59 |
|
1984 |
3.13 |
7.80 |
1.74 |
|
1985 |
2.93 |
7.08 |
1.64 |
|
1986 |
3.41 |
8.16 |
1.87 |
|
1987 |
3.46 |
7.88 |
1.96 |
|
1988 |
2.64 |
7.07 |
1.10 |
|
1989 |
3.54 |
7.61 |
2.10 |
|
1990 |
3.60 |
7.69 |
2.13 |
|
1991 |
3.74 |
8.02 |
2.21 |
|
1992 |
3.89 |
8.19 |
2.25 |
|
1993 |
4.24 |
8.02 |
2.76 |
|
1994 |
4.55 |
8.53 |
2.96 |
|
1995 |
5.10 |
9.20 |
3.36 |
|
1996 |
5.31 |
9.25 |
3.68 |
|
1997 |
5.41 |
9.30 |
3.75 |
NOTE: Consumption data presented here are based on national household consumption and expenditure surveys and probably underestimate actual consumption, as consumption away from home is excluded in the surveys.Table 13. Per caput fish and shrimp consumption (kg) by income groups in urban areasSOURCE: SSB, rural and urban household consumption and expenditure survey, unpublished.
|
Year |
Average |
Income groups (from low to high) |
||||||
|
Lowest 10% |
Second 10% |
Second quintile |
Third quintile |
Fourth quintile |
Ninth 10% |
Top 10% |
||
|
1985 |
7.08 |
5.76 |
6.74 |
7.20 |
7.81 |
8.77 |
9.12 |
10.99 |
|
1986 |
8.16 |
5.04 |
6.12 |
6.60 |
7.08 |
8.04 |
8.64 |
10.20 |
|
1987 |
7.88 |
5.93 |
6.68 |
7.26 |
7.92 |
8.52 |
9.31 |
10.69 |
|
1988 |
7.07 |
5.07 |
5.95 |
6.47 |
6.98 |
7.95 |
8.44 |
9.77 |
|
1989 |
7.61 |
5.54 |
6.47 |
6.84 |
7.71 |
8.44 |
9.20 |
10.29 |
|
1990 |
7.69 |
5.63 |
6.09 |
6.78 |
7.45 |
7.92 |
8.81 |
9.88 |
|
1991 |
8.02 |
6.08 |
6.76 |
7.15 |
7.84 |
8.13 |
8.94 |
10.00 |
|
1992* |
4.44 |
3.30 |
3.71 |
4.07 |
4.49 |
4.78 |
5.42 |
6.00 |
|
1993* |
4.23 |
3.10 |
3.61 |
3.89 |
4.23 |
4.74 |
5.08 |
5.43 |
|
1994* |
4.48 |
3.19 |
3.72 |
4.16 |
4.57 |
4.87 |
5.18 |
6.06 |
|
1995* |
4.73 |
3.37 |
3.91 |
4.63 |
4.77 |
5.10 |
5.44 |
6.12 |
|
1996* |
4.77 |
3.60 |
4.13 |
4.49 |
4.82 |
5.23 |
5.36 |
5.96 |
NOTE: * Consumption data before 1992 include all fishery products. After 1992, only fish and shrimp are included. Both are underestimates of actual consumption due to unavailable data for consumption away from home.Table 14. China's average per caput daily protein intake (g) and sources in 1995.SOURCE: China Statistical Yearbook, various issues.
|
|
Total |
Grain |
Meat |
Fish |
Other |
|
Rural |
63.3 |
49.5 |
5.9 |
1.4 |
6.5 |
|
Urban |
64.4 |
32.5 |
12.7 |
2.1 |
17.1 |
|
Rural |
100 |
78.2 |
9.4 |
2.2 |
10.3 |
|
Urban |
100 |
50.5 |
19.7 |
3.3 |
26.5 |
SOURCE: Computed by authors based on the national household consumption and expenditure survey data provided by State Statistical Bureau.Table 15. Annual growth rates of aquaculture production by species
|
Year |
Total |
Black carp |
Grass carp |
Silver carp |
Common carp |
Crucian carp |
Fresh bream |
Fresh crabs |
Water abalone |
Sea cucumber |
Marine pearl |
|
1990 |
100.0 |
100.0 |
100.0 |
100.0 |
100.0 |
100.0 |
100.0 |
na |
100.0 |
100.0 |
100.0 |
|
1991 |
103.7 |
95.2 |
102.2 |
99.2 |
113.8 |
103.5 |
174.5 |
na |
149.3 |
1180.0 |
118.6 |
|
1992 |
115.4 |
145.2 |
117.8 |
113.2 |
118.8 |
116.2 |
112.8 |
na |
179.5 |
294.9 |
174.8 |
|
1993 |
121.4 |
126.7 |
118.9 |
117.2 |
126.3 |
114.6 |
183.8 |
na |
173.4 |
862.1 |
134.5 |
|
1994 |
121.8 |
156.7 |
122.2 |
117.9 |
126.5 |
132.1 |
178.7 |
211.4 |
104.6 |
377.8 |
149.2 |
|
1995 |
119.1 |
99.7 |
115.7 |
116.3 |
124.0 |
138.6 |
132.9 |
186.4 |
154.4 |
180.6 |
145.5 |
|
1996 |
116.8 |
115.9 |
116.3 |
113.1 |
113.8 |
129.3 |
150.9 |
183.5 |
138.7 |
265.4 |
93.1 |
|
1997 |
112.5 |
115.7 |
109.3 |
109.6 |
110.7 |
124.4 |
160.7 |
138.9 |
167.8 |
125.6 |
95.8 |
|
1998 |
106.9 |
111.0 |
106.7 |
102.0 |
109.5 |
120.2 |
122.4 |
139.2 |
184.2 |
131.1 |
129.7 |
|
1999 |
107.6 |
113.5 |
109.1 |
101.5 |
106.4 |
119.7 |
139.5 |
124.0 |
137.5 |
39.5 |
105.0 |
|
Year |
Total |
Black carp |
Grass carp |
Silver carp |
Common carp |
Crucian carp |
Fresh bream |
Fresh crabs |
Water abalone |
Sea cucumber |
Marine pearl |
|
1990 |
3.90 |
0.03 |
0.89 |
1.80 |
0.46 |
0.19 |
0.00 |
na |
0.00010 |
0.00000 |
0.00000 |
|
1991 |
3.99 |
0.03 |
0.90 |
1.76 |
0.51 |
0.19 |
0.01 |
na |
0.00015 |
0.00000 |
0.00000 |
|
1992 |
4.56 |
0.04 |
1.05 |
1.97 |
0.60 |
0.22 |
0.01 |
na |
0.00027 |
0.00000 |
0.00001 |
|
1993 |
5.47 |
0.06 |
1.24 |
2.29 |
0.75 |
0.25 |
0.01 |
0.00 |
0.00046 |
0.00004 |
0.00001 |
|
1994 |
6.59 |
0.09 |
1.49 |
2.66 |
0.94 |
0.32 |
0.03 |
0.01 |
0.00047 |
0.00014 |
0.00002 |
|
1995 |
7.77 |
0.08 |
1.71 |
3.07 |
1.15 |
0.44 |
0.03 |
0.01 |
0.00073 |
0.00025 |
0.00002 |
|
1996 |
8.98 |
0.10 |
1.97 |
3.43 |
1.30 |
0.56 |
0.05 |
0.03 |
0.00100 |
0.00067 |
0.00002 |
|
1997 |
10.00 |
0.11 |
2.13 |
3.73 |
1.42 |
0.69 |
0.08 |
0.04 |
0.00165 |
0.00083 |
0.00002 |
|
1998 |
10.59 |
0.12 |
2.25 |
3.77 |
1.54 |
0.83 |
0.10 |
0.05 |
0.00302 |
0.00107 |
0.00003 |
|
Year |
Export |
Import |
||
|
Volume ('000 t) |
Value (million US$) |
Volume ('000 t) |
Value (million US$) |
|
|
1982 |
103 |
313.1* |
- |
57.9 |
|
1983 |
105 |
280.7* |
- |
38.8 |
|
1984 |
124 |
305.2 |
- |
81.2 |
|
1985 |
120 |
274.7 |
- |
91.7 |
|
1986 |
167 |
478.3 |
- |
78.5 |
|
1987 |
218 |
702.6 |
- |
103.6 |
|
1988 |
264 |
933.1 |
- |
210.4 |
|
1989 |
294 |
991.6 |
- |
182.3 |
|
1990 |
358 |
1 316.1 |
- |
95.0 |
|
1991 |
378 |
1 181.2 |
- |
268.7 |
|
1992 |
440 |
1 363.8 |
- |
371.7 |
|
1993 |
460 |
1 251.5 |
- |
- |
|
1994 |
570 |
1 815.5 |
- |
- |
|
1995 |
610 |
2 087.3 |
- |
- |
|
1996 |
640 |
1 733.6 |
- |
597.5 |
|
1997 |
720 |
1 881.1 |
- |
543.7 |
SOURCE: Data with * are from China Foreign Trade and Economic Yearbook. Others from China Statistical Yearbook. - = no data available.
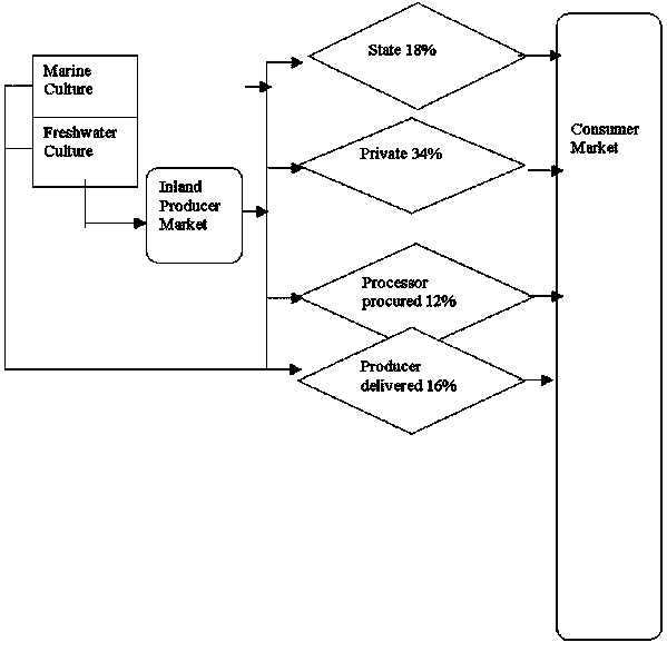
Figure 1: Aquaculture marketing channels in China, 1997

Figure 2: Retail Price-Iced Hairtail
Figure 3: Retail Price-Silver Carp
Figure 4: Retail Price-Common Carp
Figure 5: Retail Price-Crucian Carp